CN213043938U - PLC switch board that possesses dust clearance function - Google Patents

PLC switch board that possesses dust clearance function Download PDF

Info

Publication number
CN213043938U
CN213043938U CN202021652180.9U CN202021652180U CN213043938U CN 213043938 U CN213043938 U CN 213043938U CN 202021652180 U CN202021652180 U CN 202021652180U CN 213043938 U CN213043938 U CN 213043938U
Authority
CN
China
Prior art keywords
dust
fixedly installed
cabinet body
cabinet
plc control
Prior art date
Legal status (The legal status is an assumption and is not a legal conclusion. Google has not performed a legal analysis and makes no representation as to the accuracy of the status listed.)
Active
Application number
CN202021652180.9U
Other languages
Chinese (zh)
Inventor
李孟董
邓珍华
Current Assignee (The listed assignees may be inaccurate. Google has not performed a legal analysis and makes no representation or warranty as to the accuracy of the list.)
Jiangsu Aolang Intelligent Technology Co ltd
Original Assignee
Jiangsu Lianxin Automation Equipment Engineering Co ltd
Priority date (The priority date is an assumption and is not a legal conclusion. Google has not performed a legal analysis and makes no representation as to the accuracy of the date listed.)
Filing date
Publication date
Application filed by Jiangsu Lianxin Automation Equipment Engineering Co ltd filed Critical Jiangsu Lianxin Automation Equipment Engineering Co ltd
Priority to CN202021652180.9U priority Critical patent/CN213043938U/en
Application granted granted Critical
Publication of CN213043938U publication Critical patent/CN213043938U/en
Active legal-status Critical Current
Anticipated expiration legal-status Critical

Links

Images

Landscapes

  • Cooling Or The Like Of Electrical Apparatus (AREA)

Abstract

本实用新型公开了一种具备粉尘清理功能的PLC控制柜,属于PLC控制柜领域,一种具备粉尘清理功能的PLC控制柜,包括柜体,所述柜体的底部固定安装有支撑座,所述柜体正面的一侧通过铰链转动连接有柜门,所述柜体的内部固定安装有安装架,所述柜体背面的一侧开设有散热通风口,通过散热风机产生气流,气流经过散热通风口在柜体内部传导起到通风散热效果,启动清理电机带动活动支撑架转动,进而带动粉尘清理刷旋转刷动清理防尘筛网上的粉尘,清理出的粉尘会下落到粉尘收集抽屉内进行集中收集,同时通过粉尘吹除装置可以吹起柜体的内壁靠近角落的位置的粉尘,避免粉尘在难清理的角落产生积累。

Figure 202021652180

This utility model discloses a PLC control cabinet with dust cleaning function, belonging to the field of PLC control cabinets. The PLC control cabinet with dust cleaning function includes a cabinet body, a support base fixedly installed at the bottom of the cabinet body, a cabinet door rotatably connected to one side of the front of the cabinet body via a hinge, a mounting frame fixedly installed inside the cabinet body, and a heat dissipation vent on one side of the back of the cabinet body. Airflow is generated by a cooling fan, and the airflow is conducted through the heat dissipation vent inside the cabinet body to achieve a ventilation and heat dissipation effect. Starting the cleaning motor drives the movable support frame to rotate, which in turn drives the dust cleaning brush to rotate and clean the dust on the dust screen. The cleaned dust falls into the dust collection drawer for centralized collection. Simultaneously, a dust blowing device can blow up dust near the corners of the inner wall of the cabinet body, preventing dust accumulation in hard-to-clean corners.

Figure 202021652180

Description

PLC switch board that possesses dust clearance function
Technical Field
The utility model relates to a PLC switch board field, more specifically say, relate to a PLC switch board that possesses dust clearance function.
Background
The PLC control cabinet is a programmable control cabinet, the control cabinet is a complete set of control cabinet, and can realize an electric cabinet for controlling a motor and a switch, the PLC control cabinet has the protection functions of overload, short circuit, open-phase protection and the like, can be combined according to the size of an actual control specification, not only can realize single-cabinet automatic control, but also can realize the Distributed Control System (DCS) formed by a plurality of cabinets through an industrial Ethernet or an industrial field bus network, and the PLC control cabinet can adapt to various large-scale and small-scale industrial automatic control occasions and is widely applied to industries such as electric power, metallurgy, chemical industry, papermaking, environmental protection sewage treatment and the like.
The dust cleaning effect of the existing PLC control cabinet is not ideal enough, dead angles can be generated in the existing dust cleaning mode, dust is easily gathered at the corners of the cabinet body, and the faults of electrical equipment are easily caused.
SUMMERY OF THE UTILITY MODEL
1. Technical problem to be solved
To the problem that exists among the prior art, the utility model aims to provide a PLC switch board that possesses dust clearance function possesses dust clearance effectually, avoids producing the advantage at clearance dead angle, has solved the not ideal enough of current PLC switch board dust clearance effect, and current dust clearance mode can produce the dead angle, and the dust is gathering in the corner of the cabinet body easily, causes the problem of electrical equipment trouble easily.
2. Technical scheme
In order to solve the above problems, the utility model adopts the following technical proposal.
A PLC control cabinet with a dust cleaning function comprises a cabinet body, wherein a supporting seat is fixedly installed at the bottom of the cabinet body, a cabinet door is connected to one side of the front face of the cabinet body in a rotating mode through a hinge, a mounting frame is fixedly installed in the cabinet body, a heat dissipation vent is formed in one side of the back face of the cabinet body, a dustproof screen is fixedly installed in the heat dissipation vent, a heat dissipation fan is fixedly installed at one side of the back face of the cabinet body and communicated with the heat dissipation vent, a cleaning support frame is fixedly installed on one side, located on the front face of the heat dissipation vent, of the inner wall of the cabinet body, a cleaning motor is fixedly installed in the cleaning support frame, a movable support frame is fixedly installed on an output shaft of the cleaning motor, a dust cleaning brush is fixedly installed on one side, close to the heat, the inner bottom wall of the cabinet body is movably connected with a dust collecting drawer, a sliding rail is fixedly arranged in the cabinet body, the dust collecting drawer is connected with the cabinet body in a sliding mode through the sliding rail, a dust blowing device is fixedly arranged at a position, close to a corner, of the inner wall of the cabinet body, when the dust collecting drawer is used, the cabinet body is placed at a proper position through a supporting seat, a cabinet door is opened, a PLC device is arranged on a mounting frame, when the PLC device is installed to work, airflow is generated through a cooling fan, the airflow is conducted inside the cabinet body through a cooling vent to achieve a ventilation and cooling effect, dust can be accumulated on the dust screen after working for a period of time, a cleaning motor is started to drive a movable supporting frame to rotate, a dust cleaning brush is driven to rotate to clean the dust on the dust screen, the cleaned dust falls into the dust collecting drawer to be collected in a centralized mode, and meanwhile, the, avoid the dust to produce the accumulation in the corner of difficult clearance, improve the dust clearance effect, the staff regularly take out the dust of clearance dust collection drawer in can, the dust clearance is effectual, avoids producing the clearance dead angle.
Preferably, the bottom fixed mounting of mounting bracket has the buffering supporting pad, plays the absorbing effect of buffering through the buffering supporting pad, improves the stability of mounting bracket erection equipment.
Preferably, the one end fixed mounting that clearance motor was kept away from to the movable support frame has the electrostatic elimination wire, through the electrostatic elimination wire with movable support frame and dust cleaning brush accumulation static conduction to the cabinet body of ground connection on, play the effect of static elimination, avoid static to make movable support frame and dust cleaning brush adsorb the dust.
Preferably, one side fixed mounting at the cooling fan back has the dust screen, reduces the inside that external dust got into cooling fan through the dust screen, reduces cooling fan's clearance and maintains the number of times.
Preferably, the right side fixed mounting of dust collection drawer has the handle, conveniently holds the pulling dust collection drawer through the handle and slides, the use of the drawer is collected to the dust of being convenient for.
Preferably, the dust blowing device is including blowing the mounting bracket, the inside wall fixed connection of blowing mounting bracket and the cabinet body, the inside fixed mounting who blows the mounting bracket has micro-fan, micro-fan is close to the position intercommunication at internal wall corner of cabinet body and has the blowing pipe, micro-fan's one end fixed mounting is kept away from to the blowing pipe has the blow-off tuyere, during the use, produces the air current through micro-fan, and the air current blows off from the blow-off tuyere through the blowing pipe, and the blow-off tuyere aims at the corner position that the dust accumulated easily, blows through the air current and avoids the dust to accumulate in the corner of the cabinet body, improves the dust treatment effect.
3. Advantageous effects
Compared with the prior art, the utility model has the advantages of:
(1) when the scheme is used, the cabinet body is arranged at a proper position through the supporting seat, the cabinet door is opened, the PLC equipment is arranged on the mounting frame, when the PLC equipment is mounted for working, airflow is generated by the heat dissipation fan and conducted in the cabinet body through the heat dissipation vent to achieve the effects of ventilation and heat dissipation, dust can be accumulated on the dustproof screen after the cabinet body works for a period of time, the cleaning motor is started to drive the movable support frame to rotate, thereby driving the dust cleaning brush to rotate and brush the dust on the dust-proof screen, the cleaned dust can fall into the dust collecting drawer to be collected in a centralized way, simultaneously can blow up the dust that the inner wall of the cabinet body is close to the position in corner through the dust blowdown device, avoid the dust to produce the accumulation in the corner of difficult clearance, improve dust clearance effect, the staff regularly take out the clearance dust collect the dust in the drawer can, dust clearance is effectual, avoids producing the clearance dead angle.
(2) This scheme plays the absorbing effect of buffering through the buffering supporting pad, improves the stability of installing device on the mount.
(3) This scheme is conducted the static of activity support frame and dust cleaning brush accumulation to the cabinet body of ground connection through the static elimination wire on, plays the effect of static elimination, avoids static to make activity support frame and dust cleaning brush adsorb the dust.
(4) This scheme reduces external dust through the dust screen and gets into cooling blower's inside, reduces cooling blower's clearance and maintains the number of times.
(5) This scheme is convenient to hand the pulling dust through the handle and is collected the drawer and slide, and the use of the drawer is collected to the dust of being convenient for.
(6) When this scheme uses, produces the air current through micro fan, and the air current blows off from blowing off the tuyere through the blowing pipe, blows off the tuyere and aims at the corner position that the dust accumulated easily, blows through the air current and avoids the dust to accumulate in the corner of the cabinet body, improves the dust treatment effect.
Drawings
Fig. 1 is a schematic structural view of the present invention;
FIG. 2 is a schematic front view of the structure of the present invention;
FIG. 3 is a schematic structural view of the movable support frame of the present invention;
FIG. 4 is a schematic structural view of the dust blowing device of the present invention;
the reference numbers in the figures illustrate:
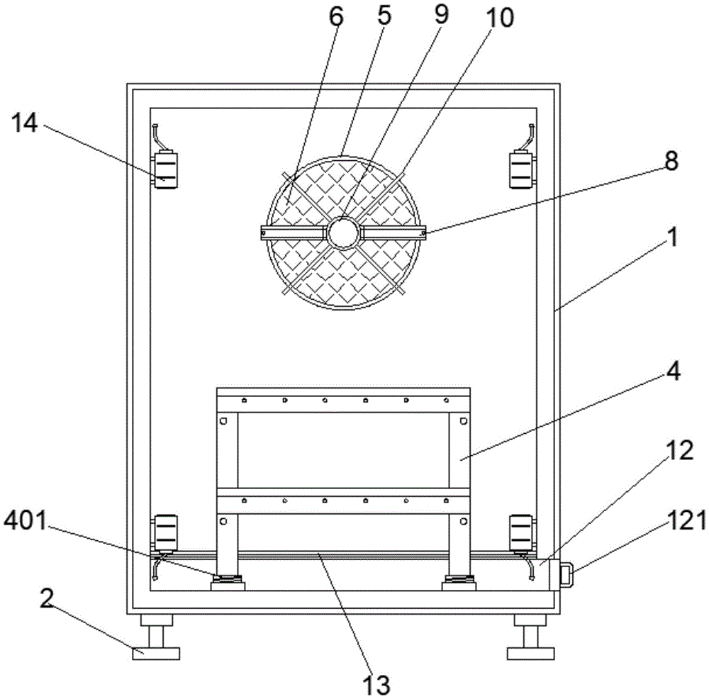
1. a cabinet body; 2. a supporting seat; 3. a cabinet door; 4. a mounting frame; 5. a heat dissipation vent; 6. a dustproof screen; 7. a heat radiation fan; 8. cleaning the support frame; 9. cleaning the motor; 10. a movable support frame; 11. a dust cleaning brush; 12. a dust collection drawer; 13. a slide rail; 14. a dust blowing device; 401. buffering the supporting pad; 111. a static elimination wire; 701. a dust screen; 121. a handle; 141. blowing off the mounting rack; 142. A micro fan; 143. a blowpipe; 144. and blowing off the blast nozzle.
Detailed Description
The technical solution in the embodiment of the present invention will be clearly and completely described below with reference to the accompanying drawings in the embodiment of the present invention; obviously, the described embodiments are only a part of the embodiments of the present invention, and not all embodiments, and all other embodiments obtained by those skilled in the art without any inventive work are within the scope of the present invention based on the embodiments of the present invention.
In the description of the present invention, it should be noted that the terms "upper", "lower", "inner", "outer", "top/bottom", and the like indicate orientations or positional relationships based on the orientations or positional relationships shown in the drawings, and are only for convenience of description and simplification of description, but do not indicate or imply that the device or element referred to must have a specific orientation, be constructed in a specific orientation, and be operated, and thus, should not be construed as limiting the present invention. Furthermore, the terms "first" and "second" are used for descriptive purposes only and are not to be construed as indicating or implying relative importance.
In the description of the present invention, it is to be noted that, unless otherwise explicitly specified or limited, the terms "mounted", "provided", "sleeved/connected", "connected", and the like are to be understood in a broad sense, such as "connected", which may be fixedly connected, detachably connected, or integrally connected; can be mechanically or electrically connected; they may be connected directly or indirectly through intervening media, or they may be interconnected between two elements. The specific meaning of the above terms in the present invention can be understood in specific cases to those skilled in the art.
Referring to fig. 1-4, a PLC control cabinet with dust cleaning function includes a cabinet body 1, a support base 2 is fixedly installed at the bottom of the cabinet body 1, a cabinet door 3 is rotatably connected to one side of the front surface of the cabinet body 1 through a hinge, a mounting frame 4 is fixedly installed inside the cabinet body 1, a heat dissipation vent 5 is opened at one side of the back surface of the cabinet body 1, a dustproof screen 6 is fixedly installed inside the heat dissipation vent 5, a heat dissipation fan 7 is fixedly installed at one side of the back surface of the cabinet body 1, the heat dissipation fan 7 is communicated with the heat dissipation vent 5, a cleaning support frame 8 is fixedly installed at one side of the inner wall of the cabinet body 1, which is located at the front surface of the heat dissipation vent 5, a cleaning motor 9 is fixedly installed inside the cleaning support frame 8, a movable support frame 10 is fixedly installed at an output shaft of, the dust cleaning brush 11 is contacted with the dust screen 6, the inner bottom wall of the cabinet body 1 is movably connected with a dust collecting drawer 12, a slide rail 13 is fixedly arranged inside the cabinet body 1, the dust collecting drawer 12 is slidably connected with the cabinet body 1 through the slide rail 13, a dust blowing device 14 is fixedly arranged at a position, close to a corner, of the inner wall of the cabinet body 1, when the dust cleaning device is used, the cabinet body 1 is placed at a proper position through the support seat 2, the cabinet door 3 is opened, the PLC device is installed on the installation frame 4, when the PLC device is installed to work, air flow is generated through the heat dissipation fan 7, the air flow is conducted inside the cabinet body 1 through the heat dissipation vent 5 to play a ventilation and heat dissipation effect, dust can be accumulated on the dust screen 6 after the dust cleaning device works for a period of time, the cleaning motor 9 is started to drive the movable support frame 10 to rotate, the dust cleaning brush 11 is driven to clean the, simultaneously can blow up the dust that the inner wall of the cabinet body 1 is close to the position in corner through dust blowdown device 14, avoid the dust to produce the accumulation in the corner of difficult clearance, improve dust clearance effect, the staff regularly take out the clearance dust collect the dust in drawer 12 can, dust clearance is effectual, avoids producing the clearance dead angle.
The electric appliances and electronic elements related in the case can be directly purchased and selected according to the overall operation condition of the equipment, and are not described in detail.
Further, the bottom fixed mounting of mounting bracket 4 has buffering supporting pad 401, plays the absorbing effect of buffering through buffering supporting pad 401, improves erection equipment's on the mounting bracket 4 stability.
Further, one end fixed mounting that clearance motor 9 was kept away from to movable support frame 10 has electrostatic elimination wire 111, through electrostatic elimination wire 111 with movable support frame 10 and dust cleaning brush 11 accumulation static conduction to the cabinet body 1 of ground connection on, play the effect of eliminating static, avoid static to make movable support frame 10 and dust cleaning brush 11 adsorb the dust.
Furthermore, a dust screen 701 is fixedly installed on one side of the back face of the heat dissipation fan 7, and the dust screen 701 reduces the amount of external dust entering the heat dissipation fan 7, thereby reducing the number of times of cleaning and maintenance of the heat dissipation fan 7.
Furthermore, a handle 121 is fixedly mounted on the right side of the dust collection drawer 12, and the dust collection drawer 12 can be conveniently pulled by hand to slide through the handle 121, so that the dust collection drawer 12 can be conveniently used.
Further, the dust blowing device 14 includes the blowing mounting frame 141, the inside wall fixed connection of blowing mounting frame 141 and the cabinet body 1, the inside fixed mounting of blowing mounting frame 141 has the micro-fan 142, the position intercommunication that the micro-fan 142 is close to cabinet body 1 inner wall corner has the blowing pipe 143, the one end fixed mounting that the micro-fan 142 was kept away from to the blowing pipe 143 has the blowing tuyere 144, in use, produce the air current through the micro-fan 142, the air current blows off from the blowing tuyere 144 through the blowing pipe 143, the corner position that the dust accumulated easily is aimed at to the blowing tuyere 144, blow through the air current and avoid the dust to accumulate in the corner of the cabinet body 1, and the dust treatment effect is improved.
The working principle is as follows: when the dust collection cabinet is used, the cabinet body 1 is placed at a proper position through the supporting seat 2, the cabinet door 3 is opened, the PLC equipment is installed on the installation frame 4, when the PLC equipment is installed to work, airflow is generated through the heat dissipation fan 7, the airflow is conducted inside the cabinet body 1 through the heat dissipation vent 5 to achieve a ventilation and heat dissipation effect, dust can be accumulated on the dust screen 6 after the PLC equipment works for a period of time, the cleaning motor 9 is started to drive the movable supporting frame 10 to rotate, the dust cleaning brush 11 is further driven to rotate to brush and clean the dust on the dust screen 6, the cleaned dust can fall into the dust collection drawer 12 to be collected in a centralized manner, meanwhile, the dust at a position, close to corners, on the inner wall of the cabinet body 1 can be blown up through the dust blowing device 14, the dust accumulation at the corners difficult to clean is avoided, the dust cleaning effect is improved, and workers can take out the, the dust clearance is effectual, avoids producing the clearance dead angle, has solved the not ideal enough of current PLC switch board dust clearance effect, and current dust clearance mode can produce the dead angle, and the dust is gathering in the corner of the cabinet body easily, causes the problem of electrical equipment trouble easily.
The above description is only the preferred embodiment of the present invention; the scope of the present invention is not limited thereto. Any person skilled in the art should also be able to cover the technical scope of the present invention by replacing or changing the technical solution and the improvement concept of the present invention with equivalents and modifications within the technical scope of the present invention.

Claims (6)

1.一种具备粉尘清理功能的PLC控制柜,包括柜体(1),其特征在于:所述柜体(1)的底部固定安装有支撑座(2),所述柜体(1)正面的一侧通过铰链转动连接有柜门(3),所述柜体(1)的内部固定安装有安装架(4),所述柜体(1)背面的一侧开设有散热通风口(5),所述散热通风口(5)的内部固定安装有防尘筛网(6),所述柜体(1)背面的一侧固定安装有散热风机(7),所述散热风机(7)与散热通风口(5)相连通,所述柜体(1)的内壁位于散热通风口(5)正面的一侧固定安装有清理支撑架(8),所述清理支撑架(8)的内部固定安装有清理电机(9),所述清理电机(9)的输出轴固定安装有活动支撑架(10),所述活动支撑架(10)靠近散热通风口(5)的一侧固定安装有粉尘清理刷(11),所述粉尘清理刷(11)与防尘筛网(6)相接触,所述柜体(1)的内底壁活动连接有粉尘收集抽屉(12),所述柜体(1)的内部固定安装有滑轨(13),所述粉尘收集抽屉(12)通过滑轨(13)与柜体(1)滑动连接,所述柜体(1)的内壁靠近角落的位置固定安装有粉尘吹除装置(14)。1. A PLC control cabinet with dust cleaning function, comprising a cabinet body (1), characterized in that: a support seat (2) is fixedly installed at the bottom of the cabinet body (1), and a front surface of the cabinet body (1) is fixedly installed. A cabinet door (3) is rotatably connected to one side of the cabinet body (1) through a hinge, a mounting bracket (4) is fixedly installed inside the cabinet body (1), and a cooling vent (5) is opened on the back side of the cabinet body (1). ), a dust-proof screen (6) is fixedly installed inside the cooling vent (5), a cooling fan (7) is fixedly installed on one side of the back of the cabinet (1), and the cooling fan (7) It is communicated with the cooling vent (5), the inner wall of the cabinet (1) is located on the side of the front of the cooling vent (5), and a cleaning support frame (8) is fixedly installed. A cleaning motor (9) is fixedly installed, an output shaft of the cleaning motor (9) is fixedly installed with a movable support frame (10), and a side of the movable support frame (10) close to the heat dissipation vent (5) is fixedly installed with a movable support frame (10). A dust cleaning brush (11), the dust cleaning brush (11) is in contact with the dust-proof screen (6), and a dust collection drawer (12) is movably connected to the inner bottom wall of the cabinet body (1), and the cabinet A slide rail (13) is fixedly installed inside the body (1), the dust collection drawer (12) is slidably connected to the cabinet body (1) through the slide rail (13), and the inner wall of the cabinet body (1) is close to the corners. A dust blowing device (14) is installed in a fixed position. 2.根据权利要求1所述的一种具备粉尘清理功能的PLC控制柜,其特征在于:所述安装架(4)的底部固定安装有缓冲支撑垫(401)。2 . The PLC control cabinet with dust cleaning function according to claim 1 , wherein a buffer support pad ( 401 ) is fixedly installed at the bottom of the mounting frame ( 4 ). 3 . 3.根据权利要求1所述的一种具备粉尘清理功能的PLC控制柜,其特征在于:所述活动支撑架(10)远离清理电机(9)的一端固定安装有静电消除导线(111)。3. A PLC control cabinet with dust cleaning function according to claim 1, characterized in that: one end of the movable support frame (10) away from the cleaning motor (9) is fixedly installed with a static electricity elimination wire (111). 4.根据权利要求1所述的一种具备粉尘清理功能的PLC控制柜,其特征在于:所述散热风机(7)背面的一侧固定安装有防尘网(701)。4 . The PLC control cabinet with dust cleaning function according to claim 1 , wherein a dust filter ( 701 ) is fixedly installed on one side of the back of the cooling fan ( 7 ). 5 . 5.根据权利要求1所述的一种具备粉尘清理功能的PLC控制柜,其特征在于:所述粉尘收集抽屉(12)的右侧固定安装有把手(121)。5 . The PLC control cabinet with dust cleaning function according to claim 1 , wherein a handle ( 121 ) is fixedly installed on the right side of the dust collection drawer ( 12 ). 6 . 6.根据权利要求1所述的一种具备粉尘清理功能的PLC控制柜,其特征在于:所述粉尘吹除装置(14)包括吹除安装架(141),所述吹除安装架(141) 与柜体(1)的内侧壁固定连接,所述吹除安装架(141)的内部固定安装有微型风机(142),所述微型风机(142)靠近柜体(1)内壁角落的位置连通有吹风管(143),所述吹风管(143)远离微型风机(142)的一端固定安装有吹除风嘴(144)。6. A PLC control cabinet with dust cleaning function according to claim 1, characterized in that: the dust blowing device (14) comprises a blowing mounting frame (141), and the blowing mounting frame (141) ) is fixedly connected to the inner side wall of the cabinet (1), and a micro-fan (142) is fixedly installed inside the blow-off mounting bracket (141), and the micro-fan (142) is close to the corner of the inner wall of the cabinet (1). A blowing pipe (143) is communicated with, and a blowing nozzle (144) is fixedly installed at one end of the blowing pipe (143) away from the micro-fan (142).
CN202021652180.9U 2020-08-11 2020-08-11 PLC switch board that possesses dust clearance function Active CN213043938U (en)

Priority Applications (1)

Application Number Priority Date Filing Date Title
CN202021652180.9U CN213043938U (en) 2020-08-11 2020-08-11 PLC switch board that possesses dust clearance function

Applications Claiming Priority (1)

Application Number Priority Date Filing Date Title
CN202021652180.9U CN213043938U (en) 2020-08-11 2020-08-11 PLC switch board that possesses dust clearance function

Publications (1)

Publication Number Publication Date
CN213043938U true CN213043938U (en) 2021-04-23

Family

ID=75530805

Family Applications (1)

Application Number Title Priority Date Filing Date
CN202021652180.9U Active CN213043938U (en) 2020-08-11 2020-08-11 PLC switch board that possesses dust clearance function

Country Status (1)

Country Link
CN (1) CN213043938U (en)

Cited By (2)

* Cited by examiner, † Cited by third party
Publication number Priority date Publication date Assignee Title
CN113649167A (en) * 2021-08-25 2021-11-16 山东双鹤机械制造股份有限公司 Feed processing dust electrostatic adsorption processing apparatus
CN116851359A (en) * 2023-09-04 2023-10-10 福建省盛世大翔茶业有限公司 An air separation and dust removal device for tea bag processing

Cited By (4)

* Cited by examiner, † Cited by third party
Publication number Priority date Publication date Assignee Title
CN113649167A (en) * 2021-08-25 2021-11-16 山东双鹤机械制造股份有限公司 Feed processing dust electrostatic adsorption processing apparatus
CN113649167B (en) * 2021-08-25 2024-04-09 山东双鹤机械制造股份有限公司 Feed processing dust electrostatic adsorption processing device
CN116851359A (en) * 2023-09-04 2023-10-10 福建省盛世大翔茶业有限公司 An air separation and dust removal device for tea bag processing
CN116851359B (en) * 2023-09-04 2023-11-10 福建省盛世大翔茶业有限公司 Winnowing dust collector is used in tea bag processing

Similar Documents

Publication Publication Date Title
CN210995631U (en) Dust collector is used in computer laboratory
CN210092618U (en) Switch board with dust proof structure
CN109149424A (en) A kind of power switch cabinet device on industrial automation control system
CN213043938U (en) PLC switch board that possesses dust clearance function
CN206747073U (en) A kind of area of computer aided dust arrester
CN220209644U (en) Low-voltage switching device
CN220306722U (en) Dust type switch board
CN216407225U (en) Dust-proof induced draft device
CN216750941U (en) Multifunctional power equipment operation maintenance device
CN214391286U (en) Electrical equipment daily maintenance device of power plant
CN216121311U (en) Automatic control cabinet with dust pelletizing system function
CN212210072U (en) Intelligent electric control cabinet
CN221328363U (en) Dust suppression electric power cabinet for electric power
CN220144213U (en) Dust collector and power transformer equipped with the same
CN219086504U (en) Dust type block terminal
CN209787605U (en) Dispatching desk
CN208480194U (en) A kind of network cabinet
CN101943456A (en) An outdoor unit of an air conditioner with a dustproof function
CN217031458U (en) Air cooler with dust removal function inside
CN216251738U (en) Novel power distribution cabinet with self-ash-cleaning function
CN222709264U (en) A cabinet dust-proof device with self-dust removal function
CN114172348B (en) Industrial frequency converter with internal and external air exchange and static electricity removal functions
CN217741032U (en) Novel electric power measurement cabinet
CN220689277U (en) Vertical rotary air filter unit and air purifying equipment thereof
CN217271071U (en) Novel ventilation blower air inlet mechanism for building

Legal Events

Date Code Title Description
GR01 Patent grant
GR01 Patent grant
PE01 Entry into force of the registration of the contract for pledge of patent right
PE01 Entry into force of the registration of the contract for pledge of patent right

Denomination of utility model: A PLC control cabinet with dust cleaning function

Granted publication date: 20210423

Pledgee: China Construction Bank Corporation Changzhou Xinbei sub branch

Pledgor: JIANGSU LIANXIN AUTOMATION EQUIPMENT ENGINEERING Co.,Ltd.

Registration number: Y2024980001067

CP03 Change of name, title or address
CP03 Change of name, title or address

Address after: No. 88, Tongjiang North Road, Chunjiang Street, Xinbei District, Changzhou City, Jiangsu Province, China 213000

Patentee after: Jiangsu Aolang Intelligent Technology Co.,Ltd.

Country or region after: China

Address before: No. 28 Shunyuan Road, Xinbei District, Changzhou City, Jiangsu Province

Patentee before: JIANGSU LIANXIN AUTOMATION EQUIPMENT ENGINEERING Co.,Ltd.

Country or region before: China