CN212999690U - Seasoning sauce stirring device - Google Patents

Seasoning sauce stirring device Download PDF

Info

Publication number
CN212999690U
CN212999690U CN202021137312.4U CN202021137312U CN212999690U CN 212999690 U CN212999690 U CN 212999690U CN 202021137312 U CN202021137312 U CN 202021137312U CN 212999690 U CN212999690 U CN 212999690U
Authority
CN
China
Prior art keywords
sauce
gear
stirring
elastic component
agitator tank
Prior art date
Legal status (The legal status is an assumption and is not a legal conclusion. Google has not performed a legal analysis and makes no representation as to the accuracy of the status listed.)
Expired - Fee Related
Application number
CN202021137312.4U
Other languages
Chinese (zh)
Inventor
劳厚福
陆斌
劳生来
劳宝橙
陆英明
Current Assignee (The listed assignees may be inaccurate. Google has not performed a legal analysis and makes no representation or warranty as to the accuracy of the list.)
Zhuhai Intense Profit Food Co ltd
Original Assignee
Zhuhai Intense Profit Food Co ltd
Priority date (The priority date is an assumption and is not a legal conclusion. Google has not performed a legal analysis and makes no representation as to the accuracy of the date listed.)
Filing date
Publication date
Application filed by Zhuhai Intense Profit Food Co ltd filed Critical Zhuhai Intense Profit Food Co ltd
Priority to CN202021137312.4U priority Critical patent/CN212999690U/en
Application granted granted Critical
Publication of CN212999690U publication Critical patent/CN212999690U/en
Expired - Fee Related legal-status Critical Current
Anticipated expiration legal-status Critical

Links

Images

Landscapes

  • Accessories For Mixers (AREA)

Abstract

本实用新型公开了一种调料酱搅拌装置,属于调料酱加工技术领域,其包括搅拌箱,所述搅拌箱的上表面卡接有轴承,所述轴承内套接有圆筒,所述圆筒内壁的左右两侧面均卡接有四个弹性组件,右上侧和右下侧所述弹性组件的右端均设置有搅拌叶,右侧中间两个所述弹性组件的右端均设置有推板。该调料酱搅拌装置,通过设置固定杆、挡板、圆筒、轴承、电机和搅拌叶,电机通过齿轮和齿圈控制圆筒转动,此时挡板围绕固定杆转动,此时弹簧带动滑杆靠近固定杆移动,同时搅拌叶和推板靠近圆筒移动,搅拌叶和推板在转动的同时重复靠近和远离圆筒转动,本装置可以实现在对酱料搅拌的同时推动酱料移动,可以在一定程度上保证对酱料的充分搅拌。

Figure 202021137312

The utility model discloses a seasoning sauce stirring device, which belongs to the technical field of seasoning sauce processing. The left and right sides of the inner wall are clamped with four elastic components, the right ends of the elastic components on the upper right side and the lower right side are provided with stirring blades, and the right ends of the two elastic components in the middle of the right side are provided with push plates. The seasoning sauce stirring device is provided with a fixed rod, a baffle, a cylinder, a bearing, a motor and a stirring blade. The motor controls the rotation of the cylinder through a gear and a ring gear. At this time, the baffle rotates around the fixed rod, and the spring drives the sliding rod. Move close to the fixed rod, while the stirring blade and the push plate move close to the cylinder, and the stirring blade and the push plate repeatedly rotate close to and away from the cylinder while rotating. This device can push the sauce to move while stirring the sauce. To a certain extent, ensure that the sauce is fully stirred.

Figure 202021137312

Description

Seasoning sauce stirring device
Technical Field
The utility model belongs to the technical field of condiment sauce processing, specifically be a condiment sauce agitating unit.
Background
Seasoning sauce need add batching and corresponding additive in the course of working, and the adding process need stir its homogeneous mixing in order to guarantee between additive and the sauce, but current agitating unit adopts simple blade to rotate the stirring mostly, leads to the sauce to remove along the direction of rotation of blade only, and the sauce of same height is difficult to with the abundant homogeneous mixing of sauce of upper and lower position, leads to the stirring to the sauce not ideal enough.
SUMMERY OF THE UTILITY MODEL
Technical problem to be solved
In order to overcome prior art's above-mentioned defect, the utility model provides a condiment sauce agitating unit has solved the stirring mixing process of sauce material, and the sauce material can only remove along the rotation direction of blade, and the sauce material of same height is difficult to with the sauce material intensive mixing of upper and lower position, leads to the not ideal enough problem of stirring of sauce material.
(II) technical scheme
In order to achieve the above object, the utility model provides a following technical scheme: the utility model provides a condiment sauce agitating unit, includes the agitator tank, the upper surface joint of agitator tank has the bearing, the drum has been cup jointed in the bearing, the equal joint of the left and right sides face of drum inner wall has four elastic component, upper right side and right downside elastic component's right-hand member all is provided with the stirring leaf, two in the middle of the right side elastic component's right-hand member all is provided with the push pedal, the left and right sides elastic component's opposite face respectively with the left and right sides face overlap joint of same dead lever, the top of dead lever and the last fixed surface of fixed frame inner wall are connected, the lower surface of fixed frame and the last fixed surface of agitator tank are.
As a further aspect of the present invention: the surface of drum is provided with the ring gear, the ring gear meshes with drive assembly, drive assembly sets up the upper surface at fixed frame inner wall.
As a further aspect of the present invention: the gear ring is located inside the fixing frame, and the fixing rod is oval.
As a further aspect of the present invention: the drive assembly comprises a motor, the upper surface of the motor is fixedly connected with the upper surface of the inner wall of the fixing frame, the output shaft of the motor is fixedly connected with the upper surface of the gear, and the gear is meshed with the gear ring.
As a further aspect of the present invention: elastic component includes the slide bar, the right-hand member of slide bar and the left surface fixed connection of stirring the leaf, the left end of slide bar and the right flank fixed connection of baffle, the surface of slide bar is provided with sliding sleeve and spring, the sliding sleeve joint is at the right flank of drum, the both ends of spring respectively with the opposite face fixed connection of sliding sleeve and baffle.
As a further aspect of the present invention: the upper surface of agitator tank is provided with two feeder hoppers, the lower surface of agitator tank is provided with discharging pipe and supporting leg.
(III) advantageous effects
Compared with the prior art, the beneficial effects of the utility model reside in that:
1. this condiment sauce agitating unit, through setting up the dead lever, the baffle, the drum, a bearing, motor and stirring leaf, the motor passes through gear and ring gear control drum and rotates, the baffle rotates around the dead lever this moment, the spring drives the slide bar and is close to the dead lever and removes this moment, stirring leaf and push pedal are close to the drum simultaneously and remove, stirring leaf and push pedal are repeated when the pivoted and are close to and keep away from the drum rotation, this device can realize promoting the sauce material removal when stirring to the sauce material, can guarantee the intensive mixing to the sauce material to a certain extent.
2. This condiment sauce agitating unit is oval through setting up the dead lever, and the relative dead lever pivoted of drum is in the same time with the spring fit, can constantly control the push pedal and stir the leaf and be close to and keep away from the drum and remove, can be to the abundant homogeneous mixing between sauce material and the additive.
3. This condiment sauce agitating unit through setting up the bearing, can guarantee the steady rotation of drum, guarantees to a certain extent that the smooth of sauce material stirring process goes on steadily.
Drawings
Fig. 1 is a schematic front view of a cross-sectional structure of the present invention;
fig. 2 is a schematic structural view of the fixing rod of the present invention viewed from above;
fig. 3 is an enlarged schematic structural view of part a of the present invention.
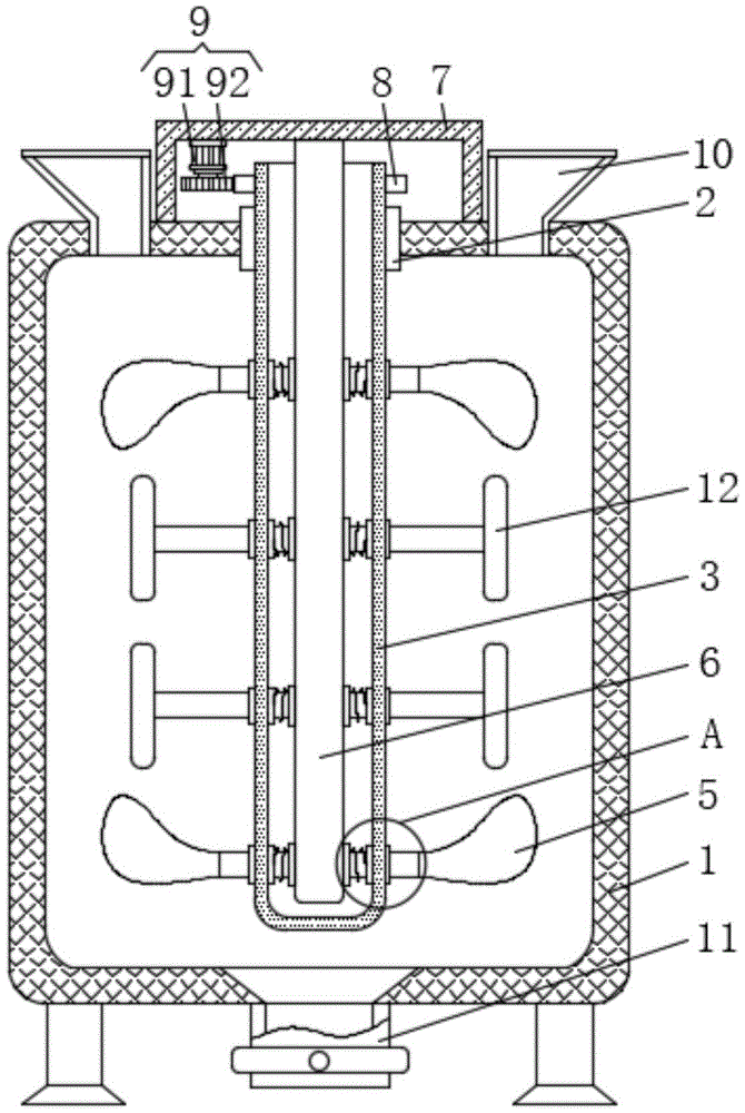
In the figure: 1 stirring box, 2 bearings, 3 cylinders, 4 elastic components, 41 sliding rods, 42 baffles, 43 sliding sleeves, 44 springs, 5 stirring blades, 6 fixing rods, 7 fixing frames, 8 gear rings, 9 driving components, 91 motors, 92 gears, 10 feed hoppers, 11 discharge pipes and 12 push plates.
Detailed Description
The technical solution of the present patent will be described in further detail with reference to the following embodiments.
As shown in fig. 1-3, the utility model provides a technical solution: a seasoning sauce stirring device comprises a stirring box 1, wherein a bearing 2 is clamped on the upper surface of the stirring box 1, a cylinder 3 can be ensured to stably rotate by arranging the bearing 2, the smooth and stable progress of a sauce stirring process is ensured to a certain extent, the cylinder 3 is sleeved in the bearing 2, a fixing rod 6 is conveniently placed in the cylinder 3 by arranging the cylinder 3, the process that the fixing rod 6 pushes a sliding rod 41 to move is realized, four elastic components 4 are respectively clamped on the left side surface and the right side surface of the inner wall of the cylinder 3, stirring blades 5 are respectively arranged at the right ends of the upper right side elastic component 4 and the lower right side elastic component 4, a push plate 12 is respectively arranged at the right ends of the middle two right side elastic components 4, the pushing process of sauce can be realized by arranging the push plate 12 when the sliding rod 41 moves away from or close to the cylinder 3, opposite surfaces of the elastic components 4 on the left side and the, the top of dead lever 6 is connected with the last fixed surface of fixed frame 7 inner wall, and the lower surface of fixed frame 7 is connected with the last fixed surface of agitator tank 1, through setting up fixed frame 7, can fix a position dead lever 6, prevents that dead lever 6 from appearing the slope, guarantees the stable contact between dead lever 6 and the baffle 42, and fixed frame 7 can shelter from motor 91 and gear 92 simultaneously, prevents that debris from causing the influence to the meshing between gear 92 and the ring gear 8.
Specifically, as shown in fig. 1, the outer surface of the cylinder 3 is provided with a gear ring 8, the gear ring 8 is engaged with a driving assembly 9, the driving assembly 9 is arranged on the upper surface of the inner wall of the fixed frame 7, the driving assembly 9 comprises a motor 91, the upper surface of the motor 91 is fixedly connected with the upper surface of the inner wall of the fixed frame 7, by arranging the gear 92, the gear ring 8 and the motor 91, the motor 91 can control the smooth rotation process of the cylinder 3 and the stirring blade 5 through the gear 92 and the gear ring 8, the output shaft of the motor 91 is fixedly connected with the upper surface of the gear 92, the gear 92 is meshed with the gear ring 8, the upper surface of the stirring box 1 is provided with two feeding hoppers 10, by arranging the feed hopper 10, the additive is conveniently added into the stirring box 1 from the feed hopper 10 by workers, and by arranging the discharge pipe 11, can take out the sauce material of processing completion by discharging pipe 11, the lower surface of agitator tank 1 is provided with discharging pipe 11 and supporting leg.
Specifically, as shown in fig. 1 and 2, the gear ring 8 is located inside the fixing frame 7, the fixing rod 6 is oval, and the cylinder 3 is matched with the spring 44 while rotating relative to the fixing rod 6, so that the push plate 12 and the stirring blade 5 can be continuously controlled to move close to or away from the cylinder 3, and the sauce and the additive can be fully and uniformly mixed.
Specifically, as shown in fig. 3, the elastic component 4 includes a sliding rod 41, a right end of the sliding rod 41 is fixedly connected to a left side surface of the stirring blade 5, a left end of the sliding rod 41 is fixedly connected to a right side surface of the baffle 42, a sliding sleeve 43 and a spring 44 are disposed on a surface of the sliding rod 41, the sliding sleeve 43 is connected to a right side surface of the cylinder 3 in a clamping manner, two ends of the spring 44 are respectively fixedly connected to opposite surfaces of the sliding sleeve 43 and the baffle 42, and the stability of the moving process of the stirring blade 5 and the pushing plate 12 is ensured by disposing the sliding rod 41 and the.
The utility model discloses a theory of operation does:
s1, when the sauce needs to be stirred, firstly, the additive is added into the stirring box 1 from the feed hopper 10, at the moment, the motor 91 is controlled to work, at the moment, the motor 91 controls the cylinder 3 to rotate through the gear 92 and the gear ring 8, meanwhile, the baffle plate 42 rotates around the fixed rod 6, and after the fixed rod 6 is separated from the baffle plate 42;
s2, the spring 44 drives the stirring blade 5 and the push plate 12 to rotate close to the cylinder 3, and when the fixed rod 6 extrudes the baffle 42, the slide rod 41 drives the stirring blade 5 and the push plate 12 to rotate away from the cylinder 3;
s3, repeating the above processes in sequence, controlling the stirring blades 5 to move close to and away from the cylinder 3 in sequence while rotating, controlling the motor 91 to stop working after the stirring of the sauce is finished, and taking out the sauce from the stirring box 1 through the discharging pipe 11.
In the description of the present invention, it is to be noted that, unless otherwise explicitly specified or limited, the terms "mounted," "connected," and "connected" are to be construed broadly, and may be, for example, fixedly connected, detachably connected, or integrally connected; can be mechanically or electrically connected; they may be connected directly or indirectly through intervening media, or they may be interconnected between two elements. The specific meaning of the above terms in the present invention can be understood by those of ordinary skill in the art through specific situations.
Although the preferred embodiments of the present patent have been described in detail, the present patent is not limited to the above embodiments, and various changes can be made without departing from the spirit of the present patent within the knowledge of those skilled in the art.

Claims (6)

1. The utility model provides a condiment sauce agitating unit, includes agitator tank (1), its characterized in that: the upper surface joint of agitator tank (1) has bearing (2), drum (3) have been cup jointed in bearing (2), the equal joint of the left and right sides face of drum (3) inner wall has four elastic component (4), upper right side and right downside the right-hand member of elastic component (4) all is provided with stirring leaf (5), two in the middle of the right side the right-hand member of elastic component (4) all is provided with push pedal (12), the left and right sides the opposite face of elastic component (4) respectively with the left and right sides face overlap joint of same dead lever (6), the top of dead lever (6) is connected with the last fixed surface of fixed frame (7) inner wall, the lower surface of fixed frame (7) is connected with the last fixed surface of agitator tank (1).
2. The seasoning paste mixing apparatus of claim 1, wherein: the surface of drum (3) is provided with ring gear (8), ring gear (8) and drive assembly (9) meshing, drive assembly (9) set up the upper surface at fixed frame (7) inner wall.
3. The seasoning paste mixing apparatus of claim 2, wherein: the gear ring (8) is located inside the fixing frame (7), and the fixing rod (6) is oval.
4. The seasoning paste mixing apparatus of claim 2, wherein: drive assembly (9) include motor (91), the upper surface of motor (91) and the upper surface fixed connection of fixed frame (7) inner wall, the output shaft of motor (91) and the upper surface fixed connection of gear (92), gear (92) and ring gear (8) meshing.
5. The seasoning paste mixing apparatus of claim 1, wherein: elastic component (4) include slide bar (41), the right-hand member of slide bar (41) and the left flank fixed connection of stirring leaf (5), the left end of slide bar (41) and the right flank fixed connection of baffle (42), the surface of slide bar (41) is provided with sliding sleeve (43) and spring (44), sliding sleeve (43) joint is in the right flank of drum (3), the both ends of spring (44) respectively with the opposite face fixed connection of sliding sleeve (43) and baffle (42).
6. The seasoning paste mixing apparatus of claim 1, wherein: the upper surface of agitator tank (1) is provided with two feeder hoppers (10), the lower surface of agitator tank (1) is provided with discharging pipe (11) and supporting leg.
CN202021137312.4U 2020-06-18 2020-06-18 Seasoning sauce stirring device Expired - Fee Related CN212999690U (en)

Priority Applications (1)

Application Number Priority Date Filing Date Title
CN202021137312.4U CN212999690U (en) 2020-06-18 2020-06-18 Seasoning sauce stirring device

Applications Claiming Priority (1)

Application Number Priority Date Filing Date Title
CN202021137312.4U CN212999690U (en) 2020-06-18 2020-06-18 Seasoning sauce stirring device

Publications (1)

Publication Number Publication Date
CN212999690U true CN212999690U (en) 2021-04-20

Family

ID=75496550

Family Applications (1)

Application Number Title Priority Date Filing Date
CN202021137312.4U Expired - Fee Related CN212999690U (en) 2020-06-18 2020-06-18 Seasoning sauce stirring device

Country Status (1)

Country Link
CN (1) CN212999690U (en)

Cited By (1)

* Cited by examiner, † Cited by third party
Publication number Priority date Publication date Assignee Title
CN118988071A (en) * 2024-10-23 2024-11-22 上海凯谷化工科技有限公司 Water-based cleaning agent preparation device

Cited By (1)

* Cited by examiner, † Cited by third party
Publication number Priority date Publication date Assignee Title
CN118988071A (en) * 2024-10-23 2024-11-22 上海凯谷化工科技有限公司 Water-based cleaning agent preparation device

Similar Documents

Publication Publication Date Title
CN212999690U (en) Seasoning sauce stirring device
CN216093360U (en) Silica gel rubber mixing machine is with even rabbling mechanism
CN214915213U (en) Preserved szechuan pickle mixer
CN215953569U (en) Solid phase extraction device for food detection
CN211250773U (en) Concrete mixer for housing construction engineering
CN112318712A (en) Careful uniform stirring mechanism in small amount of concrete bucket
CN112090328A (en) Material stirring mixing arrangement for chemical production
CN214438154U (en) Cake production is with lasting compounding device
CN217568554U (en) A vertical blendor for plastic uptake processing
CN210729234U (en) Automatic mechanical equipment for industrial stirring
CN210544522U (en) Emulsion mixing agitator is used in preparation of nanometer new material
CN214514043U (en) Feed processing dosing unit convenient to ejection of compact
CN206121570U (en) Square cone mixer
CN114083652A (en) Stirring device and method for preparing high-temperature glaze by using stirring device
CN217568443U (en) Homogenizing device for micro silicon powder
CN219540450U (en) Biological carbon source production reaction unit
CN220360010U (en) Stirring device for flour processing
CN222510860U (en) Blending tank mixing stirring device for oil phase production
CN222855151U (en) Modularized stirring device
CN216093702U (en) A reation kettle for vaseline production
CN222984258U (en) Water-soluble coating mixing arrangement
CN221267962U (en) Nanomaterial mixing bowl cleaning device
CN210385674U (en) Magnetic material production is with mixer that has heating mechanism
CN222151675U (en) Cardboard carton processing agitated vessel
CN220095113U (en) Vertical mixer

Legal Events

Date Code Title Description
GR01 Patent grant
GR01 Patent grant
CF01 Termination of patent right due to non-payment of annual fee
CF01 Termination of patent right due to non-payment of annual fee

Granted publication date: 20210420