CN212974244U - Novel traditional chinese medicine liquid medicine draws device - Google Patents

Novel traditional chinese medicine liquid medicine draws device Download PDF

Info

Publication number
CN212974244U
CN212974244U CN202020859038.5U CN202020859038U CN212974244U CN 212974244 U CN212974244 U CN 212974244U CN 202020859038 U CN202020859038 U CN 202020859038U CN 212974244 U CN212974244 U CN 212974244U
Authority
CN
China
Prior art keywords
cover
fixedly connected
traditional chinese
fixed
chinese medicine
Prior art date
Legal status (The legal status is an assumption and is not a legal conclusion. Google has not performed a legal analysis and makes no representation as to the accuracy of the status listed.)
Expired - Fee Related
Application number
CN202020859038.5U
Other languages
Chinese (zh)
Inventor
孙玲
Current Assignee (The listed assignees may be inaccurate. Google has not performed a legal analysis and makes no representation or warranty as to the accuracy of the list.)
Jiangsu Vocational College of Medicine
Original Assignee
Jiangsu Vocational College of Medicine
Priority date (The priority date is an assumption and is not a legal conclusion. Google has not performed a legal analysis and makes no representation as to the accuracy of the date listed.)
Filing date
Publication date
Application filed by Jiangsu Vocational College of Medicine filed Critical Jiangsu Vocational College of Medicine
Priority to CN202020859038.5U priority Critical patent/CN212974244U/en
Application granted granted Critical
Publication of CN212974244U publication Critical patent/CN212974244U/en
Expired - Fee Related legal-status Critical Current
Anticipated expiration legal-status Critical

Links

Images

Landscapes

  • Basic Packing Technique (AREA)

Abstract

本实用新型公开了一种新型中药药液提取装置,包括安装罩,所述安装罩的底部固定连接有固定罩,所述安装罩内顶部固定连接有安装箱,所述安装箱的顶部连接有进料斗,所述进料斗的下端依次贯穿安装罩顶部和安装箱顶部并向下延伸,所述固定罩内通过驱动机构连接有两个对称设置的移动座,所述移动座的上侧固定连接有支杆,所述固定罩顶部开设有与支杆对应的活动口。本实用新型通过设置驱动机构,从而带动侧挤压板移动,侧挤压板移动从而可对药渣进行挤压,从而便于将药液挤出,从而不会造成药液浪费,通过设置传动机构和调节机构的配合,从而可再次挤压药液,从而使得药液被提取的更加充分,从而使得中药的药效不会降低。

Figure 202020859038

The utility model discloses a novel traditional Chinese medicine liquid extraction device, which comprises an installation cover, the bottom of the installation cover is fixedly connected with a fixed cover, the inner top of the installation cover is fixedly connected with an installation box, and the top of the installation box is connected with a A feeding hopper, the lower end of the feeding hopper penetrates the top of the installation cover and the top of the installation box and extends downward in sequence, and two symmetrically arranged movable seats are connected in the fixed cover through a driving mechanism. The upper side of the movable seat A support rod is fixedly connected, and the top of the fixed cover is provided with an active port corresponding to the support rod. The utility model drives the side extrusion plate to move by setting the driving mechanism, and the side extrusion plate moves so that the medicinal residue can be squeezed, so that the medicinal liquid can be easily squeezed out, so that the medicinal liquid will not be wasted. In cooperation with the adjusting mechanism, the medicinal liquid can be squeezed again, so that the medicinal liquid can be extracted more fully, so that the efficacy of the traditional Chinese medicine will not be reduced.

Figure 202020859038

Description

Novel traditional chinese medicine liquid medicine draws device
Technical Field
The utility model relates to a traditional chinese medicine processing equipment technical field especially relates to a novel traditional chinese medicine liquid medicine draws device.
Background
The Chinese traditional medicine theory is used for guiding collection, processing and preparation, explaining action mechanism and guiding drugs for clinical application, which are collectively called as traditional Chinese medicines, in short, the traditional Chinese medicines refer to substances for preventing, treating and diagnosing diseases and having rehabilitation and health care effects under the guidance of the Chinese traditional medicine theory, the traditional Chinese medicines are mainly derived from natural medicines and processed products thereof, including plant medicines, animal medicines, mineral medicines and partial chemical and biological products, and the traditional Chinese medicines are abundant in plant medicines, so that the Chinese traditional medicine has the expression of 'all the medicines are based on herbs'.
The traditional Chinese medicinal materials can be taken by a human body only by decocting the traditional Chinese medicinal materials into liquid medicine, most of the liquid medicine can be decocted out in the process of decocting the traditional Chinese medicinal materials, but the liquid medicine is not extracted in medicine dregs, so that the waste of the traditional Chinese medicinal materials is caused, and the medicine effect is reduced because the liquid medicine is not completely extracted.
SUMMERY OF THE UTILITY MODEL
The utility model aims at solving the problem that the liquid medicine often exists in the dregs of a decoction and is not extracted in the prior art, not only causing the waste of the traditional Chinese medicinal materials, but also leading to the defect of reduced drug effect because the liquid medicine is not extracted completely, and providing a novel traditional Chinese medicine liquid medicine extraction device.
In order to achieve the above purpose, the utility model adopts the following technical scheme:
a novel traditional Chinese medicine liquid extraction device comprises an installation cover, wherein the bottom of the installation cover is fixedly connected with a fixed cover, the top in the installation cover is fixedly connected with an installation box, the top of the installation box is connected with a feed hopper, the lower end of the feed hopper sequentially penetrates through the top of the installation cover and the top of the installation box and extends downwards, two symmetrically arranged moving seats are connected in the fixed cover through a driving mechanism, a support rod is fixedly connected to the upper side of each moving seat, a movable opening corresponding to the support rod is formed in the top of the fixed cover, the upper end of the support rod penetrates through the movable opening and extends upwards, a push rod is fixedly connected to one side of the support rod close to the installation cover, one end of the push rod, far away from the support rod, sequentially penetrates through the side wall of the installation cover and the side wall of the installation box and is fixedly connected with, be connected with the carriage release lever through adjustment mechanism in the adjustment cover, the lower extreme of carriage release lever runs through adjustment cover bottom, installation cover top and installation box top and fixedly connected with top squeeze board, two in proper order the fixed frame of the common fixedly connected with of upside of adjustment cover, be equipped with the drive mechanism who corresponds with adjustment mechanism in the fixed frame, the bottom of install bin is connected with the discharging pipe, the downside of discharging pipe is equipped with the filter screen of fixed connection in the installation cover, the downside of filter screen is equipped with the collecting box of fixed connection bottom in the installation cover.
Preferably, actuating mechanism includes the servo motor of fixed connection in the fixed cover bottom, servo motor's drive end runs through the fixed cover bottom and through the first bevel gear of first transmission shaft fixedly connected with, the both sides of first bevel gear all mesh and are connected with the second bevel gear, two one side that the second bevel gear carried on the back mutually all is through the first lead screw of second transmission shaft fixedly connected with, the first thread groove that corresponds with first lead screw has been seted up in the removal seat, two first sliders of downside fixedly connected with of removal seat, the first spout that corresponds with first slider is seted up to the bottom in the fixed cover.
Preferably, the second transmission shaft is provided with a bearing seat which is fixedly connected with the bottom in the fixed cover in a sleeved mode, the servo motor is connected with an external power supply through a power line, and the side wall of the fixed cover is provided with a switch.
Preferably, the adjusting mechanism comprises a second screw rod which is rotatably connected to the top of the adjusting cover, a second thread groove corresponding to the second screw rod is formed in the moving rod, two second sliding blocks are fixedly connected to two sides of the moving rod, and a second sliding groove corresponding to the second sliding blocks is formed in the inner wall of the adjusting cover.
Preferably, drive mechanism is including rotating the final drive shaft who connects the bottom in fixed frame, the upper end of final drive shaft runs through fixed frame top and fixedly connected with carousel, the last fixed cover of final drive shaft is equipped with the main sprocket, the both sides of main sprocket all are equipped with sub-sprocket, the fixed cover of having connect sub-drive shaft in the sub-sprocket.
Preferably, the upper end of the sub-transmission shaft is rotatably connected with the top in the fixed frame, the lower end of the sub-transmission shaft sequentially penetrates through the bottom of the fixed frame and the top of the adjusting cover and is fixedly connected with the upper end of the second screw rod, and the main chain wheel is connected with the sub-chain wheel through a chain.
Compared with the prior art, the beneficial effects of the utility model are that:
1. by arranging the driving mechanism, the servo motor rotates to drive the first transmission shaft to rotate, the first transmission shaft rotates to drive the first bevel gear to rotate, the first bevel gear rotates to drive the second bevel gear to rotate, the second transmission shaft rotates to drive the second transmission shaft to rotate, the second transmission shaft drives the first screw rod to rotate, the first screw rod rotates to drive the movable seat to move, the movable seat moves to drive the supporting rod to move, the supporting rod moves to drive the push rod to move, the push rod moves to drive the side extrusion plate to move, and the side extrusion plate moves to extrude dregs of a decoction, so that the liquid medicine can be extruded conveniently, and the waste of the liquid medicine cannot be;
2. through the cooperation that sets up drive mechanism and adjustment mechanism, through rotating the carousel, the carousel rotates and drives the final drive shaft and rotate, final drive shaft rotates and drives the main sprocket and rotate, the main sprocket rotates and takes active cell sprocket to rotate through the chain, the active cell transmission shaft rotates in the active cell rotation of sub-rotor rotation, the sub-transmission shaft rotates and drives the second lead screw and rotate, the second lead screw rotates and drives the carriage release lever and remove, the carriage release lever removes and drives top stripper plate and remove, thereby top stripper plate removes and can carry out fore-and-aft extrusion to the dregs of a decoction, thereby can extrude the liquid medicine once more, thereby make the more abundant that the liquid medicine was drawed, thereby make the drug.
Drawings
In order to more clearly illustrate the embodiments of the present invention or the technical solutions in the prior art, the drawings used in the description of the embodiments or the prior art will be briefly described below, it is obvious that the drawings in the following description are only some embodiments of the present invention, and for those skilled in the art, other drawings can be obtained according to these drawings without creative efforts.
FIG. 1 is a schematic front sectional view of the present invention;
fig. 2 is an enlarged schematic view of the structure at a in fig. 1 according to the present invention;
fig. 3 is an enlarged schematic view of the structure at B in fig. 1 according to the present invention.
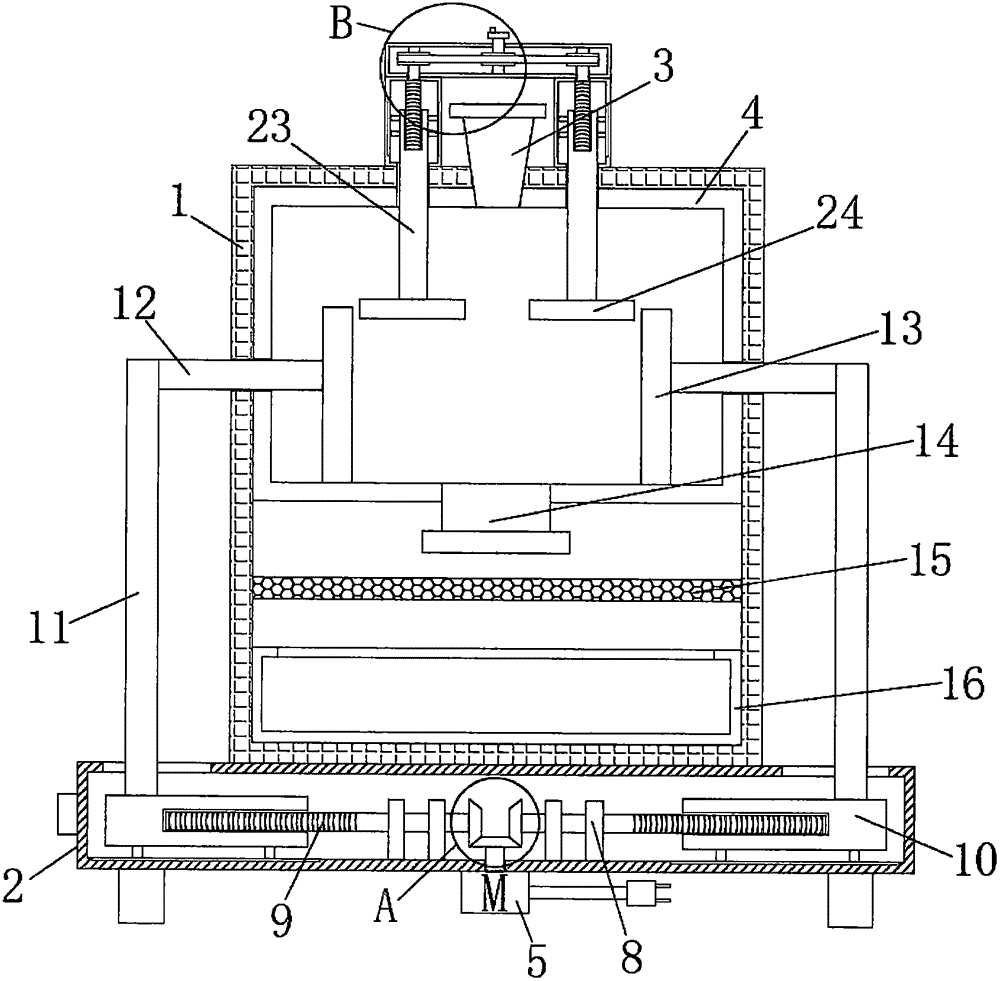
In the figure: 1. mounting a cover; 2. a fixed cover; 3. a feed hopper; 4. installing a box; 5. a servo motor; 6. a first bevel gear; 7. a second bevel gear; 8. a bearing seat; 9. a first lead screw; 10. a movable seat; 11. a strut; 12. a push rod; 13. a side stripper plate; 14. a discharge pipe; 15. filtering with a screen; 16. a collection box; 17. a fixing frame; 18. a turntable; 19. a main sprocket; 20. a sub-sprocket; 21. an adjustment cover; 22. a second lead screw; 23. a travel bar; 24. and (5) pressing the plate.
Detailed Description
The technical solutions in the embodiments of the present invention will be described clearly and completely with reference to the accompanying drawings in the embodiments of the present invention, and it is obvious that the described embodiments are only some embodiments of the present invention, not all embodiments. Based on the embodiments in the present invention, all other embodiments obtained by a person skilled in the art without creative work belong to the protection scope of the present invention.
Referring to fig. 1-3, a novel traditional Chinese medicine liquid extracting device comprises an installation cover 1, a fixed cover 2 is fixedly connected to the bottom of the installation cover 1, an installation box 4 is fixedly connected to the top of the installation cover 1, a feed hopper 3 is connected to the top of the installation box 4, the lower end of the feed hopper 3 sequentially penetrates through the top of the installation cover 1 and the top of the installation box 4 and extends downwards, two symmetrically arranged moving seats 10 are connected to the inside of the fixed cover 2 through a driving mechanism, the driving mechanism comprises a servo motor 5 fixedly connected to the bottom of the fixed cover 2, the type of the servo motor 5 is QXSS-04010E, the driving end of the servo motor 5 penetrates through the bottom of the fixed cover 2 and is fixedly connected to a first bevel gear 6 through a first transmission shaft, two second bevel gears 7 are engaged with each other on two sides of the first bevel gears 6, a first lead screw 9 is fixedly connected to each, a first thread groove corresponding to the first screw rod 9 is arranged in the moving seat 10, two first sliding blocks are fixedly connected to the lower side of the moving seat 10, a first sliding groove corresponding to the first sliding block is arranged at the bottom in the fixed cover 2, two bearing seats 8 fixedly connected to the bottom in the fixed cover 2 are rotatably sleeved on the second transmission shaft, the servo motor 5 is connected with an external power supply through a power line, a switch is installed on the side wall of the fixed cover 2, a supporting rod 11 is fixedly connected to the upper side of the moving seat 10, a movable opening corresponding to the supporting rod 11 is arranged at the top of the fixed cover 2, the upper end of the supporting rod 11 penetrates through the movable opening and extends upwards, a push rod 12 is fixedly connected to one side of the supporting rod 11 close to the mounting cover 1, one end of the push rod 12, far away from the supporting rod 11, sequentially penetrates through the side wall of the mounting cover 1 and the side wall of, first transmission shaft rotates and drives first bevel gear 6 and rotate, first bevel gear 6 rotates and drives second bevel gear 7 and rotate, second bevel gear 7 rotates and drives the second transmission shaft and rotates, the second transmission shaft drives first lead screw 9 and rotates, first lead screw 9 rotates and drives and remove seat 10 and remove, it removes and drives branch 11 and remove to remove seat 10, branch 11 removes and drives push rod 12 and removes, push rod 12 removes and drives side stripper plate 13 and remove, thereby side stripper plate 13 removes and can extrude the dregs of a decoction, thereby be convenient for extrude the liquid medicine.
Adjusting cover 21 that two symmetries of top fixedly connected with of installing cover 1 set up, be connected with carriage release lever 23 through adjustment mechanism in the adjusting cover 21, the lower extreme of carriage release lever 23 runs through adjusting cover 21 bottom in proper order, 1 top of installing cover and install bin 4 top and fixedly connected with top extrusion board 24, adjustment mechanism is including rotating the second lead screw 22 of connecting the top in adjusting cover 21, the second thread groove that corresponds with second lead screw 22 has been seted up in the carriage release lever 23, two second sliders of the equal fixedly connected with in both sides of carriage release lever 23, the second spout that corresponds with the second slider is seted up to adjusting cover 21 inner wall, second lead screw 22 rotates and drives carriage release lever 23 and removes, carriage release lever 23 removes and drives top extrusion board 24 and removes, thereby top extrusion board 24 removes and can carry out fore-and aft extrusion to the dregs of a decoction, thereby can extrude the liquid medicine once more, thereby make the liquid medicine be drawn more abundant.
The upper sides of the two adjusting covers 21 are fixedly connected with a fixed frame 17 together, a transmission mechanism corresponding to the adjusting mechanism is arranged in the fixed frame 17, the transmission mechanism comprises a main transmission shaft which is rotatably connected with the bottom in the fixed frame 17, the upper end of the main transmission shaft penetrates through the top of the fixed frame 17 and is fixedly connected with a turntable 18, a main chain wheel 19 is fixedly sleeved on the main transmission shaft, sub chain wheels 20 are arranged on two sides of the main chain wheel 19, sub transmission shafts are fixedly sleeved in the sub chain wheels 20, the upper ends of the sub transmission shafts are rotatably connected with the top in the fixed frame 17, the lower ends of the sub transmission shafts sequentially penetrate through the bottom of the fixed frame 17 and the top of the adjusting covers 21 and are fixedly connected with the upper ends of second lead screws 22, the main chain wheel 19 is connected with the sub chain wheels 20 through chains, the main transmission shaft is driven to rotate by rotating the turntable 18, the, the sub-chain wheel 20 rotates to drive the sub-transmission shaft to rotate, the sub-transmission shaft rotates to drive the second lead screw 22 to rotate, the bottom of the installation box 4 is connected with the discharge pipe 14, the lower side of the discharge pipe 14 is provided with the filter screen 15 fixedly connected in the installation cover 1, the lower side of the filter screen 15 is provided with the collecting box 16 fixedly connected to the bottom in the installation cover 1, liquid medicine and medicine dregs can be discharged onto the filter screen 15 through the discharge pipe 14, and the liquid medicine can be collected by the collecting box 16 after being filtered through the filter screen 15.
The working principle is as follows: firstly, a power line of a servo motor 5 is connected with a socket of an external power supply, so as to supply power to the servo motor 5, then a switch is pressed, the servo motor 5 rotates to drive a first transmission shaft to rotate, the first transmission shaft rotates to drive a first bevel gear 6 to rotate, the first bevel gear 6 rotates to drive a second bevel gear 7 to rotate, the second bevel gear 7 rotates to drive a second transmission shaft to rotate, the second transmission shaft drives a first lead screw 9 to rotate, the first lead screw 9 rotates to drive a movable seat 10 to move, the movable seat 10 moves to drive a supporting rod 11 to move, the supporting rod 11 moves to drive a push rod 12 to move, the push rod 12 moves to drive a side extrusion plate 13 to move, the side extrusion plate 13 moves to extrude medicine dregs, so as to extrude the medicine liquid, thereby the medicine liquid can not be wasted, through rotating a rotating disc 18, the rotating disc 18 rotates to drive a main transmission, 19 rotations of main sprocket take active cell sprocket 20 to rotate through the chain, active cell transmission shaft is taken in the rotation of active cell wheel 20, the active cell transmission shaft rotates and drives second lead screw 22 and rotate, second lead screw 22 rotates and drives carriage release lever 23 and remove, carriage release lever 23 removes and drives top stripper plate 24 and removes, thereby top stripper plate 24 removes and can carry out fore-and-aft extrusion to the dregs of a decoction, thereby can extrude the liquid medicine once more, thereby make the liquid medicine more abundant that the liquid medicine was drawed, thereby make the drug effect of traditional chinese medicine can not reduce, liquid medicine and dregs of a decoction can pass through discharging pipe 14 and discharge on filter screen 15, filter back liquid medicine through filter screen 15 and can be collected by collecting box 16, do above the utility model discloses a whole theory of.
It is obvious to a person skilled in the art that the invention is not restricted to details of the above-described exemplary embodiments, but that it can be implemented in other specific forms without departing from the spirit or essential characteristics of the invention. The present embodiments are therefore to be considered in all respects as illustrative and not restrictive, the scope of the invention being indicated by the appended claims rather than by the foregoing description, and all changes which come within the meaning and range of equivalency of the claims are therefore intended to be embraced therein. Any reference sign in a claim should not be construed as limiting the claim concerned.

Claims (6)

1. The utility model provides a novel traditional chinese medicine liquid medicine draws device, includes installation cover (1), its characterized in that: the bottom of the mounting cover (1) is fixedly connected with a fixed cover (2), the top of the mounting cover (1) is fixedly connected with a mounting box (4), the top of the mounting box (4) is connected with a feed hopper (3), the lower end of the feed hopper (3) sequentially penetrates through the top of the mounting cover (1) and the top of the mounting box (4) and extends downwards, two symmetrically arranged moving seats (10) are connected into the fixed cover (2) through a driving mechanism, a support rod (11) is fixedly connected to the upper side of each moving seat (10), a moving opening corresponding to the support rod (11) is formed in the top of the fixed cover (2), the upper end of the support rod (11) penetrates through the moving opening and extends upwards, a push rod (12) is fixedly connected to one side of the support rod (11) close to the mounting cover (1), one end of the push rod (12) far away from the support rod (11) sequentially penetrates through the side wall of the mounting cover (1) and the side wall of the mounting box, adjusting cover (21) that two symmetries of top fixedly connected with of installation cover (1) set up, be connected with carriage release lever (23) through adjustment mechanism in adjusting cover (21), the lower extreme of carriage release lever (23) runs through adjusting cover (21) bottom, installation cover (1) top and install bin (4) top and fixedly connected with top squeeze board (24), two the common fixed frame (17) of fixedly connected with of upside of adjusting cover (21), be equipped with the drive mechanism who corresponds with adjustment mechanism in fixed frame (17), the bottom of install bin (4) is connected with discharging pipe (14), the downside of discharging pipe (14) is equipped with filter screen (15) of fixed connection in installation cover (1), the downside of filter screen (15) is equipped with collecting box (16) of fixed connection bottom in installation cover (1).
2. The novel device for extracting traditional Chinese medicine liquid according to claim 1, wherein: actuating mechanism includes servo motor (5) of fixed connection in fixed cover (2) bottom, the drive end of servo motor (5) runs through fixed cover (2) bottom and through first transmission shaft fixedly connected with first bevel gear (6), the both sides of first bevel gear (6) all mesh and are connected with second bevel gear (7), two one side that second bevel gear (7) carried on the back mutually all is through the first lead screw of second transmission shaft fixedly connected with (9), set up the first thread groove that corresponds with first lead screw (9) in removing seat (10), remove two first sliders of downside fixedly connected with of seat (10), the first spout that corresponds with first slider is seted up to the bottom in fixed cover (2).
3. The novel device for extracting traditional Chinese medicine liquid according to claim 2, wherein: the cover is rotated on the second transmission shaft and is equipped with bearing frame (8) of bottom in fixed cover (2) two fixed connection, servo motor (5) are connected with external power supply through the power cord, install the switch on the lateral wall of fixed cover (2).
4. The novel device for extracting traditional Chinese medicine liquid according to claim 1, wherein: the adjusting mechanism comprises a second lead screw (22) which is rotatably connected to the inner top of the adjusting cover (21), a second thread groove corresponding to the second lead screw (22) is formed in the moving rod (23), two second sliding blocks are fixedly connected to two sides of the moving rod (23), and a second sliding groove corresponding to the second sliding blocks is formed in the inner wall of the adjusting cover (21).
5. The novel device for extracting traditional Chinese medicine liquid according to claim 4, wherein: drive mechanism is including rotating the final drive shaft of connection bottom in fixed frame (17), the upper end of final drive shaft runs through fixed frame (17) top and fixedly connected with carousel (18), the last fixed cover of final drive shaft is equipped with main sprocket (19), the both sides of main sprocket (19) all are equipped with sub-sprocket (20), the fixed cover has connect sub-drive shaft in sub-sprocket (20).
6. The novel device for extracting traditional Chinese medicine liquid according to claim 5, wherein: the upper end of the sub-transmission shaft is rotatably connected with the inner top of the fixed frame (17), the lower end of the sub-transmission shaft sequentially penetrates through the bottom of the fixed frame (17) and the top of the adjusting cover (21) and is fixedly connected with the upper end of the second screw rod (22), and the main chain wheel (19) is connected with the sub-chain wheel (20) through a chain.
CN202020859038.5U 2020-05-11 2020-05-11 Novel traditional chinese medicine liquid medicine draws device Expired - Fee Related CN212974244U (en)

Priority Applications (1)

Application Number Priority Date Filing Date Title
CN202020859038.5U CN212974244U (en) 2020-05-11 2020-05-11 Novel traditional chinese medicine liquid medicine draws device

Applications Claiming Priority (1)

Application Number Priority Date Filing Date Title
CN202020859038.5U CN212974244U (en) 2020-05-11 2020-05-11 Novel traditional chinese medicine liquid medicine draws device

Publications (1)

Publication Number Publication Date
CN212974244U true CN212974244U (en) 2021-04-16

Family

ID=75420812

Family Applications (1)

Application Number Title Priority Date Filing Date
CN202020859038.5U Expired - Fee Related CN212974244U (en) 2020-05-11 2020-05-11 Novel traditional chinese medicine liquid medicine draws device

Country Status (1)

Country Link
CN (1) CN212974244U (en)

Cited By (1)

* Cited by examiner, † Cited by third party
Publication number Priority date Publication date Assignee Title
CN118787986A (en) * 2024-07-25 2024-10-18 北京中医药大学 A Chinese medicine extraction device for treating allergic rhinitis

Cited By (2)

* Cited by examiner, † Cited by third party
Publication number Priority date Publication date Assignee Title
CN118787986A (en) * 2024-07-25 2024-10-18 北京中医药大学 A Chinese medicine extraction device for treating allergic rhinitis
CN118787986B (en) * 2024-07-25 2025-10-24 北京中医药大学 A Chinese medicine extraction device for treating allergic rhinitis

Similar Documents

Publication Publication Date Title
CN108815910B (en) An extraction device that can efficiently extract traditional Chinese medicine dregs and liquid
CN110918233B (en) Pharmacy is with continuous traditional chinese medicine extraction device of press type
CN112620078A (en) Automatic medicine making machine for traditional Chinese medicine
CN212974244U (en) Novel traditional chinese medicine liquid medicine draws device
CN208302880U (en) A kind of broken briquetting press of tea seed oil expression
CN113813639B (en) Liquid medicine component extraction equipment for oncology department
CN210875708U (en) Traditional chinese medicine triturating device for traditional chinese medicine pharmacy
CN221206988U (en) Filter residue collection device
CN220423024U (en) Sea buckthorn fruit juice seed skin integral type separator
CN208975878U (en) A kind of paediatrics granule medicament crushing plant
CN216378090U (en) Deep sea fish oil processing refining equipment with high EPA content
CN213383131U (en) Medicine residue separator is used in chinese herbal medicine production and processing
CN216165019U (en) Shiny-leaved yellowhorn shelling device
CN213726723U (en) Pharmacy is with continuous traditional chinese medicine extraction device of press type
CN221867565U (en) Dregs of a decoction separator is used in traditional chinese medicine processing
CN211050948U (en) Traditional chinese medicine oral liquid animal medicine draws equipment
CN210261668U (en) Industrial hemp draws sesame oil with squeezing filter equipment
CN114768960A (en) Plant polysaccharide extraction equipment and method
CN222131108U (en) A device for collecting residual waste residues of filtered traditional Chinese medicine
CN219748993U (en) A camellia oil extraction device
CN217491044U (en) Traditional chinese medicine science experiment grinds medicine device
CN215427754U (en) A liquid medicine cryoprecipitation jar for traditional chinese medicine production and processing
CN220213422U (en) Traditional chinese medicine draws separator
CN211492925U (en) Novel traditional Chinese medicine residue extruder
CN220968145U (en) Chinese-medicinal material organic matter extraction device

Legal Events

Date Code Title Description
GR01 Patent grant
GR01 Patent grant
CF01 Termination of patent right due to non-payment of annual fee
CF01 Termination of patent right due to non-payment of annual fee

Granted publication date: 20210416