CN212967255U - One-step production equipment for CPP cable wrapping tape - Google Patents

One-step production equipment for CPP cable wrapping tape Download PDF

Info

Publication number
CN212967255U
CN212967255U CN202021792415.4U CN202021792415U CN212967255U CN 212967255 U CN212967255 U CN 212967255U CN 202021792415 U CN202021792415 U CN 202021792415U CN 212967255 U CN212967255 U CN 212967255U
Authority
CN
China
Prior art keywords
plate
cable
wrapping
sheave
cpp
Prior art date
Legal status (The legal status is an assumption and is not a legal conclusion. Google has not performed a legal analysis and makes no representation as to the accuracy of the status listed.)
Active
Application number
CN202021792415.4U
Other languages
Chinese (zh)
Inventor
许素涛
罗涛
Current Assignee (The listed assignees may be inaccurate. Google has not performed a legal analysis and makes no representation or warranty as to the accuracy of the list.)
Yourui Cable Material Co ltd
Original Assignee
Yourui Cable Material Co ltd
Priority date (The priority date is an assumption and is not a legal conclusion. Google has not performed a legal analysis and makes no representation as to the accuracy of the date listed.)
Filing date
Publication date
Application filed by Yourui Cable Material Co ltd filed Critical Yourui Cable Material Co ltd
Priority to CN202021792415.4U priority Critical patent/CN212967255U/en
Application granted granted Critical
Publication of CN212967255U publication Critical patent/CN212967255U/en
Active legal-status Critical Current
Anticipated expiration legal-status Critical

Links

Images

Landscapes

  • Basic Packing Technique (AREA)

Abstract

本实用新型公开了一种CPP电缆绕包带一步法生产设备,具体涉及电缆绕包技术领域,包括横板、第一绳轮、第二绳轮和电机,所述第一绳轮和第二绳轮内部均开设有绳槽,所述第一绳轮和第二绳轮之间设有箱体,所所述箱体内部固定设有两个包裹机构;所述包裹机构包括两个板体,两个所述板体之间设有转板。本实用新型通过将任意大小的电缆穿过第一绳轮、箱体和第二绳轮,两个绳槽对电缆进行初步导向,弹簧抵动转板运动,转板带动限位轮运动,限位轮在弹簧的压力下与电缆外表面接触,电缆被牢牢限位,将绕包头活动端穿过框体然后与电缆外表面固定连接,提高了电缆运动时的稳定性,可以适用于任意大小的电缆,适用性强并且包裹效果好。

Figure 202021792415

The utility model discloses a one-step production equipment for CPP cable wrapping tape, in particular to the technical field of cable wrapping, comprising a horizontal plate, a first rope pulley, a second rope pulley and a motor, the first rope pulley and the second rope pulley A rope groove is opened inside the rope pulley, a box body is arranged between the first rope pulley and the second rope pulley, and two wrapping mechanisms are fixed inside the box body; the wrapping mechanism includes two plate bodies , a turning plate is arranged between the two said plate bodies. In the utility model, the cable of any size is passed through the first sheave, the box body and the second sheave, the two rope grooves carry out preliminary guidance for the cable, the spring resists the movement of the rotating plate, and the rotating plate drives the limit wheel to move, so as to limit the movement of the rotating plate. The bit wheel contacts the outer surface of the cable under the pressure of the spring, the cable is firmly limited, and the movable end of the wrapping head is passed through the frame and then fixedly connected with the outer surface of the cable, which improves the stability of the cable during movement, and can be applied to any Great size cable, great applicability and good wrapping.

Figure 202021792415

Description

One-step production equipment for CPP cable wrapping tape
Technical Field
The embodiment of the utility model provides a cable is around package technical field, concretely relates to CPP cable is around band one-step method production facility.
Background
The wrapping principle is as follows: and adopting concentric wrapping, wherein each wrapping head is wrapped by one layer. The whole wrapping process can be divided into rotary motion and linear motion. The wrapping tape reel rotates around the core wire along with the bag wrapping machine head, the wrapping tape is wound on the core wire, and the wrapping tape reel is driven to rotate at the moment. The core wire makes linear motion due to the traction force, so that the lapping tape is spirally wound on the core wire to complete the lapping process. Each tape reel is provided with a tape tension regulator which keeps the tension of the tape constant in the wrapping process of the whole tape, and the wrapping head is also provided with an automatic stopping device which can prevent the bag from leaking.
The prior art has the following defects: because the radius of cable is different, lead to all need to carry out position adjustment to the package head when wrapping to the cable at every turn to current cable band production facility is not spacing and direction to the cable, leads to rocking direct influence of cable to wrap the effect.
Therefore, the invention needs to invent one-step production equipment for the CPP cable wrapping tape.
SUMMERY OF THE UTILITY MODEL
Therefore, the embodiment of the utility model provides a one-step production device for a CPP cable wrapping tape, the cables with any size pass through the first rope pulley, the box body and the second rope pulley, the two rope grooves are used for conducting preliminary guiding on the cables, then the spring pushes the rotating plate to move, the rotating plate drives the limiting wheel to move, the limiting wheel is contacted with the outer surface of the cable under the pressure of the spring, the cable is firmly limited, then the movable end of the wrapping head penetrates through the frame body and is fixedly connected with the outer surface of the cable, the stability of the cable during movement is improved, can be suitable for cables with any size, has strong applicability and good wrapping effect, solves the problems that the position of a wrapping head needs to be adjusted when the cable is wrapped every time due to different radiuses of the cables in the prior art, and current cable band production facility does not carry on spacingly and direction to the cable, leads to rocking the problem of direct influence around the effect of package of cable.
In order to achieve the above object, the embodiment of the present invention provides the following technical solutions: a CPP cable wrapping belt one-step production device comprises a transverse plate, a first rope pulley, a second rope pulley and a motor, wherein the first rope pulley and the second rope pulley are arranged on the front side of the transverse plate, the rear sides of the first rope pulley and the second rope pulley extend into the inner wall of the transverse plate and are in contact with the inner wall of the transverse plate, the first rope pulley and the second rope pulley are movably connected with the transverse plate through a first rotating shaft, the motor is arranged on the rear side of the transverse plate, an output shaft of the motor is fixedly connected with the first rotating shaft inside the first rope pulley, rope grooves are formed inside the first rope pulley and the second rope pulley, a box body is arranged between the first side rope pulley and the second rope pulley, the rear end of the box body extends into the inner wall of the transverse plate and is fixedly connected with the inner wall of the transverse plate;
the wrapping mechanism comprises two plate bodies, one side wall of each of the two plate bodies is fixedly connected with one side wall of the inner part of the box body, a rotating plate is arranged between the two plate bodies, the rotating plate is movably connected with the two plate bodies through a second rotating shaft, a wheel groove is arranged in the rotating plate, the wheel groove is internally provided with a limiting wheel which passes through the rotating plate and extends to the outer side of the rotating plate, the limiting wheel is movably connected with the rotating plate through a third rotating shaft, the top of the rotating plate is fixedly provided with a frame body, the top of the rotating plate is provided with a pressing plate, the bottom of the pressing plate is fixedly connected with the top of the frame body and the top of the plate body, a wrapping head is arranged between the pressing plate and the rotating plate, the wrapping head is arranged between the plate body and the frame body, the wrapping head is movably connected with the rotating plate and the pressing plate through a fourth rotating shaft, the movable end of the wrapping head penetrates through the frame body, and a spring is fixedly arranged between the rear side of the rotating plate and one side wall of the inner portion of the box body.
Furthermore, two guide wheels are arranged inside the frame body, the two guide wheels are respectively arranged on the front side and the rear side of the movable end of the wrapping head, and the guide wheels are movably connected with the frame body through a fifth rotating shaft.
Furthermore, a bottom plate is fixedly arranged on the rear side of the transverse plate, the bottom of the bottom plate and the bottom of the transverse plate are located on the same horizontal plane, and the motor is fixedly arranged at the top of the bottom plate.
Furthermore, the diaphragm bottom is fixed and is equipped with two supporting legs, two the supporting leg top all with bottom plate bottom fixed connection.
Furthermore, openings are formed in two side walls of the box body, and the rotating plates are arranged on the front side and the rear side of the openings respectively.
Furthermore, the plate body, the rotating plate, the limiting wheel, the frame body, the pressing plate, the spring and the guide wheel are all symmetrical about the vertical center line of the box body.
Furthermore, the top of the plate body close to the top of the inner cavity of the transverse plate and the top of the frame body are positioned on the same horizontal plane.
The embodiment of the utility model provides a have following advantage:
through passing first rope sheave with the cable of arbitrary size, box and second rope sheave, two grooving carry out preliminary direction to the cable, then the spring supports and moves the rotor plate motion, the rotor plate drives spacing round motion, spacing round under the pressure of spring with the cable surface contact, the cable is firmly spacing, will pass the framework then with cable surface fixed connection around the package head expansion end after that, compare with prior art, stability when having improved the cable motion, can be applicable to the cable of arbitrary size, the suitability is strong and the parcel is effectual.
Drawings
In order to more clearly illustrate the embodiments of the present invention or the technical solutions in the prior art, the drawings used in the description of the embodiments or the prior art will be briefly described below. It should be apparent that the drawings in the following description are merely exemplary, and that other embodiments can be derived from the drawings provided by those of ordinary skill in the art without inventive effort.
The structure, ratio, size and the like shown in the present specification are only used for matching with the content disclosed in the specification, so as to be known and read by people familiar with the technology, and are not used for limiting the limit conditions which can be implemented by the present invention, so that the present invention has no technical essential significance, and any structure modification, ratio relationship change or size adjustment should still fall within the scope which can be covered by the technical content disclosed by the present invention without affecting the efficacy and the achievable purpose of the present invention.
Fig. 1 is a schematic view of the overall structure provided by the present invention;
fig. 2 is a schematic cross-sectional view of the overall structure provided by the present invention;
fig. 3 is a top view of the internal structure of the frame body provided by the present invention;
fig. 4 is a schematic connection diagram of the wrapping head, the transverse plate, the rotating plate, the limiting wheel, the frame body and the guide wheel provided by the present invention;
fig. 5 is a left side view of the frame body provided by the present invention;
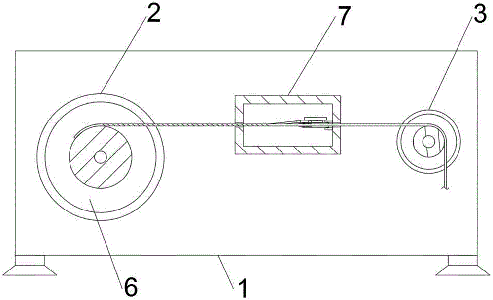
in the figure: 1. a transverse plate; 2. a first sheave; 3. a second sheave; 4. a motor; 5. wrapping a packet head; 6. rope grooves; 7. a box body; 8. a plate body; 9. rotating the plate; 10. a wheel groove; 11. a limiting wheel; 12. a frame body; 13. pressing a plate; 14. a spring; 15. a guide wheel; 16. a base plate.
Detailed Description
The present invention is described in terms of specific embodiments, and other advantages and benefits of the present invention will become apparent to those skilled in the art from the following disclosure. Based on the embodiments in the present invention, all other embodiments obtained by a person skilled in the art without creative work belong to the protection scope of the present invention.
Referring to the attached drawings 1-5 in the specification, the one-step production equipment for the CPP cable wrapping tape of the embodiment comprises a transverse plate 1, a first rope pulley 2, a second rope pulley 3 and a motor 4, the first rope pulley 2 and the second rope pulley 3 are both arranged at the front side of the transverse plate 1, the rear sides of the first rope pulley 2 and the second rope pulley 3 extend into the inner wall of the transverse plate 1 and are in contact with the inner wall of the transverse plate 1, the first rope pulley 2 and the second rope pulley 3 are movably connected with the transverse plate 1 through a first rotating shaft, the motor 4 is arranged at the rear side of the transverse plate 1, an output shaft of the motor 4 is fixedly connected with a first rotating shaft in the first rope pulley 2, rope grooves 6 are respectively arranged in the first rope pulley 2 and the second rope pulley 3, a box body 7 is arranged between the first rope pulley 2 and the second rope pulley 3, the rear side of the box body 7 extends into the inner wall of the transverse plate 1 and is fixedly connected with the inner wall of the transverse plate 1, and two wrapping mechanisms are fixedly arranged inside the box body 7;
the wrapping mechanism comprises two plate bodies 8, one side wall of each of the two plate bodies 8 is fixedly connected with one side wall inside the box body 7, a rotating plate 9 is arranged between the two plate bodies 8, the rotating plate 9 is movably connected with the two plate bodies 8 through a second rotating shaft, a wheel groove 10 is formed inside the rotating plate 9, a limiting wheel 11 is arranged inside the wheel groove 10, the limiting wheel 11 penetrates through the rotating plate 9 and extends to the outer side of the rotating plate 9, the limiting wheel 11 is movably connected with the rotating plate 9 through a third rotating shaft, a frame body 12 is fixedly arranged at the top of the rotating plate 9, a pressing plate 13 is arranged at the top of the rotating plate 9, the bottom of the pressing plate 13 is fixedly connected with the top of the frame body 12 and the top of the plate body 8, a wrapping head 5 is arranged between the pressing plate 13 and the rotating plate 9, the wrapping head 5 is arranged between the plate bodies 8 and the frame body 12, and the wrapping head 5 is movably connected with, the movable end of the wrapping head 5 penetrates through the frame body 12, and a spring 14 is fixedly arranged between the rear side of the rotating plate 9 and one side wall in the box body 7.
Furthermore, two guide wheels 15 are arranged inside the frame body 12, the two guide wheels 15 are respectively arranged on the front side and the rear side of the movable end of the wrapping head 5, the guide wheels 15 are movably connected with the frame body 12 through a fifth rotating shaft, the movable end of the wrapping head 5 can be limited and guided through the guide wheels 15, the movable end of the wrapping head 5 is prevented from being wrinkled, and therefore the cable wrapping effect is ensured.
Further, the fixed bottom plate 16 that is equipped with in diaphragm 1 rear side, bottom plate 16 bottom and diaphragm 1 bottom are located same horizontal plane, motor 4 is fixed to be established at bottom plate 16 top, can provide the support to motor 4 through bottom plate 16, increases the stability of motor.
Further, fixed two supporting legs, two of being equipped with in diaphragm 1 bottom the supporting leg top all with bottom plate 16 bottom fixed connection, can support bottom plate 16 and diaphragm 1 through two supporting legs, increase the utility model discloses a stability.
Further, openings are formed in two side walls of the box body 7, the rotating plates 9 are arranged on the front side and the rear side of the openings respectively, and a moving space can be provided for movement of cables through the openings.
Furthermore, the plate body 8, the rotating plate 9, the limiting wheel 11, the frame body 12, the pressing plate 13, the spring 14 and the guide wheel 15 are symmetrical about a vertical center line of the box body 7, and the symmetrically arranged plate body 8, the rotating plate 9, the limiting wheel 11, the frame body 12, the pressing plate 13, the spring 14 and the guide wheel 15 can guide and limit cables well, so that the probability of shaking in the movement process of the cables is reduced.
Further, the top of the plate body 8 close to the top of the inner cavity of the transverse plate 1 and the top of the frame body 12 are positioned on the same horizontal plane.
The implementation scenario is specifically as follows: in the initial state, the cable moving end with any size passes through the second rope wheel 3, the box 7 is fixed with the first rope wheel 2 finally, then the rope groove 6 in the first rope wheel 2 and the second rope wheel 3 guides the moving track of the cable, so that the cable is kept to be in the same level with the horizontal plane, meanwhile, at the moment when the cable passes through the frame 12, the elastic force of the spring 14 supports the rotating plate 9 to move, then the rotating plate 9 drives the limiting wheel 11 to rotate around the second rotating shaft, then the outer surface of the limiting wheel 11 is contacted with the outer surface of the cable under the pressure of the spring 14, then the two limiting wheels 11 compress the cable, so as to match the first rope wheel 2 and the second rope wheel 3 to make the movement of the cable more stable, then the output ends of the two wrapping heads 5 all pass through the frame 12 and are connected with the outer surface of the cable, when the utility model is put into practical use, the motor 4 is opened, the motor output shaft 4 drives the first rope, first rope sheave 2 is with the cable winding, then along with the continuous removal of cable, two movable end pairs around baotou 5 wrap up the cable surface, around baotou 5 body at the spacing steady rotation of fourth pivot of clamp plate 13 down, stability when having improved the cable motion, can be applicable to the cable of arbitrary size, the suitability is strong and the parcel is effectual, the radius of cable is different among the prior art specifically has been solved to this embodiment, lead to all needing to carry out position control around the baotou when wrapping the cable at every turn, and current cable band production facility does not carry out spacing and direction to the cable, lead to rocking the problem of the effect of direct influence around the package of cable.
Although the invention has been described in detail with respect to the general description and the specific embodiments, it will be apparent to those skilled in the art that modifications and improvements can be made based on the invention. Therefore, such modifications and improvements are intended to be within the scope of the invention as claimed.

Claims (7)

1.一种CPP电缆绕包带一步法生产设备,包括横板(1)、第一绳轮(2)、第二绳轮(3)和电机(4),所述第一绳轮(2)和第二绳轮(3)均设在横板(1)前侧,所述第一绳轮(2)和第二绳轮(3)后侧均延伸至横板(1)内壁中并且与横板(1)内壁相接触,所述第一绳轮(2)和第二绳轮(3)均通过第一转轴与横板(1)活动连接,所述电机(4)设在横板(1)后侧,所述电机(4)输出轴与第一绳轮(2)内部的第一转轴固定连接,其特征在于:所述第一绳轮(2)和第二绳轮(3)内部均开设有绳槽(6),所述第一绳轮(2)和第二绳轮(3)之间设有箱体(7),所述箱体(7)后侧延伸至横板(1)内壁中并且与横板(1)内壁固定连接,所述箱体(7)内部固定设有两个包裹机构;1. A one-step production equipment for wrapping a CPP cable, comprising a transverse plate (1), a first sheave (2), a second sheave (3) and a motor (4), said first sheave (2) ) and the second sheave (3) are provided on the front side of the cross plate (1), and the rear sides of the first sheave (2) and the second sheave (3) both extend into the inner wall of the cross plate (1) and In contact with the inner wall of the horizontal plate (1), the first sheave (2) and the second sheave (3) are movably connected to the horizontal plate (1) through the first rotating shaft, and the motor (4) is arranged on the horizontal plate (1). On the rear side of the plate (1), the output shaft of the motor (4) is fixedly connected to the first rotating shaft inside the first sheave (2), and is characterized in that: the first sheave (2) and the second sheave ( 3) Rope grooves (6) are provided inside, and a box (7) is arranged between the first sheave (2) and the second sheave (3), and the rear side of the box (7) extends to The inner wall of the transverse plate (1) is fixedly connected with the inner wall of the transverse plate (1), and two wrapping mechanisms are fixed inside the box body (7); 所述包裹机构包括两个板体(8),两个所述板体(8)一侧壁均与箱体(7)内部一侧壁固定连接,两个所述板体(8)之间设有转板(9),所述转板(9)通过第二转轴与两个板体(8)活动连接,所述转板(9)内部开设有轮槽(10),所述轮槽(10)内部设有限位轮(11),所述限位轮(11)穿过转板(9)并且延伸至转板(9)外侧,所述限位轮(11)通过第三转轴与转板(9)活动连接,所述转板(9)顶部固定设有框体(12),所述转板(9)顶部设有压板(13),所述压板(13)底部与框体(12)顶部和板体(8)顶部固定连接,所述压板(13)和转板(9)之间设有绕包头(5),所述绕包头(5)设在板体(8)和框体(12)之间,所述绕包头(5)通过第四转轴与转板(9)和压板(13)活动连接,所述绕包头(5)活动端贯穿框体(12),所述转板(9)后侧与箱体(7)内部一侧壁之间固定设有弹簧(14)。The wrapping mechanism comprises two plate bodies (8), and a side wall of the two plate bodies (8) is fixedly connected with a side wall inside the box body (7), and the space between the two plate bodies (8) is fixed. A rotating plate (9) is provided, the rotating plate (9) is movably connected with the two plate bodies (8) through the second rotating shaft, and a wheel groove (10) is opened inside the rotating plate (9). (10) There is a limit wheel (11) inside, the limit wheel (11) passes through the turning plate (9) and extends to the outside of the turning plate (9), and the limit wheel (11) is connected to the third rotating shaft through the third shaft. The rotating plate (9) is movably connected, the top of the rotating plate (9) is fixedly provided with a frame body (12), the top of the rotating plate (9) is provided with a pressure plate (13), and the bottom of the pressure plate (13) is connected with the frame body (12) The top is fixedly connected with the top of the plate body (8), a wrapping head (5) is arranged between the pressing plate (13) and the turning plate (9), and the wrapping head (5) is arranged on the plate body (8) and the frame body (12), the wrapping head (5) is movably connected with the turning plate (9) and the pressing plate (13) through the fourth rotating shaft, and the movable end of the wrapping head (5) penetrates the frame body (12), A spring (14) is fixed between the rear side of the turning plate (9) and a side wall inside the box body (7). 2.根据权利要求1所述的一种CPP电缆绕包带一步法生产设备,其特征在于:所述框体(12)内部设有两个导轮(15),两个所述导轮(15)分别设在绕包头(5)活动端前后两侧,所述导轮(15)通过第五转轴与框体(12)活动连接。2. A kind of CPP cable wrapping tape one-step production equipment according to claim 1, is characterized in that: described frame body (12) is provided with two guide wheels (15) inside, two described guide wheels (15) 15) are respectively arranged on the front and rear sides of the movable end of the wrapping head (5), and the guide wheel (15) is movably connected with the frame body (12) through the fifth rotating shaft. 3.根据权利要求1所述的一种CPP电缆绕包带一步法生产设备,其特征在于:所述横板(1)后侧固定设有底板(16),所述底板(16)底部和横板(1)底部位于同一水平面,所述电机(4)固定设在底板(16)顶部。3. A CPP cable wrapping tape one-step production equipment according to claim 1, characterized in that: the rear side of the horizontal plate (1) is fixedly provided with a bottom plate (16), and the bottom of the bottom plate (16) and The bottom of the horizontal plate (1) is located on the same horizontal plane, and the motor (4) is fixedly arranged on the top of the bottom plate (16). 4.根据权利要求3所述的一种CPP电缆绕包带一步法生产设备,其特征在于:所述横板(1)底部固定设有两个支撑腿,两个所述支撑腿顶部均与底板(16)底部固定连接。4. A CPP cable wrapping tape one-step production equipment according to claim 3, characterized in that: the bottom of the horizontal plate (1) is fixedly provided with two supporting legs, and the tops of the two supporting legs are The bottom of the bottom plate (16) is fixedly connected. 5.根据权利要求1所述的一种CPP电缆绕包带一步法生产设备,其特征在于:所述箱体(7)两侧壁均开设有开口,两个所述转板(9)分别设在开口前后前侧。5. A CPP cable wrapping tape one-step production equipment according to claim 1, characterized in that: both side walls of the box body (7) are provided with openings, and the two rotating plates (9) are respectively Set on the front and rear of the opening. 6.根据权利要求2所述的一种CPP电缆绕包带一步法生产设备,其特征在于:所述板体(8)、转板(9)、限位轮(11)、框体(12)、压板(13)、弹簧(14)和导轮(15)均关于箱体(7)垂直中心线对称。6. The one-step production equipment for CPP cable wrapping tape according to claim 2, characterized in that: the plate body (8), the turning plate (9), the limit wheel (11), the frame body (12) ), the pressure plate (13), the spring (14) and the guide wheel (15) are all symmetrical about the vertical center line of the box body (7). 7.根据权利要求1所述的一种CPP电缆绕包带一步法生产设备,其特征在于:靠近所述横板(1)内腔顶部的板体(8)顶部和框体(12)顶部位于同一水平面。7. A CPP cable wrapping tape one-step production equipment according to claim 1, characterized in that: the top of the plate body (8) and the top of the frame body (12) close to the top of the inner cavity of the transverse plate (1) on the same level.
CN202021792415.4U 2020-08-25 2020-08-25 One-step production equipment for CPP cable wrapping tape Active CN212967255U (en)

Priority Applications (1)

Application Number Priority Date Filing Date Title
CN202021792415.4U CN212967255U (en) 2020-08-25 2020-08-25 One-step production equipment for CPP cable wrapping tape

Applications Claiming Priority (1)

Application Number Priority Date Filing Date Title
CN202021792415.4U CN212967255U (en) 2020-08-25 2020-08-25 One-step production equipment for CPP cable wrapping tape

Publications (1)

Publication Number Publication Date
CN212967255U true CN212967255U (en) 2021-04-13

Family

ID=75360333

Family Applications (1)

Application Number Title Priority Date Filing Date
CN202021792415.4U Active CN212967255U (en) 2020-08-25 2020-08-25 One-step production equipment for CPP cable wrapping tape

Country Status (1)

Country Link
CN (1) CN212967255U (en)

Cited By (1)

* Cited by examiner, † Cited by third party
Publication number Priority date Publication date Assignee Title
CN118800525A (en) * 2024-09-13 2024-10-18 湖南毅远信科技股份有限公司 A wrapping device for producing traffic cables

Cited By (1)

* Cited by examiner, † Cited by third party
Publication number Priority date Publication date Assignee Title
CN118800525A (en) * 2024-09-13 2024-10-18 湖南毅远信科技股份有限公司 A wrapping device for producing traffic cables

Similar Documents

Publication Publication Date Title
CN112951519A (en) Flame retarded cable apparatus for producing
CN212967255U (en) One-step production equipment for CPP cable wrapping tape
CN216487481U (en) Wire and cable processing is with wrapping machine
CN206962359U (en) New folding and unfolding roller for cable laying
CN106877597B (en) Full-automatic high-speed taping machine for high-voltage motor coil
CN210443349U (en) Self-adjusting cable tension wrapping machine
CN111613395A (en) Compact concentric type steel belt armoring machine
CN119747419B (en) Broken wire protection device for stainless steel wire drawing machine
CN212322735U (en) Mica tape wrapping machine for producing fire-resistant safety cable
CN221812007U (en) Wrapping machine for cable production
CN113764140A (en) Active tape-releasing wrapping machine
CN218319971U (en) Cable winding and unwinding device
CN216512101U (en) Unwinding device for cable manufacturing
CN217113976U (en) Pinch roller double-traction mechanism on rotating shaft and wrapping mechanism
CN220811392U (en) Wrapping machine with positioning mechanism
CN212010556U (en) Concentric wrapping device capable of actively releasing tape
CN116395493A (en) Coiling machine for electric wires and cables
CN222980221U (en) Cable wrapping machine for wire harness production line
CN223509383U (en) Coiling device for copper wire processing
CN219958650U (en) Cable wrapping machine with guide structure
CN217982940U (en) Cable wrapping equipment with self-control wrapping tape tension
CN213473610U (en) Power type constant tension wrapping machine
CN220199818U (en) Cable wire packing apparatus
CN221543666U (en) Wire winding guiding mechanism that winder was used
CN221341211U (en) Film roll packaging device

Legal Events

Date Code Title Description
GR01 Patent grant
GR01 Patent grant
TR01 Transfer of patent right
TR01 Transfer of patent right

Effective date of registration: 20240910

Address after: No. 677, Yincun Bridge Village, Jiegu Township, Pingxiang County, Xingtai City, Hebei Province, China 054500

Patentee after: Xu Sutao

Country or region after: China

Address before: 054500 industrial concentration area, Pingxiang County, Xingtai City, Hebei Province

Patentee before: Yourui Cable Material Co.,Ltd.

Country or region before: China

TR01 Transfer of patent right
TR01 Transfer of patent right

Effective date of registration: 20250319

Address after: 054500 industrial concentration area, Pingxiang County, Xingtai City, Hebei Province

Patentee after: Yourui Cable Material Co.,Ltd.

Country or region after: China

Address before: No. 677, Yincun Bridge Village, Jiegu Township, Pingxiang County, Xingtai City, Hebei Province, China 054500

Patentee before: Xu Sutao

Country or region before: China