CN212966976U - Promote frame suitable for house property is promoted - Google Patents

Promote frame suitable for house property is promoted Download PDF

Info

Publication number
CN212966976U
CN212966976U CN202021290124.5U CN202021290124U CN212966976U CN 212966976 U CN212966976 U CN 212966976U CN 202021290124 U CN202021290124 U CN 202021290124U CN 212966976 U CN212966976 U CN 212966976U
Authority
CN
China
Prior art keywords
promotion
threaded
limiting
rod
thread
Prior art date
Legal status (The legal status is an assumption and is not a legal conclusion. Google has not performed a legal analysis and makes no representation as to the accuracy of the status listed.)
Expired - Fee Related
Application number
CN202021290124.5U
Other languages
Chinese (zh)
Inventor
黄庞韬
Current Assignee (The listed assignees may be inaccurate. Google has not performed a legal analysis and makes no representation or warranty as to the accuracy of the list.)
Individual
Original Assignee
Individual
Priority date (The priority date is an assumption and is not a legal conclusion. Google has not performed a legal analysis and makes no representation as to the accuracy of the date listed.)
Filing date
Publication date
Application filed by Individual filed Critical Individual
Priority to CN202021290124.5U priority Critical patent/CN212966976U/en
Application granted granted Critical
Publication of CN212966976U publication Critical patent/CN212966976U/en
Expired - Fee Related legal-status Critical Current
Anticipated expiration legal-status Critical

Links

Images

Landscapes

  • Mirrors, Picture Frames, Photograph Stands, And Related Fastening Devices (AREA)

Abstract

本实用新型公开一种适用于房产推广的推广架,包括底座,底座上对称设有可调节的螺纹柱,螺纹柱上螺纹连接有螺纹杆,螺纹杆顶端轴承连接有支撑柱,支撑柱顶端固定有支撑杆,支撑杆之间滑动连接有套管,支撑柱和螺纹柱上均设有夹持机构;本实用新型通过转把驱动对称设置的螺纹柱沿着双头螺杆横向移动,通过在螺纹柱上螺纹连接螺纹杆并通过转动螺纹杆驱动螺纹杆带着支撑柱和支撑杆上下移动,从而便于根据推广海报的尺寸对该推广架做出相应调节,通过在限位杆上套接限位弹簧,对夹持机构起到限位回弹作用,从而使夹持机构对推广海报进行夹持的同时便于将推广海报拉伸撑开,避免其产生褶皱,保证了推广展示效果。

Figure 202021290124

The utility model discloses a promotion stand suitable for real estate promotion, which comprises a base, an adjustable threaded post is symmetrically arranged on the base, a threaded rod is threadedly connected to the threaded post, a support post is connected to a bearing at the top of the threaded rod, and the top of the support post is fixed There is a support rod, a sleeve is slidably connected between the support rods, and a clamping mechanism is provided on the support column and the threaded column; the utility model drives the symmetrically arranged threaded column to move laterally along the double-ended screw through the turning handle. The threaded rod is threaded on the column, and the threaded rod is driven to move up and down with the support column and the support rod by rotating the threaded rod, so that the promotion frame can be adjusted accordingly according to the size of the promotion poster. The spring acts as a limit and rebound for the clamping mechanism, so that the clamping mechanism can easily stretch and stretch the promotion poster while clamping the promotion poster, so as to avoid wrinkles and ensure the promotion and display effect.

Figure 202021290124

Description

Promote frame suitable for house property is promoted
Technical Field
The utility model relates to a promote a technical field, especially relate to a promote frame suitable for house property is promoted.
Background
The real estate popularization is also called real estate business popularization, which means that real estate development enterprises encourage consumers to purchase by applying various short-term inducements so as to promote all measures for selling real estate products, the business popularization has various specific forms, and the business popularization has the functions of display, sample room exhibition, free presentation and the like, and almost comprises various sales promotion means except personnel promotion, advertisement and public relations, the real estate popularization can accelerate the process of the real estate products entering the market, effectively resist and defeat the sales promotion activities of competitors, stimulate the consumers to purchase and infuse opinions beneficial to the enterprises, and the current real estate marketing advertisement poster is one of the most common real estate popularization means;
the house property marketing advertisement poster mainly relies on the promotion frame to demonstrate and promote, and the most all single structure of current promotion frame, be not convenient for adjust, can not place and demonstrate according to not unidimensional popularization poster, need change the promotion frame that corresponds simultaneously when leading to changing not unidimensional size's popularization poster, it is inconvenient to use, and the cost of popularization has been increased, in addition because it is soft stock and cloth to promote the poster mostly, and the clamping device of current promotion frame is most fixed in structure, can not effectually stretch the popularization poster and strut, thereby lead to promoting the poster fold, and then influence popularization bandwagon effect, therefore, the utility model provides a promotion frame suitable for the house property is promoted is used for solving the problem that exists among the prior art.
SUMMERY OF THE UTILITY MODEL
To the above problem, an object of the utility model is to provide a promote frame suitable for house property is promoted, this promote frame suitable for house property is promoted is through changeing the screw thread post lateral shifting that the drive symmetry set up, drive threaded rod area support column and bracing piece reciprocate through rotating the threaded rod, thereby be convenient for make corresponding regulation to this promote frame according to the size of promoting the poster, through cup jointing spacing spring on the gag lever post, play spacing resilience effect to the clamping mechanism, thereby be convenient for will promote the poster and stretch and strut, avoid it to produce the fold.
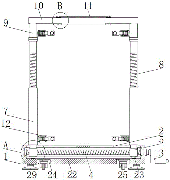
In order to realize the utility model discloses a purpose, the utility model discloses a following technical scheme realizes: a promotion frame suitable for house property promotion, which comprises a base, wherein through grooves are respectively arranged at the two sides of the top end of the base, the inner part of the base is provided with a double-head screw driven by a rotating handle, both sides of the double-head screw are in threaded sleeve connection with thread sleeves, the thread directions are opposite, the top end of the threaded sleeve is connected with a threaded column through a supporting block passing through the through groove, the top end of the threaded column is connected with a threaded rod through threads, the top end of the threaded rod is connected with a support column through a bearing, a support rod is fixed at the top end of the support column, one end of the support rod, which is far away from the support column, is connected inside the sleeve in a sliding way, the opposite sides of the symmetrically arranged threaded columns and the supporting columns are respectively fixed with a limiting pipe, the inside of the limiting pipe is connected with a limiting rod in a sliding way, one side of the limiting rod, which is positioned in the limiting pipe, is sleeved with a limiting spring, and one end of the limiting rod, which is positioned outside the limiting pipe, is fixed with a clamping mechanism.
The further improvement lies in that: the clamping mechanism comprises a clamping frame fixedly connected with the limiting rod, a locking bolt penetrates through the upper thread of the clamping frame, and a bearing at the bottom end of the locking bolt is connected with an anti-skid pad.
The further improvement lies in that: the upper and lower positions of one side of the limiting rod in the limiting pipe are respectively fixed with a limiting block, and the upper and lower ends in the limiting pipe are respectively provided with a limiting groove matched with the limiting blocks.
The further improvement lies in that: the upper and lower positions of the supporting rod on one side in the sleeve are respectively fixed with a first sliding block, and the top end and the bottom end inside the sleeve are respectively provided with a first sliding groove matched with the first sliding block.
The further improvement lies in that: the bottom end in the base is provided with a second sliding groove, the bottom end of the threaded sleeve is fixedly provided with a second sliding block matched with the second sliding groove, four corners of the bottom end of the base are provided with grooves, and universal wheels are arranged in the grooves.
The further improvement lies in that: the base is fixed with the installation piece in both sides symmetry around, the screw thread runs through has through carousel driven construction bolt on the installation piece, construction bolt bottom bearing is connected with the supporting pad.
The utility model has the advantages that: the utility model comprises a base, a double-end screw is driven to rotate by rotating a handle, so that a thread sleeve sleeved by threads at two sides of the double-end screw drives a thread column which is symmetrically arranged to transversely move along the double-end screw, a support rod slides in the sleeve, a threaded rod is connected with the thread column by threads, and the threaded rod is driven to drive the threaded rod to drive the support column and the support rod to move up and down by rotating the threaded rod, thereby being convenient to correspondingly adjust the promotion frame according to the size of the promotion poster, being suitable for the display of the promotion posters with different sizes, being convenient and fast to use, avoiding the problem that the promotion frame needs to be replaced simultaneously when the promotion poster is replaced, reducing the promotion cost to a certain extent, playing a limiting rebound effect on a clamping mechanism by sleeving a limiting spring on the limiting rod, thereby facilitating the promotion of the extension posters when, the generation of folds is avoided, and the popularization and display effects are ensured.
Drawings
Fig. 1 is a front view of the present invention;
fig. 2 is a cross-sectional view of the present invention;
fig. 3 is a top cross-sectional view of the spacing tube of the present invention;
FIG. 4 is an enlarged view of the utility model at A;
fig. 5 is an enlarged view of the position B of the present invention.
Wherein: 1. a base; 2. a through groove; 3. turning a handle; 4. a double-ended screw; 5. a threaded sleeve; 6. a support block; 7. a threaded post; 8. a threaded rod; 9. a support pillar; 10. a support bar; 11. a sleeve; 12. a limiting pipe; 13. a limiting rod; 14. a limiting spring; 15. a clamping frame; 16. locking the bolt; 17. a non-slip mat; 18. a limiting block; 19. a limiting groove; 20. a first slider; 21. a first chute; 22. a second chute; 23. a second slider; 24. a groove; 25. a universal wheel; 26. mounting blocks; 27. a turntable; 28. installing a bolt; 29. a support pad.
Detailed Description
In order to deepen the understanding of the present invention, the following embodiments will be combined to make the present invention do further details, and the present embodiment is only used for explaining the present invention, and does not constitute the limitation of the protection scope of the present invention.
According to figures 1, 2, 3, 4 and 5, the embodiment provides a popularization rack suitable for house property popularization, which comprises a base 1, through grooves 2 are formed in two side positions of the top end of the base 1, a double-threaded screw rod 4 driven by a rotating handle 3 is arranged in the base 1, threaded sleeves 5 are sleeved on two sides of the double-threaded screw rod 4 in a threaded manner, the thread directions are opposite, the top end of each threaded sleeve 5 penetrates through the through groove 2 through a supporting block 6 to be connected with a threaded column 7, the top end of each threaded column 7 is connected with a threaded rod 8 in a threaded manner, the top end of each threaded rod 8 is connected with a supporting column 9 through a bearing, a supporting rod 10 is fixed at the top end of each supporting column 9, one end, far away from the supporting column 9, of each supporting rod 10 is connected into a sleeve 11 in a sliding manner, limiting pipes 12 are fixed on opposite sides, one side of the limiting rod 13, which is positioned in the limiting pipe 12, is sleeved with a limiting spring 14, and one end of the limiting rod 13, which is positioned outside the limiting pipe 12, is fixed with a clamping mechanism.
The fixture includes the centre gripping frame 15 with gag lever post 13 fixed connection, the screw thread of the way runs through has locking bolt 16 on the centre gripping frame 15, 16 bottom end bearings of locking bolt are connected with slipmat 17 for the poster is promoted in the centre gripping.
The limiting blocks 18 are fixed at the upper and lower positions of one side of the limiting rod 13 in the limiting pipe 12, and limiting grooves 19 matched with the limiting blocks 18 are formed in the upper and lower ends of the limiting pipe 12, so that the limiting rod 13 is more stable in the moving process.
The upper and lower positions of one side of the support rod 10 in the sleeve 11 are both fixed with a first sliding block 20, and the top end and the bottom end inside the sleeve 11 are both provided with a first sliding groove 21 matched with the first sliding block 20, so that the support rod 10 and the sleeve 11 are limited.
Second spout 22 has been seted up to the inside bottom of base 1, 5 bottom mounting of thread bush has the second slider 23 that matches with second spout 22, makes the thread bush 5 move the in-process more stable, the four corners position of 1 bottom of base all sets up fluted 24, be equipped with universal wheel 25 in the flute 24, this popularization frame of being convenient for removes.
The equal symmetry in both sides is fixed with installation piece 26 around base 1, the screw thread runs through has through carousel 27 driven construction bolt 28 on installation piece 26, construction bolt 28 bottom bearing is connected with supporting pad 29, is convenient for support this popularization frame.
When the popularization poster is displayed on the popularization frame in the house property popularization process, the double-headed screw 4 is driven to rotate by the rotating handle 3, the threaded sleeves 5 on two sides of the double-headed screw 4 are enabled to transversely displace the threaded columns 7 and adjust the threaded columns 7 and the threaded rods 8 to proper positions according to the width of the popularization poster, then the threaded rods 8 are enabled to vertically displace along the threaded columns 7 by rotating the threaded rods 8, the threaded rods 8 and the supporting columns 9 are adjusted to proper positions according to the height of the popularization poster, the popularization poster to be displayed is placed between the clamping frames 15 and clamped and fixed to the popularization poster through the locking bolts 16, the popularization frame is convenient to move through the universal wheels 25 at the bottom end of the base 1 in the display process, and finally the supporting pad 29 descends to support the base 1 through the rotating mounting bolts 28.
The promotion frame suitable for the house property promotion comprises a base 1, a double-threaded screw rod 4 is driven to rotate by a rotating handle 3, so that a threaded sleeve 5 which is in threaded sleeve connection with two sides of the double-threaded screw rod 4 drives symmetrically arranged threaded columns 7 to transversely move along the double-threaded screw rod 4, a supporting rod 10 slides in a sleeve 11, a threaded rod 8 is connected with the threaded column 7 in a threaded manner, the threaded rod 8 is driven to drive a supporting column 9 and the supporting rod 10 to move up and down by rotating the threaded rod 8, the promotion frame is convenient to adjust correspondingly according to the size of a promotion poster, the promotion frame is suitable for the display of the promotion posters with different sizes, the promotion frame is convenient and fast to use, the problem that the promotion frame needs to be replaced simultaneously when the promotion poster is replaced is avoided, the promotion cost is reduced to a certain extent, a limiting spring 14 is sleeved on a limiting rod 13, a limiting resilience effect is played to a clamping mechanism, so that the promotion, the generation of folds is avoided, and the popularization and display effects are ensured.
The foregoing illustrates and describes the principles, general features, and advantages of the present invention. It will be understood by those skilled in the art that the present invention is not limited to the above embodiments, and that the foregoing embodiments and descriptions are provided only to illustrate the principles of the present invention without departing from the spirit and scope of the present invention. The scope of the invention is defined by the appended claims and equivalents thereof.

Claims (6)

1. The utility model provides a promote frame suitable for house property is promoted, includes base (1), its characterized in that: the double-thread screw is characterized in that through grooves (2) are formed in two side positions of the top end of the base (1), a double-thread screw (4) driven by a rotating handle (3) is arranged in the base (1), thread sleeves (5) are sleeved on two sides of the double-thread screw (4) in a threaded manner and are opposite in thread direction, the top end of each thread sleeve (5) penetrates through the corresponding groove (2) through a supporting block (6) to be connected with a thread column (7), the top end of each thread column (7) is in threaded connection with a threaded rod (8), the top end of each threaded rod (8) is connected with a supporting column (9) through a bearing, a supporting rod (10) is fixed at the top end of each supporting column (9), one end, far away from the corresponding supporting column (9), of each supporting rod (10) is slidably connected into a sleeve (11), limiting pipes (12) are symmetrically arranged on opposite sides of the thread columns, one side of the limiting rod (13) located in the limiting pipe (12) is sleeved with a limiting spring (14), and one end of the limiting rod (13) located outside the limiting pipe (12) is fixed with a clamping mechanism.
2. The promotion frame suitable for the real estate promotion according to the claim 1, characterized in that: the clamping mechanism comprises a clamping frame (15) fixedly connected with the limiting rod (13), a locking bolt (16) penetrates through the upper thread of the clamping frame (15), and a non-slip mat (17) is connected to the bottom end of the locking bolt (16) in a bearing mode.
3. The promotion frame suitable for the real estate promotion according to the claim 1, characterized in that: the upper and lower positions of one side of the limiting rod (13) in the limiting pipe (12) are respectively fixed with a limiting block (18), and limiting grooves (19) matched with the limiting blocks (18) are formed in the upper and lower ends of the interior of the limiting pipe (12).
4. The promotion frame suitable for the real estate promotion according to the claim 1, characterized in that: the upper and lower positions of one side of the support rod (10) in the sleeve (11) are respectively fixed with a first sliding block (20), and the top end and the bottom end inside the sleeve (11) are respectively provided with a first sliding groove (21) matched with the first sliding block (20).
5. The promotion frame suitable for the real estate promotion according to the claim 1, characterized in that: the bottom end in the base (1) is provided with a second sliding groove (22), the bottom end of the threaded sleeve (5) is fixedly provided with a second sliding block (23) matched with the second sliding groove (22), four corners of the bottom end of the base (1) are provided with grooves (24), and universal wheels (25) are arranged in the grooves (24).
6. The promotion frame suitable for the real estate promotion according to the claim 1, characterized in that: the base is characterized in that mounting blocks (26) are symmetrically fixed to the front side and the rear side of the base (1), mounting bolts (28) driven by the turnplate (27) penetrate through the upper threads of the mounting blocks (26), and supporting pads (29) are connected to the bottom ends of the mounting bolts (28) through bearings.
CN202021290124.5U 2020-07-06 2020-07-06 Promote frame suitable for house property is promoted Expired - Fee Related CN212966976U (en)

Priority Applications (1)

Application Number Priority Date Filing Date Title
CN202021290124.5U CN212966976U (en) 2020-07-06 2020-07-06 Promote frame suitable for house property is promoted

Applications Claiming Priority (1)

Application Number Priority Date Filing Date Title
CN202021290124.5U CN212966976U (en) 2020-07-06 2020-07-06 Promote frame suitable for house property is promoted

Publications (1)

Publication Number Publication Date
CN212966976U true CN212966976U (en) 2021-04-13

Family

ID=75391484

Family Applications (1)

Application Number Title Priority Date Filing Date
CN202021290124.5U Expired - Fee Related CN212966976U (en) 2020-07-06 2020-07-06 Promote frame suitable for house property is promoted

Country Status (1)

Country Link
CN (1) CN212966976U (en)

Similar Documents

Publication Publication Date Title
CN212966976U (en) Promote frame suitable for house property is promoted
CN214847602U (en) Adjustable billboard
CN205745929U (en) A kind of computer display support
CN213877184U (en) Teaching show board for law education
CN105919358A (en) Fruit showing stand convenient to dismantle
CN207532227U (en) industrial design display rack
CN209843191U (en) A portable folding outdoor publicity display stand with reinforced structure
CN210181943U (en) Tourism hotel uses sign alignment jig
CN210804880U (en) Chinese language and literature vocabulary division show shelf
CN210956073U (en) Ideological and political education publicity column
CN223797117U (en) A portable advertising stand
CN210006274U (en) A display stand for Chinese teaching
CN210777325U (en) A multifunctional teaching demonstration stand
CN206163079U (en) Can polygonal diversified billboard bracket who shows
CN208189171U (en) A kind of advertisement placement bracket of easy access
CN208335672U (en) A kind of advertising show shelf
CN218008899U (en) A drawing preview frame
CN206249621U (en) English interactive teaching device
CN222109755U (en) A display stand for clothing design
CN221486104U (en) Pop-top can convenient to accomodate
CN207038124U (en) Telescopic vehicle-mounted advertising device
CN216353249U (en) Be used for healthy endowment show to use work bar
CN221711448U (en) A workbench for cost accounting of construction projects
CN213024964U (en) Portable Chinese explanation show shelf
CN219891831U (en) Adjustable propaganda indication board

Legal Events

Date Code Title Description
GR01 Patent grant
GR01 Patent grant
CF01 Termination of patent right due to non-payment of annual fee
CF01 Termination of patent right due to non-payment of annual fee

Granted publication date: 20210413