CN212954044U - Novel civil engineering construction is promoted with raw materials device - Google Patents

Novel civil engineering construction is promoted with raw materials device Download PDF

Info

Publication number
CN212954044U
CN212954044U CN202021544912.2U CN202021544912U CN212954044U CN 212954044 U CN212954044 U CN 212954044U CN 202021544912 U CN202021544912 U CN 202021544912U CN 212954044 U CN212954044 U CN 212954044U
Authority
CN
China
Prior art keywords
box body
servo motor
box
civil engineering
engineering construction
Prior art date
Legal status (The legal status is an assumption and is not a legal conclusion. Google has not performed a legal analysis and makes no representation as to the accuracy of the status listed.)
Expired - Fee Related
Application number
CN202021544912.2U
Other languages
Chinese (zh)
Inventor
李敬敏
耿俊雅
任倩
王玉敬
张�焕
邵仁杰
Current Assignee (The listed assignees may be inaccurate. Google has not performed a legal analysis and makes no representation or warranty as to the accuracy of the list.)
Shangqiu Institute of Technology
Original Assignee
Shangqiu Institute of Technology
Priority date (The priority date is an assumption and is not a legal conclusion. Google has not performed a legal analysis and makes no representation as to the accuracy of the date listed.)
Filing date
Publication date
Application filed by Shangqiu Institute of Technology filed Critical Shangqiu Institute of Technology
Priority to CN202021544912.2U priority Critical patent/CN212954044U/en
Application granted granted Critical
Publication of CN212954044U publication Critical patent/CN212954044U/en
Expired - Fee Related legal-status Critical Current
Anticipated expiration legal-status Critical

Links

Images

Landscapes

  • Types And Forms Of Lifts (AREA)

Abstract

一种新型土木工程施工用原料提升装置,包括第一箱体,第一箱体右侧固定安装有横向的支撑板,支撑板上开设有滑槽,滑槽底部开设有第一通孔,支撑板上方设置有螺杆,螺杆的右端沿支撑板的长度方向延伸,滑槽上安装有滑块,第一箱体右侧面上靠近螺杆上方位置固定安装有第一伺服电机,滑块右侧靠近顶部位置安装有第一定滑轮,第一箱体右侧顶部位置安装有第二定滑轮,第一箱体外侧固定安装有控制器,控制器能对第一伺服电机及导向机构进行控制。一种新型土木工程施工用原料提升装置,结构简单,可使载有土木工程用原料的运输机构在水平方向上移动,为工作人员提供了极大的便利,还可以及时的对洒落在运输机构上的残留物进行清理。

Figure 202021544912

A new type of raw material lifting device for civil engineering construction, comprising a first box body, a horizontal support plate is fixedly installed on the right side of the first box body, a chute is provided on the support plate, and a first through hole is opened at the bottom of the chute for supporting A screw is arranged above the plate, the right end of the screw extends along the length of the support plate, a slider is installed on the chute, a first servo motor is fixedly installed on the right side of the first box near the upper part of the screw, and the right side of the slider is close to A first fixed pulley is installed at the top position, a second fixed pulley is installed at the top position on the right side of the first box body, and a controller is fixedly installed on the outside of the first box body, and the controller can control the first servo motor and the guide mechanism. A new type of lifting device for raw materials for civil engineering construction has a simple structure, which can move a transport mechanism carrying raw materials for civil engineering in a horizontal direction, which provides great convenience for staff, and can also timely clean up the transport mechanism. Clean up residues.

Figure 202021544912

Description

Novel civil engineering construction is promoted with raw materials device
Technical Field
The utility model belongs to raw materials conveyer field for civil engineering, specifically speaking are novel raw materials hoisting for civil engineering construction device.
Background
In engineering facility construction process, raw materials hoisting device often can be used, but common civil engineering raw materials hoisting device does not possess the function of horizontal migration raw materials, common raw materials hoisting device generally transports the raw materials to hoisting device below through the manual work, then carry out vertical lift with the raw materials through hoisting device, staff's the amount of labour has been increased like this, it is very inconvenient to transport mechanism's clearance in the transportation, for solving prior art's not enough, specially design one kind both can satisfy the horizontal direction removal, can carry out the novel raw materials hoisting device for civil engineering construction of clearance again to transport mechanism.
SUMMERY OF THE UTILITY MODEL
The utility model provides a novel raw materials for civil engineering construction promotes device for solve the defect among the prior art.
The utility model discloses a following technical scheme realizes:
a novel raw material lifting device for civil engineering construction comprises a first box body, wherein a transverse supporting plate is fixedly arranged on the right side of the first box body, a sliding groove is formed in the supporting plate, the sliding groove extends towards the right side of the supporting plate, a first through hole is formed in the bottom of the sliding groove, a screw rod is arranged above the supporting plate, the left end of the screw rod is connected with the right side of the first box body through a bearing, the right end of the screw rod extends along the length direction of the supporting plate, a sliding block is arranged on the sliding groove and is in threaded fit with the screw rod, a first servo motor is fixedly arranged on the right side surface of the first box body, the position, close to the upper part of the screw rod, is used for driving the screw rod to rotate through a bevel gear mechanism, a first fixed pulley is arranged on the right side of the sliding block, a second fixed pulley is arranged on the, one end of the first steel rope is connected to the winding drum mechanism through the second through hole, the winding drum mechanism can fold and unfold the first steel rope, the other end of the first steel rope extends out of the first box body through the second through hole, the end, extending out of the first box body, of the first steel rope respectively rounds the second fixed pulley and the first fixed pulley and vertically extends downwards, the lower part of the vertically downward end of the first steel rope is provided with a transportation mechanism, the transportation mechanism comprises a bearing plate and a baffle plate, x support, second steel cable, the loading board is the level setting, the vertical fixed mounting in both sides has the baffle around the loading board top, the X support sets up directly over two baffles middle parts, two angles on four tip and the baffle that corresponds of X support pass through second steel cable fixed connection, the middle part and the first steel cable fixed connection of X support, first box outside fixed mounting has the controller, the controller can be controlled first servo motor and guiding mechanism.
As above a novel raw materials hoisting device for civil engineering construction, reel mechanism include first bracing piece, reel, second servo motor, first box inner wall top is provided with horizontal first bracing piece, both ends of first bracing piece are passed through the bearing with the inner wall front and back both sides of first box respectively and are connected, the preceding tip fixed mounting of first bracing piece has the reel, the winding of first steel cable is on the reel, the right side of first bracing piece is provided with second servo motor, second servo motor fixed mounting is on first box inner wall right side, second servo motor accessible gear mechanism drives first bracing piece and rotates, second servo motor controls through the controller on the first box outside.
According to the novel raw material lifting device for civil engineering construction, the bearing plate is provided with the third through holes in the rectangular array.
The novel raw material lifting device for civil engineering construction is characterized in that a cleaning mechanism is arranged at the bottom of the bearing plate, the cleaning mechanism comprises a second box body, a transverse plate, a second supporting rod, a belt pulley, a belt and a scraper, the second box body is fixedly arranged at the bottom of the bearing plate, fourth through holes are formed in the top and the bottom of the second box body, the transverse plates are transversely and fixedly arranged on the front inner wall and the rear inner wall of the second box body, the second supporting rod is arranged in the second box body in a bilateral symmetry manner, two ends of the second supporting rod are respectively connected with the front side and the rear side of the inner wall of the second box body through bearings, the belt pulley is fixedly arranged on the second supporting rod, the belt is arranged on the two belt pulleys in a matching manner, the upper end surface of the transverse plate is attached to the inner ring of the belt, the distance between, the fifth through hole is formed in the position, corresponding to the second supporting rod, of the right side of the second box body, the scraper is connected to the position, close to the top, of the right side of the second box body through a hinge and a torsion spring, the scraper initially penetrates through the fifth through hole under the action force of the torsion spring and is attached to the outer ring of the belt, and the power mechanism can be controlled by the controller.
As above novel raw materials hoisting device for civil engineering construction, first box right side fixed mounting have the protective housing, first servo motor, bevel gear mechanism are all in the protective housing.
The utility model has the advantages that: when the utility model is used, a constructor firstly installs the first box body on the top layer, switches on a field power supply, then controls the winding drum mechanism to extend the first steel rope, so that the transportation mechanism falls on the ground, a worker pushes the cart filled with cement onto the bearing plate, then controls the winding drum mechanism to rotate reversely to shrink the first steel rope, the transportation mechanism moves upwards under the action of the traction force of the first steel rope, and the X support can ensure that the bearing plate is in or close to a horizontal state in the transportation process, thereby avoiding the occurrence of accidents caused by the inclination of the cart; when constructors need to enable the transport mechanism loaded with the raw materials to be close to a building, the first servo motor can be controlled to rotate clockwise, the first servo motor rotates clockwise to drive the screw rod to rotate through the bevel gear structure, the screw rod rotates to drive the sliding block to slide towards the first box body, and meanwhile the winding drum mechanism is controlled to fold the first steel rope in a folding mode, so that the transport mechanism can be close to the building; when a constructor needs to enable the transportation mechanism to be far away from a building, the first servo motor can be controlled to rotate anticlockwise, the first servo motor rotates anticlockwise to drive the screw to rotate through the bevel gear structure, the screw rotates to drive the sliding block to slide towards the direction far away from the first box body, and meanwhile the winding drum mechanism is controlled to extend the first steel rope, so that the transportation mechanism can be far away from the building; after the constructor finishes transporting the raw materials for civil engineering construction, the transporting mechanism can be cleaned through the cleaning mechanism; the utility model provides a novel raw materials hoisting device for civil engineering construction, simple structure can make the transport mechanism who carries raw materials for civil engineering move on the horizontal direction, provides very big facility for the staff, can also be timely clears up unrestrained residue on transport mechanism.
Drawings
In order to more clearly illustrate the embodiments of the present invention or the technical solutions in the prior art, the drawings needed to be used in the description of the embodiments or the prior art will be briefly described below, and it is obvious that the drawings in the following description are some embodiments of the present invention, and for those skilled in the art, other drawings can be obtained according to these drawings without inventive labor.
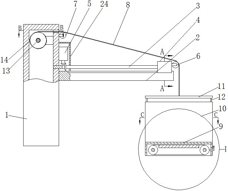
Fig. 1 is a schematic structural diagram of the present invention; FIG. 2 is an enlarged view of a cross-sectional view taken along line A-A of FIG. 1; FIG. 3 is a sectional view taken along line B-B of FIG. 1; FIG. 4 is a top view of the X bracket; FIG. 5 is an enlarged view of a cross-sectional view taken along line C-C of FIG. 1; fig. 6 is a partially enlarged view of a portion i of fig. 1.
Detailed Description
In order to make the objects, technical solutions and advantages of the embodiments of the present invention clearer, the embodiments of the present invention will be clearly and completely described below with reference to the accompanying drawings in the embodiments of the present invention, and it is obvious that the described embodiments are some, but not all, embodiments of the present invention. Based on the embodiments in the present invention, all other embodiments obtained by a person skilled in the art without creative efforts belong to the protection scope of the present invention.
A novel raw material lifting device for civil engineering construction comprises a first box body 1, a transverse supporting plate 2 is fixedly arranged on the right side of the first box body 1, a sliding groove is formed in the supporting plate 2 and extends towards the right side of the supporting plate 2, a first through hole is formed in the bottom of the sliding groove, a screw rod 3 is arranged above the supporting plate 2, the left end of the screw rod 3 is connected with the right side of the first box body 1 through a bearing, the right end of the screw rod 3 extends along the length direction of the supporting plate 2, a sliding block 4 is arranged on the sliding groove and is in threaded fit with the screw rod 3, a first servo motor 5 is fixedly arranged on the right side surface of the first box body 1 and is close to the upper part of the screw rod 3, the first servo motor 5 drives the screw rod 3 to rotate through a bevel gear mechanism, a first fixed pulley 6 is arranged on the right side of the sliding block, a second through hole is arranged above a second fixed pulley 7 at the top part of the right side of a first box body 1, a reel mechanism is arranged on the inner wall of the first box body 1, one end of a first steel rope 8 is connected on the reel mechanism through the second through hole, the reel mechanism can receive and release the first steel rope 8, the other end of the first steel rope 8 extends out of the first box body 1 through the second through hole, one end of the first steel rope 8 extending out of the first box body 1 respectively bypasses the second fixed pulley 7 and the first fixed pulley 6 and vertically extends downwards, a transportation mechanism is arranged below the vertically downward end of the first steel rope 8, the transportation mechanism comprises a bearing plate 9, baffles 10, an X bracket 11 and a second steel rope 12, the bearing plate 9 is horizontally arranged, the baffles 10 are vertically and fixedly arranged at the front side and the rear side of the top part of the bearing plate 9, the X bracket 11 is arranged right above the middle part between the two baffles 10, four end parts of the X bracket 11 are, the middle part of the X support 11 is fixedly connected with the first steel rope 8, the controller is fixedly arranged on the outer side of the first box body 1, and the controller can control the first servo motor 5 and the guide mechanism. When the utility model is used, a constructor firstly installs the first box body 1 on the top layer, switches on a field power supply, then controls the winding drum mechanism to extend the first steel rope 8, so that the transportation mechanism falls on the ground, a worker pushes the cart filled with cement onto the bearing plate 9, then controls the winding drum mechanism to rotate reversely to shrink the first steel rope 8, the transportation mechanism moves upwards under the action of the traction force of the first steel rope 8, and the X support 11 can ensure that the bearing plate 9 is in or close to a horizontal state in the transportation process, thereby avoiding the occurrence of accidents caused by the inclination of the cart; when constructors need to enable the transport mechanism loaded with raw materials to be close to a building, the first servo motor 5 can be controlled to rotate clockwise, the first servo motor 5 rotates clockwise to drive the screw rod 3 to rotate through the bevel gear structure, the screw rod 3 rotates to drive the sliding block 4 to slide towards the first box body 1, and meanwhile, the winding drum mechanism is controlled to fold the first steel rope 8 in a folding mode, so that the transport mechanism can be close to the building; when a constructor needs to enable the transportation mechanism to be far away from a building, the first servo motor 5 can be controlled to rotate anticlockwise, the first servo motor 5 rotates anticlockwise to drive the screw rod 3 to rotate through the bevel gear structure, the screw rod 3 rotates to drive the sliding block 4 to slide towards the direction far away from the first box body 1, and meanwhile, the winding drum mechanism is controlled to extend the first steel rope 8, so that the transportation mechanism can be far away from the building; after the constructor finishes transporting the raw materials for civil engineering construction, the transporting mechanism can be cleaned through the cleaning mechanism; the utility model provides a novel raw materials hoisting device for civil engineering construction, simple structure can make the transport mechanism who carries raw materials for civil engineering move on the horizontal direction, provides very big facility for the staff, can also be timely clears up unrestrained residue on transport mechanism.
Specifically, as shown in the figure, the winding drum mechanism described in this embodiment includes a first support rod 13, a winding drum 14, and a second servo motor 15, a horizontal first support rod 13 is disposed on the top of the inner wall of the first box 1, two ends of the first support rod 13 are respectively connected with the front side and the rear side of the inner wall of the first box 1 through bearings, the winding drum 14 is fixedly mounted at the front end of the first support rod 13, the first steel cable 8 is wound on the winding drum 14, the second servo motor 15 is disposed on the right side of the first support rod 13, the second servo motor 15 is fixedly mounted on the right side of the inner wall of the first box 1, the second servo motor 15 can drive the first support rod 13 to rotate through a gear mechanism, and the second servo motor 15 is controlled through a controller on the outer side of the first. When a constructor needs to lift the transportation mechanism, the second servo motor 15 is controlled to rotate clockwise, the second servo motor 15 drives the first supporting rod 13 to rotate, the first supporting rod 13 rotates to synchronously drive the winding drum 14 to rotate, and at the moment, the first steel rope 8 is folded and drives the transportation mechanism to move upwards; when a constructor needs to make the transportation mechanism descend, the second servo motor 15 is controlled to rotate anticlockwise, the second servo motor 15 drives the first supporting rod 13 to rotate, the first supporting rod 13 rotates to synchronously drive the winding drum 14 to rotate, at the moment, the first steel rope 8 extends, and the transportation mechanism moves downwards under the action of gravity.
Specifically, as shown in the figure, the rectangular array of the carrier plate 9 of the present embodiment has a plurality of third through holes 16. It is convenient for the constructor to sweep the residues on the bearing plate 9 down to the ground through the third through hole 16.
Further, as shown in the figure, the bottom of the bearing plate 9 in this embodiment is provided with a cleaning mechanism, the cleaning mechanism includes a second box 17, a transverse plate 18, a second supporting rod 20, a belt pulley 21, a belt 22, and a scraper 23, the bottom of the bearing plate 9 is fixedly provided with the second box 17, the top and the bottom of the second box 17 are provided with fourth through holes, the transverse plates 18 are transversely and fixedly provided on the front and the rear inner walls of the second box 17, the second supporting rods 20 are bilaterally and symmetrically provided inside the second box 17, two ends of the second supporting rod 20 are respectively connected with the front and the rear sides of the inner wall of the second box 17 through bearings, the belt pulley 21 is fixedly provided on the second supporting rod 20, the belt 22 is cooperatively provided on the two belt pulleys 21, the upper end surface of the transverse plate 18 is attached to the inner ring of the belt 22, the distance between the, the power mechanism can drive one of the belt pulleys 21 to rotate, a fifth through hole is formed in the right side of the second box body 17 corresponding to the position of the second support rod 20, a scraper 23 is connected to the position, close to the top, of the right side of the second box body 17 through a hinge and a torsion spring, the scraper 23 initially penetrates through the fifth through hole under the action of the torsion spring and is attached to the outer ring of the belt 22, and the controller can control the power mechanism. When residues are scattered at the bottom of the bearing plate 9, the residues fall onto the belt 22 through the third through hole 16, a constructor drives one of the belt pulleys 21 to rotate through controlling the power mechanism, the belt pulley 21 rotates and can drive the residues to move through the belt 22, the residues fall from the right side of the belt 22, under the acting force provided by the torsion spring, the scraper 23 can scrape the residues attached to the belt 22, and the belt 22 is cleaned more cleanly.
Furthermore, as shown in the figure, a protection casing 24 is fixedly installed on the right side of the first box 1 in the embodiment, and the first servo motor 5 and the bevel gear mechanism are both inside the protection casing 24. The protective shell 24 plays a role in protecting the first servo motor 5 from water inflow, and the service life of the first servo motor 5 is prolonged.
Finally, it should be noted that: the above embodiments are only used to illustrate the technical solution of the present invention, and not to limit it; although the present invention has been described in detail with reference to the foregoing embodiments, it should be understood by those skilled in the art that: the technical solutions described in the foregoing embodiments may still be modified, or some technical features may be equivalently replaced; such modifications and substitutions do not depart from the spirit and scope of the present invention in its corresponding aspects.

Claims (5)

1. The utility model provides a novel raw materials for civil engineering construction promotes device which characterized in that: comprises a first box body (1), a transverse supporting plate (2) is fixedly arranged on the right side of the first box body (1), a sliding groove is formed in the supporting plate (2), the sliding groove extends towards the right side of the supporting plate (2), a first through hole is formed in the bottom of the sliding groove, a screw rod (3) is arranged above the supporting plate (2), the left end of the screw rod (3) is connected with the right side of the first box body (1) through a bearing, the right end of the screw rod (3) extends along the length direction of the supporting plate (2), a sliding block (4) is arranged on the sliding groove, the sliding block (4) is in threaded fit with the screw rod (3), a first servo motor (5) is fixedly arranged on the right side surface of the first box body (1) and close to the upper part of the screw rod (3), the first servo motor (5) drives the screw rod (3) to rotate through a bevel gear mechanism, a first fixed pulley (6) is arranged on the right, a second through hole is formed above a second fixed pulley (7) at the top of the right side of a first box body (1), a reel mechanism is arranged on the inner wall of the first box body (1), one end of a first steel rope (8) is connected to the reel mechanism through the second through hole, the reel mechanism can fold and unfold the first steel rope (8), the other end of the first steel rope (8) extends out of the first box body (1) through the second through hole, one end of the first steel rope (8) extending out of the first box body (1) respectively bypasses the second fixed pulley (7), the first fixed pulley (6) vertically extends downwards, a transportation mechanism is arranged below the vertically downward end of the first steel rope (8), the transportation mechanism comprises a bearing plate (9), a baffle (10), an X support (11) and a second steel rope (12), the bearing plate (9) is horizontally arranged, the front side and the rear side of the top of the bearing plate (9) are vertically and fixedly, x support (11) set up directly over two baffles (10) middle parts between, and two angles on four tip of X support (11) and corresponding baffle (10) pass through second steel cable (12) fixed connection, the middle part and first steel cable (8) fixed connection of X support (11), and first box (1) outside fixed mounting has the controller, and the controller can be controlled first servo motor (5) and guiding mechanism.
2. The novel raw material lifting device for civil engineering construction according to claim 1, characterized in that: reel mechanism include first bracing piece (13), reel (14), second servo motor (15), first box (1) inner wall top is provided with horizontal first bracing piece (13), both ends of first bracing piece (13) are passed through the bearing with the inner wall front and back both sides of first box (1) respectively and are connected, preceding tip fixed mounting of first bracing piece (13) has reel (14), the winding of first steel cable (8) is on reel (14), the right side of first bracing piece (13) is provided with second servo motor (15), second servo motor (15) fixed mounting is on first box (1) inner wall right side, second servo motor (15) accessible gear mechanism drives first bracing piece (13) and rotates, second servo motor (15) are controlled through the controller on first box (1) outside.
3. The novel raw material lifting device for civil engineering construction according to claim 2, characterized in that: the bearing plate (9) is provided with a plurality of third through holes (16) in a rectangular array.
4. The novel raw material lifting device for civil engineering construction according to claim 3, characterized in that: the bottom of the bearing plate (9) is provided with a cleaning mechanism, the cleaning mechanism comprises a second box body (17), a transverse plate (18), a second supporting rod (20), belt pulleys (21), a belt (22) and a scraper (23), the bottom of the bearing plate (9) is fixedly provided with the second box body (17), the top and the bottom of the second box body (17) are provided with fourth through holes, the transverse plates (18) are transversely and fixedly arranged on the front inner wall and the rear inner wall of the second box body (17), the second supporting rods (20) are arranged in the second box body (17) in a bilateral symmetry manner, two ends of each second supporting rod (20) are respectively connected with the front side and the rear side of the inner wall of the second box body (17) through bearings, the belt pulleys (21) are fixedly arranged on the second supporting rods (20), the belts (22) are arranged on the two belt pulleys (21) in a matching manner, the upper end face of the transverse plate (18) is attached to, second box (17) inner wall fixed mounting has power unit, power unit can drive one of them belt pulley (21) and rotate, the fifth through-hole has been seted up to second box (17) right side corresponding second bracing piece (20) position, second box (17) right side is close to top position and has scraper blade (23) through hinge and torsional spring connection, scraper blade (23) pass the fifth through-hole and laminate with the outer lane of belt (22) when initial under the effort of torsional spring, the controller can control power unit.
5. The novel raw material lifting device for civil engineering construction according to claim 1, characterized in that: a protective shell (24) is fixedly mounted on the right side of the first box body (1), and the first servo motor (5) and the bevel gear mechanism are both arranged in the protective shell (24).
CN202021544912.2U 2020-07-30 2020-07-30 Novel civil engineering construction is promoted with raw materials device Expired - Fee Related CN212954044U (en)

Priority Applications (1)

Application Number Priority Date Filing Date Title
CN202021544912.2U CN212954044U (en) 2020-07-30 2020-07-30 Novel civil engineering construction is promoted with raw materials device

Applications Claiming Priority (1)

Application Number Priority Date Filing Date Title
CN202021544912.2U CN212954044U (en) 2020-07-30 2020-07-30 Novel civil engineering construction is promoted with raw materials device

Publications (1)

Publication Number Publication Date
CN212954044U true CN212954044U (en) 2021-04-13

Family

ID=75344567

Family Applications (1)

Application Number Title Priority Date Filing Date
CN202021544912.2U Expired - Fee Related CN212954044U (en) 2020-07-30 2020-07-30 Novel civil engineering construction is promoted with raw materials device

Country Status (1)

Country Link
CN (1) CN212954044U (en)

Similar Documents

Publication Publication Date Title
CN103422657B (en) A kind of plastering machine
CN103693591B (en) Hopper lifting device
CN211920779U (en) A gear rack lifting device
CN212954044U (en) Novel civil engineering construction is promoted with raw materials device
CN212002319U (en) High-altitude suspension safety traction device for building construction
CN117361307B (en) Lifting and transporting device for powder
CN217352166U (en) Anticollision wall template platform truck
CN110668348A (en) Lifting support convenient to move for building engineering construction
CN116691935A (en) Simple water surface photovoltaic transportation operation platform
CN102873756B (en) Concrete mixer with lifting discharge hopper and lifting guide rope
CN218201978U (en) Fixing mechanism for lifting device
CN218478274U (en) Gravel climbing and conveying device
CN219488998U (en) Car dumper
CN214570402U (en) Lifting type discharging platform
CN219859570U (en) Flatcar ware for colliery
CN215465118U (en) Lifting type sand washing device of sand washing platform
CN220948016U (en) Road construction material conveyer
JPH053335U (en) Dust remover
CN212892195U (en) A hopper hoisting device for mortar production line
CN220012003U (en) Cement conveying equipment for cement processing
CN217051531U (en) A lifting bucket that is convenient for discharging materials
CN222034833U (en) Automatic feeding device for rice processing
CN215363916U (en) Efficient and environmentally friendly bulk material loading equipment
CN217900991U (en) Lifting electronic wagon balance
CN223792529U (en) Auxiliary building material conveyer

Legal Events

Date Code Title Description
GR01 Patent grant
GR01 Patent grant
CF01 Termination of patent right due to non-payment of annual fee
CF01 Termination of patent right due to non-payment of annual fee

Granted publication date: 20210413