CN212726181U - A low-voltage withdrawable switch cabinet with cooling and dust-proof function - Google Patents
A low-voltage withdrawable switch cabinet with cooling and dust-proof function Download PDFInfo
- Publication number
- CN212726181U CN212726181U CN202020757543.9U CN202020757543U CN212726181U CN 212726181 U CN212726181 U CN 212726181U CN 202020757543 U CN202020757543 U CN 202020757543U CN 212726181 U CN212726181 U CN 212726181U
- Authority
- CN
- China
- Prior art keywords
- cooling
- cabinet
- condenser
- compressor
- low
- Prior art date
- Legal status (The legal status is an assumption and is not a legal conclusion. Google has not performed a legal analysis and makes no representation as to the accuracy of the status listed.)
- Active
Links
Images
Landscapes
- Patch Boards (AREA)
Abstract
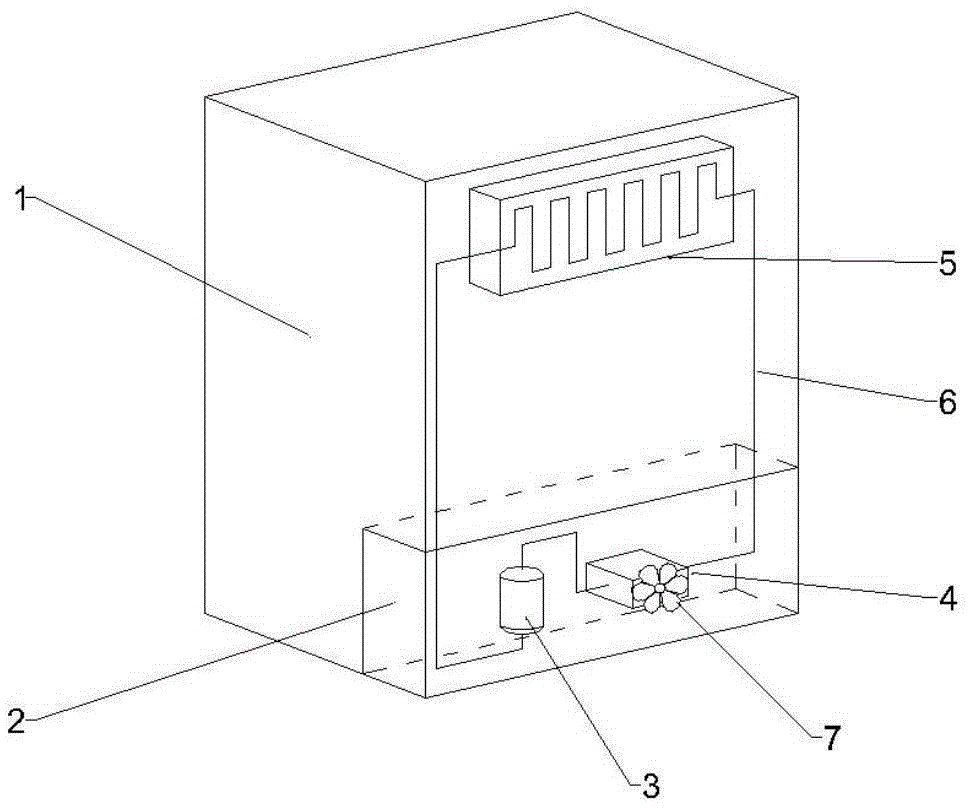
本实用新型公开了一种带有降温防尘功能的低压抽出式开关柜,包括柜体、冷却室、压缩机、冷凝器、蒸发器、冷媒管线,所述柜体后侧底部设置有冷却室,所述冷却室内设置有压缩机和冷凝器,所述柜体后侧上部设置有蒸发器,所述压缩机、冷凝器、蒸发器通过冷媒管线相连。本实用新型通过在压缩机、冷凝器、蒸发器之间循环的冷媒来冷却柜体,无需引入外界空气,冷却效果好,有效防止外界尘埃进入柜体内部。
The utility model discloses a low-voltage withdrawable switch cabinet with cooling and dustproof functions, comprising a cabinet body, a cooling chamber, a compressor, a condenser, an evaporator and a refrigerant pipeline, and a cooling chamber is arranged at the bottom of the rear side of the cabinet body A compressor and a condenser are arranged in the cooling chamber, an evaporator is arranged on the upper part of the rear side of the cabinet, and the compressor, the condenser and the evaporator are connected by a refrigerant pipeline. The utility model cools the cabinet through the refrigerant circulating among the compressor, the condenser and the evaporator, without introducing outside air, the cooling effect is good, and the outside dust is effectively prevented from entering the inside of the cabinet.
Description
Claims (4)
Priority Applications (1)
| Application Number | Priority Date | Filing Date | Title |
|---|---|---|---|
| CN202020757543.9U CN212726181U (en) | 2020-05-10 | 2020-05-10 | A low-voltage withdrawable switch cabinet with cooling and dust-proof function |
Applications Claiming Priority (1)
| Application Number | Priority Date | Filing Date | Title |
|---|---|---|---|
| CN202020757543.9U CN212726181U (en) | 2020-05-10 | 2020-05-10 | A low-voltage withdrawable switch cabinet with cooling and dust-proof function |
Publications (1)
| Publication Number | Publication Date |
|---|---|
| CN212726181U true CN212726181U (en) | 2021-03-16 |
Family
ID=74944857
Family Applications (1)
| Application Number | Title | Priority Date | Filing Date |
|---|---|---|---|
| CN202020757543.9U Active CN212726181U (en) | 2020-05-10 | 2020-05-10 | A low-voltage withdrawable switch cabinet with cooling and dust-proof function |
Country Status (1)
| Country | Link |
|---|---|
| CN (1) | CN212726181U (en) |
-
2020
- 2020-05-10 CN CN202020757543.9U patent/CN212726181U/en active Active
Similar Documents
| Publication | Publication Date | Title |
|---|---|---|
| CN212726181U (en) | A low-voltage withdrawable switch cabinet with cooling and dust-proof function | |
| CN210470047U (en) | Special exhaust-gas treatment electrical control cabinet of smelting plant | |
| CN210143223U (en) | Cabinet for 5G BBU equipment pooling heat dissipation | |
| CN207338922U (en) | A kind of power distribution cabinet with moisture-proof cooling function | |
| CN202385446U (en) | Radiator of machine tool control cabinet | |
| CN114508889A (en) | Refrigerator with new heat radiation structure | |
| CN205960488U (en) | Intelligence heat dissipation switch cabinet | |
| CN212751591U (en) | Ventilation and heat dissipation type European box-type substation | |
| CN216750889U (en) | Cooling equipment for box-type substation | |
| CN216215324U (en) | Dampproofing power distribution cabinet that electric power engineering used | |
| CN210244917U (en) | Heat dissipation device of outdoor LED display screen | |
| CN212587942U (en) | Water-cooling block terminal takes precautions against earthquakes | |
| CN210517511U (en) | Block terminal that radiating effect is excellent | |
| CN209609101U (en) | A kind of safety device for communication channel of telecommunication public network for power network scheduling automation | |
| CN223157475U (en) | Ventilation and heat dissipation device of energy storage power station machine room | |
| CN220629510U (en) | Audio equipment with hidden cooling structure | |
| CN109002103B (en) | Server machine case with heat dissipation function | |
| CN220775168U (en) | Ventilation structure of compact box-type substation | |
| CN219203883U (en) | Dampproofing electric power cabinet | |
| CN219436473U (en) | Heat radiation structure of low-voltage complete equipment | |
| CN217903780U (en) | Heat dissipation distribution control equipment | |
| CN221596562U (en) | Air-cooled heat radiation structure of energy storage cabinet | |
| CN211405580U (en) | Emergency power supply protection device for data center machine room | |
| CN214627823U (en) | Pressure reducing mechanism for control cabinet of industrial robot | |
| CN223679591U (en) | A side panel structure for a computer chassis |
Legal Events
| Date | Code | Title | Description |
|---|---|---|---|
| GR01 | Patent grant | ||
| GR01 | Patent grant | ||
| TR01 | Transfer of patent right | ||
| TR01 | Transfer of patent right |
Effective date of registration: 20251030 Address after: 250002Shandong ProvinceJinan CityShizhong DistrictChenjiazhuang East StreetBuilding 5Unit 2303 Room Patentee after: Wang Yingchun Country or region after: China Address before: 451162 Henan Province, Zhengzhou City, Xinzheng City, Xuedian Town, Sino-German Industry Park 45-3 Patentee before: Henan southeast Kerui Automation Engineering Co.,Ltd. Country or region before: China |
|
| TR01 | Transfer of patent right | ||
| TR01 | Transfer of patent right |
Effective date of registration: 20251119 Address after: 250002 Shandong Province, Jinan City, Shi Zhong District, No. 6850 Erhuan South Road Patentee after: Jinan Jingcheng Electric Appliance Co.,Ltd. Country or region after: China Address before: 250002Shandong ProvinceJinan CityShizhong DistrictChenjiazhuang East StreetBuilding 5Unit 2303 Room Patentee before: Wang Yingchun Country or region before: China |
