CN212683305U - A high-efficiency milling equipment - Google Patents

A high-efficiency milling equipment Download PDF

Info

Publication number
CN212683305U
CN212683305U CN202021507064.8U CN202021507064U CN212683305U CN 212683305 U CN212683305 U CN 212683305U CN 202021507064 U CN202021507064 U CN 202021507064U CN 212683305 U CN212683305 U CN 212683305U
Authority
CN
China
Prior art keywords
screw rod
scraper
milling equipment
base
baffle plate
Prior art date
Legal status (The legal status is an assumption and is not a legal conclusion. Google has not performed a legal analysis and makes no representation as to the accuracy of the status listed.)
Expired - Fee Related
Application number
CN202021507064.8U
Other languages
Chinese (zh)
Inventor
华国伟
应关立
韩秋根
Current Assignee (The listed assignees may be inaccurate. Google has not performed a legal analysis and makes no representation or warranty as to the accuracy of the list.)
Hangzhou Shenghua Automotive Electronic Technology Co ltd
Original Assignee
Hangzhou Shenghua Automotive Electronic Technology Co ltd
Priority date (The priority date is an assumption and is not a legal conclusion. Google has not performed a legal analysis and makes no representation as to the accuracy of the date listed.)
Filing date
Publication date
Application filed by Hangzhou Shenghua Automotive Electronic Technology Co ltd filed Critical Hangzhou Shenghua Automotive Electronic Technology Co ltd
Priority to CN202021507064.8U priority Critical patent/CN212683305U/en
Application granted granted Critical
Publication of CN212683305U publication Critical patent/CN212683305U/en
Expired - Fee Related legal-status Critical Current
Anticipated expiration legal-status Critical

Links

Images

Landscapes

  • Milling Processes (AREA)

Abstract

本申请涉及一种高效铣削设备,涉及机械加工的技术领域。现有的铣床上通常设置有废屑清理装置,废屑清理装置可能采用输送气流的方式将工作台上的废屑吹出工作台,从而减少废屑在工作台上的堆积。但是,吹出工作台的废屑掉落在地面上通常依赖人工清理,存在清理效率慢、浪费人力的缺陷。本申请包括底座、设置于底座上的液压缸和机架,液压缸上安装有滑台组件,滑台组件上安装有工作台和驱动工作台运动的驱动组件,工作台的上方设置有气动喷嘴,底座靠近液压缸的一侧设置有丝杆和导向杆,丝杆上螺纹连接有刮板且刮板滑动连接于导向杆,提高了加工过程中的废屑清理效率,有利于减少人力的浪费,从而有利于提高工件的加工效率。

Figure 202021507064

The application relates to a high-efficiency milling device, and relates to the technical field of machining. Existing milling machines are usually provided with a chip cleaning device, and the chip cleaning device may blow the waste chips on the worktable out of the worktable by means of conveying air flow, thereby reducing the accumulation of waste chips on the worktable. However, the waste chips blown out of the workbench fall on the ground usually rely on manual cleaning, which has the defects of slow cleaning efficiency and waste of manpower. The present application includes a base, a hydraulic cylinder arranged on the base, and a frame. A sliding table assembly is installed on the hydraulic cylinder, a working table and a driving assembly for driving the movement of the working table are installed on the sliding table assembly, and a pneumatic nozzle is arranged above the working table. , the side of the base close to the hydraulic cylinder is provided with a screw rod and a guide rod. The screw rod is threadedly connected with a scraper and the scraper is slidably connected to the guide rod, which improves the cleaning efficiency of waste during processing and helps reduce the waste of manpower. , which is beneficial to improve the processing efficiency of the workpiece.

Figure 202021507064

Description

Efficient milling equipment
Technical Field
The application relates to the technical field of machining, in particular to efficient milling equipment.
Background
The milling machine mainly refers to a machine tool for processing various surfaces of a workpiece by using a milling cutter, can process planes and grooves, can process various curved surfaces, gears and the like, and is widely applied to the mechanical manufacturing industry. When the milling machine works, a workpiece is arranged on a workbench or an indexing head and other accessories, the milling cutter rotates to move mainly, and the workpiece can obtain a required processing surface by the aid of the feeding motion of the workbench or the milling cutter.
An authorized bulletin number CN209255957U discloses a milling machine with a scrap removal function, which comprises a bottom plate, a machine frame welded on the bottom plate, a hydraulic cylinder arranged on the upper surface of the bottom plate and far away from one side of the machine frame, a servo motor arranged at the top end of the machine frame and a milling cutter connected to an output shaft of the servo motor. Linear electric motor is installed to the output of pneumatic cylinder, and linear electric motor's output welding has the workstation, and the workstation upper surface is equipped with the cavity board. The bottom plate is fixedly provided with a fan, an air outlet of the fan is provided with a telescopic pipe, and one end of the telescopic pipe, which is far away from the fan, is connected with the hollow plate.
The above related technical solutions have the following drawbacks: the fan on the bottom plate conveys the air current to the hollow plate through the telescopic pipe, and the air current is discharged to the workbench through the hollow plate, so that the scraps generated in the machining process of the workpiece are blown away. However, the scraps are generally blown to the ground around the milling machine under the action of the air flow, and in order to avoid accumulation of the scraps, the scraps on the ground are generally cleaned and collected manually, so that the defects of slow cleaning efficiency, manpower waste and low processing efficiency exist.
SUMMERY OF THE UTILITY MODEL
In order to improve the cleaning efficiency who mills in-process sweeps, reduce the waste of manpower, improve the machining efficiency who mills, this application provides a high efficiency and mills equipment.
The above object of the present application is achieved by the following technical solutions:
an efficient milling device comprises a base, a frame arranged on one side of the upper surface of the base, and a hydraulic cylinder arranged on the other side of the upper surface of the base, install in the slip table subassembly of pneumatic cylinder output, install in the workstation of slip table subassembly upper end and be used for driving the drive assembly of workstation at the horizontal plane internal motion, first motor is installed on the top of frame, install milling cutter on the output shaft of first motor, the top of workstation is equipped with the pneumatic nozzle who is used for blowing off the sweeps, one side that the base is close to the pneumatic cylinder is provided with lead screw and guide bar, lead screw and guide bar parallel arrangement, threaded connection has the scraper blade on the lead screw, scraper blade sliding connection is in the guide bar, the horizontal direction slip of perpendicular to pneumatic cylinder and frame line is followed to the scraper blade, the one end of lead screw is connected with the second motor, the other end of lead screw is provided with the first collecting vat that is used for collecting sweeps.
Through adopting above-mentioned technical scheme, the scraper blade slides along the guide bar under the drive of lead screw to blow away to subaerial sweeps and partial cutting fluid and promote to first collecting vat in, thereby improved the sweeps cleaning efficiency in the course of working, be favorable to reducing the waste of manpower, also be favorable to improving the machining efficiency of work piece.
The present application may be further configured in a preferred example to: the side of the scraper far away from the base is provided with a baffle in a sliding mode, the sliding direction of the baffle is consistent with that of the scraper, and the baffle is parallel to the screw rod.
Through adopting above-mentioned technical scheme, the sweeps, the cutting fluid of sputter from the workstation drop to between baffle and the base, and it takes place to have reduced the condition that sweeps, cutting fluid drop to the scraper blade outside to be favorable to collecting more sweeps clearance.
The present application may be further configured in a preferred example to: a strip-shaped groove is formed in one side, close to the baffle, of the base, and the screw rod is arranged in the strip-shaped groove.
Through adopting above-mentioned technical scheme, reduced the sweeps and fallen from the workstation and attached to the condition emergence on the lead screw, be favorable to avoiding the sweeps to arouse the lead screw transmission jam condition of failing even, be favorable to improving the life of lead screw.
The present application may be further configured in a preferred example to: the lower end of the strip-shaped groove is higher than the lower end of the scraper.
Through adopting above-mentioned technical scheme, reduce in sweeps and the cutting fluid gets into the bar groove, can reduce sweeps, cutting fluid to the driven influence of lead screw, be favorable to the gliding smooth and easy nature of scraper blade in the bar groove.
The present application may be further configured in a preferred example to: and a transparent observation area is arranged on the baffle.
Through adopting above-mentioned technical scheme, in the course of working, after the baffle slides and fixes, the operator can look over the processing condition of workstation through transparent observation area, can also in time observe the equipment behavior when guaranteeing the baffle to the effect that blocks of sweeps.
The present application may be further configured in a preferred example to: the lower extreme of baffle is provided with the slide rail, and baffle sliding connection is in the slide rail, and the baffle is close to one side of scraper blade and is connected with the sheltering strip, shelters from the strip and is close to the slide rail setting.
Through adopting above-mentioned technical scheme, can reduce the condition that the sweeps dropped to in baffle and the slide rail and take place to reduce and make the slide rail block the probability that became invalid even because of the sweeps gets into, be favorable to keeping the smoothness nature of baffle slip in-process.
The present application may be further configured in a preferred example to: and a second collecting tank is arranged at one end, far away from the first collecting tank, of the screw rod.
Through adopting above-mentioned technical scheme, because the both ends of lead screw all are provided with the collecting vat, then the scraper blade can both push away the collecting vat with sweeps and cutting fluid in the slip stroke that comes and goes, has improved the cleaning efficiency to sweeps and cutting fluid.
The present application may be further configured in a preferred example to: one end of the motion trail of the scraper is positioned right above the first collecting groove, and the other end of the motion trail of the scraper is positioned right above the second collecting groove.
Through adopting above-mentioned technical scheme, the collecting vat can be pushed away completely with sweeps and cutting fluid to the scraper blade, avoids sweeps and cutting fluid to be detained in the outside of collecting vat, is favorable to collection, the filtering separation of sweeps and cutting fluid.
The present application may be further configured in a preferred example to: and filter screens are arranged in the first collecting tank and the second collecting tank.
Through adopting above-mentioned technical scheme, the filtering action of filter screen is down most of sweeps to be detained on the filter screen, and cutting fluid and few part sweeps pass the filter screen and collect in the bottom of first collecting vat or second collecting vat to carry out secondary filter and realize cyclic utilization to the cutting fluid in preparation for the back, thereby realize the independent processing to sweeps and cutting fluid.
In summary, the present application includes at least one of the following beneficial technical effects:
1. in the scheme, the scraping plate, the screw rod, the guide rod and the like are arranged, and the scraping plate slides along the guide rod under the driving of the screw rod, so that the sweeps blown off to the ground and part of cutting fluid are pushed to the first collecting tank, the sweep cleaning efficiency in the machining process is improved, the waste of manpower is reduced, and the machining efficiency of workpieces is improved;
2. in the scheme, the baffle is arranged, so that the scraps and the cutting fluid sputtered from the workbench fall between the baffle and the base, the condition that the scraps and the cutting fluid fall to the outer side of the scraper is reduced, and more scraps are cleaned and collected;
3. in this scheme, through setting up the bar groove, reduced the sweeps and fallen and attached to the condition emergence on the lead screw from the workstation, be favorable to avoiding the sweeps to arouse the condition that the lead screw transmission blocks or even became invalid, be favorable to improving the life of lead screw.
Drawings
FIG. 1 is a schematic structural diagram of a first embodiment of the present application;
FIG. 2 is an exploded view of the ramp assembly and drive assembly of FIG. 1;
FIG. 3 is a schematic view of the structure of FIG. 1 from another perspective;
fig. 4 is an enlarged schematic view at a in fig. 3.
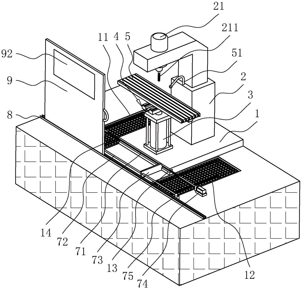
In the figure, 1, a base; 11. a first holding tank; 12. a second holding tank; 13. a strip-shaped groove; 14. a filter screen; 2. a frame; 21. a first motor; 211. milling cutters; 3. a hydraulic cylinder; 4. a sliding table assembly; 41. a first sliding table; 411. a first guide rail; 42. a second sliding table; 421. a second guide rail; 5. a work table; 51. a pneumatic nozzle; 6. a drive assembly; 61. a first linear motor; 62. a second linear motor; 71. a screw rod; 72. a guide bar; 73. a squeegee; 74. a second motor; 75. a support; 8. a slide rail; 9. a baffle plate; 91. a masking strip; 92. a transparent viewing area.
Detailed Description
The present application is described in further detail below with reference to figures 1-4.
The first embodiment is as follows: referring to fig. 1 and 2, for the high-efficient equipment that mills that this application discloses, including fixed mounting in subaerial base 1, weld in frame 2 of base 1 upper surface, install in base 1 upper surface and keep away from the pneumatic cylinder 3 of frame 2 one side, install in the slip table subassembly 4 of pneumatic cylinder 3 output, install in workstation 5 of slip table subassembly 4 upper end and be used for driving the drive assembly 6 of workstation 5 in the motion of horizontal plane, first motor 21 is installed on the top of frame 2, install milling cutter 211 on the output shaft of first motor 21, the top of workstation 5 is equipped with the pneumatic nozzle 51 that is used for blowing off the sweeps. One side of the base 1 close to the hydraulic cylinder 3 is provided with a screw rod 71 and a guide rod 72, the screw rod 71 and the guide rod 72 are arranged in parallel, a scraper 73 is connected to the screw rod 71 in a threaded manner, the scraper 73 is connected to the guide rod 72 in a sliding manner, the scraper 73 slides along the horizontal direction perpendicular to the connecting line of the hydraulic cylinder 3 and the frame 2, one end of the screw rod 71 is connected with a second motor 74, and the other end of the screw rod 71 is provided with a first collecting tank 11 for collecting scraps and cutting fluid. Scraper blade 73 slides along guide bar 72 under the drive of lead screw 71 in this embodiment to blow away to subaerial sweeps and partial cutting fluid and promote to first collecting vat 11 in, thereby improved the sweeps cleaning efficiency in the course of working, be favorable to reducing the waste of manpower, thereby be favorable to improving the machining efficiency of work piece.
The sliding table assembly 4 comprises a first sliding table 41 connected to the output end of the hydraulic cylinder 3 and a second sliding table 42 slidably connected to the upper end of the first sliding table 41, a first guide rail 411 is fixedly mounted on the upper surface of the first sliding table 41, and the second sliding table 42 is slidably connected to the first guide rail 411 along the connecting line direction of the hydraulic cylinder 3 and the rack 2; the upper surface of the second sliding table 42 is fixedly provided with a second guide rail 421, and the workbench 5 is connected to the second guide rail 421 in a sliding manner along a direction perpendicular to a connecting line of the hydraulic cylinder 3 and the frame 2. The drive assembly 6 includes a first linear motor 61 installed between the first and second slide tables 41 and 42 and a second linear motor 62 installed between the second slide table 42 and the table 5. The first linear motor 61 drives the second slide table 42 and the table 5 to slide along the first guide rail 411, thereby realizing the lateral feed motion of the table 5, and the second linear motor 62 drives the table 5 to slide along the second guide rail 421, thereby realizing the longitudinal feed motion of the table 5.
Referring to fig. 3, a strip-shaped groove 13 is formed in the side wall, close to the hydraulic cylinder 3, of the base 1, the lower end of the strip-shaped groove 13 is higher than the ground, the strip-shaped groove 13 penetrates through the base 1 along the length direction of the screw rod 71, and the screw rod 71 is fixedly installed in the strip-shaped groove 13. The guide rod 72 is parallel to the screw rod 71 and is arranged outside the strip-shaped groove 13, two ends of the screw rod 71 are provided with supports 75 installed on the ground, and two ends of the screw rod 71 and two ends of the guide rod 72 are both fixedly connected to the supports 75. The part of the scraping plate 73 extending into the strip-shaped groove 13 is in threaded connection with the screw rod 71 through a screw rod nut and is in sliding connection with the strip-shaped groove 13, and the part of the scraping plate 73 extending out of the strip-shaped groove 13 is attached to the side wall of the base 1 and is in sliding connection with the guide rod 72 in a shaft hole matching mode. Due to the arrangement of the strip-shaped groove 13, the situation that the scraps fall from the workbench 5 and are attached to the screw rod 71 is reduced, the situation that the scraps cause transmission blockage or even failure of the screw rod 71 is favorably avoided, and the service life of the screw rod 71 is favorably prolonged. Because the lower extreme of bar groove 13 is higher than ground, then reduce sweeps and cutting fluid and get into bar groove 13, reduce the sweeps, the cutting fluid is to the driven influence of lead screw 71, is favorable to the gliding smoothness nature of scraper blade 73 in bar groove 13.
A second collecting groove 12 with the same size and shape as the first collecting groove 11 is formed below one end of the screw rod 71 connected with the second motor 74, and the support 75 is located above the first collecting groove 11 or the second collecting groove 12, so that the scraper 73 can reciprocate above the first collecting groove 11 and the second collecting groove 12. Both the first collecting tank 11 and the second collecting tank 12 are provided with detachable filter screens 14, most of scraps are retained on the filter screens 14 under the filtering action of the filter screens 14, and the cutting fluid and a small part of scraps pass through the filter screens 14 and are collected at the bottom of the first collecting tank 11 or the second collecting tank 12 so as to be filtered again later and realize the recycling of the cutting fluid. Because the collecting grooves are formed in the two ends of the screw rod 71, the scraping plate 73 can push the waste chips and the cutting fluid to the collecting grooves in the reciprocating sliding process, and the cleaning efficiency of the waste chips and the cutting fluid is improved. Because the both ends of scraper blade 73 movement track are located first collecting vat 11 and second collecting vat 12's top respectively for scraper blade 73 can push away the collecting vat completely with sweeps and cutting fluid, avoids sweeps and cutting fluid to be detained in the outside of collecting vat, is favorable to collection, the filtering separation of sweeps and cutting fluid.
Referring to fig. 3 and 4, a slide rail 8 is disposed on a side of the scraper 73 away from the base 1, the slide rail 8 is fixedly mounted on the ground, and a length direction of the slide rail 8 is parallel to a sliding direction of the scraper 73, and a rectangular baffle 9 is slidably disposed in the slide rail 8, so that a sliding direction of the baffle 9 is parallel to the sliding direction of the scraper 73. One side welding that baffle 9 is close to scraper blade 73 has the strip 91 that shelters from that is rectangular plate-like, and the length direction who shelters from strip 91 is on a parallel with slide rail 8, shelters from that strip 91 slope just is close to slide rail 8 setting downwards. The baffle 9 is provided with a transparent observation area 92, namely a transparent plate is embedded in the baffle 9, so that an operator can observe the operation condition of the workbench 5 on the appearance of the baffle 9. In the course of working, operator slip baffle 9 makes baffle 9 shelter from workstation 5 completely, and the sweeps, the cutting fluid that sputter from workstation 5 fall to between baffle 9 and the base 1, has reduced the condition emergence that sweeps, cutting fluid dropped to the scraper blade 73 outside to be favorable to collecting more sweeps clearance. Due to the arrangement of the shielding strip 91, the situation that the sweeps fall into the baffle 9 and the slide rail 8 can be reduced, so that the probability that the slide rail 8 is blocked or even fails due to the entering of the sweeps is reduced, and the sliding process of the baffle 9 is favorably kept smooth.
When an operator uses the milling setting machining process, the operator sets the workpiece to complete the machining program, then the baffle 9 is slid to enable the baffle 9 to shield the workbench 5, and the operator can see the machining condition of the workbench 5 through the transparent observation area 92 on the baffle 9. After the machining is completed, the pneumatic nozzle 51 generates a high-pressure air flow, thereby blowing the chips and a part of the cutting fluid on the table 5 out of the table 5. The scraps and cutting fluid dropped between the baffle 9 and the base 1 can move to the first collecting tank 11 or the second collecting tank 12 under the pushing of the scraper 73, and the scraps and the cutting fluid are separated under the action of the filter screen 14, which is beneficial to the recovery and recycling of the cutting fluid.
The implementation principle of the embodiment is as follows: by arranging mechanical components such as the scraper 73, the screw rod 71 and the guide rod 72, the scraps falling from the workbench 5 are cleaned into the first collecting tank 11 and the second collecting tank 12 beside the base 1, so that manual operation is reduced, and the scrap cleaning efficiency and the processing efficiency are improved; through setting up baffle 9 for sweeps, cutting fluid drop between baffle 9 and base 1, are favorable to improving the clearance volume of scraper blade 73 to the sweeps, improve cleaning efficiency.
The embodiments of the present invention are preferred embodiments of the present application, and the scope of protection of the present application is not limited by the embodiments, so: all equivalent changes made according to the structure, shape and principle of the present application shall be covered by the protection scope of the present application.

Claims (9)

1.一种高效铣削设备,包括底座(1)、设置于所述底座(1)上表面一侧的机架(2)、设置于所述底座(1)上表面另一侧的液压缸(3)、安装于所述液压缸(3)输出端的滑台组件(4)、安装于所述滑台组件(4)上端的工作台(5)以及用于驱动所述工作台(5)在水平面内运动的驱动组件(6),所述机架(2)的顶端安装有第一电机(21),所述第一电机(21)的输出轴上安装有铣刀(211),所述工作台(5)的上方设有用于吹除废屑的气动喷嘴(51),其特征在于:所述底座(1)靠近所述液压缸(3)的一侧设置有丝杆(71)和导向杆(72),所述丝杆(71)与所述导向杆(72)平行设置,所述丝杆(71)上螺纹连接有刮板(73),所述刮板(73)滑动连接于所述导向杆(72),所述刮板(73)沿垂直于所述液压缸(3)与所述机架(2)连线的水平方向滑动,所述丝杆(71)的一端连接有第二电机(74),所述丝杆(71)的另一端设置有用于收集废屑和切削液的第一收集槽(11)。1. A high-efficiency milling equipment, comprising a base (1), a frame (2) arranged on one side of the upper surface of the base (1), and a hydraulic cylinder ( 3), a sliding table assembly (4) installed on the output end of the hydraulic cylinder (3), a worktable (5) installed on the upper end of the sliding table assembly (4), and a table for driving the table (5) in A drive assembly (6) that moves in a horizontal plane, a first motor (21) is installed on the top of the frame (2), a milling cutter (211) is installed on the output shaft of the first motor (21), and the A pneumatic nozzle (51) for blowing off waste is arranged above the worktable (5), and is characterized in that: a screw rod (71) and a screw rod (71) and a screw rod (71) and a screw rod (71) and a screw rod (71) and A guide rod (72), the screw rod (71) is arranged in parallel with the guide rod (72), a scraper (73) is threadedly connected to the screw rod (71), and the scraper (73) is slidably connected On the guide rod (72), the scraper (73) slides in a horizontal direction perpendicular to the line connecting the hydraulic cylinder (3) and the frame (2), and one end of the screw rod (71) A second motor (74) is connected, and the other end of the screw rod (71) is provided with a first collection groove (11) for collecting waste chips and cutting fluid. 2.根据权利要求1所述的一种高效铣削设备,其特征在于:所述刮板(73)远离所述底座(1)的一侧滑动设置有挡板(9),所述挡板(9)的滑动方向与所述刮板(73)的滑动方向一致,所述挡板(9)平行于所述丝杆(71)设置。2 . The high-efficiency milling equipment according to claim 1 , wherein a baffle plate ( 9 ) is slidably provided on the side of the scraper ( 73 ) away from the base ( 1 ), and the baffle plate ( The sliding direction of 9) is consistent with the sliding direction of the scraper (73), and the baffle plate (9) is arranged parallel to the screw rod (71). 3.根据权利要求2所述的一种高效铣削设备,其特征在于:所述底座(1)靠近所述挡板(9)的一侧开设有条形槽(13),所述丝杆(71)设置于所述条形槽(13)中。3 . The high-efficiency milling equipment according to claim 2 , wherein a strip groove ( 13 ) is opened on the side of the base ( 1 ) close to the baffle plate ( 9 ), and the screw rod ( 71) is arranged in the strip groove (13). 4.根据权利要求3所述的一种高效铣削设备,其特征在于:所述条形槽(13)的下端高于所述刮板(73)的下端。4 . The high-efficiency milling equipment according to claim 3 , wherein the lower end of the strip groove ( 13 ) is higher than the lower end of the scraper ( 73 ). 5 . 5.根据权利要求2所述的一种高效铣削设备,其特征在于:所述挡板(9)上设置有透明观察区(92)。5 . The high-efficiency milling equipment according to claim 2 , wherein a transparent observation area ( 92 ) is provided on the baffle plate ( 9 ). 6 . 6.根据权利要求2所述的一种高效铣削设备,其特征在于:所述挡板(9)的下端设置有滑轨(8),所述挡板(9)滑动连接于所述滑轨(8),所述挡板(9)靠近所述刮板(73)的一侧连接有遮挡条(91),所述遮挡条(91)靠近所述滑轨(8)设置。6 . The high-efficiency milling equipment according to claim 2 , wherein a slide rail ( 8 ) is provided at the lower end of the baffle plate ( 9 ), and the baffle plate ( 9 ) is slidably connected to the slide rail. 7 . (8), a shielding strip (91) is connected to the side of the baffle plate (9) close to the scraper (73), and the shielding strip (91) is arranged close to the sliding rail (8). 7.根据权利要求1所述的一种高效铣削设备,其特征在于:所述丝杆(71)远离第一收集槽(11)的一端设置有第二收集槽(12)。7 . The high-efficiency milling equipment according to claim 1 , wherein a second collection groove ( 12 ) is provided at one end of the screw rod ( 71 ) away from the first collection groove ( 11 ). 8 . 8.根据权利要求7所述的一种高效铣削设备,其特征在于:所述刮板(73)的运动轨迹的一端位于所述第一收集槽(11)的正上方,所述刮板(73)的运动轨迹的另一端位于所述第二收集槽(12)的正上方。8 . The high-efficiency milling equipment according to claim 7 , wherein one end of the movement trajectory of the scraper ( 73 ) is located directly above the first collection groove ( 11 ), and the scraper ( 8 . The other end of the movement track of 73) is located just above the second collection tank (12). 9.根据权利要求8所述的一种高效铣削设备,其特征在于:所述第一收集槽(11)和所述第二收集槽(12)中均设置有过滤网(14)。9 . The high-efficiency milling equipment according to claim 8 , wherein a filter screen ( 14 ) is provided in both the first collection groove ( 11 ) and the second collection groove ( 12 ). 10 .
CN202021507064.8U 2020-07-27 2020-07-27 A high-efficiency milling equipment Expired - Fee Related CN212683305U (en)

Priority Applications (1)

Application Number Priority Date Filing Date Title
CN202021507064.8U CN212683305U (en) 2020-07-27 2020-07-27 A high-efficiency milling equipment

Applications Claiming Priority (1)

Application Number Priority Date Filing Date Title
CN202021507064.8U CN212683305U (en) 2020-07-27 2020-07-27 A high-efficiency milling equipment

Publications (1)

Publication Number Publication Date
CN212683305U true CN212683305U (en) 2021-03-12

Family

ID=74899595

Family Applications (1)

Application Number Title Priority Date Filing Date
CN202021507064.8U Expired - Fee Related CN212683305U (en) 2020-07-27 2020-07-27 A high-efficiency milling equipment

Country Status (1)

Country Link
CN (1) CN212683305U (en)

Cited By (2)

* Cited by examiner, † Cited by third party
Publication number Priority date Publication date Assignee Title
CN113798908A (en) * 2021-09-29 2021-12-17 江苏北人智能制造科技股份有限公司 CNC lathe cleaning device
CN113927308A (en) * 2021-12-18 2022-01-14 广东友博智能装备有限公司 Major axis class part machining production line

Cited By (3)

* Cited by examiner, † Cited by third party
Publication number Priority date Publication date Assignee Title
CN113798908A (en) * 2021-09-29 2021-12-17 江苏北人智能制造科技股份有限公司 CNC lathe cleaning device
CN113798908B (en) * 2021-09-29 2024-03-19 江苏北人智能制造科技股份有限公司 CNC lathe cleaning device
CN113927308A (en) * 2021-12-18 2022-01-14 广东友博智能装备有限公司 Major axis class part machining production line

Similar Documents

Publication Publication Date Title
CN212169780U (en) Linkage type numerical control gantry machining center machine
CN212683305U (en) A high-efficiency milling equipment
CN214561569U (en) Plank cutting device
CN113523606A (en) Numerical control cutting machine convenient to clear away smear metal
CN210878818U (en) Machining center convenient for cleaning chips
CN209754697U (en) Multilayer engraving and milling machine with dust removal cleaning device
CN117245791B (en) Concrete block cutting device and method
CN217701869U (en) Laser cutting device with dust removal and noise reduction performance
CN218946660U (en) Laser cutting machine convenient to clean
CN216228275U (en) Scrap removing device of milling machine
CN213617195U (en) Board cutting device is used to environment-friendly furniture
CN212665566U (en) Chip removal device of planer type milling machine
CN218050625U (en) Scrap collecting device of band sawing machine
CN215147235U (en) Prevent high-efficient planer-type milling machine that waste material spattered
CN220008117U (en) Cleaning device for board opening machine
CN223440977U (en) Pneumatic wire cutting machine with garbage collection function
CN118237966B (en) Sweeps cleaning device of combination drilling machine
CN221791402U (en) A slag cleaning device for a laser cutting machine workbench
CN222021169U (en) Water collecting device of rocker arm milling machine
CN221966858U (en) A high-precision fixed-beam gantry milling machine
CN219986346U (en) Milling machine cleaning device and milling machine using same
CN222494877U (en) Glass punching machine with dust removal mechanism
CN223455309U (en) A waste collection device for laser cutting machine
CN216000815U (en) Composite board perforating machine
CN216914090U (en) A dust collector for corrugated paper guillootine

Legal Events

Date Code Title Description
GR01 Patent grant
GR01 Patent grant
CF01 Termination of patent right due to non-payment of annual fee

Granted publication date: 20210312

CF01 Termination of patent right due to non-payment of annual fee