CN212655522U - Car washing wastewater filtering and recycling equipment - Google Patents
Car washing wastewater filtering and recycling equipment Download PDFInfo
- Publication number
- CN212655522U CN212655522U CN202020839092.3U CN202020839092U CN212655522U CN 212655522 U CN212655522 U CN 212655522U CN 202020839092 U CN202020839092 U CN 202020839092U CN 212655522 U CN212655522 U CN 212655522U
- Authority
- CN
- China
- Prior art keywords
- water
- equipment
- water tank
- filtering
- aeration
- Prior art date
- Legal status (The legal status is an assumption and is not a legal conclusion. Google has not performed a legal analysis and makes no representation as to the accuracy of the status listed.)
- Active
Links
- 239000002351 wastewater Substances 0.000 title claims abstract description 62
- 238000001914 filtration Methods 0.000 title claims abstract description 59
- 238000005406 washing Methods 0.000 title claims description 24
- 238000004064 recycling Methods 0.000 title claims description 13
- XLYOFNOQVPJJNP-UHFFFAOYSA-N water Substances O XLYOFNOQVPJJNP-UHFFFAOYSA-N 0.000 claims abstract description 139
- 239000012528 membrane Substances 0.000 claims abstract description 57
- 238000005273 aeration Methods 0.000 claims abstract description 36
- 239000010865 sewage Substances 0.000 claims description 21
- 238000012544 monitoring process Methods 0.000 claims description 10
- 239000000463 material Substances 0.000 claims description 8
- 239000010410 layer Substances 0.000 claims description 7
- 239000002346 layers by function Substances 0.000 claims description 7
- 239000007788 liquid Substances 0.000 claims description 7
- 238000004519 manufacturing process Methods 0.000 claims description 4
- 239000004745 nonwoven fabric Substances 0.000 claims description 3
- 239000002184 metal Substances 0.000 claims description 2
- 238000012856 packing Methods 0.000 claims 1
- 239000003344 environmental pollutant Substances 0.000 abstract description 11
- 231100000719 pollutant Toxicity 0.000 abstract description 11
- 238000004140 cleaning Methods 0.000 abstract description 8
- 238000009826 distribution Methods 0.000 abstract description 3
- 230000000694 effects Effects 0.000 description 14
- 238000000034 method Methods 0.000 description 13
- 238000000746 purification Methods 0.000 description 7
- 238000011001 backwashing Methods 0.000 description 5
- 239000008213 purified water Substances 0.000 description 5
- 239000000126 substance Substances 0.000 description 4
- 239000007787 solid Substances 0.000 description 3
- 241000894006 Bacteria Species 0.000 description 2
- 238000010586 diagram Methods 0.000 description 2
- 238000005516 engineering process Methods 0.000 description 2
- 230000007613 environmental effect Effects 0.000 description 2
- 238000011010 flushing procedure Methods 0.000 description 2
- 230000000977 initiatory effect Effects 0.000 description 2
- 238000012423 maintenance Methods 0.000 description 2
- 230000003647 oxidation Effects 0.000 description 2
- 238000007254 oxidation reaction Methods 0.000 description 2
- 239000002245 particle Substances 0.000 description 2
- 238000001556 precipitation Methods 0.000 description 2
- 239000000047 product Substances 0.000 description 2
- 239000004094 surface-active agent Substances 0.000 description 2
- 238000004075 wastewater filtration Methods 0.000 description 2
- 230000001133 acceleration Effects 0.000 description 1
- 238000007792 addition Methods 0.000 description 1
- 230000009286 beneficial effect Effects 0.000 description 1
- 238000004581 coalescence Methods 0.000 description 1
- 230000007547 defect Effects 0.000 description 1
- 238000011161 development Methods 0.000 description 1
- 238000009434 installation Methods 0.000 description 1
- 238000001471 micro-filtration Methods 0.000 description 1
- 238000012986 modification Methods 0.000 description 1
- 230000004048 modification Effects 0.000 description 1
- 239000012466 permeate Substances 0.000 description 1
- 238000005381 potential energy Methods 0.000 description 1
- 238000006467 substitution reaction Methods 0.000 description 1
- 238000000108 ultra-filtration Methods 0.000 description 1
- 238000004065 wastewater treatment Methods 0.000 description 1
Images
Classifications
-
- Y—GENERAL TAGGING OF NEW TECHNOLOGICAL DEVELOPMENTS; GENERAL TAGGING OF CROSS-SECTIONAL TECHNOLOGIES SPANNING OVER SEVERAL SECTIONS OF THE IPC; TECHNICAL SUBJECTS COVERED BY FORMER USPC CROSS-REFERENCE ART COLLECTIONS [XRACs] AND DIGESTS
- Y02—TECHNOLOGIES OR APPLICATIONS FOR MITIGATION OR ADAPTATION AGAINST CLIMATE CHANGE
- Y02W—CLIMATE CHANGE MITIGATION TECHNOLOGIES RELATED TO WASTEWATER TREATMENT OR WASTE MANAGEMENT
- Y02W10/00—Technologies for wastewater treatment
- Y02W10/10—Biological treatment of water, waste water, or sewage
Landscapes
- Separation Using Semi-Permeable Membranes (AREA)
Abstract
The utility model relates to a carwash waste water filters retrieval and utilization equipment, including water tank, working shaft, filter equipment, product water pump, head tank and aeration equipment, characteristics are: the water tank passes through the waste water inlet tube and links to each other with the waste water collecting pit, the working shaft is located the pipeline of waste water inlet tube, filter equipment installs the inside at the water tank, filter equipment includes the end plate, well core rod, filtering diaphragm and locking plate, filter equipment passes through the reuse water connecting pipe and is connected with the high flush tank that is located the water tank top, produce the water pump and be located the pipeline of reuse water connecting pipe, aeration equipment includes fan and aeration pipe, the aeration pipe is located filter equipment's below. The utility model discloses equipment adopts the mode of vertical distribution to reduce the area of equipment, gets rid of oil molecule and other pollutants in the waste water simultaneously through unique filter membrane design, utilizes aeration equipment to reduce filter equipment's membrane pollution to through automatic back flush design improved the antipollution ability of equipment, reduce the running cost of cleaning frequency and equipment.
Description
Technical Field
The utility model relates to a sewage treatment technical field, concretely relates to carwash waste water filters retrieval and utilization equipment.
Background
With the rapid development of the automobile industry in China, the water for washing the automobile is also rapidly increased, a large amount of purified water is usually consumed in the automobile washing process, most of the automobile washing plants usually directly discharge the generated automobile washing wastewater into a sewage pipeline, and only a small part of the automobile washing plants can carry out advanced treatment or recycling on the wastewater. Generally, the price of water used in the car washing industry is about ten times that of common water, the water occupies a great proportion in the car washing cost, and along with the continuous implementation of national environmental protection policies, the water also has a stricter standard for pollution discharge in the car washing industry, so that the recycling of the car washing wastewater is hoped to achieve the purposes of saving the cost and reducing pollution discharge.
The existing technologies for treating and recycling car washing wastewater mainly comprise three types of treatment by a precipitation method, membrane method and biological and chemical oxidation methods, wherein the precipitation method has the defects of large equipment floor area, poor treatment effect and the like, cannot remove small-volume solid particles, is easy to damage car washing nozzles, and cannot completely remove oil stains in water; the biological and chemical oxidation method has larger occupied area, high operating cost and inconvenient management; although the membrane method has small occupied area and good treatment effect, the prior art still has the problems of serious membrane pollution, inconvenient use caused by frequent cleaning, high equipment cost, high operating cost and the like caused by low treatment capacity of unit membrane area.
Therefore, the existing membrane treatment technology is hoped to be improved, and a novel membrane treatment wastewater recycling device is designed to meet the requirements of good water purification effect, strong pollution resistance, convenient use, low operating cost and the like.
SUMMERY OF THE UTILITY MODEL
The utility model aims to overcome the above-mentioned not enough that exists among the prior art, and provide a carwash waste water retrieval and utilization environmental protection equipment that area is little, the filter effect is good, anti-pollution ability is strong, convenient to use, working costs are low.
The utility model provides a technical scheme that above-mentioned problem adopted is: this carwash waste water filters retrieval and utilization equipment, including water tank, working shaft, filter equipment, product water pump, head tank and aeration equipment, its characterized in that: the utility model discloses a high-order water tank, including water tank, working pump, filter equipment, aeration equipment, water supply pump, water tank, water production pump, water tank, control panel, water tank, water supply pump, waste water collecting tank, water tank, filter equipment, water tank, aeration equipment, fan and aeration pipe, the water tank is the square metal case of upper shed, and the control panel is installed to the upside of water tank, the working pump passes through the support mounting in the outside of water tank, and the working pump is connected with the waste water inlet pipe, the initiating terminal and the waste water collecting tank of waste water inlet pipe are linked together, and the end of waste water inlet pipe lets in the inside of water tank, and filter equipment's one end is connected with the reuse water connecting pipe, the reuse water connecting pipe links to each other with high-order. The water tank is the place that carries out the waste water filtration, the washing waste water passes through the geosyncline and converges back in the waste water collecting tank, get into the water tank through the waste water inlet tube under the effect of water supply pump and filter, the water tank takes the upper shed structure and both is convenient for observe the filtration condition in real time, the routine maintenance of the water tank of also being convenient for, high flush tank installs the top at the water tank, with the area that reduces equipment, also make when producing water pump stop work, hydroenergy in the high flush tank automatic backward flow carries out the back flush in filter equipment under no exogenic action. The filter device adopts a highly hydrophilic anti-oil pollution membrane, the membrane aperture is in the ultrafiltration and microfiltration level, the aperture distribution is uniform, the operation pressure is low, and the water yield per unit membrane area is large. Filter equipment links to each other with producing the water pump, when producing the water pump during operation, the inside atmospheric pressure of filter equipment is less than outside atmospheric pressure, play acceleration effect to waste water filtering process, the water purification that obtains after filter equipment filters collects in flowing into the high flush tank along reuse water connecting pipe, unnecessary water purification flows out from the overflow mouth of high flush tank side and supplies the carwash again to use, aeration equipment is used for carrying out aeration treatment to the waste water in the water tank, air is bloated into to the aeration pipe through the fan, the aperture effusion of air on from the aeration pipe forms fine and close bubble, make the waste water in the whole water tank be in abundant aeration state, can effectively reduce filter equipment's membrane pollution.
Preferably, the bottom of the water tank of the utility model is provided with a sewage discharge pipe, and a sewage pump or a sewage valve is arranged on the sewage discharge pipe. After a period of filtration, the pollutant in the waste water is gradually deposited at the bottom of the water tank, and the high-concentration sewage at the bottom of the water tank can be discharged by opening the sewage discharge valve of the sewage discharge pump on the sewage discharge pipe, so that the influence on the filtering effect of the waste water due to overhigh pollutant concentration is avoided.
As preferred, the utility model discloses a filter equipment includes end plate, well core rod, filter membrane and locking plate, filter membrane passes through the locking plate and closely arranges to be fixed and forms the membrane stack on well core rod, the end plate is installed at well core rod's both ends, and well core rod's one end is sealed, and the other end is connected with the reuse water connecting pipe. After the filter membrane is fixed on the center rod, the inside of the filter membrane and the inside of the center rod can realize the free circulation of water purification: during the filtering process, the filtered pure water flows into the central rod from the filtering membrane and then flows into the high-level water tank; during the back washing process, the clean water flows into the filtering membrane from the central rod to swell the membranes and enable the adjacent membranes to rub against each other, so that the pollutants attached to the surfaces and in the holes of the filtering membranes are washed away. The locking plate sets up to filter equipment provides reasonable wide runner of intaking, and the end plate at well core rod both ends plays the supporting role, makes the membrane stack form relative sealed space, helps improving the aeration effect, and the filter membrane piece can be changed alone to dismantle convenient quick, filter equipment's length can be according to the nimble adjustment in use place.
As preferred, the utility model discloses a filter membrane adopts flexible material to make, and filter membrane's inlayer is non-woven fabrics layer, and the skin is the functional layer. The filtering membrane made of flexible materials is contracted in a filtering stage and expanded in a backwashing stage, the functional layer can filter bacteria, oil stains, solid particles and partial surfactant in wastewater, and the functional layer is made of highly hydrophilic materials, so that oil pollutants can form spherical agglomerates on the surface of the membrane, and the cleaning difficulty of the filtering membrane is reduced.
Preferably, the utility model discloses a working shaft, product water pump and dredge pump or blowoff valve pass through control panel control. The preset program realizes the timing opening and closing of each pump, and improves the automation degree of the equipment.
As preferred, the utility model discloses a be equipped with flow monitoring module, vacuum monitoring module and control module on the control panel. Can carry out all-round regulation and control to equipment through the control panel, utilize flow monitoring module and vacuum monitoring module on the control panel can judge filtration membrane's pollution degree to can adjust the washing scheme in a flexible way.
Preferably, the utility model discloses a liquid level controller is installed to the end of waste water inlet tube. The liquid level controller is used for controlling the liquid level in the water tank to realize automatic water feeding and water replenishing stopping.
Compared with the prior art, the utility model, have following advantage and effect:
(1) the utility model discloses an equipment has adopted the mode of vertical distribution on the whole, has greatly reduced the area of equipment, the installation and the placing of the equipment of being convenient for.
(2) The utility model discloses used filter membrane can detach the oil molecule and other pollutants in the car wash waste water simultaneously, and filter membrane adopts highly hydrophilic material to make, makes the oil pollutant can form spherical coalescence on the membrane surface, reduces filter membrane's washing difficulty and cleaning frequency, is particularly suitable for handling oily waste water.
(3) The utility model discloses utilize aeration equipment to make the waste water in the water tank be in the aeration state when filtering to reduce filter equipment's membrane pollution, and utilize the back flush stage after the filtration to wash filter equipment, can show the antipollution ability who improves filter equipment, reduce the cleaning frequency, and the back flush process need not external force and participates in, and the water purification that washes used is for filtering the water purification, makes the working costs of equipment also lower.
Drawings
In order to illustrate the embodiments of the present invention or the solutions in the prior art more clearly, the drawings used in the description of the embodiments or the prior art will be briefly described below, and it is obvious that the drawings in the following description are some embodiments of the present invention, and other drawings can be obtained by those skilled in the art without creative efforts.
Fig. 1 is a schematic front view structure diagram of an embodiment of the present invention.
Fig. 2 is a schematic top view of a filtering apparatus according to an embodiment of the present invention.
Fig. 3 is a schematic top view of an aeration apparatus according to an embodiment of the present invention.
Fig. 4 is a schematic diagram of the relative positions of the filtering device and the aeration device according to the embodiment of the present invention.
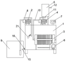
Description of reference numerals: 1. a water tank; 2. a water supply pump; 3. a filtration device; 4. a water production pump; 5. a high-level water tank; 6. an aeration device; 7. a control panel; 8. a wastewater inlet pipe; 9. a wastewater collection tank; 10. a reuse water connecting pipe; 11. a water inlet; 12. an overflow port; 13. a fan; 14. an aeration pipe; 15. a sewage discharge pipe; 16. a dredge pump or a dredge valve; 17. an end plate; 18. a center pole; 19. a filter membrane; 20. a locking plate; 21. a liquid level controller.
Detailed Description
The present invention will be described in further detail by way of examples with reference to the accompanying drawings, which are illustrative of the present invention and are not intended to limit the present invention.
Examples are given.
Referring to fig. 1 to 4, the car washing wastewater filtering and recycling device according to the embodiment of the present invention includes a water tank 1, a water supply pump 2, a filtering device 3, a water producing pump 4, a high level water tank 5, and an aeration device 6.
The water tank 1 of this embodiment is the square case of upper shed, and water tank 1 is the place of carrying out waste water filtration, and water tank 1 takes upper shed structure both to be convenient for observe the filtration condition in real time, also is convenient for the routine maintenance of water tank. Control panel 7 is installed to the upside of water tank 1, is equipped with flow monitoring module, vacuum monitoring module and control module on the control panel 7, can carry out all-round regulation and control to equipment through control panel 7.
The feed pump 2 of this embodiment passes through the upside of support mounting at water tank 1, feed pump 2 is connected with waste water inlet tube 8, waste water in waste water inlet tube 8's the initiating terminal and the waste water collecting pit 9 is linked together, the end lets in the inside of water tank 1, car washing waste water converges into waste water collecting pit 9 back through the geosyncline, let in the inside of water tank 1 through waste water inlet tube 8 under the effect of feed pump 2, liquid level controller 21 is installed to waste water inlet tube 8's end, a liquid level for in the control water tank 1, realize the automation of equipment and intake.
The inside at water tank 1 is installed to filter equipment 3 of this embodiment, filter equipment 3 includes end plate 17, well core rod 18, filtering diaphragm 19 and locking plate 20, wherein, filtering diaphragm 19 is fixed through locking plate 20 thick row and is formed the membrane stack on well core rod 18, make filtering diaphragm 19's inside and well core rod's inside can realize the free circulation of water purification, locking plate 20 sets up to filter equipment 3 and provides reasonable wide runner of intaking, end plate 17 installs the both ends at well core rod 18, mainly play the supporting role, and make the membrane stack form the space of relative seal, help improving the aeration effect, well core rod 18's one end is sealed, the other end is connected with reuse water connecting pipe 10.
The filtering membrane 19 of this embodiment is made of flexible material, the inner layer of the filtering membrane 19 is a non-woven fabric layer, the outer layer is a functional layer, the filtering membrane 19 made of flexible material can absorb and contract in the filtering stage, and swell in the backwashing stage, the functional layer can filter bacteria, oil stains, solid particulate matters and partial surfactant in the wastewater, the functional layer is made of highly hydrophilic material, so that oil pollutants can form spherical agglomerates on the membrane surface, and the cleaning difficulty of the filtering membrane can be effectively reduced. The filter membrane 19 of this embodiment can be changed alone to dismantle convenient quick, filter membrane 19's quantity and interval also can be according to the nimble adjustment in use place.
The filtering device 3 of the embodiment is communicated with a bottom water inlet 11 of a high-level water tank 5 arranged above the water tank 1 through a reuse water connecting pipe 10, the high-level water tank 5 is arranged at a high position, which is not only beneficial to reducing the floor area of equipment, but also can utilize gravitational potential energy to enable water in the high-level water tank 5 to automatically flow back into the filtering device 3 for backwashing without external force, and an overflow port 12 is arranged at the high position of the side surface of the high-level water tank 5, so that redundant filtered water can flow out from the overflow port 12 for reuse. The pipeline of the reuse water connecting pipe 10 is also provided with a water producing pump 4, the water producing pump 4 is arranged at the upper side of the water tank 1, when the water producing pump 4 works, the air pressure inside the filtering device 3 is smaller than the external air pressure, the wastewater is promoted to permeate into the filtering membrane 19, the wastewater filtering efficiency is improved, the filtered purified water can flow into the high-level water tank 5 from bottom to top along the reuse water connecting pipe 10 to be collected, when the water producing pump 4 stops working, the purified water in the high-level water tank 5 automatically flows back to back flush the filtering device 3, the purified water flows into the filtering membrane 19 from the center rod 18 from top to bottom along the reuse water connecting pipe 10, the filtering membrane 19 is cleaned, the membranes are also bulged after the purified water flows into the filtering membrane 19, the adjacent membranes rub with each other to promote the shedding of pollutants on the surfaces of the membranes and in the holes, and the back flushing process generally lasts. Each water pump is controlled by the control panel, and the interval and the time length of filtering and back flushing can be flexibly adjusted through a preset program, so that the automation degree of equipment is improved.
The aeration device 6 of this embodiment includes fan 13 and aeration pipe 14, fan 13 is installed in the side of water tank 1, aeration pipe 14 is installed in the inside of water tank 1 and is located the below of filter equipment 3, it has a plurality of apertures to process on the pipe wall of aeration pipe 14, aeration device 6 is used for carrying out aeration treatment to the waste water in water tank 1 at the filtration stage, air is blown into aeration pipe 14 through fan 13, the aperture of control follow aeration pipe 14 escapes and forms fine and close bubble, make the waste water in whole water tank 1 be in abundant aeration state, can effectively reduce filter equipment 3's membrane pollution.
The equipment of this embodiment filters the back through a period of time, and the bottom of water tank 1 can deposit certain pollutant, and consequently, this embodiment still is connected with sewage discharge pipe 15 in the bottom of water tank 1, installs dredge pump or blowoff valve 16 on the sewage discharge pipe 15, through sewage discharge pipe 15 regularly with the high concentration sewage discharge of water tank 1 bottom, avoids influencing the filter effect of waste water because of pollutant concentration is too high.
The pollution degree of the filtering device 3 can be judged through the flow monitoring module and the vacuum degree monitoring module on the control panel 7, when the pollution degree is high, the back washing effect is limited, so that the filtering device 3 needs to be thoroughly cleaned by adopting a chemical cleaning method to ensure the wastewater treatment effect, and the chemical cleaning is usually performed once every 2-3 months.
In addition, it should be noted that the specific embodiments described in the present specification may be different in the components, the shapes of the components, the names of the components, and the like, and the above description is only an example of the structure of the present invention. All the equivalent changes or simple changes made according to the structure, characteristics and principle of the utility model are included in the protection scope of the utility model. Various modifications, additions and substitutions may be made by those skilled in the art without departing from the scope of the invention as defined in the accompanying claims.
Claims (7)
1. The utility model provides a carwash waste water filters retrieval and utilization equipment, includes water tank (1), working shaft (2), filter equipment (3), produces water pump (4), high flush tank (5) and aeration equipment (6), its characterized in that: the water tank (1) is a square metal tank with an upper opening, a control panel (7) is installed on the upper side of the water tank (1), a water supply pump (2) is installed on the outer side of the water tank (1) through a support, the water supply pump (2) is connected with a wastewater inlet pipe (8), the starting end of the wastewater inlet pipe (8) is communicated with a wastewater collecting tank (9), the tail end of the wastewater inlet pipe (8) is led into the water tank (1), a filtering device (3) is installed inside the water tank (1), one end of the filtering device (3) is connected with a reuse water connecting pipe (10), the reuse water connecting pipe (10) is connected with a bottom water inlet (11) of the high-level water tank (5), a water production pump (4) is located on a pipeline of the reuse water connecting pipe (10), an overflow port (12) is arranged at the high position of the side face of the high-level water tank (5), and an aeration device (6) comprises, the fan (13) is arranged on the outer side of the water tank (1), the aeration pipe (14) is arranged in the water tank (1) and is positioned below the filtering device (3), and a plurality of small holes are processed on the pipe wall of the aeration pipe (14).
2. The car washing wastewater filtering and recycling device according to claim 1, characterized in that: the bottom of the water tank (1) is provided with a sewage discharge pipe (15), and a sewage discharge pump or a sewage discharge valve (16) is arranged on the sewage discharge pipe (15).
3. The car washing wastewater filtering and recycling device according to claim 1, characterized in that: filter equipment (3) are including end plate (17), well core rod (18), filtering diaphragm (19) and locking plate (20), filtering diaphragm (19) are fixed through locking plate (20) close packing and are formed the membrane heap on well core rod (18), the both ends at well core rod (18) are installed in end plate (17), and the one end of well core rod (18) is sealed, and the other end is connected with reuse water connecting pipe (10).
4. The car washing wastewater filtering and recycling device according to claim 3, characterized in that: the filtering membrane (19) is made of flexible materials, the inner layer of the filtering membrane (19) is a non-woven fabric layer, and the outer layer of the filtering membrane is a functional layer.
5. The car washing wastewater filtering and recycling device according to claim 1, characterized in that: the water supply pump (2), the water production pump (4) and the sewage pump or the sewage valve (16) are controlled by the control panel (7).
6. The car washing wastewater filtering and recycling device according to claim 1, characterized in that: and the control panel (7) is provided with a flow monitoring module, a vacuum degree monitoring module and a control module.
7. The car washing wastewater filtering and recycling device according to claim 1, characterized in that: and a liquid level controller (21) is arranged at the tail end of the wastewater inlet pipe (8).
Priority Applications (1)
| Application Number | Priority Date | Filing Date | Title |
|---|---|---|---|
| CN202020839092.3U CN212655522U (en) | 2020-05-19 | 2020-05-19 | Car washing wastewater filtering and recycling equipment |
Applications Claiming Priority (1)
| Application Number | Priority Date | Filing Date | Title |
|---|---|---|---|
| CN202020839092.3U CN212655522U (en) | 2020-05-19 | 2020-05-19 | Car washing wastewater filtering and recycling equipment |
Publications (1)
| Publication Number | Publication Date |
|---|---|
| CN212655522U true CN212655522U (en) | 2021-03-05 |
Family
ID=74747212
Family Applications (1)
| Application Number | Title | Priority Date | Filing Date |
|---|---|---|---|
| CN202020839092.3U Active CN212655522U (en) | 2020-05-19 | 2020-05-19 | Car washing wastewater filtering and recycling equipment |
Country Status (1)
| Country | Link |
|---|---|
| CN (1) | CN212655522U (en) |
Cited By (2)
| Publication number | Priority date | Publication date | Assignee | Title |
|---|---|---|---|---|
| CN111517415A (en) * | 2020-05-19 | 2020-08-11 | 杭州赛菲膜分离技术有限公司 | A kind of car washing waste water filtration and reuse equipment and application method thereof |
| CN117142716A (en) * | 2023-09-28 | 2023-12-01 | 梁维安 | A standardized, low-carbon, modular water purification system |
-
2020
- 2020-05-19 CN CN202020839092.3U patent/CN212655522U/en active Active
Cited By (2)
| Publication number | Priority date | Publication date | Assignee | Title |
|---|---|---|---|---|
| CN111517415A (en) * | 2020-05-19 | 2020-08-11 | 杭州赛菲膜分离技术有限公司 | A kind of car washing waste water filtration and reuse equipment and application method thereof |
| CN117142716A (en) * | 2023-09-28 | 2023-12-01 | 梁维安 | A standardized, low-carbon, modular water purification system |
Similar Documents
| Publication | Publication Date | Title |
|---|---|---|
| CN201283274Y (en) | Automatic cleaning microfiltration membrane device | |
| CN105478016A (en) | An automatic backwash scraping tube membrane filter device | |
| CN204973194U (en) | Circulation szyrt washes filter | |
| CN212655522U (en) | Car washing wastewater filtering and recycling equipment | |
| CN210131443U (en) | Internal water inlet type rotary screen for sewage treatment | |
| CN204996189U (en) | Other system of straining of integrated multi -ported valve circulating water | |
| CN108905320B (en) | Active sand filter | |
| CN101172699B (en) | Improved method of mixed backwashing with air and water in biological aerated filter | |
| CN212236121U (en) | Shallow sand filter | |
| CN109437490B (en) | Harmless treatment equipment for high-concentration organic wastewater in farm | |
| CN215654157U (en) | Small felt rotary micro-filter | |
| CN202246241U (en) | Dynamic membrane bioreactor | |
| CN215103667U (en) | Environment-friendly electroplating pool | |
| CN114275844B (en) | Container immersed membrane filtering device and flushing control method thereof | |
| CN2810718Y (en) | High-speed high-efficiency energy-saving filter | |
| CN220328956U (en) | Oxidation tail gas treatment system of phenol acetone device | |
| CN210094382U (en) | An aquatic product circulating water culture laboratory breeding device | |
| CN208927731U (en) | A kind of high-purity urea for vehicle automatic production device | |
| CN208193874U (en) | A kind of anti-clogging filter pool | |
| CN214031832U (en) | Aeration-membrane-free solid-liquid separation device | |
| CN221319592U (en) | MBR membrane sewage purification device | |
| CN223239950U (en) | Sewage circulation is with filtering sediment device | |
| CN206142851U (en) | Float and wash riser filtration equipment | |
| CN221107386U (en) | High-efficiency low-cost raw water treatment device | |
| CN221014796U (en) | Anti-pollution pore-adjusting filter |
Legal Events
| Date | Code | Title | Description |
|---|---|---|---|
| GR01 | Patent grant | ||
| GR01 | Patent grant |