CN212626758U - A support device for electrical automation equipment of switch cabinet - Google Patents

A support device for electrical automation equipment of switch cabinet Download PDF

Info

Publication number
CN212626758U
CN212626758U CN202021721556.7U CN202021721556U CN212626758U CN 212626758 U CN212626758 U CN 212626758U CN 202021721556 U CN202021721556 U CN 202021721556U CN 212626758 U CN212626758 U CN 212626758U
Authority
CN
China
Prior art keywords
plate
backup pad
switch cabinet
electrical automation
sliding
Prior art date
Legal status (The legal status is an assumption and is not a legal conclusion. Google has not performed a legal analysis and makes no representation as to the accuracy of the status listed.)
Expired - Fee Related
Application number
CN202021721556.7U
Other languages
Chinese (zh)
Inventor
王闯
Current Assignee (The listed assignees may be inaccurate. Google has not performed a legal analysis and makes no representation or warranty as to the accuracy of the list.)
Individual
Original Assignee
Individual
Priority date (The priority date is an assumption and is not a legal conclusion. Google has not performed a legal analysis and makes no representation as to the accuracy of the date listed.)
Filing date
Publication date
Application filed by Individual filed Critical Individual
Priority to CN202021721556.7U priority Critical patent/CN212626758U/en
Application granted granted Critical
Publication of CN212626758U publication Critical patent/CN212626758U/en
Expired - Fee Related legal-status Critical Current
Anticipated expiration legal-status Critical

Links

Images

Landscapes

  • Patch Boards (AREA)

Abstract

本实用新型公开了一种开关柜电气自动化设备的支撑装置,包括支撑板,支撑板上设有转动孔,转动孔内插设有调节杆,调节杆上对称设有斜螺纹,支撑板上端对称设有滑槽,转动孔连通于滑槽,滑槽内滑动配合有滑块,支撑板上端两侧滑块上对称装设有斜齿块,斜螺纹啮合连接于斜齿块,滑块装设在紧固板上,紧固板内侧装设有若干个顶推弹簧,顶推弹簧装设在压板上,调节杆一侧装设有旋把。通过在滑槽内滑动配合的滑块上装设有斜齿块,斜螺纹啮合连接于斜齿块,使转动旋把时,支撑板上端对称装设有的滑块进行相对运动,装设在滑块上端的紧固板通过压板对开关柜进行有效的紧固作用,适用范围更广。

Figure 202021721556

The utility model discloses a support device for electrical automation equipment of a switch cabinet, comprising a support plate, a rotation hole is arranged on the support plate, an adjustment rod is inserted in the rotation hole, the adjustment rod is symmetrically provided with oblique threads, and the upper end of the support plate is symmetrical There is a chute, the rotation hole is communicated with the chute, a sliding block is slidably fitted in the chute, and helical gear blocks are symmetrically installed on the two sides of the sliding block at the upper end of the support plate. On the tightening plate, a plurality of push springs are arranged on the inner side of the tightening plate, the push springs are arranged on the pressing plate, and a knob is arranged on one side of the adjusting rod. A helical gear block is installed on the sliding block slidingly matched in the chute, and the helical thread is engaged with the helical gear block, so that when the knob is rotated, the sliding block symmetrically installed on the upper end of the support plate moves relatively, and the helical gear block is installed on the sliding block. The fastening plate at the upper end of the block can effectively fasten the switch cabinet through the pressing plate, and the application range is wider.

Figure 202021721556

Description

Supporting device of switch cabinet electrical automation equipment
Technical Field
The utility model belongs to the technical field of the cubical switchboard accessory, concretely relates to cubical switchboard electrical automation equipment's strutting arrangement.
Background
The switch cabinet is an electrical device, the external line of the switch cabinet firstly enters a main control switch in the cabinet and then enters a branch control switch, and each branch is arranged according to the requirement. Such as meters, automatic controls, magnetic switches of motors, various alternating current contactors, and the like, some of which are also provided with high-voltage chambers and low-voltage chamber switch cabinets, and high-voltage buses, such as power plants, and some of which are also provided with low-frequency load shedding for keeping main equipment.
The main function of the switch cabinet is to open and close, control and protect electric equipment in the process of power generation, power transmission, power distribution and electric energy conversion of an electric power system. The components in the switch cabinet mainly comprise a circuit breaker, an isolating switch, a load switch, an operating mechanism, a mutual inductor, various protection devices and the like. The classification methods of the switch cabinets are various, for example, the switch cabinets can be divided into movable switch cabinets and fixed switch cabinets by the installation mode of the circuit breaker; or according to different cabinet body structures, the cabinet body can be divided into an open type switch cabinet, a metal closed switch cabinet and a metal closed armored switch cabinet; the high-voltage switch cabinet, the medium-voltage switch cabinet, the low-voltage switch cabinet and the like can be divided according to different voltage grades. The method is mainly suitable for various occasions such as power plants, transformer substations, petrochemical industry, metallurgical steel rolling, light industrial textile, industrial and mining enterprises, residential districts, high-rise buildings and the like. Switch cabinet is in the installation, because inside has laid more electrical component, need put into strutting arrangement with it and use, avoid ground humidity etc. to cause the influence to the switch cabinet, current strutting arrangement comprises the backing plate usually, the backing plate upper end is equipped with the standing groove of chiseling in advance, in the installation switch cabinet, hang it with the machinery of lifting by crane, later place the backing plate of take the altitude in the installing region, with the switch cabinet handling to the standing groove on the backing plate can, the weak point of existence has, switch cabinet kind is various, the volume is not of uniform size, need prepare a plurality of backing plates when placing different switch cabinets, and current backing plate does not do any fastening measure to the switch cabinet, there is the little and firm poor problem of effect of current switch cabinet strutting arrangement application scope.
SUMMERY OF THE UTILITY MODEL
An object of the utility model is to provide a cubical switchboard electric automation equipment's strutting arrangement to solve the little and firm poor problem of effect of cubical switchboard strutting arrangement application scope that exists among the prior art.
In order to achieve the above object, the utility model provides a following technical scheme: the utility model provides a strutting arrangement of cubical switchboard electrical automation equipment, includes the backup pad, be equipped with the rotation hole in the backup pad, it is equipped with the regulation pole to rotate downthehole interpolation, the symmetry is equipped with oblique screw thread on the regulation pole, backup pad upper end symmetry is equipped with the spout, rotate the hole communicate in the spout, sliding fit has the slider in the spout, oblique tooth piece has been installed to the symmetry on the slider of backup pad upper end both sides, oblique thread engagement connect in oblique tooth piece, the slider is installed on the mounting plate, a plurality of top pushes away the spring has been installed to the mounting plate inboard, top pushes away the spring and installs on the clamp plate, it revolves the handle to install regulation pole one.
Preferably, the rotating hole is provided with connecting blocks on two sides, bearings are arranged in the connecting blocks, and the adjusting rod penetrates through the bearings.
Preferably, the protection block has been installed to the clamp plate inboard, the limiting plate has been installed to backup pad upper end both sides, be equipped with the spacing hole of a plurality of on the limiting plate, the mounting plate facial make-up is equipped with a plurality of gag lever post, the gag lever post run through in spacing hole.
Preferably, the lower end of the supporting plate is provided with a groove, an electric push rod and a plurality of sliding rods are arranged in the groove, the lower end of the electric push rod is provided with a connecting plate, the connecting plate is provided with a plurality of sliding holes, the sliding rods are in sliding fit with the sliding holes, and the lower end of the connecting plate is provided with a plurality of rollers.
Compared with the prior art, the beneficial effects of the utility model are that:
the utility model provides a strutting arrangement of cubical switchboard electrical automation equipment through being equipped with the recess at the backup pad lower extreme, the built-in electric putter that is equipped with of recess, and the connecting plate has been installed to the electric putter lower extreme, and the connecting plate facial make-up is equipped with a plurality of gyro wheel, and when needs remove the backup pad, only need connect the electric putter power end on external supply socket, starts electric putter and makes the connecting plate move down, with the backup pad jack-up behind the gyro wheel contact ground, to the backup pad remove can, convenient to use.
The utility model provides a supporting device of cubical switchboard electrical automation equipment through being equipped with the rotation hole in the backup pad, adjusts the pole and inserts and establish it is downthehole to rotate, and the symmetry is equipped with oblique screw thread on the regulation pole, rotates the spout that hole and backup pad upper end symmetry were equipped with and is linked together, and sliding fit's slider facial make-up is equipped with oblique tooth piece in the spout, and oblique thread engagement connects in oblique tooth piece, makes to rotate when revolving, the slider relative motion that backup pad upper end symmetry was installed, installs the mounting plate of slider upper end and carries out effectual fastening effect through the clamp plate to the cubical switchboard, and firm effectual, application scope is wider.
Drawings
FIG. 1 is a partially cut-away front view of the present invention;
FIG. 2 is a schematic right-side view of FIG. 1;
FIG. 3 is a schematic top view of FIG. 1;
FIG. 4 is a partial cutaway view of the right side at A-A of FIG. 1;
FIG. 5 is an enlarged view of a portion a of FIG. 1;
FIG. 6 is an enlarged view of the portion b of FIG. 4;
fig. 7 is an enlarged schematic view of fig. 1 at c.
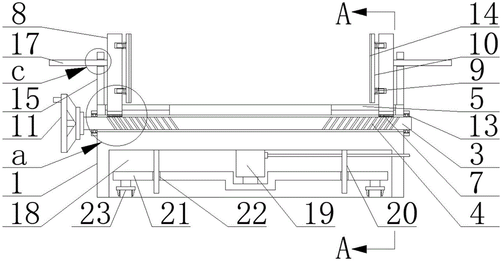
In the figure: the device comprises a supporting plate 1, a rotating hole 2, an adjusting rod 3, an inclined thread 4, a sliding groove 5, a sliding block 6, an inclined tooth block 7, a fastening plate 8, a pushing spring 9, a pressing plate 10, a rotating handle 11, a connecting block 12, a bearing 13, a protective block 14, a limiting plate 15, a limiting hole 16, a limiting rod 17, a groove 18, an electric push rod 19, a sliding rod 20, a connecting plate 21, a sliding hole 22 and a roller 23.
Detailed Description
The technical solution in the embodiments of the present invention will be clearly and completely described below with reference to the accompanying drawings in the embodiments of the present invention.
Referring to FIGS. 1, 2 and 3, fig. 4, fig. 5 and fig. 6, a strutting arrangement of cubical switchboard electrical automation equipment, including backup pad 1, be equipped with rotation hole 2 in backup pad 1, 2 both sides welding in rotation hole have connecting block 12, connecting block 12 is the loop configuration, interference fit has bearing 13 in connecting block 12, the bearing 13 model is 628/7-2RS/P63, adjust 3 interference fit of pole on the inner race of bearing 13, it has regulation pole 3 to insert in rotation hole 2, the symmetry is equipped with oblique screw thread 4 on adjusting pole 3, both sides oblique screw thread 4 is reverse setting, backup pad 1 upper end symmetry is equipped with spout 5, rotation hole 2 communicates in spout 5, sliding fit has slider 6 in spout 5, symmetrical welding has oblique tooth piece 7 on backup pad 1 upper end both sides slider 6, oblique tooth piece 7 opposite direction on the slider 6 of both sides, oblique screw thread 4 meshing is connected in oblique tooth piece 7.
Referring to fig. 1, 2, 3, 4 and 7, a sliding block 6 is welded on a fastening plate 8, 4 pushing springs 9 are welded on the inner side of the fastening plate 8, the pushing springs 9 are welded on a pressing plate 10, the initial state of the pushing springs 9 is a compression state, the pushing springs 9 enable the pressing plate 10 to be firmly compacted on a switch cabinet and have a certain buffering and damping function, a protection block 14 is connected on the inner side of the pressing plate 10 in a bonding manner, the protection block 14 is made of soft rubber material to avoid the pressing plate 10 from extruding and damaging the outer wall of the switch cabinet, limiting plates 15 are welded on two sides of the upper end of a supporting plate 1, 2 limiting holes 16 are arranged on the limiting plates 15, 2 limiting rods 17 are welded on the fastening plate 8, the limiting rods 17 penetrate through the limiting holes 16, a knob 11 is welded on the left side of an adjusting rod 3, the knob 11 is convenient for rotating the adjusting rod 3, a groove 18 is arranged at the lower end of, the model of the electric push rod 19 is DTIA300-500, the lower end of the electric push rod 19 is welded with a connecting plate 21, 4 sliding holes 22 are formed in the connecting plate 21, a sliding rod 20 is in sliding fit with the sliding holes 22, the sliding rod 20 plays a limiting role in the connecting plate 21, the connecting plate 21 is prevented from inclining in a long-term use process, the stability of the structure is improved, 4 rollers 23 are welded at the lower end of the connecting plate 21, the model of each roller 23 is C1-12A100-12G, and the rollers 23 facilitate movement of the supporting plate 1.
When the switch cabinet needs to be installed, an operator connects the power end of the electric push rod 19 to an external power socket, the electric push rod 19 is started, the telescopic rod of the electric push rod 19 moves downwards to enable the connecting plate 21 at the lower end to move downwards, the lower end of the connecting plate 21 is provided with the roller 23, the roller 23 is contacted with the ground and then jacks up the supporting plate 1 under the action of the electric push rod 19, then the electric push rod 19 is stopped, the operator only needs to push the supporting plate 1, after the electric push rod is moved to a working area, the operator moves back the electric push rod 19 to enable the roller 23 and the connecting plate 21 to be recovered and arranged in the groove 18, then the operator hoists the switch cabinet to the upper end of the supporting plate 1 to enable the switch cabinet to be positioned between the fastening plates 8, at the moment, the distance between the switch cabinet and the upper end of the supporting plate 1 is 3, it rotates to 11 drive regulation pole 3 soon, because the symmetry is equipped with oblique screw thread 4 on adjusting pole 3, oblique screw thread 4 meshing is connected in oblique tooth piece 7, adjust pole 3 and rotate 2 internal idle rotations in hole under the effect of bearing 13, make mounting plate 8 carry out the phase shift in spout 5 through oblique tooth piece 7, mounting plate 8 fixes a position unsettled cubical switchboard, later handling machinery finely tune the position of cubical switchboard afterwards it puts into backup pad 1 upper end can, continue rotatory 11 soon, make clamp plate 10 on the mounting plate 8 hug closely on the cubical switchboard outer wall, carry out effectual fixing to it, and bonding connection protects the cubical switchboard outer wall at the inboard protective block 14 of clamp plate 10, avoid producing the extrusion damage.

Claims (4)

1. The utility model provides a strutting arrangement of cubical switchboard electrical automation equipment, includes backup pad (1), its characterized in that: be equipped with on backup pad (1) and rotate hole (2), it is equipped with regulation pole (3) to rotate hole (2) interpolation, it is equipped with oblique screw thread (4) to adjust pole (3) to go up the symmetry, backup pad (1) upper end symmetry is equipped with spout (5), rotate hole (2) communicate in spout (5), sliding fit has slider (6) in spout (5), oblique tooth piece (7) have been installed to the symmetry on backup pad (1) upper end both sides slider (6), oblique screw thread (4) meshing connect in oblique tooth piece (7), install on mounting plate (8) slider (6), a plurality of top pushes away spring (9) have been installed to mounting plate (8) inboard, top pushes away spring (9) and installs on clamp plate (10), it revolves (11) to install regulation pole (3) one side.
2. The supporting device of an electrical automation apparatus of a switchgear cabinet as claimed in claim 1, characterized in that: connecting blocks (12) are installed on two sides of the rotating hole (2), a bearing (13) is installed in each connecting block (12), and the adjusting rod (3) penetrates through the bearing (13).
3. The supporting device of an electrical automation apparatus of a switchgear cabinet as claimed in claim 1, characterized in that: protection block (14) have been installed to clamp plate (10) inboard, limiting plate (15) have been installed to backup pad (1) upper end both sides, be equipped with a plurality of spacing hole (16) on limiting plate (15), mounting plate (8) facial make-up is equipped with a plurality of gag lever post (17), gag lever post (17) run through in spacing hole (16).
4. The supporting device of an electrical automation apparatus of a switchgear cabinet as claimed in claim 3, characterized in that: the improved structure is characterized in that a groove (18) is formed in the lower end of the supporting plate (1), an electric push rod (19) and a plurality of sliding rods (20) are arranged in the groove (18), a connecting plate (21) is arranged at the lower end of the electric push rod (19), a plurality of sliding holes (22) are formed in the connecting plate (21), the sliding rods (20) are in sliding fit with the sliding holes (22), and a plurality of rollers (23) are arranged at the lower end of the connecting plate (21).
CN202021721556.7U 2020-08-18 2020-08-18 A support device for electrical automation equipment of switch cabinet Expired - Fee Related CN212626758U (en)

Priority Applications (1)

Application Number Priority Date Filing Date Title
CN202021721556.7U CN212626758U (en) 2020-08-18 2020-08-18 A support device for electrical automation equipment of switch cabinet

Applications Claiming Priority (1)

Application Number Priority Date Filing Date Title
CN202021721556.7U CN212626758U (en) 2020-08-18 2020-08-18 A support device for electrical automation equipment of switch cabinet

Publications (1)

Publication Number Publication Date
CN212626758U true CN212626758U (en) 2021-02-26

Family

ID=74713270

Family Applications (1)

Application Number Title Priority Date Filing Date
CN202021721556.7U Expired - Fee Related CN212626758U (en) 2020-08-18 2020-08-18 A support device for electrical automation equipment of switch cabinet

Country Status (1)

Country Link
CN (1) CN212626758U (en)

Cited By (1)

* Cited by examiner, † Cited by third party
Publication number Priority date Publication date Assignee Title
CN115425543A (en) * 2022-11-03 2022-12-02 山东云通信息科技股份有限公司 Switch cabinet with leveling device

Cited By (1)

* Cited by examiner, † Cited by third party
Publication number Priority date Publication date Assignee Title
CN115425543A (en) * 2022-11-03 2022-12-02 山东云通信息科技股份有限公司 Switch cabinet with leveling device

Similar Documents

Publication Publication Date Title
CN209133912U (en) A kind of isolated distribution box
CN212626758U (en) A support device for electrical automation equipment of switch cabinet
CN206864902U (en) A kind of Novel switch cabinet
CN111396708B (en) Transformer substation monitoring device
CN210920780U (en) Rotary monitoring tower
CN214280519U (en) Novel distributed process control cabinet
CN209948412U (en) Built-in movable module's cubical switchboard
CN203895841U (en) Wire supporter
CN107171216A (en) A kind of separate assembling ring main unit
CN108075256A (en) Electric system power transformation is safeguarded for arrangements of electric connection
CN216672318U (en) Cubical switchboard installation device
CN215579856U (en) Supporting device of switch cabinet electrical automation equipment
CN214162900U (en) Auxiliary supporting device based on switch cabinet installation
CN212485831U (en) Safety switch cabinet convenient to overhaul
CN213459551U (en) Strut type outdoor on-column vacuum circuit breaker
CN212648992U (en) But angle regulation's cable testing bridge
CN213278724U (en) High-grade protection waterproof switch cabinet frame structure
CN209805353U (en) Fixing and supporting device for bus duct
CN210779646U (en) Block terminal convenient to maintain
CN208433343U (en) A kind of outdoor high voltage vacuum circuit breaker
CN209133858U (en) A kind of switchgear set convenient for regulating switch seat
CN215528246U (en) Switch cabinet with electric appliance element mounting structure
CN214227582U (en) Support appurtenance in block terminal
CN212343170U (en) Cable setting device for electric tn-s power supply system
CN215008048U (en) Outdoor boundary vacuum circuit breaker

Legal Events

Date Code Title Description
GR01 Patent grant
GR01 Patent grant
CF01 Termination of patent right due to non-payment of annual fee
CF01 Termination of patent right due to non-payment of annual fee

Granted publication date: 20210226