CN212609394U - Distribution maintenance is with overhauing auxiliary device - Google Patents

Distribution maintenance is with overhauing auxiliary device Download PDF

Info

Publication number
CN212609394U
CN212609394U CN202021070876.0U CN202021070876U CN212609394U CN 212609394 U CN212609394 U CN 212609394U CN 202021070876 U CN202021070876 U CN 202021070876U CN 212609394 U CN212609394 U CN 212609394U
Authority
CN
China
Prior art keywords
plate
seat
auxiliary device
connecting block
distribution maintenance
Prior art date
Legal status (The legal status is an assumption and is not a legal conclusion. Google has not performed a legal analysis and makes no representation as to the accuracy of the status listed.)
Active
Application number
CN202021070876.0U
Other languages
Chinese (zh)
Inventor
王振华
魏冰鲜
Current Assignee (The listed assignees may be inaccurate. Google has not performed a legal analysis and makes no representation or warranty as to the accuracy of the list.)
Anyang Power Supply Co of State Grid Henan Electric Power Co Ltd
Original Assignee
Anyang Power Supply Co of State Grid Henan Electric Power Co Ltd
Priority date (The priority date is an assumption and is not a legal conclusion. Google has not performed a legal analysis and makes no representation as to the accuracy of the date listed.)
Filing date
Publication date
Application filed by Anyang Power Supply Co of State Grid Henan Electric Power Co Ltd filed Critical Anyang Power Supply Co of State Grid Henan Electric Power Co Ltd
Priority to CN202021070876.0U priority Critical patent/CN212609394U/en
Application granted granted Critical
Publication of CN212609394U publication Critical patent/CN212609394U/en
Active legal-status Critical Current
Anticipated expiration legal-status Critical

Links

Images

Landscapes

  • Forklifts And Lifting Vehicles (AREA)

Abstract

本实用新型公开了一种配电维修用检修辅助装置,包括移动车,所述移动车上安装有支撑机构,所述移动车上方设置有升降机构,所述升降机构包括安装座、连接板、电机,所述安装座上设置有所述连接板,所述连接板下端面安装有所述电机,所述连接板上端面设置有滑杠,所述滑杠一侧设置有丝杠,所述丝杠上安装有升降座,所述升降座前部设置有靠板,所述靠板前部设置有坐板,所述坐板上方安装有安全带。本实用新型结构简单,设计合理,生产成本低,极大的方便对工人进行升降,同时增加舒适性与安全性,方便对配电箱进行维护,实用性高。

Figure 202021070876

The utility model discloses a maintenance auxiliary device for power distribution maintenance. The motor, the connecting plate is provided on the mounting seat, the motor is mounted on the lower end surface of the connecting plate, the upper end surface of the connecting plate is provided with a sliding rod, and one side of the sliding rod is provided with a lead screw, the A lift seat is installed on the lead screw, a front part of the lift seat is provided with a backing plate, a front part of the backrest is provided with a seat plate, and a safety belt is installed above the seat plate. The utility model is simple in structure, reasonable in design, low in production cost, greatly facilitates lifting and lowering of workers, increases comfort and safety, facilitates maintenance of distribution boxes, and has high practicability.

Figure 202021070876

Description

Distribution maintenance is with overhauing auxiliary device
Technical Field
The utility model relates to a distribution maintenance technical field especially relates to a distribution maintenance is with overhauing auxiliary device.
Background
The distribution box is a mass parameter on data, generally forms a low-voltage forest according to electrical wiring, and requires that a switch device, a measuring instrument, a protective electrical appliance and an auxiliary device are assembled in a closed or semi-closed metal cabinet or on a screen to form the low-voltage distribution box. In normal operation, the circuit can be switched on or off by means of a manual or automatic switch.
The distribution box has the characteristics of small volume, simple and convenient installation, special technical performance, fixed position, unique configuration function, no field limitation, universal application, stable and reliable operation, high space utilization rate, less occupied area and environmental protection effect. The intelligent power distribution circuit can reasonably distribute electric energy, is convenient for opening and closing the circuit, has higher safety protection level, and can visually display the conduction state of the circuit.
In the block terminal maintenance process, some block terminals are higher, and the workman all maintains through the ladder usually, and is not only inconvenient like this, has the potential safety hazard moreover.
SUMMERY OF THE UTILITY MODEL
An object of the utility model is to provide a distribution maintenance is with overhauing auxiliary device just in order to solve above-mentioned problem.
The utility model discloses a following technical scheme realizes above-mentioned purpose:
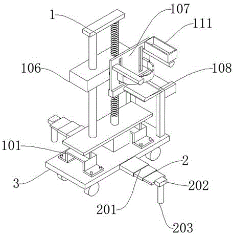
the utility model provides a distribution maintenance is with overhauing auxiliary device, includes the locomotive, install supporting mechanism on the locomotive, the locomotive top is provided with elevating system, elevating system includes mount pad, connecting plate, motor, be provided with on the mount pad the connecting plate, the terminal surface is installed under the connecting plate the motor, the connecting plate up end is provided with the smooth rod, smooth rod one side is provided with the lead screw, install the lift seat on the lead screw, lift seat front portion is provided with the backup plate, the backup plate front portion is provided with the seat, the safety belt is installed to the seat top, the safety belt top is provided with the handrail, install the toolbox on the handrail.
As a further aspect of the present invention, the support mechanism includes a retractable plate, a connecting block, and a support pillar, the retractable plate is provided with the connecting block, and the lower end surface of the connecting block is provided with the support pillar.
As a further scheme of the utility model, supporting mechanism includes electronic flexible post, connecting block, pillar, install on the electronic flexible post the connecting block, the terminal surface is provided with under the connecting block the pillar.
As a further aspect of the present invention, the connecting plate is welded to the mounting seat, and the motor is connected to the screw rod through a coupling.
As a further aspect of the present invention, the lifting seat is connected to the sliding bar in a sliding manner, the backup plate is welded to the lifting seat, and the seat plate is welded to the backup plate.
As a further proposal of the utility model, the sliding bar is welded on the upper end face of the connecting plate, and the upper end face of the seat plate is provided with a layer of spongy cushion.
As a further aspect of the present invention, the connecting block is installed through a bolt at the front end of the expansion plate.
Compared with the prior art, the beneficial effects of the utility model are that: through setting up elevating system and supporting mechanism, very big convenience goes up and down to the workman, increases travelling comfort and security simultaneously, and the convenience is maintained the block terminal, and the practicality is high.
Drawings
In order to more clearly illustrate the embodiments of the present invention or the technical solutions in the prior art, the drawings needed to be used in the description of the embodiments or the prior art will be briefly described below, it is obvious that the drawings in the following description are only some embodiments of the present invention, and for those skilled in the art, other drawings can be obtained according to these drawings without inventive exercise.
Fig. 1 is a perspective view of an embodiment 1 of an inspection and repair auxiliary device for power distribution maintenance according to the present invention;
fig. 2 is a front view of an embodiment 1 of an inspection and repair auxiliary device for power distribution maintenance according to the present invention;
fig. 3 is a left side view of an embodiment 1 of an overhaul auxiliary device for power distribution maintenance according to the present invention;
fig. 4 is a schematic structural view of a backup plate according to embodiment 1 of the maintenance auxiliary device for power distribution maintenance of the present invention;
fig. 5 is a schematic diagram of the supporting mechanism of embodiment 2 of the maintenance assisting device for power distribution maintenance.
The reference numerals are explained below:
1. a lifting mechanism; 2. a support mechanism; 3. a mobile vehicle; 101. a mounting seat; 102. a connecting plate; 103. a motor; 104. a slide bar; 105. a lead screw; 106. a lifting seat; 107. a backup plate; 108. a seat plate; 109. a seat belt; 110. a handrail; 111. a tool box; 201. a retractable plate; 202. connecting blocks; 203. a pillar; 204. electric telescopic column.
Detailed Description
In the description of the present invention, it is to be understood that the terms "center", "longitudinal", "lateral", "up", "down", "front", "back", "left", "right", "vertical", "horizontal", "top", "bottom", "inner", "outer", and the like, indicate orientations or positional relationships based on the orientations or positional relationships shown in the drawings, and are used merely for convenience of description and for simplicity of description, and do not indicate or imply that the device or element being referred to must have a particular orientation, be constructed and operated in a particular orientation, and therefore, should not be construed as limiting the present invention. Furthermore, the terms "first", "second", etc. are used for descriptive purposes only and are not to be construed as indicating or implying relative importance or implicitly indicating the number of technical features indicated. Thus, a feature defined as "first," "second," etc. may explicitly or implicitly include one or more of that feature. In the description of the present invention, "a plurality" means two or more unless otherwise specified.
In the description of the present invention, it is to be noted that, unless otherwise explicitly specified or limited, the terms "mounted," "connected," and "connected" are to be construed broadly, and may be, for example, fixedly connected, detachably connected, or integrally connected; can be mechanically or electrically connected; they may be connected directly or indirectly through intervening media, or they may be interconnected between two elements. The specific meaning of the above terms in the present invention can be understood by those of ordinary skill in the art through specific situations.
The present invention will be further explained with reference to the accompanying drawings.
Example 1
As shown in fig. 1, fig. 2, fig. 3 and fig. 4, the utility model provides a technical solution: the utility model provides a distribution maintenance is with overhauing auxiliary device, including locomotive 3, install supporting mechanism 2 on the locomotive 3, locomotive 3 top is provided with elevating system 1, elevating system 1 includes mount pad 101, connecting plate 102, motor 103, be provided with connecting plate 102 on the mount pad 101, motor 103 is installed to the terminal surface under the connecting plate 102, the connecting plate 102 up end is provided with slide bar 104, slide bar 104 one side is provided with lead screw 105, install lift seat 106 on the lead screw 105, lift seat 106 front portion is provided with backup plate 107, backup plate 107 front portion is provided with seat 108, safety belt 109 is installed to seat 108 top, safety belt 109 top is provided with handrail 110, install toolbox 111 on handrail 110.
On the basis of the above-described embodiment: the supporting mechanism 2 comprises a telescopic plate 201, a connecting block 202 and a strut 203, wherein the connecting block 202 is mounted on the telescopic plate 201, and the strut 203 is arranged on the lower end face of the connecting block 202; the connecting plate 102 is welded with the mounting seat 101, and the motor 103 is connected with the lead screw 105 through a coupler; the lifting seat 106 is connected with the sliding bar 104 in a sliding manner, the backup plate 107 is welded on the lifting seat 106, and the seat plate 108 is welded with the backup plate 107; the sliding bar 104 is welded on the upper end surface of the connecting plate 102, and a layer of sponge cushion is arranged on the upper end surface of the seat plate 108; the connecting block 202 is mounted at the front end of the expansion plate 201 through bolts.
The working principle is as follows: move the device to suitable place through locomotive 3, then lengthen expansion plate 201, make pillar 203 place in ground, increase the lifting surface area, guarantee the stability of device, then the workman sits on seat 108, lean against backup plate 107, fix safety belt 109 between the waist, can place repair tools in toolbox 111, then motor 103 drives lead screw 105 and rotates, make lift seat 106 rise along slide bar 104, it rises to drive backup plate 107, rise the workman to suitable height after, begin to maintain the switch board.
Example 2
As shown in fig. 5, embodiment 2 differs from embodiment 1 in that the support mechanism 2 includes an electric telescopic column 204, a connecting block 202, and a support column 203, the connecting block 202 is mounted on the electric telescopic column 204, and the support column 203 is provided on the lower end surface of the connecting block 202.
The extension of the telescopic plate 201 by hand is changed into the automatic extension of the electric telescopic column 204.
The foregoing illustrates and describes the principles, general features, and advantages of the present invention. It will be understood by those skilled in the art that the present invention is not limited to the above embodiments, and that the foregoing embodiments and descriptions are provided only to illustrate the principles of the present invention without departing from the spirit and scope of the present invention.

Claims (7)

1. The utility model provides a distribution maintenance is with overhauing auxiliary device, includes locomotive (3), its characterized in that: a supporting mechanism (2) is arranged on the moving vehicle (3), a lifting mechanism (1) is arranged above the moving vehicle (3), the lifting mechanism (1) comprises a mounting seat (101), a connecting plate (102) and a motor (103), the mounting seat (101) is provided with the connecting plate (102), the lower end face of the connecting plate (102) is provided with the motor (103), a sliding bar (104) is arranged on the upper end surface of the connecting plate (102), a screw rod (105) is arranged on one side of the sliding bar (104), a lifting seat (106) is arranged on the screw rod (105), a backup plate (107) is arranged at the front part of the lifting seat (106), a seat plate (108) is arranged at the front part of the backup plate (107), a safety belt (109) is arranged above the seat plate (108), an armrest (110) is arranged above the safety belt (109), and a tool box (111) is mounted on the armrest (110).
2. An overhaul auxiliary device for power distribution maintenance according to claim 1, wherein: the supporting mechanism (2) comprises a telescopic plate (201), a connecting block (202) and a supporting column (203), the connecting block (202) is installed on the telescopic plate (201), and the supporting column (203) is arranged on the lower end face of the connecting block (202).
3. An overhaul auxiliary device for power distribution maintenance according to claim 1, wherein: the supporting mechanism (2) comprises an electric telescopic column (204), a connecting block (202) and a supporting column (203), the connecting block (202) is installed on the electric telescopic column (204), and the supporting column (203) is arranged on the lower end face of the connecting block (202).
4. An overhaul auxiliary device for power distribution maintenance according to claim 1, wherein: the connecting plate (102) is welded with the mounting seat (101), and the motor (103) is connected with the lead screw (105) through a coupler.
5. An overhaul auxiliary device for power distribution maintenance according to claim 1, wherein: the lifting seat (106) is connected with the sliding bar (104) in a sliding mode, the backup plate (107) is welded to the lifting seat (106), and the seat plate (108) is welded to the backup plate (107).
6. An overhaul auxiliary device for power distribution maintenance according to claim 1, wherein: the sliding bar (104) is welded on the upper end face of the connecting plate (102), and a layer of sponge cushion is arranged on the upper end face of the seat plate (108).
7. An inspection and repair assistance device for power distribution maintenance according to claim 2, characterized in that: the connecting block (202) is installed at the front end of the expansion plate (201) through a bolt.
CN202021070876.0U 2020-06-11 2020-06-11 Distribution maintenance is with overhauing auxiliary device Active CN212609394U (en)

Priority Applications (1)

Application Number Priority Date Filing Date Title
CN202021070876.0U CN212609394U (en) 2020-06-11 2020-06-11 Distribution maintenance is with overhauing auxiliary device

Applications Claiming Priority (1)

Application Number Priority Date Filing Date Title
CN202021070876.0U CN212609394U (en) 2020-06-11 2020-06-11 Distribution maintenance is with overhauing auxiliary device

Publications (1)

Publication Number Publication Date
CN212609394U true CN212609394U (en) 2021-02-26

Family

ID=74715738

Family Applications (1)

Application Number Title Priority Date Filing Date
CN202021070876.0U Active CN212609394U (en) 2020-06-11 2020-06-11 Distribution maintenance is with overhauing auxiliary device

Country Status (1)

Country Link
CN (1) CN212609394U (en)

Cited By (1)

* Cited by examiner, † Cited by third party
Publication number Priority date Publication date Assignee Title
CN114239873A (en) * 2021-11-22 2022-03-25 国网山东省电力公司日照供电公司 Equipment of salvageing based on distribution network breaks down

Cited By (1)

* Cited by examiner, † Cited by third party
Publication number Priority date Publication date Assignee Title
CN114239873A (en) * 2021-11-22 2022-03-25 国网山东省电力公司日照供电公司 Equipment of salvageing based on distribution network breaks down

Similar Documents

Publication Publication Date Title
CN212609394U (en) Distribution maintenance is with overhauing auxiliary device
CN214189708U (en) Multifunctional tool vehicle integrating operation and maintenance of transformer substation
CN214833389U (en) Prefabricated bay window component
CN210508643U (en) Power equipment isolating device
CN217030894U (en) Building energy-saving construction device
CN210309475U (en) Adjusting device for CTP plate-making machine
CN110065913A (en) A kind of modular insulating overhead operating vehicle and high altitude operation method
CN213267579U (en) Municipal works road warning light
CN213743217U (en) Dedicated ladder of distribution fortune dimension
CN212626528U (en) Ring main unit electric operating mechanism
CN212022742U (en) Detachable power consumption detects tool bogie
CN216016124U (en) Supporting mechanism of switch cabinet electrical automation equipment
CN213416111U (en) Vehicle-mounted electric jack
CN213185172U (en) Electric motor car block terminal fixing device
CN213520801U (en) Power distribution cabinet with protective device
CN212011883U (en) Auxiliary device for electrical overhaul
CN216634318U (en) Nonporous lifting rotary tool platform of insulating bucket arm vehicle
CN221737667U (en) A modular vehicle charging pile unit
CN218886032U (en) Cab electric detection device
CN210181896U (en) Building electrical wiring display device
CN201158395Y (en) Multifunctional secondary wire station vehicle
CN112027983A (en) A kind of maintenance platform for substation
CN214898216U (en) Auxiliary operating mechanism of high-voltage alternating-current isolating switch operating mechanism box
CN219751858U (en) Hydraulic leveling device for working hopper of crawler-type insulating arm vehicle
CN220036060U (en) A kind of support equipment for bridge inspection

Legal Events

Date Code Title Description
GR01 Patent grant
GR01 Patent grant