CN212604207U - An advanced math plotter - Google Patents

An advanced math plotter Download PDF

Info

Publication number
CN212604207U
CN212604207U CN202021195201.9U CN202021195201U CN212604207U CN 212604207 U CN212604207 U CN 212604207U CN 202021195201 U CN202021195201 U CN 202021195201U CN 212604207 U CN212604207 U CN 212604207U
Authority
CN
China
Prior art keywords
sliding block
groove
ruler
piston
cylinder
Prior art date
Legal status (The legal status is an assumption and is not a legal conclusion. Google has not performed a legal analysis and makes no representation as to the accuracy of the status listed.)
Expired - Fee Related
Application number
CN202021195201.9U
Other languages
Chinese (zh)
Inventor
杨德彬
Current Assignee (The listed assignees may be inaccurate. Google has not performed a legal analysis and makes no representation or warranty as to the accuracy of the list.)
Harbin Huade University
Original Assignee
Harbin Huade University
Priority date (The priority date is an assumption and is not a legal conclusion. Google has not performed a legal analysis and makes no representation as to the accuracy of the date listed.)
Filing date
Publication date
Application filed by Harbin Huade University filed Critical Harbin Huade University
Priority to CN202021195201.9U priority Critical patent/CN212604207U/en
Application granted granted Critical
Publication of CN212604207U publication Critical patent/CN212604207U/en
Expired - Fee Related legal-status Critical Current
Anticipated expiration legal-status Critical

Links

Images

Abstract

本实用新型公开了一种高等数学绘图器,具体涉及高等数学技术领域,包括直尺、滑动块一、滑动块二、活塞一、活塞二、十字架凹槽、直线凹槽、固定装置,所述直尺一端滑动连接滑动块一,所述直尺中端滑动连接滑动块二,所述活塞一两侧滑动连接滑动块一,本实用新型通过滑动块一和滑动块二按十字架凹槽轨迹运动,使得可以准确的画出椭圆形尺寸,在十字架凹槽底部固定设有直线凹槽,直线凹槽表面设有刻度,使得卡笔机构二能准确的按直线凹槽轨迹运动,通过对固定装置的旋转,使得可以准确的绘画出圆形,又由于在直线凹槽底部加装了固定装置,使得绘图器可以更方便、更准确的绘画图形,又由于直尺可以拆卸,方便了使用者对直线的绘画。

Figure 202021195201

The utility model discloses an advanced mathematics plotter, in particular to the technical field of advanced mathematics, comprising a ruler, a first sliding block, a second sliding block, a first piston, a second piston, a cross groove, a straight groove and a fixing device. One end of the ruler is slidably connected to the sliding block 1, the middle end of the ruler is slidably connected to the sliding block 2, and the two sides of the piston 1 are slidably connected to the sliding block 1. The utility model uses the sliding block 1 and the sliding block 2 to move according to the trajectory of the cross groove. , so that the size of the ellipse can be accurately drawn, a straight groove is fixed at the bottom of the cross groove, and the surface of the straight groove is provided with a scale, so that the pen holder mechanism 2 can accurately move according to the trajectory of the straight groove. The rotation makes it possible to draw a circle accurately, and because the fixing device is installed at the bottom of the straight groove, the plotter can draw graphics more conveniently and accurately, and because the ruler can be disassembled, it is convenient for users to Straight line drawing.

Figure 202021195201

Description

Higher mathematics plotter
Technical Field
The utility model relates to an advanced mathematics field, concretely relates to advanced mathematics plotter.
Background
Advanced mathematics refers to for first-class mathematics, and the object and the method of mathematics are comparatively complicated part, for make the student learn to understand in place, improve advanced mathematics education and teaching's quality, the teacher will draw on the blackboard regularly in advanced mathematics teaching, and when the teacher draws now, can use ruler and compasses usually to draw various figures such as circular, oval through the chalk on the blackboard.
The prior art has the following defects: the existing advanced mathematics plotter is inconvenient to use, cannot draw conveniently and rapidly enough, does not have the characteristics of being capable of drawing circles, ellipses and straight lines simultaneously, cannot accurately draw the size of a graph, and cannot be well fixed on a blackboard for drawing.
Therefore, it is necessary to invent a high mathematics plotter.
SUMMERY OF THE UTILITY MODEL
Therefore, the embodiment of the utility model provides an advanced mathematics plotter can dismantle through the ruler, and the fixed sharp recess that is equipped with in cross recess bottom, and the card pen mechanism one and the card pen mechanism two are according to cross recess and sharp recess regulation orbit motion, and install fixing device additional in sharp recess bottom to solve the plotter can not accurate drawing simultaneously circular, oval, sharp, can not be fine fix the problem on the blackboard.
In order to achieve the above object, the embodiment of the present invention provides the following technical solutions: a high mathematics plotter comprises a straight ruler, a first sliding block, a second sliding block, a first piston, a second piston, a cross groove, a linear groove and a fixing device.
Preferably, ruler one end sliding connection sliding block one, ruler middle-end sliding connection sliding block two, piston one both sides sliding connection sliding block one, two both sides sliding connection sliding block two of piston, cross recess is inside to be fixed and is equipped with sliding block one and sliding block two, sliding block one and two both sides sliding connection cross recesses of sliding block, cross recess bottom is fixed and is equipped with sharp recess, the fixed fixing device that is equipped with of sharp recess one end.
Preferably, the first top of the sliding block is rotatably connected with the first dismounting screw, and the second top of the sliding block is rotatably connected with the second dismounting screw.
Preferably, four fixing blocks are fixedly arranged inside the cross groove, two ends of each fixing block are connected with the cross groove in a sliding mode, and one end of each fixing block is fixedly provided with a fixing screw.
Preferably, the other end of the straight scale is fixedly connected with the first pen clamping mechanism, and the linear groove is connected with the second pen clamping mechanism in a sliding mode.
Preferably, the pen clamping mechanism I comprises an L-shaped rod I, a cylinder I and an adjusting screw I, one end of the L-shaped rod is fixedly connected with the cylinder I, one side of the cylinder is rotatably connected with the adjusting screw I, the pen clamping mechanism II comprises an L-shaped rod II, a cylinder II and an adjusting screw II, two ends of the L-shaped rod are fixedly connected with the cylinder II, and one side of the cylinder II is rotatably connected with the adjusting screw II.
Preferably, the fixing device comprises a circular sucker, a small spring and a conical head, the small spring is fixedly arranged inside the circular sucker, and the bottom of the small spring is fixedly connected with the conical head.
The embodiment of the utility model provides a have following advantage:
the utility model discloses a sliding block one and sliding block two are according to cross recess orbit motion, make the oval size of drawing that can be accurate, at the fixed sharp recess that is equipped with in cross recess bottom, straight line recess surface is equipped with the scale, make the card pen mechanism two can be accurate according to straight line recess orbit motion, through the rotation to fixing device, make drawing that can be accurate go out circularly, because fixing device has been installed additional in straight line recess bottom again, make the plotter can be more convenient, more accurate drawing figure, again because the ruler can be dismantled, the drawing of user to the straight line has been made things convenient for.
Drawings
In order to more clearly illustrate the embodiments of the present invention or the technical solutions in the prior art, the drawings used in the description of the embodiments or the prior art will be briefly described below. It should be apparent that the drawings in the following description are merely exemplary, and that other embodiments can be derived from the drawings provided by those of ordinary skill in the art without inventive effort.
The structure, ratio, size and the like shown in the present specification are only used for matching with the content disclosed in the specification, so as to be known and read by people familiar with the technology, and are not used for limiting the limit conditions which can be implemented by the present invention, so that the present invention has no technical essential significance, and any structure modification, ratio relationship change or size adjustment should still fall within the scope which can be covered by the technical content disclosed by the present invention without affecting the efficacy and the achievable purpose of the present invention.
Fig. 1 is a front view provided by the present invention;
fig. 2 is a top view provided by the present invention;
fig. 3 is a partial view of a pen clamping mechanism i and a pen clamping mechanism ii provided by the present invention;
fig. 4 is a partial view of the circular suction cup provided by the present invention;
fig. 5 is a front view of embodiment 2 provided by the present invention.
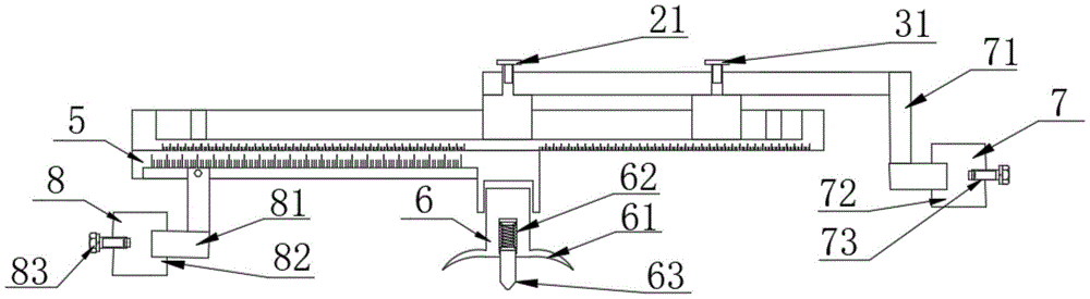
In the figure: the pen comprises a ruler 1, a first sliding block 2, a first piston 21, a first screw 22-detached screw, a second sliding block 3, a second piston 31, a second screw 32-detached screw, a cross groove 4, a fixed block 41, a fixed screw 42, a linear groove 5, a fixed device 6, a circular sucker 61, a small spring 62, a conical head 63, a pen 7-clamping mechanism I, a first 71L-shaped rod 72, a first 73 adjusting screw, a second 8-clamping mechanism, a second 81L-shaped rod 82, a second 83 adjusting screw.
Detailed Description
The present invention is described in terms of specific embodiments, and other advantages and benefits of the present invention will become apparent to those skilled in the art from the following disclosure. Based on the embodiments in the present invention, all other embodiments obtained by a person skilled in the art without creative work belong to the protection scope of the present invention.
Example 1:
1-4, the embodiment of the drawing instrument for advanced mathematics comprises a ruler 1, a first sliding block 2, a second sliding block 3, a first piston 21, a second piston 31, a cross groove 4, a straight line groove 5 and a fixing device 6;
further, 1 one end sliding connection sliding block 2 of ruler, 1 middle-end sliding connection sliding block two 3 of ruler, 21 both sides sliding connection sliding block one 2 of piston, two 31 both sides sliding connection sliding block two 3 of piston, cross recess 4 is inside to be fixed and is equipped with sliding block one 2 and sliding block two 3, sliding block one 2 and two 3 both sides sliding connection cross recess 4 of sliding block, cross recess 4 bottom is fixed and is equipped with sharp recess 5, the fixed fixing device 6 that is equipped with of straight recess 5 one end, specifically, has the scale on ruler 1, has the effect of the length of the line of directly perceived drawing, and cross recess 4 surface has the scale, can the oval major axis of directly perceived control and minor axis to draw the ellipse of not unidimensional, straight recess 5 surface has the scale, can the radius of directly perceived control circle, thereby controlling the size of the circle, the fixing device 6 plays a role in fixing, and the first piston 21 and the second piston 31 play a role in facilitating the detachment of the ruler 1;
furthermore, four fixing blocks 41 are fixedly arranged inside the cross groove 4, two ends of each fixing block 41 are connected with the cross groove 4 in a sliding manner, one end of each fixing block 41 is fixedly provided with a fixing screw 42, and the fixing screws 42 play a role in connecting the fixing blocks 41;
furthermore, the other end of the ruler 1 is fixedly connected with a first chalk clamping mechanism 7, a second chalk clamping mechanism 8 is connected in the linear groove 5 in a sliding mode, and the first chalk clamping mechanism 7 and the second chalk clamping mechanism 8 play a role in controlling the length of the chalk;
further, the first pen clamping mechanism 7 comprises a first L-shaped rod 71, a first cylinder 72 and a first adjusting screw 73, the end of the first L-shaped rod 71 is fixedly connected with the first cylinder 72, one side of the first cylinder 72 is rotatably connected with the first adjusting screw 73, the second pen clamping mechanism 8 comprises a second L-shaped rod 81, a second cylinder 82 and a second adjusting screw 83, the end of the second L-shaped rod 81 is fixedly connected with the second cylinder 82, one side of the second cylinder 82 is rotatably connected with the second adjusting screw 83, and particularly, the first adjusting screw 73 and the second adjusting screw 83 have the function of fixing chalk;
further, the fixing device 6 comprises a circular sucker 61, a small spring 62 and a conical head 63, the small spring 62 is fixedly arranged inside the circular sucker 61, the bottom of the small spring 62 is fixedly connected with the conical head 63, specifically, the circular sucker 61 plays a role in fixing with a blackboard, the conical head 63 plays a role in accurately controlling the center position of a circle and an ellipse, and the small spring 62 has a telescopic function.
The implementation scenario is specifically as follows: use the utility model discloses the time through sliding block 2 and sliding block two 3 according to the motion of fixed orbit in cross recess 4 inside, make on the ruler 1 card a mechanism 7 can be convenient draw the ellipse, again because at cross recess 4 inside fixed four fixed blocks 41 that are equipped with, cross recess 4 surface is equipped with the scale, make can be accurate draw oval size, at cross recess 4 bottom fixed be equipped with straight line recess 5, straight line recess 5 surface is equipped with the scale, make card a mechanism two 8 can be accurate according to straight line recess 5 orbit motion, through the rotation to fixing device 6, make can be accurate draw circularly, again because install circular sucking disc 61 additional in straight line recess 5 bottom, make on the better absorption blackboard of plotter, conical head 63 plays the effect of accurate control circular, oval central point puts again, make the plotter can be more convenient, And the first piston 21 and the second piston 31 facilitate the detachment of the ruler 1, thereby facilitating the drawing of straight lines by a user.
Example 2:
referring to the specification and the attached fig. 5, the advanced math plotter of this embodiment is different from the embodiment 1 in that the top of the first sliding block 2 is rotatably connected with the first dismounting screw 22, and the top of the second sliding block 3 is rotatably connected with the second dismounting screw 32;
the implementation scenario is specifically as follows: use the utility model discloses the time through sliding block 2 and sliding block two 3 according to the motion of fixed orbit in cross recess 4 inside, make on the ruler 1 card a mechanism 7 can be convenient draw the ellipse, again because at cross recess 4 inside fixed four fixed blocks 41 that are equipped with, cross recess 4 surface is equipped with the scale, make can be accurate draw oval size, at cross recess 4 bottom fixed be equipped with straight line recess 5, straight line recess 5 surface is equipped with the scale, make card a mechanism two 8 can be accurate according to straight line recess 5 orbit motion, through the rotation to fixing device 6, make can be accurate draw circularly, again because install circular sucking disc 61 additional in straight line recess 5 bottom, make on the better absorption blackboard of plotter, conical head 63 plays the effect of accurate control circular, oval central point puts again, make the plotter can be more convenient, More accurate drawing figure, owing to dismantle spiral one 22 and dismantle spiral two 32 and can dismantle again, made things convenient for the user to the drawing of sharp, and play better stabilizing effect on cross recess 4, the condition that the ruler 1 can not appear droing when using.
Although the invention has been described in detail with respect to the general description and the specific embodiments, it will be apparent to those skilled in the art that modifications and improvements can be made based on the invention. Therefore, such modifications and improvements are intended to be within the scope of the invention as claimed.

Claims (6)

1.一种高等数学绘图器,包括直尺(1)、滑动块一(2)、滑动块二(3)、活塞一(21)、活塞二(31)、十字架凹槽(4)、直线凹槽(5)、固定装置(6),其特征在于:所述直尺(1)一端滑动连接滑动块一(2),所述直尺(1)中端滑动连接滑动块二(3),所述活塞一(21)两侧滑动连接滑动块一(2),所述活塞二(31)两侧滑动连接滑动块二(3),所述十字架凹槽(4)内部固定设有滑动块一(2)和滑动块二(3),所述滑动块一(2)和滑动块二(3)两侧滑动连接十字架凹槽(4),所述十字架凹槽(4)底部固定设有直线凹槽(5),所述直线凹槽(5)一端固定设有固定装置(6)。1. An advanced mathematical plotter, comprising a ruler (1), a sliding block (2), a sliding block (3), a piston one (21), a piston two (31), a cross groove (4), a straight line The groove (5) and the fixing device (6) are characterized in that: one end of the ruler (1) is slidably connected to the sliding block 1 (2), and the middle end of the ruler (1) is slidably connected to the sliding block 2 (3). , the two sides of the piston one (21) are slidingly connected to the sliding block one (2), the two sides of the piston two (31) are slidingly connected to the sliding block two (3), and the cross groove (4) is fixedly provided with a sliding block Block one (2) and sliding block two (3), the two sides of the sliding block one (2) and the sliding block two (3) are slidably connected to the cross groove (4), and the bottom of the cross groove (4) is fixedly provided. There is a straight groove (5), and one end of the straight groove (5) is fixedly provided with a fixing device (6). 2.根据权利要求1所述的一种高等数学绘图器,其特征在于:所述滑动块一(2)顶部旋转连接拆卸螺旋一(22),所述滑动块二(3)顶部旋转连接拆卸螺旋二(32)。2 . The advanced mathematical plotter according to claim 1 , wherein the top of the sliding block one (2) is rotated to connect and disassemble the screw one (22), and the top of the sliding block two (3) is rotated to connect and disassemble. 3 . Spiral Two (32). 3.根据权利要求1所述的一种高等数学绘图器,其特征在于:所述十字架凹槽(4)内部固定设有四个固定块(41),四个所述固定块(41)两端滑动连接十字架凹槽(4),四个所述固定块(41)一端固定设有固定螺丝(42)。3 . The advanced math plotter according to claim 1 , wherein four fixing blocks ( 41 ) are fixed inside the cross groove ( 4 ), and two of the four fixing blocks ( 41 ). The ends are slidably connected to the cross groove (4), and one end of the four fixing blocks (41) is fixedly provided with fixing screws (42). 4.根据权利要求1所述的一种高等数学绘图器,其特征在于:所述直尺(1)另一端固定连接卡笔机构一(7),所述直线凹槽(5)内部滑动连接卡笔机构二(8)。4. A higher mathematics plotter according to claim 1, characterized in that: the other end of the straight edge (1) is fixedly connected to the pen clip mechanism one (7), and the linear groove (5) is internally slidably connected Stuck Pen Mechanism Two (8). 5.根据权利要求4所述的一种高等数学绘图器,其特征在于:所述卡笔机构一(7)包括L形杆一(71)、圆筒一(72)、调节螺丝一(73),所述L形杆一(71)端部固定连接圆筒一(72),所述圆筒一(72)一侧旋转连接调节螺丝一(73),所述卡笔机构二(8)包括L形杆二(81)、圆筒二(82)、调节螺丝二(83),所述L形杆二(81)端部固定连接圆筒二(82),所述圆筒二(82)一侧旋转连接调节螺丝二(83)。5 . The advanced mathematical plotter according to claim 4 , wherein the pen-holding mechanism 1 (7) comprises an L-shaped rod 1 (71), a cylinder 1 (72), and an adjusting screw 1 (73 ). 6 . ), the end of the L-shaped rod one (71) is fixedly connected to the cylinder one (72), the one side of the cylinder one (72) is rotatably connected to the adjustment screw one (73), and the pen holder mechanism two (8) Including the second L-shaped rod (81), the second cylinder (82), the second adjusting screw (83), the end of the second L-shaped rod (81) is fixedly connected to the second cylinder (82), the second cylinder (82) ) on one side to connect adjusting screw two (83). 6.根据权利要求1所述的一种高等数学绘图器,其特征在于:所述固定装置(6)包括圆形吸盘(61)、小弹簧(62)、圆锥头(63),所述圆形吸盘(61)内部固定设有小弹簧(62),所述小弹簧(62)底部固定连接圆锥头(63)。6. An advanced mathematical plotter according to claim 1, characterized in that: the fixing device (6) comprises a circular suction cup (61), a small spring (62), a conical head (63), and the circular A small spring (62) is fixed inside the shape suction cup (61), and the bottom of the small spring (62) is fixedly connected to the conical head (63).
CN202021195201.9U 2020-06-24 2020-06-24 An advanced math plotter Expired - Fee Related CN212604207U (en)

Priority Applications (1)

Application Number Priority Date Filing Date Title
CN202021195201.9U CN212604207U (en) 2020-06-24 2020-06-24 An advanced math plotter

Applications Claiming Priority (1)

Application Number Priority Date Filing Date Title
CN202021195201.9U CN212604207U (en) 2020-06-24 2020-06-24 An advanced math plotter

Publications (1)

Publication Number Publication Date
CN212604207U true CN212604207U (en) 2021-02-26

Family

ID=74743371

Family Applications (1)

Application Number Title Priority Date Filing Date
CN202021195201.9U Expired - Fee Related CN212604207U (en) 2020-06-24 2020-06-24 An advanced math plotter

Country Status (1)

Country Link
CN (1) CN212604207U (en)

Similar Documents

Publication Publication Date Title
CN212604207U (en) An advanced math plotter
CN202862940U (en) Multifunctional teaching tool for teaching
CN203611603U (en) Mathematic drawing and measuring multipurpose ruler
CN204641192U (en) The adjustable ellipsograph of mathematical education
CN211106598U (en) A kind of multifunctional mathematics teaching aid for teaching
CN203681084U (en) Multifunctional ruler
CN222832603U (en) Compass convenient for adjusting radius
CN219312390U (en) Triangle and circular mathematics plotter with adjustable sucking disc formula
CN221417805U (en) An adjustable angle ruler for teaching
CN203681080U (en) Compass for teaching
CN214355213U (en) Teaching aid for mathematics and applied mathematics teaching
CN111816034A (en) A kind of portable simple teaching aids for teaching
CN219382062U (en) Multifunctional practical teaching aid for plane graphics
CN219382058U (en) Multi-functional adjustable mathematical drawing ware
CN205439699U (en) Multi -functional religion chi
CN220163534U (en) Multifunctional mathematics learning teaching aid
CN209600128U (en) A kind of mathematical studying auxiliary device
CN209395475U (en) High school mathematics multifunctional drawing tool
CN205929928U (en) Multi -functional portable instrument chi
CN221233349U (en) Teaching compass for middle school mathematics
CN208438949U (en) A multifunctional math teaching aid
CN203567414U (en) Multifunctional ruler for drawing teaching
CN209126374U (en) A kind of mathematical education demonstration board
CN209466873U (en) A kind of dot matrix plotter of mathematical education
CN212827568U (en) A ellipse drawing instrument for mathematical education

Legal Events

Date Code Title Description
GR01 Patent grant
GR01 Patent grant
CF01 Termination of patent right due to non-payment of annual fee
CF01 Termination of patent right due to non-payment of annual fee

Granted publication date: 20210226