CN212532221U - Electric power operation and maintenance frame - Google Patents

Electric power operation and maintenance frame Download PDF

Info

Publication number
CN212532221U
CN212532221U CN202021300466.0U CN202021300466U CN212532221U CN 212532221 U CN212532221 U CN 212532221U CN 202021300466 U CN202021300466 U CN 202021300466U CN 212532221 U CN212532221 U CN 212532221U
Authority
CN
China
Prior art keywords
adjusting
hinged
maintenance
rod
groove
Prior art date
Legal status (The legal status is an assumption and is not a legal conclusion. Google has not performed a legal analysis and makes no representation as to the accuracy of the status listed.)
Expired - Fee Related
Application number
CN202021300466.0U
Other languages
Chinese (zh)
Inventor
董艳军
董军伟
范钦磊
Current Assignee (The listed assignees may be inaccurate. Google has not performed a legal analysis and makes no representation or warranty as to the accuracy of the list.)
Neihuang Power Supply Co of State Grid Henan Electric Power Co Ltd
Original Assignee
Neihuang Power Supply Co of State Grid Henan Electric Power Co Ltd
Priority date (The priority date is an assumption and is not a legal conclusion. Google has not performed a legal analysis and makes no representation as to the accuracy of the date listed.)
Filing date
Publication date
Application filed by Neihuang Power Supply Co of State Grid Henan Electric Power Co Ltd filed Critical Neihuang Power Supply Co of State Grid Henan Electric Power Co Ltd
Priority to CN202021300466.0U priority Critical patent/CN212532221U/en
Application granted granted Critical
Publication of CN212532221U publication Critical patent/CN212532221U/en
Expired - Fee Related legal-status Critical Current
Anticipated expiration legal-status Critical

Links

Images

Landscapes

  • Gates (AREA)

Abstract

本实用新型公开了一种电力运维检修架,包括伸缩围栏、底座和升降杆,所述U型槽的内部设置有延伸板,且延伸板一端的表面与伸缩围栏的表面固定连接,所述作业台上方的伸缩围栏表面安装有控制按钮,所述延伸板的表面设置有调节支撑杆,所述调节支撑杆一侧的表面铰接有铰接球,且铰接球一端的表面铰接有固定支撑垫,所述连接杆一端的表面铰接有矩形固定块,且矩形固定块的表面铰接有活动杆,所述底座的底部安装有万向轮,所述升降杆内侧的作业台表面皆设置有锁止机构。本实用新型不仅提高了检修架在使用时的便捷性,避免了检修架在使用时因高度过高而发生架体的晃动现象,而且提高了检修架在使用时的舒适程度。

Figure 202021300466

The utility model discloses an electric power operation and maintenance maintenance frame, which comprises a telescopic fence, a base and a lifting rod. An extension plate is arranged inside the U-shaped groove, and the surface of one end of the extension plate is fixedly connected with the surface of the telescopic fence. A control button is installed on the surface of the telescopic fence above the workbench, an adjustment support rod is arranged on the surface of the extension plate, a hinge ball is hinged on the surface of one side of the adjustment support rod, and a fixed support pad is hinged on the surface of one end of the hinge ball. A rectangular fixing block is hinged on the surface of one end of the connecting rod, and a movable rod is hinged on the surface of the rectangular fixing block, a universal wheel is installed at the bottom of the base, and a locking mechanism is provided on the surface of the working table inside the lifting rod . The utility model not only improves the convenience of the maintenance rack in use, avoids the shaking phenomenon of the rack body due to the high height of the maintenance rack in use, but also improves the comfort level of the maintenance rack in use.

Figure 202021300466

Description

Electric power operation and maintenance frame
Technical Field
The utility model relates to an electric power fortune dimension technical field specifically is an electric power fortune dimension overhauls frame.
Background
The electric power operation and maintenance generally refers to the maintenance of electric power circuit, electric power operation, electric power rush-repair by professional team, and the electric power operation and maintenance during operation usually needs to use the maintenance frame, and the maintenance frame is an important tool in the electric power circuit, electric power operation, electric power rush-repair process.
The type of maintenance frame on the market is various nowadays, can satisfy people's user demand basically, but still has certain problem, and specific problem has following several:
1. when the traditional maintenance frame is used, the functions of moving, lifting and fixing the maintenance frame are rarely set, so that the convenience degree of the maintenance frame in use is seriously influenced;
2. when the traditional maintenance frame is used, the stable reinforcing function of the maintenance frame after being lifted is rarely set, so that the phenomenon of shaking of the frame body due to overhigh height when the maintenance frame is used is easily caused;
3. the extension function of the maintenance frame platform is generally rarely set when the traditional maintenance frame is used, so that the comfort degree of the maintenance frame when the maintenance frame is used is seriously influenced.
SUMMERY OF THE UTILITY MODEL
An object of the utility model is to provide an electric power fortune dimension overhauls frame to propose among the solution above-mentioned background art that the maintenance frame generally rarely sets up when using and removes and lifting fixed function, the phenomenon that takes place the support body to rock because of highly too high during the use, and the problem that the platform can't extend during the use.
In order to achieve the above object, the utility model provides a following technical scheme: an electric power operation and maintenance frame comprises a telescopic fence, a base and a lifting rod, wherein the surface of the bottom of the telescopic fence is fixed with an operation table, a U-shaped groove is formed in the operation table, an extension plate is arranged in the U-shaped groove, the surface of one end of the extension plate is fixedly connected with the surface of the telescopic fence, a control button is arranged on the surface of the telescopic fence above the operation table, an adjusting support rod is arranged on the surface of the extension plate, a hinged ball is hinged to the surface of one side of the adjusting support rod, a fixed support pad is hinged to the surface of one end of the hinged ball, the lifting rod is hinged below the operation table, the base is arranged below the operation table, a transverse sliding groove is formed in the base, the transverse sliding groove is matched with the lifting rod, an extension column is fixed at the corner position of the bottom of the base, and connecting rods are hinged to the surfaces, the surface of connecting rod one end articulates there is the rectangle fixed block, and the surface of rectangle fixed block articulates there is the movable rod to the surface of movable rod one end is articulated each other with the surface that extends the post, the universal wheel is installed to the bottom of base, the inboard operation platform surface of lifter all is provided with locking mechanism.
Preferably, the surface of the adjusting support rod is in threaded connection with a fixing bolt, and the surface of one end of the fixing bolt penetrates through the adjusting support rod and is tightly attached to the extension plate.
Preferably, the surface mounting of the transverse sliding groove on the inner side of the lifting rod is provided with a cylinder, the input end of the cylinder is electrically connected with the output end of the control button, and the output end of the cylinder is hinged to the surface of the lifting rod.
Preferably, the locking mechanism is internally provided with an arc-shaped clamping plate, a square connecting block, an adjusting stud and an adjusting groove in sequence, the surface of the operating platform is provided with the adjusting groove, and the surface of the adjusting groove is provided with the square connecting block.
Preferably, the top of square connecting block is fixed with the arc cardboard, and the mutual joint cooperation of surface and the arc draw-in groove of arc cardboard one side, the surperficial threaded connection who keeps away from arc cardboard one side of square connecting block has the adjusting screw bolt to the surface of adjusting screw bolt one end runs through square connecting block and closely laminates with the adjustment tank.
Preferably, the surface of the rectangular fixing block is in threaded connection with an adjusting bolt, and the surface of one end of the adjusting bolt penetrates through the extension column and is hinged with the rectangular fixing block on the other side.
Compared with the prior art, the beneficial effects of the utility model are that: this electric power fortune maintenance overhauls frame has not only improved the convenience of overhauing the frame when using, has avoided the phenomenon of rocking of overhauing the frame because of highly too high emergence support body when using of overhauing the frame, has improved the comfortable degree of overhauing the frame when using moreover.
1. By arranging the adjusting bolt, the rectangular fixed block, the connecting rod, the movable rod and the extending column, the maintenance frame is moved to a proper position under the action of the universal wheel, then the adjusting bolt is rotated to drive the connecting rod and the movable rod to rotate under the action of the rectangular fixed block, so that the height of the extending column is adjusted, the universal wheel is far away from the ground, the maintenance frame is fixed in position through the extending column, the moving and fixing functions of the maintenance frame are realized, and the convenience of the maintenance frame in use is improved;
2. the lifting rod is rotated to be loosened with the adjusting groove, the arc-shaped clamping plate is driven to rotate clockwise around the adjusting stud under the action of the square connecting block, the arc-shaped clamping plate is rotated to the inside of the arc-shaped clamping groove to be fixed with the lifting rod, the square connecting block is then slid to a proper position under the action of the adjusting groove, and then the arc-shaped clamping plate is fastened with the adjusting groove through rotating the adjusting stud, so that the reinforcing function of the maintenance frame is realized, and the phenomenon that the maintenance frame shakes due to too high height when the maintenance frame is used is avoided;
3. through being provided with flexible rail, U type groove, the extension board, fixing bolt, adjust the bracing piece, articulated ball and supporting pad, accomplish firm work back, pull out the extension board of U type inslot portion under the effect of flexible rail, rotatory fixing bolt makes it lax mutually with the extension board, the rotation regulation bracing piece, make its angle of adjusting the fixed supporting pad under the effect of articulated ball, make its surface with the operation platform closely laminate, rotatory fixing bolt of rethread, it is fixed with the operation platform, the platform that realizes overhauing the frame extends the function, thereby the comfortable degree of maintenance frame when using has been improved.
Drawings
Fig. 1 is a schematic view of a front view cross-sectional structure of the present invention;
FIG. 2 is a schematic view of the appearance structure of the present invention;
FIG. 3 is a schematic view of the enlarged partial side view structure of the present invention;
fig. 4 is an enlarged schematic structural view of the locking mechanism of the present invention.
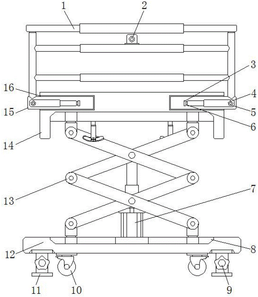
In the figure: 1. a telescopic fence; 2. a control button; 3. fixing a supporting pad; 4. adjusting the supporting rod; 5. fixing the bolt; 6. hinging the ball; 7. a cylinder; 8. a transverse chute; 9. adjusting the bolt; 10. a universal wheel; 11. an extension post; 12. a base; 13. a lifting rod; 14. an operation table; 15. an extension plate; 16. a U-shaped groove; 17. an arc-shaped clamping groove; 18. a locking mechanism; 1801. an arc-shaped clamping plate; 1802. a square connecting block; 1803. adjusting the stud; 1804. an adjustment groove; 19. a connecting rod; 20. a rectangular fixed block; 21. a movable rod.
Detailed Description
The technical solutions in the embodiments of the present invention will be described clearly and completely with reference to the accompanying drawings in the embodiments of the present invention, and it is obvious that the described embodiments are only some embodiments of the present invention, not all embodiments, and furthermore, the terms "first", "second", "third", "upper, lower, left, right", etc. are used for descriptive purposes only and are not to be construed as indicating or implying relative importance. Meanwhile, in the description of the present invention, unless otherwise explicitly specified or limited, the terms "connected" and "connected" should be interpreted broadly, and may be, for example, fixedly connected, detachably connected, or integrally connected; the connection can be mechanical connection or electrical connection; can be directly connected with each other, also can be indirectly connected with each other through the intermediary, based on the embodiment in the utility model, all other embodiments that ordinary skilled in the art obtained under the prerequisite of not making creative work all belong to the scope of protection of the utility model.
Referring to fig. 1-4, the present invention provides an embodiment: an electric power operation and maintenance overhaul frame comprises a telescopic fence 1, a base 12 and a lifting rod 13, wherein an operation platform 14 is fixed on the surface of the bottom of the telescopic fence 1, a U-shaped groove 16 is formed in the operation platform 14, an extension plate 15 is arranged in the U-shaped groove 16, the surface of one end of the extension plate 15 is fixedly connected with the surface of the telescopic fence 1, an adjusting support rod 4 is arranged on the surface of the extension plate 15, a fixing bolt 5 is connected with the surface of the adjusting support rod 4 in a threaded manner, and the surface of one end of the fixing bolt 5 penetrates through the adjusting support rod 4 and is tightly attached to the extension plate 15 and used for the operation of an extension platform of the overhaul frame;
the surface of one side of the adjusting support rod 4 is hinged with a hinged ball 6, the surface of one end of the hinged ball 6 is hinged with a fixed support pad 3, a lifting rod 13 is hinged below the operating platform 14, a base 12 is arranged below the operating platform 14, a transverse sliding groove 8 is formed in the base 12, the transverse sliding groove 8 is matched with the lifting rod 13, an air cylinder 7 is arranged on the surface of the transverse sliding groove 8 on the inner side of the lifting rod 13, the model of the air cylinder 7 can be SMD2L-1010 series, the input end of the air cylinder 7 is electrically connected with the output end of the control button 2, and the output end of the air cylinder 7 is hinged with the surface of the lifting rod 13 and used for the work of adjusting the height of the;
the corner positions at the bottom of the base 12 are all fixed with extending columns 11, the surfaces of two sides of each extending column 11 are hinged with connecting rods 19, the surface of one end of each connecting rod 19 is hinged with a rectangular fixed block 20, the surface of each rectangular fixed block 20 is hinged with a movable rod 21, the surface of one end of each movable rod 21 is hinged with the surface of each extending column 11, the surface of each rectangular fixed block 20 is in threaded connection with an adjusting bolt 9, and the surface of one end of each adjusting bolt 9 penetrates through each extending column 11 and is hinged with the rectangular fixed block 20 on the other side, so that the maintenance frame is fixed in position;
the universal wheel 10 is installed at the bottom of the base 12, the surfaces of the operation platforms 14 on the inner sides of the lifting rods 13 are all provided with locking mechanisms 18, arc-shaped clamping plates 1801, square connecting blocks 1802, adjusting screw bolts 1803 and adjusting grooves 1804 are sequentially arranged inside the locking mechanisms 18, the surfaces of the operation platforms 14 are provided with adjusting grooves 1804, the surfaces of the adjusting grooves 1804 are provided with the square connecting blocks 1802, the tops of the square connecting blocks 1802 are fixedly provided with the arc-shaped clamping plates 1801, the surfaces of one sides of the arc-shaped clamping plates 1801 are mutually clamped and matched with arc-shaped clamping grooves 17, the surfaces of the sides, far away from the arc-shaped clamping plates 1801, of the square connecting blocks 1802 are in threaded connection with the adjusting screw bolts 1803, and the surfaces of one ends of the adjusting screw bolts 1803;
the surface of the telescopic fence 1 above the workbench 14 is provided with a control button 2, a master control electric appliance of LAY7 series can be selected, and the output end of the control button 2 is electrically connected with the input end of the air cylinder 7.
The working principle is as follows: when the maintenance rack is used, firstly, the maintenance rack is moved to a proper position under the action of the universal wheel 10, then the adjusting bolt 9 is rotated to drive the connecting rod 19 and the movable rod 21 to rotate under the action of the rectangular fixing block 20, so that the height of the extension column 11 is adjusted, the universal wheel 10 is far away from the ground, the maintenance rack is fixed in position through the extension column 11, so that the moving and fixing functions of the maintenance rack are realized, the convenience of the maintenance rack in use is improved, then, the control button 2 is operated to control the air cylinder 7 to work, the maintenance rack pushes the operation platform 14 to move upwards under the action of the lifting rod 13, after the maintenance rack is pushed to a proper height, the adjusting bolt 1803 is rotated to loose from the adjusting groove 1804, the arc-shaped clamping plate 1801 is driven to rotate clockwise around the adjusting bolt 1803 under the action of the square connecting block 1802, and the arc-shaped clamping plate 1801 is rotated to the inside of the arc-shaped clamping groove 17, so that the lifting rod 13 is fixed, and then after sliding the square connecting block 1802 to a proper position by the adjusting groove 1804, then the adjusting stud 1803 is fastened with the adjusting groove 1804 by rotating to realize the reinforcing function of the maintenance frame, thereby avoiding the phenomenon that the maintenance frame shakes due to overhigh height when in use, and after the maintenance frame finishes the stable work, the extension plate 15 in the U-shaped groove 16 is pulled out under the action of the telescopic fence 1, the fixing bolt 5 is rotated to be loosened with the extension plate 15, the adjusting support rod 4 is rotated to adjust the angle of the fixing support pad 3 under the action of the hinged ball 6 to be tightly attached to the surface of the operation platform 14, the operation platform 14 is fixed through rotating the fixing bolt 5 to realize the platform extension function of the maintenance frame, thereby the comfort degree of the maintenance frame in use is improved, and the use work of the maintenance frame is finally completed.
It is obvious to a person skilled in the art that the invention is not restricted to details of the above-described exemplary embodiments, but that it can be implemented in other specific forms without departing from the spirit or essential characteristics of the invention. The present embodiments are therefore to be considered in all respects as illustrative and not restrictive, the scope of the invention being indicated by the appended claims rather than by the foregoing description, and all changes which come within the meaning and range of equivalency of the claims are therefore intended to be embraced therein. Any reference sign in a claim should not be construed as limiting the claim concerned.

Claims (6)

1. The utility model provides an electric power operation and maintenance overhauls frame, includes flexible rail (1), base (12) and lifter (13), its characterized in that: the surface of the bottom of the telescopic fence (1) is fixed with an operation table (14), a U-shaped groove (16) is formed in the operation table (14), an extension plate (15) is arranged in the U-shaped groove (16), the surface of one end of the extension plate (15) is fixedly connected with the surface of the telescopic fence (1), a control button (2) is mounted on the surface of the telescopic fence (1) above the operation table (14), an adjusting support rod (4) is arranged on the surface of the extension plate (15), a hinge ball (6) is hinged to the surface of one side of the adjusting support rod (4), a fixed support pad (3) is hinged to the surface of one end of the hinge ball (6), a lifting rod (13) is hinged to the lower portion of the operation table (14), a base (12) is arranged below the operation table (14), a transverse sliding groove (8) is formed in the base (12), and the transverse sliding groove (8) is matched with the lifting rod (13), the corner position department of base (12) bottom all is fixed with and extends post (11), and the surface that extends post (11) both sides all articulates there is connecting rod (19), the surface of connecting rod (19) one end articulates there is rectangle fixed block (20), and the surface of rectangle fixed block (20) articulates there is movable rod (21) to the surface of movable rod (21) one end and the surface of extending post (11) are articulated each other, universal wheel (10) are installed to the bottom of base (12), operation platform (14) surface inboard lifter (13) all is provided with locking mechanism (18).
2. The electric operation and maintenance rack of claim 1, wherein: the surface of the adjusting support rod (4) is in threaded connection with a fixing bolt (5), and the surface of one end of the fixing bolt (5) penetrates through the adjusting support rod (4) and is tightly attached to the extension plate (15).
3. The electric operation and maintenance rack of claim 1, wherein: the surface mounting of horizontal spout (8) of lifter (13) inboard has cylinder (7), and the input of cylinder (7) and the output electric connection of control button (2) to the output of cylinder (7) and the surface of lifter (13) are articulated each other.
4. The electric operation and maintenance rack of claim 1, wherein: the locking mechanism (18) is internally provided with an arc-shaped clamping plate (1801), a square connecting block (1802), an adjusting stud (1803) and an adjusting groove (1804) in sequence, the surface of the operation platform (14) is provided with the adjusting groove (1804), and the surface of the adjusting groove (1804) is provided with the square connecting block (1802).
5. An electric operation and maintenance rack according to claim 4, characterized in that: the top of square connecting block (1802) is fixed with arc cardboard (1801), and the mutual joint cooperation in surface and arc draw-in groove (17) of arc cardboard (1801) one side, the surperficial threaded connection who keeps away from arc cardboard (1801) one side of square connecting block (1802) has adjusting stud (1803) to the surface of adjusting stud (1803) one end runs through square connecting block (1802) and closely laminates with adjustment tank (1804).
6. The electric operation and maintenance rack of claim 1, wherein: the surface of the rectangular fixing block (20) is in threaded connection with an adjusting bolt (9), and the surface of one end of the adjusting bolt (9) penetrates through the extension column (11) and is hinged with the rectangular fixing block (20) on the other side.
CN202021300466.0U 2020-07-06 2020-07-06 Electric power operation and maintenance frame Expired - Fee Related CN212532221U (en)

Priority Applications (1)

Application Number Priority Date Filing Date Title
CN202021300466.0U CN212532221U (en) 2020-07-06 2020-07-06 Electric power operation and maintenance frame

Applications Claiming Priority (1)

Application Number Priority Date Filing Date Title
CN202021300466.0U CN212532221U (en) 2020-07-06 2020-07-06 Electric power operation and maintenance frame

Publications (1)

Publication Number Publication Date
CN212532221U true CN212532221U (en) 2021-02-12

Family

ID=74522320

Family Applications (1)

Application Number Title Priority Date Filing Date
CN202021300466.0U Expired - Fee Related CN212532221U (en) 2020-07-06 2020-07-06 Electric power operation and maintenance frame

Country Status (1)

Country Link
CN (1) CN212532221U (en)

Similar Documents

Publication Publication Date Title
CN212532221U (en) Electric power operation and maintenance frame
CN213765768U (en) Multifunctional tool table for building electrical design
CN217269076U (en) Supporting platform for industrial building construction
CN118237689A (en) Circuit board welding device
CN216359635U (en) Positioning device for plate processing
CN216393406U (en) Indoor design drawing board
CN216579795U (en) Digital printing device is used in draw-bar box production
CN214483736U (en) A drawing desktop board for interior design
CN118371903B (en) A welding device for producing distribution boxes
CN209986440U (en) Quick-pressing type stroke-adjustable welding device
CN215101744U (en) Auxiliary device for high-speed electromechanical installation
CN218869732U (en) Drawing desk for fine arts
CN215873812U (en) Over-and-under type workstation for civil engineering cost management
CN220631563U (en) Portable counseling desk
CN221871950U (en) Rotatable assembly table convenient for manual assembly of camera
CN223548936U (en) Building templates link for civil engineering
CN222632930U (en) A construction command platform
CN219380912U (en) Woodworking machinery workbench with height convenient to adjust
CN214822286U (en) An electric lifting easel for painting
CN220069134U (en) Bench frame
CN223125913U (en) Button binding device for trousers processing
CN223558642U (en) Trimming equipment for wood door production and processing
CN222082333U (en) Outdoor lifting platform for building decoration engineering
CN217987004U (en) Assembled storage furniture
CN119457680B (en) Welding device for clamping piece of transformer core

Legal Events

Date Code Title Description
GR01 Patent grant
GR01 Patent grant
CF01 Termination of patent right due to non-payment of annual fee
CF01 Termination of patent right due to non-payment of annual fee

Granted publication date: 20210212

Termination date: 20210706