CN212516369U - An indoor and outdoor intelligent display interactive splicable and detachable display screen - Google Patents

An indoor and outdoor intelligent display interactive splicable and detachable display screen Download PDF

Info

Publication number
CN212516369U
CN212516369U CN202021700723.XU CN202021700723U CN212516369U CN 212516369 U CN212516369 U CN 212516369U CN 202021700723 U CN202021700723 U CN 202021700723U CN 212516369 U CN212516369 U CN 212516369U
Authority
CN
China
Prior art keywords
main body
connecting rod
backboard
wall
back plate
Prior art date
Legal status (The legal status is an assumption and is not a legal conclusion. Google has not performed a legal analysis and makes no representation as to the accuracy of the status listed.)
Expired - Fee Related
Application number
CN202021700723.XU
Other languages
Chinese (zh)
Inventor
陈松
朱尉
Current Assignee (The listed assignees may be inaccurate. Google has not performed a legal analysis and makes no representation or warranty as to the accuracy of the list.)
Shenzhen Hongxin Photoelectric Technology Co ltd
Original Assignee
Shenzhen Hongxin Photoelectric Technology Co ltd
Priority date (The priority date is an assumption and is not a legal conclusion. Google has not performed a legal analysis and makes no representation as to the accuracy of the date listed.)
Filing date
Publication date
Application filed by Shenzhen Hongxin Photoelectric Technology Co ltd filed Critical Shenzhen Hongxin Photoelectric Technology Co ltd
Priority to CN202021700723.XU priority Critical patent/CN212516369U/en
Application granted granted Critical
Publication of CN212516369U publication Critical patent/CN212516369U/en
Expired - Fee Related legal-status Critical Current
Anticipated expiration legal-status Critical

Links

Images

Landscapes

  • Displays For Variable Information Using Movable Means (AREA)

Abstract

本实用新型公开了一种室内户外智能显示互动可拼接拆卸显示屏,包括第一背板主体,所述第一背板主体一侧设置有第二背板主体,所述第二背板主体底部设置有第三背板主体,所述第三背板主体一侧设置有第四背板主体,所述第一背板主体一侧外壁及第四背板主体一侧外壁均固定连接有第一连杆,所述第二背板主体一侧外壁及第三背板主体一侧外壁均固定连接有第二连杆。本实用新型中,通过设置有连接杆、支撑座、第一活动销轴及第二活动销轴等装置,通过连接杆及支撑座组成的支撑架便于显示屏主体的摆放,同时不使用时可以将支撑座与连接杆折叠并入第四背板主体及第三背板主体内部,使用起来较为方便,值得大力推广。

Figure 202021700723

The utility model discloses an indoor and outdoor intelligent display interactive splicable and detachable display screen, comprising a first backplane main body, one side of the first backplane main body is provided with a second backplane main body, and the bottom of the second backplane main body is arranged A third backplane main body is provided, a fourth backplane main body is disposed on one side of the third backplane main body, and the first backplane main body side outer wall and the fourth backplane main body side outer wall are fixedly connected with the first backplane main body. A connecting rod, the second connecting rod is fixedly connected to the outer wall of one side of the main body of the second backplane and the outer wall of one side of the main body of the third backplane. In the utility model, by being provided with a connecting rod, a support seat, a first movable pin shaft, a second movable pin shaft and other devices, the support frame composed of the connecting rod and the support seat facilitates the placement of the main body of the display screen, and at the same time when not in use The support seat and the connecting rod can be folded and incorporated into the fourth backboard main body and the third backboard main body, which is convenient to use and worthy of vigorous promotion.

Figure 202021700723

Description

Indoor and outdoor intelligent display interaction display screen capable of being spliced and disassembled
Technical Field
The utility model relates to a display screen technical field especially relates to an indoor outdoor intelligent display is interactive can splice and dismantle display screen.
Background
The display (display) is also commonly called as monitor, the display is an I/O device belonging to computer, i.e. input/output device, it is a display tool which displays certain electronic file on the screen through specific transmission device and reflects it to human eyes, it can be divided into CRT, LCD and so on, from early black and white world to color world, the display goes through a long and hard course, with the continuous development of display technology, the classification of display is more and more detailed, the factory of LED display is mainly distributed in more than 500 in shenzhen, 40% of them mainly provides processing service, and also has small workshop production, and also has a lot of production enterprises which mainly make quality and research and development.
The current display screen concatenation is fixed, generally adopts buckle formula structure, and the fixed subassembly of reuse inserts in the corresponding fixed orifices to with the fixed column between the display screen, such concatenation mode installation is troublesome and dismantle complicacy, so need design a new indoor outdoor intelligent display interdynamic concatenation dismantlement display screen and solve above-mentioned problem.
SUMMERY OF THE UTILITY MODEL
The utility model aims at solving the shortcoming that exists among the prior art, and the interactive dismantlement display screen that can splice of an indoor outdoor intelligent display that proposes.
In order to achieve the above purpose, the utility model adopts the following technical scheme: an indoor and outdoor intelligent display interactive spliced and detachable display screen comprises a first back plate main body, wherein a second back plate main body is arranged on one side of the first back plate main body, a third back plate main body is arranged at the bottom of the second back plate main body, and a fourth back plate main body is arranged on one side of the third back plate main body;
the outer wall of one side of the first back plate main body and the outer wall of one side of the fourth back plate main body are both fixedly connected with a first connecting rod, and the outer wall of one side of the second back plate main body and the outer wall of one side of the third back plate main body are both fixedly connected with a second connecting rod;
the outer surface of the bottom of the first connecting rod is fixedly connected with a positioning pin, and a cylinder is arranged in the second connecting rod;
the outer wall of the bottom of the first back plate main body and the outer wall of the bottom of the second back plate main body are both fixedly connected with sleeves, the inner wall of the tops of the sleeves is fixedly connected with telescopic springs, and the tail ends of the bottoms of the telescopic springs are fixedly connected with telescopic rods;
the bottom of the third back plate main body and the bottom of the fourth back plate main body are movably connected with connecting rods, and the bottoms of the connecting rods are movably connected with supporting seats;
the display screen comprises a first back plate body, a second back plate body, a third back plate body and a fourth back plate body, wherein a display screen body is fixedly mounted on the outer wall of the rear side of the first back plate body, the second back plate body, the third back plate body and the fourth back plate body, a handle is fixedly connected to the outer wall of the front side of the first back plate body, the second back plate body, the third back plate body and the fourth back plate body, and a plastic sleeve is fixedly sleeved on the outer.
As a further description of the above technical solution:
the first connecting rod and the first back plate main body and the second connecting rod and the second back plate main body are fixedly connected through fixing screws.
As a further description of the above technical solution:
the cylinder and the positioning pin are made of stainless steel, and the inner wall of the periphery of the cylinder and the outer wall of the periphery of the positioning pin are both of smooth structures.
As a further description of the above technical solution:
the first back plate main body and the second back plate main body are mutually clamped with the fourth back plate main body and the third back plate main body through the positioning pins and the cylinders.
As a further description of the above technical solution:
the outer surface of the top of the fourth back plate main body and the outer surface of the top of the third back plate main body are provided with positioning holes corresponding to the telescopic rods.
As a further description of the above technical solution:
a first movable pin shaft is arranged between the connecting rod and the third back plate main body and between the connecting rod and the fourth back plate main body, and a second movable pin shaft is arranged between the connecting rod and the supporting seat.
The utility model discloses following beneficial effect has:
1. the utility model provides an indoor outdoor intelligent display is interactive can splice dismantlement display screen and compare with traditional device, through being provided with devices such as first connecting rod, the second connecting rod, the drum, the locating pin, telescopic link and expanding spring, splice first backplate main part and second backplate main part and third backplate main part and fourth backplate main part respectively in inserting the drum through the locating pin, during rethread expanding spring inserts the locating hole with the telescopic link, splice first backplate main part and fourth backplate main part and third backplate main part and second backplate main part, the concatenation is simple, and dismantle the uncomplicated, the device simple structure, convenient and practical.
2. The device compares with traditional device, and its structure and design all have great innovation and improvement, through being provided with devices such as connecting rod, supporting seat, first activity round pin axle and second activity round pin axle, the support frame of constituteing through connecting rod and supporting seat is convenient for putting of display screen main part, can fold the supporting seat with the connecting rod and incorporate into fourth backplate main part and third backplate main part inside simultaneously when not using, and it is comparatively convenient to use, is worth wideling popularize.
Drawings
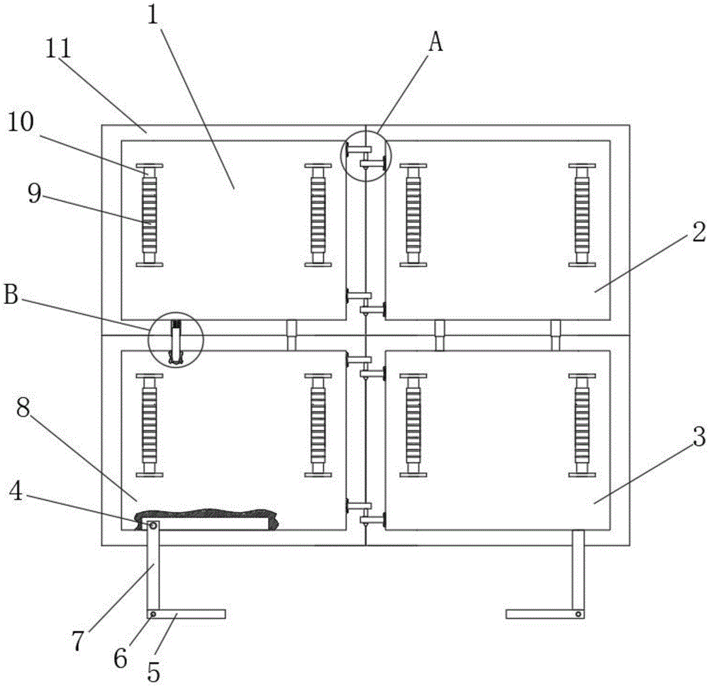
Fig. 1 is a main view structure diagram of an indoor and outdoor intelligent display interactive display screen which can be spliced and disassembled;
FIG. 2 is an enlarged view of a portion of FIG. 1 at A;
fig. 3 is a partially enlarged view of B in fig. 1.
Illustration of the drawings:
1. a first backplane body; 2. a second backplane body; 3. a third backplate main body; 4. a first movable pin shaft; 5. a supporting seat; 6. a second movable pin shaft; 7. a connecting rod; 8. a fourth backplate main body; 9. plastic cover; 10. a grip; 11. a display screen main body; 12. a first link; 13. a second link; 14. positioning pins; 15. a cylinder; 16. a sleeve; 17. a tension spring; 18. a telescopic rod.
Detailed Description
The technical solutions in the embodiments of the present invention will be described clearly and completely with reference to the accompanying drawings in the embodiments of the present invention, and it is obvious that the described embodiments are only some embodiments of the present invention, not all embodiments. Based on the embodiments in the present invention, all other embodiments obtained by a person skilled in the art without creative work belong to the protection scope of the present invention.
In the description of the present invention, it should be noted that the terms "center", "upper", "lower", "left", "right", "vertical", "horizontal", "inner", "outer", and the like indicate orientations or positional relationships based on the orientations or positional relationships shown in the drawings, and are only for convenience of description and simplification of description, but do not indicate or imply that the device or element referred to must have a specific orientation, be constructed and operated in a specific orientation, and thus, should not be construed as limiting the present invention; the terms "first," "second," and "third" are used for descriptive purposes only and are not to be construed as indicating or implying relative importance, and furthermore, unless otherwise explicitly stated or limited, the terms "mounted," "connected," and "connected" are to be construed broadly and may be, for example, fixedly connected, detachably connected, or integrally connected; can be mechanically or electrically connected; they may be connected directly or indirectly through intervening media, or they may be interconnected between two elements. The specific meaning of the above terms in the present invention can be understood in specific cases to those skilled in the art.
Referring to fig. 1-3, the present invention provides an embodiment: an indoor and outdoor intelligent display interactive spliced and detachable display screen comprises a first back plate main body 1, wherein a second back plate main body 2 is arranged on one side of the first back plate main body 1, a third back plate main body 3 is arranged at the bottom of the second back plate main body 2, and a fourth back plate main body 8 is arranged on one side of the third back plate main body 3;
the outer wall of one side of the first back plate main body 1 and the outer wall of one side of the fourth back plate main body 8 are both fixedly connected with a first connecting rod 13, and the outer wall of one side of the second back plate main body 2 and the outer wall of one side of the third back plate main body 3 are both fixedly connected with a second connecting rod 12;
the outer surface of the bottom of the first connecting rod 13 is fixedly connected with a positioning pin 14, and a cylinder 15 is arranged inside the second connecting rod 12;
the outer wall of the bottom of the first back plate main body 1 and the outer wall of the bottom of the second back plate main body 2 are both fixedly connected with a sleeve 16, the inner wall of the top of the sleeve 16 is fixedly connected with an expansion spring 17, and the tail end of the bottom of the expansion spring 17 is fixedly connected with an expansion link 18;
the bottom of the third backboard body 3 and the bottom of the fourth backboard body 8 are movably connected with connecting rods 7, and the bottom of each connecting rod 7 is movably connected with a supporting seat 5;
the display screen main body 11 is fixedly installed on the outer wall of the rear side of the first back plate main body 1, the second back plate main body 2, the third back plate main body 3 and the fourth back plate main body 8, the handle 10 is fixedly connected to the outer wall of the front side of the first back plate main body 1, the second back plate main body 2, the third back plate main body 3 and the fourth back plate main body 8, and the plastic sleeve 9 is fixedly sleeved on the outer side of the handle 10.
The first connecting rod 13 is fixedly connected with the first backboard main body 1, the second connecting rod 12 is fixedly connected with the second backboard main body 2 through fixing screws, the cylinder 15 and the positioning pin 14 are made of stainless steel, the inner wall of the periphery of the cylinder 15 and the outer wall of the periphery of the positioning pin 14 are both of smooth structures, the stainless steel has longer service life, the positioning pin 14 can be easily inserted into the cylinder 15 for positioning and fixing due to the smooth surfaces, the first backboard main body 1 and the second backboard main body 2 are mutually clamped with the fourth backboard main body 8 and the third backboard main body 3 through the positioning pin 14 and the cylinder 15, the first backboard main body 1 and the second backboard main body 2 can be conveniently spliced with the fourth backboard main body 8 and the third backboard main body 3, and the disassembly is easy, the outer surface of the top of the fourth backboard main body 8 and the outer surface of the top of the third backboard main body 3 are provided with positioning holes corresponding to, be convenient for fix a position fixedly through locating hole and telescopic link 18 between first backplate main part 1 and fourth backplate main part 8 and second backplate main part 2 and the third backplate main part 3, be provided with first activity round pin axle 4 between connecting rod 7 and third backplate main part 3 and the fourth backplate main part 8, and be provided with second activity round pin axle 6 between connecting rod 7 and the supporting seat 5, be interference fit between connecting rod 7 and third backplate main part 3 and connecting rod 7 and the supporting seat 5, be convenient for support the display screen, it is convenient to accomodate, interference fit makes each subassembly have good centering nature.
The working principle is as follows: the utility model provides an indoor outdoor intelligent display interaction can splice dismantlement display screen and traditional device has great improvement innovation, when using this indoor outdoor intelligent display interaction can splice dismantlement display screen, can install first backplate main part 1 and fourth backplate main part 8 at first, accomplish the location through expanding spring 17 with telescopic link 18 crowded into the locating hole of fourth backplate main part 8, then splice second backplate main part 2 and third backplate main part 3 with the same mode, insert the location concatenation between them in drum 15 through locating pin 14 and accomplish the location concatenation between first backplate main part 1 and second backplate main part 2 and third backplate main part 3 and fourth backplate main part 8, it is also very simple to dismantle, only need to separate locating pin 14 with drum 15 first, then separate telescopic link 18 and locating hole, wherein can expand connecting rod 7 and supporting seat 5 and support the display screen, when not in use, the folding and containing device can be folded and contained.
Finally, it should be noted that: although the present invention has been described in detail with reference to the foregoing embodiments, it will be apparent to those skilled in the art that modifications and variations can be made in the embodiments or in part of the technical features of the embodiments without departing from the spirit and the scope of the invention.

Claims (6)

1. The utility model provides an interactive dismantlement display screen that splices of indoor outdoor intelligent display, includes first backplate main part (1), its characterized in that: a second backboard main body (2) is arranged on one side of the first backboard main body (1), a third backboard main body (3) is arranged at the bottom of the second backboard main body (2), and a fourth backboard main body (8) is arranged on one side of the third backboard main body (3);
the outer wall of one side of the first backboard main body (1) and the outer wall of one side of the fourth backboard main body (8) are both fixedly connected with a first connecting rod (13), and the outer wall of one side of the second backboard main body (2) and the outer wall of one side of the third backboard main body (3) are both fixedly connected with a second connecting rod (12);
the outer surface of the bottom of the first connecting rod (13) is fixedly connected with a positioning pin (14), and a cylinder (15) is arranged in the second connecting rod (12);
the outer wall of the bottom of the first backboard main body (1) and the outer wall of the bottom of the second backboard main body (2) are both fixedly connected with a sleeve (16), the inner wall of the top of the sleeve (16) is fixedly connected with an expansion spring (17), and the tail end of the bottom of the expansion spring (17) is fixedly connected with an expansion link (18);
the bottom of the third backboard main body (3) and the bottom of the fourth backboard main body (8) are movably connected with connecting rods (7), and the bottom of each connecting rod (7) is movably connected with a supporting seat (5);
first backplate main part (1), second backplate main part (2), third backplate main part (3) and fourth backplate main part (8) rear side outer wall fixed mounting have display screen main part (11), first backplate main part (1), second backplate main part (2), third backplate main part (3) and fourth backplate main part (8) front side outer wall fixedly connected with handle (10), the fixed cover in handle (10) outside has connect plastic cover (9).
2. The indoor and outdoor intelligent display interactive splicing and disassembling display screen of claim 1, wherein: the first connecting rod (13) is fixedly connected with the first backboard main body (1) and the second connecting rod (12) is fixedly connected with the second backboard main body (2) through fixing screws.
3. The indoor and outdoor intelligent display interactive splicing and disassembling display screen of claim 1, wherein: the cylinder (15) and the positioning pin (14) are made of stainless steel, and the inner wall of the periphery of the cylinder (15) and the outer wall of the periphery of the positioning pin (14) are both of smooth structures.
4. The indoor and outdoor intelligent display interactive splicing and disassembling display screen of claim 1, wherein: the first back plate main body (1), the second back plate main body (2), the fourth back plate main body (8) and the third back plate main body (3) are clamped with each other through a positioning pin (14) and a cylinder (15).
5. The indoor and outdoor intelligent display interactive splicing and disassembling display screen of claim 1, wherein: the outer surface of the top of the fourth backboard main body (8) and the outer surface of the top of the third backboard main body (3) are provided with positioning holes corresponding to the telescopic rods (18).
6. The indoor and outdoor intelligent display interactive splicing and disassembling display screen of claim 1, wherein: a first movable pin shaft (4) is arranged between the connecting rod (7) and the third back plate main body (3) and the fourth back plate main body (8), and a second movable pin shaft (6) is arranged between the connecting rod (7) and the supporting seat (5).
CN202021700723.XU 2020-08-15 2020-08-15 An indoor and outdoor intelligent display interactive splicable and detachable display screen Expired - Fee Related CN212516369U (en)

Priority Applications (1)

Application Number Priority Date Filing Date Title
CN202021700723.XU CN212516369U (en) 2020-08-15 2020-08-15 An indoor and outdoor intelligent display interactive splicable and detachable display screen

Applications Claiming Priority (1)

Application Number Priority Date Filing Date Title
CN202021700723.XU CN212516369U (en) 2020-08-15 2020-08-15 An indoor and outdoor intelligent display interactive splicable and detachable display screen

Publications (1)

Publication Number Publication Date
CN212516369U true CN212516369U (en) 2021-02-09

Family

ID=74384916

Family Applications (1)

Application Number Title Priority Date Filing Date
CN202021700723.XU Expired - Fee Related CN212516369U (en) 2020-08-15 2020-08-15 An indoor and outdoor intelligent display interactive splicable and detachable display screen

Country Status (1)

Country Link
CN (1) CN212516369U (en)

Cited By (1)

* Cited by examiner, † Cited by third party
Publication number Priority date Publication date Assignee Title
CN114233726A (en) * 2021-12-02 2022-03-25 深圳市荣国星光电科技有限公司 Display screen convenient to assemble

Cited By (2)

* Cited by examiner, † Cited by third party
Publication number Priority date Publication date Assignee Title
CN114233726A (en) * 2021-12-02 2022-03-25 深圳市荣国星光电科技有限公司 Display screen convenient to assemble
CN114233726B (en) * 2021-12-02 2024-03-15 深圳市荣国星光电科技有限公司 Display screen convenient to assemble

Similar Documents

Publication Publication Date Title
CN212516369U (en) An indoor and outdoor intelligent display interactive splicable and detachable display screen
CN212718880U (en) Seamless liquid crystal splicing screen convenient to disassemble
CN210462245U (en) LED advertisement frame with locate function
CN210984097U (en) Display screen mounting structure capable of being spliced and combined
CN210123628U (en) Business display conference machine
CN220041326U (en) Assembled LED display screen
CN221970670U (en) Grabbing device is used in reflecting screen production
CN220730548U (en) Glasses support connection structure
CN212659256U (en) LED electronic display screen with detachable back plate
CN216133641U (en) Portable manpower resource recruitment information propaganda device
CN217690429U (en) An easy-to-remove vehicle LCD screen
CN219530382U (en) Foldable multi-axis rotary electronic spliced screen
CN222914397U (en) A display stand for enterprise management consulting
CN219367280U (en) LCD screen concatenation support convenient to concatenation combination
CN220735000U (en) Sample display stand
CN217559440U (en) A lightweight display supporting a simple hoisting structure
CN219866952U (en) LED display screen convenient to installation
CN222894952U (en) A multi-angle adjustment structure for a computer flat knitting machine display screen
CN223019791U (en) Aluminum alloy shell structure
CN218922391U (en) Full plastic paper towel holder
CN216412566U (en) An integrated display module with stable structure
CN223567898U (en) Be used for notebook liquid crystal display frame
CN223483829U (en) Computer display screen fastening bracket
CN221079246U (en) Integrated panel chassis
CN219198837U (en) A touch display bracket

Legal Events

Date Code Title Description
GR01 Patent grant
GR01 Patent grant
CF01 Termination of patent right due to non-payment of annual fee
CF01 Termination of patent right due to non-payment of annual fee

Granted publication date: 20210209