CN212476409U - 一种小型家庭生活污水处理装置 - Google Patents
一种小型家庭生活污水处理装置 Download PDFInfo
- Publication number
- CN212476409U CN212476409U CN201921369277.6U CN201921369277U CN212476409U CN 212476409 U CN212476409 U CN 212476409U CN 201921369277 U CN201921369277 U CN 201921369277U CN 212476409 U CN212476409 U CN 212476409U
- Authority
- CN
- China
- Prior art keywords
- chamber
- filter
- sewage
- disinfection
- sludge
- Prior art date
- Legal status (The legal status is an assumption and is not a legal conclusion. Google has not performed a legal analysis and makes no representation as to the accuracy of the status listed.)
- Active
Links
- 239000010865 sewage Substances 0.000 title claims abstract description 65
- 239000010802 sludge Substances 0.000 claims abstract description 36
- 238000004659 sterilization and disinfection Methods 0.000 claims abstract description 31
- XLYOFNOQVPJJNP-UHFFFAOYSA-N water Substances O XLYOFNOQVPJJNP-UHFFFAOYSA-N 0.000 claims abstract description 26
- 238000002156 mixing Methods 0.000 claims abstract description 20
- 238000001914 filtration Methods 0.000 claims abstract description 13
- 238000001035 drying Methods 0.000 claims description 8
- 238000004891 communication Methods 0.000 claims description 2
- 239000003814 drug Substances 0.000 abstract description 9
- 239000012535 impurity Substances 0.000 abstract description 9
- 239000013049 sediment Substances 0.000 abstract 1
- 239000002244 precipitate Substances 0.000 description 8
- 230000001954 sterilising effect Effects 0.000 description 7
- 238000004519 manufacturing process Methods 0.000 description 4
- OKTJSMMVPCPJKN-UHFFFAOYSA-N Carbon Chemical compound [C] OKTJSMMVPCPJKN-UHFFFAOYSA-N 0.000 description 3
- 229910052799 carbon Inorganic materials 0.000 description 3
- 238000007872 degassing Methods 0.000 description 3
- 239000008394 flocculating agent Substances 0.000 description 3
- 239000007788 liquid Substances 0.000 description 3
- 230000008859 change Effects 0.000 description 2
- 230000000694 effects Effects 0.000 description 2
- 239000011148 porous material Substances 0.000 description 2
- 241000894006 Bacteria Species 0.000 description 1
- 229920000742 Cotton Polymers 0.000 description 1
- 241000233866 Fungi Species 0.000 description 1
- OAICVXFJPJFONN-UHFFFAOYSA-N Phosphorus Chemical compound [P] OAICVXFJPJFONN-UHFFFAOYSA-N 0.000 description 1
- 241000700605 Viruses Species 0.000 description 1
- 230000009471 action Effects 0.000 description 1
- 244000052616 bacterial pathogen Species 0.000 description 1
- 238000003287 bathing Methods 0.000 description 1
- 230000009286 beneficial effect Effects 0.000 description 1
- 230000006835 compression Effects 0.000 description 1
- 238000007906 compression Methods 0.000 description 1
- 238000010276 construction Methods 0.000 description 1
- 230000000249 desinfective effect Effects 0.000 description 1
- 238000010586 diagram Methods 0.000 description 1
- 239000008187 granular material Substances 0.000 description 1
- 230000036541 health Effects 0.000 description 1
- 239000000463 material Substances 0.000 description 1
- 239000012528 membrane Substances 0.000 description 1
- 244000005700 microbiome Species 0.000 description 1
- 238000012986 modification Methods 0.000 description 1
- 230000004048 modification Effects 0.000 description 1
- 230000003071 parasitic effect Effects 0.000 description 1
- 239000002957 persistent organic pollutant Substances 0.000 description 1
- 229910052698 phosphorus Inorganic materials 0.000 description 1
- 239000011574 phosphorus Substances 0.000 description 1
- 238000001556 precipitation Methods 0.000 description 1
- 238000005086 pumping Methods 0.000 description 1
- 238000000746 purification Methods 0.000 description 1
- 239000008213 purified water Substances 0.000 description 1
- 238000001223 reverse osmosis Methods 0.000 description 1
- 238000007789 sealing Methods 0.000 description 1
- 239000000126 substance Substances 0.000 description 1
- 238000005406 washing Methods 0.000 description 1
- 239000002699 waste material Substances 0.000 description 1
Images
Landscapes
- Physical Water Treatments (AREA)
Abstract
本实用新型提出了一种小型家庭生活污水处理装置,包括箱体,所述箱体上设有进水口和出水口,所述箱体内部设有混合室、沉淀室、过滤室、消毒室,所述混合室设有加药口,所述过滤室内设有过滤装置,所述过滤室与所述消毒室的连通部位设有叶轮,所述消毒室内设有若干紫外线消毒灯,箱体外侧设有污泥池,所述污泥池设有吸污管道和回流管道,所述吸污管道的两端将所述沉淀室和污泥池连通,所述回流管道将所述污泥池和进水口连通。本实用新型通过过滤装置对污水中的杂质进行吸附和过滤,通过紫外线消毒灯对过滤后污水进行消毒,通过污泥池对污水产生的沉淀进行收集。
Description
技术领域
本实用新型涉及污水处理设备技术领域,具体为一种小型家庭生活污水处理装置。
背景技术
随着城市建设事业的迅速发展,生活污水日益增多,为了防止污染、保护环境,必须对生活污水进行处理,家庭生活污水是指洗衣洗澡、厨房、厕所等家庭排水,其中含有大量有机物,也常含有病原菌和寄生虫卵,其中有机污染物和磷对环境对水污染破坏最大,不仅会产生大量的臭气,影响人的身体健康和生态环境,而且在处理时还会造成二次污染。
实用新型内容
针对背景技术中指出的问题,本实用新型提出一种小型家庭生活污水处理装置,以解决上述背景技术中提出的问题。
本实用新型的技术方案是这样实现的:
一种小型家庭生活污水处理装置,包括箱体,所述箱体上设有进水口和出水口,所述箱体内部设有若干过滤腔,其特征在于:若干过滤腔依次为混合室、沉淀室、过滤室、消毒室,所述混合室、沉淀室、过滤室、消毒室之间首尾依次连通设置,所述进水口设置于所述混合室的顶部,所述混合室设有加药口,所述过滤室内设有过滤装置,过滤装置包括若干过滤层,若干过滤层沿上下方向均匀分布于所述过滤室内,所述过滤室与所述消毒室的连通部位设有叶轮,所述消毒室内设有若干紫外线消毒灯,若干紫外线消毒灯均匀分布于所述消毒室内,所述出水口设置与所述消毒室上;
还包括污泥池,所述污泥池设有吸污管道和回流管道,所述吸污管道的两端将所述沉淀室的底部、污泥池的底部连通,所述回流管道的两端将所述污泥池的顶部、进水口连通。
通过采用上述技术方案,污水由进水口进入混合室,在与从加药口加入到混合室内的絮凝剂混合后,污水中的颗粒状杂质和溶解的杂质产生沉淀并沉淀至沉淀室的底部,产生的沉淀物经由吸污管道抽送至污泥池内,位于污泥池上方的污水经回流管道进入进水口后重新进行净化,产生沉淀后的污水经由过滤室被过滤装置过滤后,在叶轮机械功的作用下,过滤后的污水被快速输送至消毒室,最后经紫外线消毒灯杀毒变成净水从出水口排出被回收利用。
本实用新型进一步设置为:还包括烘干装置,所述烘干装置采用管道与所述污泥池连通设置。
通过采用上述技术方案,烘干装置将污水产生的沉淀物进行烘干,便于对污水产生的沉淀物进行运输。
本实用新型进一步设置为:每个所述过滤层的下端均设有支撑板,所述支撑板上设有过滤孔,每个所述支撑板均固定在连接杆上,所述过滤室上设有开口,所述开口位于所述若干过滤层的上方,所述开口设有密封盖。
通过采用上述技术方案,支撑板用于对过滤层进行固定,过滤孔便于污水的流动,支撑板均固定在连接杆上使得过滤装置能被整体取放,开口便于将过滤装置取出并对其上的过滤层进行更换,密封盖对开口进行密封,防止外部环境中的杂质进入箱体内。
本实用新型进一步设置为:所述吸污管道上设有消毒装置。
通过采用上述技术方案,消毒装置用于对污泥进行消毒。
本实用新型进一步设置为:所述污泥池内部设有过滤板,所述过滤板位于所述污泥池内部的上端。
通过采用上述技术方案,过滤板将污泥池内的污水以及污水产生的沉淀物分离,便于对污泥池内的污水进行重新净化。
综上所述,本实用新型的有益效果为:
(1)本实用新型所提供的一种小型家庭生活污水处理装置内部设有过滤装置能够对生活污水进行有效过滤,且过滤后的污水采用紫外线进行消毒,能够对污水中含有的细菌、病毒、真菌等微生物进行灭杀,将生活用水实现再次利用,从而实现节约用水、减少资源浪费的目的;
(2)本实用新型所提供的一种小型家庭生活污水处理装置其上的过滤装置可从箱体上进行拆卸,便于实现对过滤装置上的过滤层的滤芯进行更换,从而保证该装置的过滤效果。
附图说明
为了更清楚地说明本实用新型实施例或现有技术中的技术方案,下面将对实施例或现有技术描述中所需要使用的附图作简单地介绍,显而易见地,下面描述中的附图仅仅是本实用新型的一些实施例,对于本领域普通技术人员来讲,在不付出创造性劳动性的前提下,还可以根据这些附图获得其他的附图。
图1为本实用新型的结构示意图;
图2为本实用新型过滤装置的结构示意图。
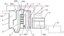
附图标记:1、箱体;101、进水口;102、出水口;2、混合室;201、加药口;3、沉淀室;4、过滤室;401、开口;402、密封盖;5、消毒室;6、叶轮; 7、紫外线消毒灯;8、过滤装置;801、过滤层;802、支撑板;803、连接杆; 9、污泥池;901、过滤板;10、污泥烘干机;11、吸污管道;12、回流管道;13、药液储存箱;131、加药管。
具体实施方式
下面将结合本实用新型实施例中的附图,对本实用新型实施例中的技术方案进行清楚、完整地描述,显然,所描述的实施例仅仅是本实用新型一部分实施例,而不是全部的实施例。基于本实用新型中的实施例,本领域普通技术人员在没有作出创造性劳动前提下所获得的所有其他实施例,都属于本实用新型保护的范围。
如下参考图1-2对本实用新型进行说明:
一种小型家庭生活污水处理装置,包括箱体1,所述箱体1上设有进水口101和出水口102,所述箱体1内部设有若干过滤腔,若干过滤腔依次为混合室 2、沉淀室3、过滤室4、消毒室5,所述混合室2、沉淀室3、过滤室4、消毒室5之间首尾依次连通设置,所述进水口101设置于所述混合室2的顶部,所述混合室2设有加药口201用于加入絮凝剂。所述过滤室4与所述消毒室5的连通部位设有叶轮6,叶轮6转动时,在叶轮6机械功的作用下所述消毒室5内设有若干紫外线消毒灯7,若干紫外线消毒灯7均匀分布于所述消毒室5内,所述出水口102设置与所述消毒室5上。
通过采用上述技术方案,污水由进水口101进入混合室2,在与从加药口 201加入到混合室2内的絮凝剂混合后,污水中的颗粒状杂质和溶解的杂质产生沉淀并沉淀至沉淀室3的底部,产生沉淀后的污水经由过滤室4过滤,过滤后的污水被快速输送至消毒室5,最后经紫外线消毒灯7杀毒变成净水从出水口 102排出被回收利用。
所述过滤室4内设有过滤装置8,过滤装置8包括五层过滤层801,五层过滤层801沿上下方向均匀分布于所述过滤室4内,五层过滤层801从上至下依次采用的材料为PP棉、颗粒活性炭、精密压缩活性炭、反渗透膜或、后置活性炭。每个所述过滤层801的下端均设有支撑板802,所述支撑板802上设有过滤孔,每个所述支撑板802均固定在连接杆803上,所述过滤室4上设有开口401,所述开口401位于所述若干过滤层801的上方,所述开口401设有密封盖402。
通过采用上述技术方案,过滤装置8用于对污水进行吸附和过滤,支撑板 802用于对过滤层801进行固定,过滤孔便于污水的流动,支撑板802均固定在连接杆803上使得过滤装置8能被整体取放,开口401便于将过滤装置8取出并对其上的过滤层801进行更换,密封盖402对开口401进行密封,防止外部环境中的杂质进入箱体1内。
箱体1的外部设有污泥池9和烘干装置,所述污泥池9内部设有过滤板901,所述过滤板901位于所述污泥池9内部的上端,过滤板901将污泥池9内的污水以及污水产生的沉淀物分离,便于对污泥池9内的污水进行重新净化。
所述污泥池9上设有吸污管道11和回流管道12,所述吸污管道11的两端将所述沉淀室3的底部、污泥池9的底部连通,所述吸污管道11上设有消毒装置,消毒装置包括药液储存箱13和加药管,药液储存箱13于吸污管道11由加药管连通。所述回流管道12的两端将所述污泥池9的顶部、进水口101连通。烘干装置为污泥烘干机10,污泥烘干机10采用管道与污泥池9连通设置。
通过采用上述技术方案,污水中的颗粒状杂质和溶解的杂质产生沉淀并沉淀至沉淀室3的底部,产生的沉淀物经由吸污管道11抽送至污泥池9内,位于污泥池9上方的污水经回流管道12进入进水口101后重新进行净化,污泥烘干机10将污水产生的沉淀物进行烘干,便于对污水产生的沉淀物进行运输。
以上所述的仅为本实用新型的较佳实施例而已,并不用以限制本实用新型,凡在本实用新型的精神和原则之内,所作的任何修改、等同替换、改进等,均应包含在本实用新型的保护范围之内。
Claims (5)
1.一种小型家庭生活污水处理装置,包括箱体(1),所述箱体(1)上设有进水口(101)和出水口(102),所述箱体(1)内部设有若干过滤腔,其特征在于:若干过滤腔依次为混合室(2)、沉淀室(3)、过滤室(4)、消毒室(5),所述混合室(2)、沉淀室(3)、过滤室(4)、消毒室(5)之间首尾依次连通设置,所述进水口(101)设置于所述混合室(2)的顶部,所述混合室(2)设有加药口(201),所述过滤室(4)内设有过滤装置(8),过滤装置(8)包括若干过滤层(801),若干过滤层(801)沿上下方向均匀分布于所述过滤室(4)内,所述过滤室(4)与所述消毒室(5)的连通部位设有叶轮(6),所述消毒室(5)内设有若干紫外线消毒灯(7),若干紫外线消毒灯(7)均匀分布于所述消毒室(5)内,所述出水口(102)设置与所述消毒室(5)上;
还包括污泥池(9),所述污泥池(9)设有吸污管道(11)和回流管道(12),所述吸污管道(11)的两端将所述沉淀室(3)的底部、污泥池(9)的底部连通,所述回流管道(12)的两端将所述污泥池(9)的顶部、进水口(101)连通。
2.根据权利要求1所述的一种小型家庭生活污水处理装置,其特征在于:还包括烘干装置,所述烘干装置采用管道与所述污泥池(9)连通设置。
3.根据权利要求1所述的一种小型家庭生活污水处理装置,其特征在于:每个所述过滤层(801)的下端均设有支撑板(802),所述支撑板(802)上设有过滤孔,每个所述支撑板(802)均固定在连接杆(803)上,所述过滤室(4)上设有开口(401),所述开口(401)位于所述若干过滤层(801)的上方,所述开口(401)设有密封盖(402)。
4.根据权利要求1所述的一种小型家庭生活污水处理装置,其特征在于:所述吸污管道(11)上设有消毒装置。
5.根据权利要求1所述的一种小型家庭生活污水处理装置,其特征在于:所述污泥池(9)内部设有过滤板(901),所述过滤板(901)位于所述污泥池(9)内部的上端。
Priority Applications (1)
| Application Number | Priority Date | Filing Date | Title |
|---|---|---|---|
| CN201921369277.6U CN212476409U (zh) | 2019-08-22 | 2019-08-22 | 一种小型家庭生活污水处理装置 |
Applications Claiming Priority (1)
| Application Number | Priority Date | Filing Date | Title |
|---|---|---|---|
| CN201921369277.6U CN212476409U (zh) | 2019-08-22 | 2019-08-22 | 一种小型家庭生活污水处理装置 |
Publications (1)
| Publication Number | Publication Date |
|---|---|
| CN212476409U true CN212476409U (zh) | 2021-02-05 |
Family
ID=74414352
Family Applications (1)
| Application Number | Title | Priority Date | Filing Date |
|---|---|---|---|
| CN201921369277.6U Active CN212476409U (zh) | 2019-08-22 | 2019-08-22 | 一种小型家庭生活污水处理装置 |
Country Status (1)
| Country | Link |
|---|---|
| CN (1) | CN212476409U (zh) |
-
2019
- 2019-08-22 CN CN201921369277.6U patent/CN212476409U/zh active Active
Similar Documents
| Publication | Publication Date | Title |
|---|---|---|
| CN204162564U (zh) | 一体化医用污水处理设备 | |
| CN206570152U (zh) | 一种小型一体化mbr污水处理装置 | |
| CN102424486B (zh) | 一种医疗废物处置厂废水处理工艺及装置 | |
| CN105923896A (zh) | 一种多孔多层中空ptfe-mbr膜对生活污水的处理方法 | |
| CN209778558U (zh) | 一种家用生活污水净化装置 | |
| CN212476409U (zh) | 一种小型家庭生活污水处理装置 | |
| CN201338976Y (zh) | 医疗机构污水处理一体化设备 | |
| CN209974495U (zh) | 一种医疗废水深度处理消毒设备 | |
| CN102485671B (zh) | 一种处理精制棉生产过程污水及治污中臭气控制的方法 | |
| CN208802928U (zh) | 一种大型医疗污水处理装置 | |
| CN111732245A (zh) | 一种污水循环过滤设备 | |
| CN206666340U (zh) | 一种用于医院的病区污水处理装置 | |
| CN212315865U (zh) | 布草洗涤污水处理系统 | |
| CN212504395U (zh) | 一种药剂法生活污水快速处理系统 | |
| CN211644936U (zh) | 一种养殖水处理系统 | |
| CN108002610A (zh) | 防阻的工业污水净化装置 | |
| CN217025629U (zh) | 一种水质净化消毒一体机 | |
| CN209778573U (zh) | 一种石灰石尾矿污水处理装置 | |
| CN208667396U (zh) | 一种mbr一体化污水回用设备 | |
| CN210505900U (zh) | 一种废水多级净化及回收利用装置 | |
| CN206915952U (zh) | 一种无动力生物净化槽 | |
| CN221894852U (zh) | 一种edi除盐装置 | |
| CN216236498U (zh) | 一种新型一体化污水处理设备 | |
| CN105906171B (zh) | 一种污水处理装置 | |
| CN205821128U (zh) | 一种生态生物水处理系统 |
Legal Events
| Date | Code | Title | Description |
|---|---|---|---|
| GR01 | Patent grant | ||
| GR01 | Patent grant |