CN212440407U - an air purification device - Google Patents

an air purification device Download PDF

Info

Publication number
CN212440407U
CN212440407U CN202020334739.7U CN202020334739U CN212440407U CN 212440407 U CN212440407 U CN 212440407U CN 202020334739 U CN202020334739 U CN 202020334739U CN 212440407 U CN212440407 U CN 212440407U
Authority
CN
China
Prior art keywords
wall
air
fixedly connected
purification box
purification
Prior art date
Legal status (The legal status is an assumption and is not a legal conclusion. Google has not performed a legal analysis and makes no representation as to the accuracy of the status listed.)
Expired - Fee Related
Application number
CN202020334739.7U
Other languages
Chinese (zh)
Inventor
邢苏琴
Current Assignee (The listed assignees may be inaccurate. Google has not performed a legal analysis and makes no representation or warranty as to the accuracy of the list.)
Jiangxi Gusu Purifying Science And Technology Co ltd
Original Assignee
Jiangxi Gusu Purifying Science And Technology Co ltd
Priority date (The priority date is an assumption and is not a legal conclusion. Google has not performed a legal analysis and makes no representation as to the accuracy of the date listed.)
Filing date
Publication date
Application filed by Jiangxi Gusu Purifying Science And Technology Co ltd filed Critical Jiangxi Gusu Purifying Science And Technology Co ltd
Priority to CN202020334739.7U priority Critical patent/CN212440407U/en
Application granted granted Critical
Publication of CN212440407U publication Critical patent/CN212440407U/en
Expired - Fee Related legal-status Critical Current
Anticipated expiration legal-status Critical

Links

Images

Landscapes

  • Filtering Of Dispersed Particles In Gases (AREA)

Abstract

本实用新型公开了一种空气净化装置,包括净化箱,所述净化箱的一侧外壁靠近顶部的位置开设有进气口,且进气口的内壁固定连接有风机,所述净化箱的内壁固定连接有过滤网,所述净化箱的内壁固定连接有固定板,且固定板的底部外壁和净化箱的底部内壁均固定连接有导板,所述导板的一侧外壁开设有多个等距离分布的导流孔,且导流孔的形状为波浪形,所述导板的一侧外壁开设有通口,且通口的内壁边缘处通过法兰连接有气管。本实用新型能够防止由于空气的流动速度较快导致装置不能够有效地对空气进行净化,从而对装置的工作效率造成影响,能够对空气中的异味气体进行处理,能够根据需要对装置的净化效率进行调节,提高了装置使用的节能性。

Figure 202020334739

The utility model discloses an air purification device, comprising a purification box. An air inlet is opened on one side of the outer wall of the purification box near the top, and a fan is fixedly connected to the inner wall of the air inlet. A filter screen is fixedly connected, a fixed plate is fixedly connected to the inner wall of the purification box, and a guide plate is fixedly connected to the bottom outer wall of the fixed plate and the bottom inner wall of the purification box, and one side of the outer wall of the guide plate is provided with a plurality of equidistant distribution. A guide hole is formed, and the shape of the guide hole is wave-shaped, a through port is opened on one side of the outer wall of the guide plate, and a trachea is connected to the edge of the inner wall of the through port through a flange. The utility model can prevent the device from being unable to effectively purify the air due to the high flow speed of the air, thereby affecting the working efficiency of the device, and can treat the peculiar smell gas in the air, and can adjust the purification efficiency of the device as required. The adjustment is carried out to improve the energy saving of the device.

Figure 202020334739

Description

Air purifying device
Technical Field
The utility model relates to an air purification technical field especially relates to an air purification device.
Background
A clean room, also called a clean room or clean room, is a basis for pollution control, and controls the concentration of airborne particles so as to achieve a proper level of particle cleanliness, and is a clean room for removing contaminants such as particles, harmful air, bacteria, etc. from air within a certain spatial range.
Through the retrieval, chinese patent authorizes the patent that is CN207763121U, discloses a movable air purifier, including the air purifier install bin, there is the case lid in the top one side edge of air purifier install bin through the hinge mounting, and the push-pull ring is installed at the top of case lid, and the internally mounted of air purifier install bin has the air purifier main part, and the universal wheel is all installed to four apex angle departments of the bottom of air purifier install bin, and one side of air purifier install bin inlays to establish and installs dust collection device. The utility model is provided with the universal wheels at the bottom of the air purifier mounting box, which is convenient for the air purifier main body to move; the dust particles of the air are filtered through the activated carbon filter screen and the electrostatic dust collection plate, the bacteria microorganisms in the air can be treated through the ultraviolet germicidal lamp, the dust collection drawer capable of filtering the electrostatic dust collection plate can collect the dust filtered by the electrostatic dust collection plate by improving the purification effect and the purification efficiency, the pull ring can extract the dust collection drawer out, and the purification effect is improved. One of the movable air purifiers in the above patent has the following disadvantages: when the conventional device purifies air, the air purification effect may be influenced because the air flow speed is high.
SUMMERY OF THE UTILITY MODEL
The utility model aims at solving the defects existing in the prior art and providing an air purifying device.
In order to achieve the above purpose, the utility model adopts the following technical scheme:
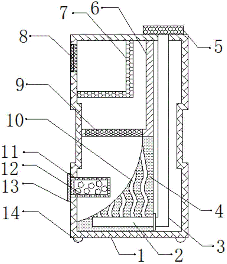
the utility model provides an air purification device, includes the purifying box, the air inlet has been seted up to the position that one side outer wall of purifying box is close to the top, and the inner wall fixedly connected with fan of air inlet, the inner wall fixedly connected with filter screen of purifying box, the inner wall fixedly connected with fixed plate of purifying box, and the equal fixedly connected with baffle of bottom outer wall of fixed plate and the bottom inner wall of purifying box, a plurality of equidistance water conservancy diversion holes that distribute are seted up to one side outer wall of baffle, and the shape in water conservancy diversion hole is the wave, the opening has been seted up to one side outer wall of baffle, and the inner wall edge of opening has the trachea through flange joint, the gas vent has been seted up to one side of purifying box top outer.
As a further aspect of the present invention: one side fixedly connected with protection casing of purifying box top outer wall, and a plurality of through-holes have been seted up to the outer wall of protection casing.
As a further aspect of the present invention: the outer wall of the bottom of the fixing plate is provided with a plurality of filtering holes which are distributed at equal intervals.
As a further aspect of the present invention: threaded holes are formed in the outer wall of one side of the purifying box, a storage box is connected to the inner wall of each threaded hole in a threaded mode, and active carbon is arranged inside the storage box.
As a further aspect of the present invention: the inner wall threaded connection of receiver has the screw cap, and the outer wall of screw cap is carved with anti-skidding line.
As a further aspect of the present invention: ball grooves are formed in four corners of the outer wall of the bottom of the purifying box, and balls are connected to the inner walls of the ball grooves in a rolling mode.
As a further aspect of the present invention: one side outer wall fixedly connected with control panel of purifying box, and one side outer wall of control panel installs the regulator, is electric connection between regulator and the fan.
The utility model has the advantages that:
1. the guide plate and the guide holes can slow down the flowing speed of air so as to be convenient for purifying the air, and the phenomenon that the device cannot effectively purify the air due to the high flowing speed of the air so as to influence the working efficiency of the device is prevented;
2. the storage box, the threaded cover and the activated carbon are arranged, so that moisture in the air can be absorbed, the air can be further purified, and meanwhile, peculiar smell gas in the air can be treated through the activated carbon;
3. through the control panel and the regulator that set up, can adjust the purification efficiency of device as required, improved the energy-conservation nature that the device used.
Drawings
Fig. 1 is a schematic cross-sectional structural view of an air cleaning apparatus according to embodiment 1;
fig. 2 is a schematic view of the overall structure of an air cleaning apparatus according to embodiment 1;
fig. 3 is a schematic cross-sectional structural diagram of an air purification apparatus provided in embodiment 2.
In the figure: 1 purifying box, 2 openings, 3 trachea, 4 baffle, 5 shields, 6 fixed plates, 7 filter screens, 8 fans, 9 filtration holes, 10 water conservancy diversion holes, 11 receivers, 12 active carbon, 13 screw caps, 14 balls, 15 regulators, 16 control panel.
Detailed Description
Reference will now be made in detail to embodiments of the present patent, examples of which are illustrated in the accompanying drawings, wherein like or similar reference numerals refer to the same or similar elements or elements having the same or similar function throughout. The embodiments described below with reference to the drawings are exemplary only for the purpose of explaining the present patent and are not to be construed as limiting the present patent.
In the description of this patent, it is to be understood that the terms "center," "upper," "lower," "front," "rear," "left," "right," "vertical," "horizontal," "top," "bottom," "inner," "outer," and the like are used in the orientations and positional relationships indicated in the drawings for the convenience of describing the patent and for the simplicity of description, and are not intended to indicate or imply that the referenced devices or elements must have a particular orientation, be constructed and operated in a particular orientation, and are not to be considered limiting of the patent.
In the description of this patent, it is noted that unless otherwise specifically stated or limited, the terms "mounted," "connected," and "disposed" are to be construed broadly and can include, for example, fixedly connected, disposed, detachably connected, disposed, or integrally connected and disposed. The specific meaning of the above terms in this patent may be understood by those of ordinary skill in the art as appropriate.
Example 1
Referring to fig. 1-2, an air purification device, including purifying box 1, the air inlet has been seted up to the position that one side outer wall of purifying box 1 is close to the top, and the inner wall of air inlet has fan 8 through bolted connection, the inner wall of purifying box 1 has filter screen 7 through bolted connection, the inner wall of purifying box 1 has fixed plate 6 through bolted connection, and the bottom outer wall of fixed plate 6 and the bottom inner wall of purifying box 1 all have baffle 4 through bolted connection, a plurality of equidistance distribution's water conservancy diversion hole 10 has been seted up to one side outer wall of baffle 4, and the shape of water conservancy diversion hole 10 is the wave, opening 2 has been seted up to one side outer wall of baffle 4, and there is trachea 3 inner wall edge of opening 2 through flange joint, the gas vent has been seted up to one side of purifying box 1.
Wherein, there is protection casing 5 one side of 1 top outer wall of purifying box through bolted connection, and protection casing 5's outer wall has seted up a plurality of through-holes, a plurality of equidistance distribution's filtration pore 9 is seted up to the bottom outer wall of fixed plate 6, one side outer wall of purifying box 1 sets up threaded hole, and the inner wall threaded connection of screw hole has receiver 11, receiver 11's inside is provided with active carbon 12, receiver 11's inner wall threaded connection has screw cap 13, and screw cap 13's outer wall is carved with anti-skidding line, the ball groove has all been seted up in the four corners of 1 bottom outer wall of purifying box, and the inner wall roll connection in ball groove has ball.
The working principle is as follows: during the use, absorb the inside to purifying box 1 with the air through fan 8, carry out preliminary purification treatment to the air through filter screen 7, the air after preliminary purification can further carry out purification treatment through filtration hole 9, can absorb the moisture in the air through active carbon 12, so that further carry out purification treatment to the air, and simultaneously, can handle the peculiar smell gas in the air through active carbon 12, can slow down the flow velocity of air through water conservancy diversion hole 10, so that carry out purification treatment to the air, prevent because the flow velocity of air leads to the device can not purify the air effectively very fast, thereby cause the influence to the work efficiency of device.
Example 2
Referring to fig. 3, in this embodiment, compared with embodiment 1, the outer wall of one side of the purifying box 1 is connected to the control panel 16 through the bolt, and the outer wall of one side of the control panel 16 is installed with the regulator 15, and the regulator 15 is electrically connected to the fan 8.
The working principle is as follows: during the use, absorb the inside to purifying box 1 through fan 8 with the air, carry out preliminary purification treatment to the air through filter screen 7, the air after preliminary purification can further carry out purification treatment through filtration pore 9, can absorb the moisture in the air through active carbon 12, so that further carry out purification treatment to the air, and simultaneously, can handle the peculiar smell gas in the air through active carbon 12, can slow down the flow velocity of air through water conservancy diversion hole 10, so that carry out purification treatment to the air, prevent to lead to the device to purify the air effectively because the flow velocity of air is very fast, thereby cause the influence to the work efficiency of device, can adjust the purification efficiency of device as required through control panel 16 and regulator 15, improve the energy-conservation nature that the device used.
The above, only be the concrete implementation of the preferred embodiment of the present invention, but the protection scope of the present invention is not limited thereto, and any person skilled in the art is in the technical scope of the present invention, according to the technical solution of the present invention and the utility model, the concept of which is equivalent to replace or change, should be covered within the protection scope of the present invention.

Claims (7)

1.一种空气净化装置,包括净化箱(1),其特征在于,所述净化箱(1)的一侧外壁靠近顶部的位置开设有进气口,且进气口的内壁固定连接有风机(8),所述净化箱(1)的内壁固定连接有过滤网(7),所述净化箱(1)的内壁固定连接有固定板(6),且固定板(6)的底部外壁和净化箱(1)的底部内壁均固定连接有导板(4),所述导板(4)的一侧外壁开设有多个等距离分布的导流孔(10),且导流孔(10)的形状为波浪形,所述导板(4)的一侧外壁开设有通口(2),且通口(2)的内壁边缘处通过法兰连接有气管(3),所述净化箱(1)顶部外壁的一侧开设有排气口,且排气口的内壁与气管(3)之间焊接。1. An air purification device, comprising a purification box (1), characterized in that an air inlet is opened on one side of the outer wall of the purification box (1) near the top, and a fan is fixedly connected to the inner wall of the air inlet. (8), the inner wall of the purification box (1) is fixedly connected with a filter screen (7), the inner wall of the purification box (1) is fixedly connected with a fixing plate (6), and the bottom outer wall of the fixing plate (6) and A guide plate (4) is fixedly connected to the bottom inner wall of the purification box (1), and one side outer wall of the guide plate (4) is provided with a plurality of guide holes (10) distributed at equal distances, and the guide holes (10) are provided with a plurality of guide holes (10). The shape is wavy, the outer wall of one side of the guide plate (4) is provided with a through port (2), and the edge of the inner wall of the through port (2) is connected with a trachea (3) through a flange, and the purification box (1) An exhaust port is opened on one side of the outer wall of the top, and the inner wall of the exhaust port and the air pipe (3) are welded. 2.根据权利要求1所述的一种空气净化装置,其特征在于,所述净化箱(1)顶部外壁的一侧固定连接有防护罩(5),且防护罩(5)的外壁开设有多个通孔。2. An air purification device according to claim 1, characterized in that a protective cover (5) is fixedly connected to one side of the outer wall of the top of the purification box (1), and the outer wall of the protective cover (5) is provided with a protective cover (5). multiple vias. 3.根据权利要求1所述的一种空气净化装置,其特征在于,所述固定板(6)的底部外壁开设有多个等距离分布的滤孔(9)。3 . The air purification device according to claim 1 , wherein a plurality of filter holes ( 9 ) distributed at equal distances are opened on the bottom outer wall of the fixing plate ( 6 ). 4 . 4.根据权利要求1或2所述的一种空气净化装置,其特征在于,所述净化箱(1)的一侧外壁开设有螺纹孔,且螺纹孔的内壁螺纹连接有收纳盒(11),收纳盒(11)的内部设置有活性炭(12)。4. An air purification device according to claim 1 or 2, characterized in that a threaded hole is opened on one side of the outer wall of the purification box (1), and a storage box (11) is threadedly connected to the inner wall of the threaded hole. , activated carbon (12) is arranged inside the storage box (11). 5.根据权利要求4所述的一种空气净化装置,其特征在于,所述收纳盒(11)的内壁螺纹连接有螺纹盖(13),且螺纹盖(13)的外壁刻有防滑纹。5 . The air purification device according to claim 4 , wherein a threaded cover ( 13 ) is threadedly connected to the inner wall of the storage box ( 11 ), and the outer wall of the threaded cover ( 13 ) is engraved with anti-skid patterns. 6 . 6.根据权利要求4所述的一种空气净化装置,其特征在于,所述净化箱(1)底部外壁的四角均开设有滚珠槽,且滚珠槽的内壁滚动连接有滚珠(14)。6 . The air purification device according to claim 4 , wherein ball grooves are provided at the four corners of the outer wall of the bottom of the purification box ( 1 ), and balls ( 14 ) are rollingly connected to the inner wall of the ball groove. 7 . 7.根据权利要求1所述的一种空气净化装置,其特征在于,所述净化箱(1)的一侧外壁固定连接有控制面板(16),且控制面板(16)的一侧外壁安装有调节器(15),调节器(15)与风机(8)之间呈电性连接。7. An air purification device according to claim 1, characterized in that a control panel (16) is fixedly connected to one side outer wall of the purification box (1), and one side outer wall of the control panel (16) is installed There is a regulator (15), and the regulator (15) and the fan (8) are electrically connected.
CN202020334739.7U 2020-03-17 2020-03-17 an air purification device Expired - Fee Related CN212440407U (en)

Priority Applications (1)

Application Number Priority Date Filing Date Title
CN202020334739.7U CN212440407U (en) 2020-03-17 2020-03-17 an air purification device

Applications Claiming Priority (1)

Application Number Priority Date Filing Date Title
CN202020334739.7U CN212440407U (en) 2020-03-17 2020-03-17 an air purification device

Publications (1)

Publication Number Publication Date
CN212440407U true CN212440407U (en) 2021-02-02

Family

ID=74466887

Family Applications (1)

Application Number Title Priority Date Filing Date
CN202020334739.7U Expired - Fee Related CN212440407U (en) 2020-03-17 2020-03-17 an air purification device

Country Status (1)

Country Link
CN (1) CN212440407U (en)

Cited By (1)

* Cited by examiner, † Cited by third party
Publication number Priority date Publication date Assignee Title
CN114485054A (en) * 2022-01-27 2022-05-13 马靳超 Backflow expansion high-purity nitrogen air separation equipment

Cited By (1)

* Cited by examiner, † Cited by third party
Publication number Priority date Publication date Assignee Title
CN114485054A (en) * 2022-01-27 2022-05-13 马靳超 Backflow expansion high-purity nitrogen air separation equipment

Similar Documents

Publication Publication Date Title
CN211864361U (en) Spraying equipment for waste gas treatment
CN209885413U (en) Integral type coating cloud exhaust gas purification device
TWM595198U (en) Air purification system and internet of things artificial intelligence control device
CN212440407U (en) an air purification device
CN212837909U (en) Ventilation unit is used in high gas district tunnel construction
CN206055796U (en) A kind of Novel moveable air cleaner
CN108211738A (en) The removable multistage effective emission-control equipment of one kind
CN203469676U (en) Indoor fresh air purification device
CN210159336U (en) Waste gas treatment device
CN217654059U (en) Air filter for purification
CN214370770U (en) Tower-type purifier with sterilization system
CN206577541U (en) Air purification device for public facilities
CN213146798U (en) Air purification equipment
CN203725001U (en) Water curtain photo-oxidation integrated exhaust gas purifier
CN110152442B (en) Waste gas treatment equipment for spraying plastic products
CN211551892U (en) Air purifier
CN109959107A (en) A kind of fresh air system
CN218033560U (en) Movable air purifier
CN207831572U (en) A kind of fresh air system
CN206222520U (en) A kind of ionic tube air purifier
CN207694818U (en) Biological clean safety cabinet
CN112781119A (en) Air purification device for baby room
CN221244606U (en) Non-organization waste gas circulation and purification integrated machine device
CN118856480B (en) A kind of hanging type air purification equipment
CN218944681U (en) Fume exhaust fan clarification plant

Legal Events

Date Code Title Description
GR01 Patent grant
GR01 Patent grant
CF01 Termination of patent right due to non-payment of annual fee

Granted publication date: 20210202

CF01 Termination of patent right due to non-payment of annual fee