CN212346287U - A heatable thermos cup - Google Patents

A heatable thermos cup Download PDF

Info

Publication number
CN212346287U
CN212346287U CN201920737157.0U CN201920737157U CN212346287U CN 212346287 U CN212346287 U CN 212346287U CN 201920737157 U CN201920737157 U CN 201920737157U CN 212346287 U CN212346287 U CN 212346287U
Authority
CN
China
Prior art keywords
fixedly connected
cup
hole
cup body
heating block
Prior art date
Legal status (The legal status is an assumption and is not a legal conclusion. Google has not performed a legal analysis and makes no representation as to the accuracy of the status listed.)
Expired - Fee Related
Application number
CN201920737157.0U
Other languages
Chinese (zh)
Inventor
罗洋
Current Assignee (The listed assignees may be inaccurate. Google has not performed a legal analysis and makes no representation or warranty as to the accuracy of the list.)
Hubei University
Original Assignee
Hubei University
Priority date (The priority date is an assumption and is not a legal conclusion. Google has not performed a legal analysis and makes no representation as to the accuracy of the date listed.)
Filing date
Publication date
Application filed by Hubei University filed Critical Hubei University
Application granted granted Critical
Publication of CN212346287U publication Critical patent/CN212346287U/en
Expired - Fee Related legal-status Critical Current
Anticipated expiration legal-status Critical

Links

Images

Landscapes

  • Cookers (AREA)

Abstract

本实用新型公开了一种可加热的保温杯,包括杯体,所述杯体的底端固定连接有底座,所述底座的底端内壁固定安装有蓄电池,所述杯体的底端内壁转动连接有第一转轴,所述第一转轴的外部固定连接有加热块,所述加热块的内壁固定连接有电热丝,所述加热块与蓄电池之间连接有导线,杯体的底端转动连接有旋转环,旋转环与加热块固定连接,杯体的两侧内壁之间固定连接有隔热板,隔热板的中部开设有通孔,隔热板在通孔处设有伸缩板。相比较现有装置而言,本实用新型设置了加热块、蓄电池、杯盖、隔热板、伸缩板和推杆,可以使保温杯既可以装开水,又可以装常温水,且需要的时候可将其混合,加热块的设置可以使保温杯中的水升温,达到合适的温度。

Figure 201920737157

The utility model discloses a heatable insulation cup, comprising a cup body, a base is fixedly connected to the bottom end of the cup body, a battery is fixedly installed on the inner wall of the bottom end of the base, and the inner wall of the bottom end of the cup body rotates A first rotating shaft is connected, a heating block is fixedly connected to the outside of the first rotating shaft, an electric heating wire is fixedly connected to the inner wall of the heating block, a wire is connected between the heating block and the battery, and the bottom end of the cup body is rotatably connected There is a rotating ring, the rotating ring is fixedly connected with the heating block, a heat insulating plate is fixedly connected between the two inner walls of the cup body, a through hole is opened in the middle of the heat insulating plate, and a telescopic plate is arranged at the through hole of the heat insulating plate. Compared with the existing device, the utility model is provided with a heating block, a battery, a cup cover, a heat insulation board, a telescopic board and a push rod, so that the thermos cup can be filled with both boiled water and normal temperature water, and when needed. It can be mixed, and the heating block is set to warm the water in the thermos to the right temperature.

Figure 201920737157

Description

Heatable vacuum cup
Technical Field
The utility model relates to the technical field of articles for daily use, especially, relate to a heatable thermos cup.
Background
In many families, usually adopt the insulating pot to boil water, shift to the thermos cup after boiling, the thermos cup is the container of flourishing water that is made by stainless steel plus vacuum layer generally, the top has the lid, it is sealed tight, vacuum heat insulation layer enables liquid such as the water of dress inside to delay the heat dissipation, in order to reach the purpose that keeps warm, however, in practical application, thermos cup heat preservation effect is often very unsatisfactory, especially the thermos cup that the volume is less can only keep warm even for several hours, can not satisfy people's requirement to the heat preservation effect far away, and current thermos cup can only preserve hot water, can not put room temperature water and hot water together, can not stand to drink the water of suitable temperature when needing to drink, for this we propose a heatable thermos cup.
SUMMERY OF THE UTILITY MODEL
The utility model aims at solving the problem that the existing vacuum cup can not be heated, and the hot and cold water can not be added simultaneously by layering, and the provided vacuum cup can be heated.
In order to achieve the above purpose, the utility model adopts the following technical scheme:
a heatable vacuum cup comprises a cup body, wherein the bottom end of the cup body is fixedly connected with a base, a storage battery is fixedly arranged on the inner wall of the bottom end of the base, a first rotating shaft is rotatably connected with the inner wall of the bottom end of the cup body, a heating block is fixedly connected to the outer part of the first rotating shaft, a heating wire is fixedly connected to the inner wall of the heating block, a conducting wire is connected between the heating block and the storage battery, a rotating ring is rotatably connected with the bottom end of the cup body and fixedly connected with the heating block, a heat insulation plate is fixedly connected between the inner walls of two sides of the cup body, a through hole is formed in the middle of the heat insulation plate, a telescopic plate is arranged at the through hole of the heat insulation plate, a first fixing block is arranged between the inner walls of two sides of the heat insulation plate, a through hole is formed in the, the bottom end of the connecting rod is fixedly connected with the expansion plate.
Preferably, the top end of the connecting rod is provided with a second fixed block, the middle of the second fixed block is provided with a through hole, a first spring is arranged between the first fixed block and the second fixed block, and the first spring is sleeved outside the connecting rod.
Preferably, the equal fixedly connected with buckle in both sides of cup, the top of cup is equipped with the bowl cover, the equal fixedly connected with third pivot in both sides of bowl cover, the outside fixedly connected with pothook of third pivot, pothook and buckle looks adaptation, be equipped with torsion spring between pothook and the third pivot.
Preferably, a through hole is formed in the middle of the top end of the cup cover, a push rod is arranged at the through hole of the cup cover, and the diameter of the push rod is matched with the size of the through hole of the second fixing block.
Preferably, two second pivots of top fixedly connected with of bowl cover, two the equal fixedly connected with top cap in outside of second pivot, the equal fixedly connected with bottom plate in bowl cover both sides bottom, the equal fixedly connected with telescopic link in top one side of bottom plate.
Preferably, a through hole is formed in one side, away from the telescopic rod, of the bottom plate, a second spring is fixedly connected to the inner wall of one side of the telescopic rod, and a baffle is fixedly connected to one end of the telescopic rod.
The utility model has the advantages that:
1. by arranging the heating block and the storage battery, when the temperature of water in the vacuum cup is low, the storage battery supplies electricity to the heating block, so that the heating wire generates heat to heat the water in the vacuum cup, and the temperature of the water is raised to reach the proper temperature;
2. through having set up bowl cover, heat insulating board, expansion plate and push rod, the push rod pushes down and makes the telescopic link get into the heat insulating board, and the water in the heat preservation chamber can get into the normal temperature chamber, both can make the hot and cold water mix, can pour out hot water alone again.
Compared with the prior art, the utility model discloses set up heating block, battery, bowl cover, heat insulating board, expansion plate and push rod, can make the thermos cup both can adorn the boiling water, can adorn normal atmospheric temperature water again, and can mix it when needing, the water in the thermos cup heaies up in setting up of heating block, reaches suitable temperature.
Drawings
Fig. 1 is a schematic front view of a heatable vacuum cup according to the present invention;
FIG. 2 is a schematic side view of a heatable vacuum cup according to the present invention;
fig. 3 is a schematic view of a top view structure of the heatable vacuum cup of the present invention.
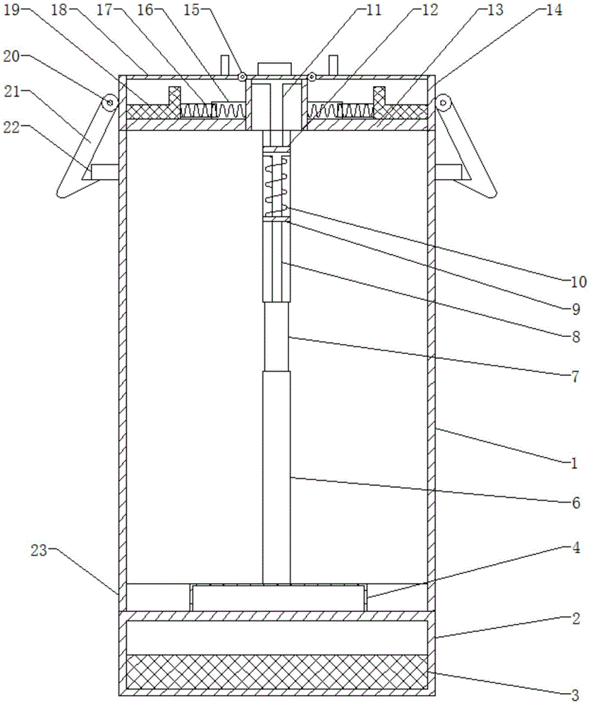
In the figure: the cup comprises a cup body 1, a base 2, a storage battery 3, a heating block 4, a first rotating shaft 5, a heat insulation plate 6, a telescopic plate 7, a connecting rod 8, a first fixing block 9, a first spring 10, a push rod 11, a second fixing block 12, a bottom plate 13, a cup cover 14, a second rotating shaft 15, a telescopic rod 16, a second spring 17, a top cover 18, a baffle plate 19, a third rotating shaft 20, a clamping hook 21, a clamping buckle 22 and a rotating ring 23.
Detailed Description
The technical solutions in the embodiments of the present invention will be described clearly and completely with reference to the accompanying drawings in the embodiments of the present invention, and it is obvious that the described embodiments are only some embodiments of the present invention, not all embodiments.
Referring to fig. 1-3, a heatable vacuum cup comprises a cup body 1, a base 2 is fixedly connected to the bottom end of the cup body 1, a storage battery 3 is fixedly installed on the inner wall of the bottom end of the base 2, a first rotating shaft 5 is rotatably connected to the inner wall of the bottom end of the cup body 1, a heating block 4 is fixedly connected to the outside of the first rotating shaft 5, a heating wire is fixedly connected to the inner wall of the heating block 4, a conducting wire is connected between the heating block 4 and the storage battery, a rotating ring 23 is rotatably connected to the bottom end of the cup body 1, the rotating ring 23 is fixedly connected with the heating block 4, a heat insulation plate 6 is fixedly connected between the inner walls of the two sides of the cup body 1, a through hole is formed in the middle part of the heat insulation plate 6, a telescopic plate 7 is arranged at the through hole position of the heat, the connecting rod 8 extends to the bottom end of a first fixing block 9 at a through hole, the bottom end of the connecting rod 8 is fixedly connected with a telescopic plate 7, a second fixing block 12 is arranged at the top end of the connecting rod 8, a through hole is formed in the middle of the second fixing block 12, a first spring 10 is arranged between the first fixing block 9 and the second fixing block 12, the first spring 10 is sleeved outside the connecting rod 8, buckles 22 are fixedly connected to both sides of the cup body 1, a cup cover 14 is arranged at the top end of the cup body 1, a third rotating shaft 20 is fixedly connected to both sides of the cup cover 14, a hook 21 is fixedly connected to the outside of the third rotating shaft 20, the hook 21 is matched with the buckle 22, a torsion spring is arranged between the hook 21 and the third rotating shaft 20, a through hole is formed in the middle of the top end of the cup cover 14, a push rod 11 is arranged at the through hole, the diameter of the push rod 11 is matched with, the equal fixedly connected with top cap 18 in outside of two second pivot 15, the equal fixedly connected with bottom plate 13 in bowl cover 14 both sides bottom, the equal fixedly connected with telescopic link 16 in top one side of bottom plate 13, the through-hole has been seted up to one side that telescopic link 16 was kept away from to bottom plate 13, the equal fixedly connected with second spring 17 of one side inner wall of telescopic link 16, the equal fixedly connected with baffle 19 of one end of telescopic link 16.
The working principle is as follows: when the heatable vacuum cup is used, cavities on two sides of a heat insulation plate 6 can be heated, one side of the vacuum cup has a heat insulation function, a cup cover 14 is covered, a clamping hook 21 is sleeved on a clamping buckle 22, the cup cover 14 is covered, when water needs to be poured, a top fixing block at the top end of a top cover 18 can be pressed, the top cover 18 is opened, a sliding baffle plate 19 compresses a second spring 17 and a telescopic rod 16, water can be poured from a bottom plate 13, when the water in normal temperature is insufficient or the temperature is low, the push rod 11 can be pressed to enable the push rod 11 to press a connecting rod 8, the connecting rod 8 compresses a first spring 10, the telescopic plate 7 descends into the heat insulation plate 6, the water in the heat insulation chamber can flow into a normal temperature chamber at the moment, the push rod 11 is released to enable the telescopic plate 7 to be closed, when the temperature of the heat insulation chamber and the normal temperature chamber is low, a power supply can be started to enable a storage battery 3 to energize a heating block, the water in the cup can be reheated, the heating block 4 can be rotated around the first rotating shaft 5 by rotating the rotating ring 23, and the heating block 4 can enter the heat preservation cavity and the normal temperature cavity for heating.
The above, only be the concrete implementation of the preferred embodiment of the present invention, but the protection scope of the present invention is not limited thereto, and any person skilled in the art is in the technical scope of the present invention, according to the technical solution of the present invention and the utility model, the concept of which is equivalent to replace or change, should be covered within the protection scope of the present invention.

Claims (6)

1. A heatable vacuum cup comprises a cup body (1) and is characterized in that a base (2) is fixedly connected to the bottom end of the cup body (1), a storage battery (3) is fixedly mounted on the inner wall of the bottom end of the base (2), a first rotating shaft (5) is rotatably connected to the inner wall of the bottom end of the cup body (1), a heating block (4) is fixedly connected to the outer portion of the first rotating shaft (5), a heating wire is fixedly connected to the inner wall of the heating block (4), a lead is connected between the heating block (4) and the storage battery, a rotating ring (23) is rotatably connected to the bottom end of the cup body (1), the rotating ring (23) is fixedly connected with the heating block (4), a heat insulation plate (6) is fixedly connected between the inner walls of two sides of the cup body (1), a through hole is formed in the middle of the heat insulation plate (6), and a telescopic, be equipped with first fixed block (9) between the both sides inner wall of heat insulating board (6), the through-hole has been seted up at the middle part of first fixed block (9), first fixed block (9) are equipped with connecting rod (8) in through-hole department, connecting rod (8) extend to the bottom of first fixed block (9) at through-hole department, the bottom and expansion plate (7) fixed connection of connecting rod (8).
2. A heatable vacuum cup as claimed in claim 1, characterized in that a second fixed block (12) is arranged at the top end of the connecting rod (8), a through hole is arranged in the middle of the second fixed block (12), a first spring (10) is arranged between the first fixed block (9) and the second fixed block (12), and the first spring (10) is sleeved outside the connecting rod (8).
3. A heatable vacuum cup as claimed in claim 1, characterized in that the cup body (1) is fixedly connected with buckles (22) on both sides, the top end of the cup body (1) is provided with a cup cover (14), the cup cover (14) is fixedly connected with a third rotating shaft (20) on both sides, a hook (21) is fixedly connected to the outside of the third rotating shaft (20), the hook (21) is adapted to the buckles (22), and a torsion spring is arranged between the hook (21) and the third rotating shaft (20).
4. A heatable vacuum cup as claimed in claim 3, characterized in that the top end of the cup cover (14) is provided with a through hole in the middle, the cup cover (14) is provided with a push rod (11) at the through hole, the diameter of the push rod (11) is adapted to the size of the through hole of the second fixed block (12).
5. A heatable vacuum cup as claimed in claim 3, characterized in that two second shafts (15) are fixedly connected to the top of the cup cover (14), a top cover (18) is fixedly connected to the outside of both second shafts (15), a bottom plate (13) is fixedly connected to the bottom of both sides of the cup cover (14), and a telescopic rod (16) is fixedly connected to one side of the top of the bottom plate (13).
6. A heatable vacuum cup as claimed in claim 5, characterized in that the bottom plate (13) is provided with a through hole on the side away from the telescopic rod (16), the inner wall of one side of the telescopic rod (16) is fixedly connected with a second spring (17), and one end of the telescopic rod (16) is fixedly connected with a baffle (19).
CN201920737157.0U 2018-11-29 2019-05-22 A heatable thermos cup Expired - Fee Related CN212346287U (en)

Applications Claiming Priority (2)

Application Number Priority Date Filing Date Title
CN2018219835285 2018-11-29
CN201821983528 2018-11-29

Publications (1)

Publication Number Publication Date
CN212346287U true CN212346287U (en) 2021-01-15

Family

ID=74136587

Family Applications (1)

Application Number Title Priority Date Filing Date
CN201920737157.0U Expired - Fee Related CN212346287U (en) 2018-11-29 2019-05-22 A heatable thermos cup

Country Status (1)

Country Link
CN (1) CN212346287U (en)

Cited By (1)

* Cited by examiner, † Cited by third party
Publication number Priority date Publication date Assignee Title
CN116204012A (en) * 2023-03-07 2023-06-02 宁波市春辰未来科技有限公司 Thermos cup temperature control method and system, storage medium and intelligent terminal

Cited By (1)

* Cited by examiner, † Cited by third party
Publication number Priority date Publication date Assignee Title
CN116204012A (en) * 2023-03-07 2023-06-02 宁波市春辰未来科技有限公司 Thermos cup temperature control method and system, storage medium and intelligent terminal

Similar Documents

Publication Publication Date Title
CN201855104U (en) Inner container heating structure of electric kettle
CN102028402A (en) Inner container heating structure of electric kettle
CN212346287U (en) A heatable thermos cup
CN110946476A (en) Double-liner electric kettle
CN206044224U (en) Multifunctional vacuum cup
CN205072725U (en) Electrical heating heat preservation thermos flask
CN201899259U (en) Automatic heating heat-insulating cup
CN205144195U (en) Chemistry heating formulation thermos cup
CN207125593U (en) A kind of constant temperature smoldering inner bag and its thermally insulated cup for braising
CN205597382U (en) Multi -functional heat preservation lunch -box of camping
CN201595582U (en) stainless steel thermos cup
CN202681642U (en) Electric kettle
CN201409798Y (en) Convenient wine heating device
CN107280381A (en) Full-coverage hand warming cup
CN221963389U (en) A steam-heated thermos pot
CN209202668U (en) Thermal insulation teacup with heating function
CN221242522U (en) Double-layer heat-insulating glass kettle
CN214548685U (en) Multifunctional vacuum cup
CN202761020U (en) Vacuum heat storage double thermal insulation type dry burning-resisting electric kettle
CN202775856U (en) Vacuum heat-accumulation double heat-preservation dry-burning-resisting electric kettle discharging water from top portion
CN202775853U (en) Vacuum heat accumulation triple heat preservation type dry-heating-prevention electric kettle of long lasting heat preservation structure
CN202567521U (en) Vacuum cup
CN217610520U (en) Heatable heat-insulation anti-scald tea cup
CN221888084U (en) A thermos pot with a steam release valve
CN206406789U (en) Vehicle-mounted hot-water heating system

Legal Events

Date Code Title Description
GR01 Patent grant
GR01 Patent grant
CF01 Termination of patent right due to non-payment of annual fee
CF01 Termination of patent right due to non-payment of annual fee

Granted publication date: 20210115

Termination date: 20210522