CN212339490U - Negative Ion Air Purifier with RGB Lights - Google Patents

Negative Ion Air Purifier with RGB Lights Download PDF

Info

Publication number
CN212339490U
CN212339490U CN202020574191.3U CN202020574191U CN212339490U CN 212339490 U CN212339490 U CN 212339490U CN 202020574191 U CN202020574191 U CN 202020574191U CN 212339490 U CN212339490 U CN 212339490U
Authority
CN
China
Prior art keywords
rgb lamp
filter
anion
shell
air
Prior art date
Legal status (The legal status is an assumption and is not a legal conclusion. Google has not performed a legal analysis and makes no representation as to the accuracy of the status listed.)
Expired - Fee Related
Application number
CN202020574191.3U
Other languages
Chinese (zh)
Inventor
秦光灿
Current Assignee (The listed assignees may be inaccurate. Google has not performed a legal analysis and makes no representation or warranty as to the accuracy of the list.)
Shaoxing Shunsheng Electric Appliance Co ltd
Original Assignee
Shaoxing Shunsheng Electric Appliance Co ltd
Priority date (The priority date is an assumption and is not a legal conclusion. Google has not performed a legal analysis and makes no representation as to the accuracy of the date listed.)
Filing date
Publication date
Application filed by Shaoxing Shunsheng Electric Appliance Co ltd filed Critical Shaoxing Shunsheng Electric Appliance Co ltd
Application granted granted Critical
Publication of CN212339490U publication Critical patent/CN212339490U/en
Expired - Fee Related legal-status Critical Current
Anticipated expiration legal-status Critical

Links

Images

Landscapes

  • Arrangement Of Elements, Cooling, Sealing, Or The Like Of Lighting Devices (AREA)
  • Disinfection, Sterilisation Or Deodorisation Of Air (AREA)

Abstract

本实用新型公开了一种带RGB灯的负离子空气净化器,包括外壳、与电源连接的电源板,所述外壳内部从下到上设置有与电源板相连的风扇、负离子发生器,负离子发生器上方设置有过滤器,所述外壳底部设有底座、顶部设置有灯罩,所述底座上开设有进风口,灯罩顶端开设有出风口,外壳内设有与电源板相连的RGB灯。本实用新型提供了具有产生空气负离子的功能,可发出不同彩色的灯光,方便过滤器、负离子发生器清理,使用安全的带RGB灯的负离子空气净化器。

Figure 202020574191

The utility model discloses a negative ion air purifier with RGB lamps, which comprises a casing and a power supply board connected with a power supply, wherein a fan connected with the power supply board, a negative ion generator and a negative ion generator are arranged inside the housing from bottom to top. A filter is arranged above, a base is arranged at the bottom of the casing, a lampshade is arranged at the top, an air inlet is formed on the base, an air outlet is formed at the top of the lampshade, and an RGB lamp connected to the power board is arranged in the casing. The utility model provides a negative ion air purifier with the function of generating air negative ions, which can emit lights of different colors, facilitates the cleaning of filters and negative ion generators, and uses a safe negative ion air purifier with RGB lights.

Figure 202020574191

Description

Anion air purifier with RGB lamp
Technical Field
The utility model relates to a take anion air purifier of RGB lamp belongs to domestic air purification equipment technical field.
Background
The air purifier is a product capable of adsorbing, decomposing or converting pollutants in various kinds of air and effectively improving the cleanliness of indoor air. The air purifier is applied to the fields of household, medical treatment and industry, and a single-machine household air purifier is a mainstream product in the market in the field of household. The most important function is to remove particulate matters in the air, including allergens, indoor PM2.5 and the like, and simultaneously, the problem of air pollution caused by volatile organic compounds in rooms, underground spaces and vehicles due to decoration or other reasons can be solved. However, when the air purifier is used, the door and the window usually need to be closed, and people feel dizziness when staying in a closed room for a long time, mainly because negative ions are lost in the air of the closed room, the existing air purifier usually does not have the function of generating the negative ions, and the attractiveness also needs to be improved.
Disclosure of Invention
The utility model aims to solve the technical problem that an anion air purifier who takes RGB lamp is provided, has the function of producing air anion to be equipped with the RGB lamp, can send different colored light, improve the visual aesthetic feeling, can solve the not enough of prior art.
The technical scheme of the utility model is that: the utility model provides a take anion air purifier of RGB lamp, includes the shell, the power strip of being connected with the power, supreme fan, the anion generator who links to each other with the power strip of being provided with is followed to shell inside, and the anion generator top is provided with the filter, the shell bottom is equipped with the base, the top is provided with the lamp shade, the air intake has been seted up on the base, and the air outlet has been seted up on the lamp shade top, is equipped with the RGB lamp that links to each other with the power strip in the shell. Under the action of the fan, air enters from the air inlet of the base, is ionized through the anion generator to generate air anions, is filtered through the filter and then is discharged from the air outlet at the top end of the lampshade, meanwhile, the RGB lamps in the shell generate colorful light and transmit the colorful light out of the lampshade, and the RGB lamps are used for emitting light to improve the atmosphere of the environment.
Further the RGB lamp includes the RGB lamp plate, be provided with the cover that is in the light on the RGB lamp plate. The light blocking cover enables light to be softer and more comfortable to see.
Further, an air mask is arranged at the air outlet. Prevent foreign matter from falling into the housing and causing damage to the internal device.
Further wind gauze mask detachably sets up in air outlet department, filter detachably installs in anion generator top, and the diameter of filter is less than the diameter of air outlet. After the air port cover is detached, the filter can be taken out from the inside of the shell to be cleaned or replaced, and the air port cover is more convenient and simpler to use.
Further, a blade switch for controlling the switch of the negative ion generator is arranged in the shell, and the blade switch is connected and matched with the filter. Under the purifier running state, when taking out the filter, the blade switch disconnection, anion generator outage stop work can clear up or take it, when putting the filter, the blade switch-on, anion generator circular telegram continues work, also can carry out anion generator's clearance safely and take under the purifier running state, has increased the security performance who uses.
The filter further comprises a filter bracket, the bottom of the filter bracket is connected and matched with the vane switch, and an activated carbon filter is placed on the filter bracket. The filter is convenient to disassemble and assemble.
The anion generator comprises a high-pressure sheet support and a rack support which are arranged in an up-down corresponding mode, wherein a high-pressure sheet is arranged in the high-pressure sheet support, a rack is arranged in the rack support, a spring piece is arranged on the inner wall of the shell, the high-pressure sheet support and the high-pressure sheet are detachably arranged in the shell and are connected with the spring piece to form one pole of the anion generator in a matched mode, and the rack support are the other pole of the anion generator. Because of anion generator is when the ionized air, dust particle is also ionized and adsorb on the electrode, just form one extremely through high-pressure plate support and high-pressure plate detachably set up when contacting with the spring leaf, conveniently detach and take out and clear up absorbent dust particle.
Further the RGB lamp is cyclic annular and sets up in the fan periphery, be annular RGB lamp and constitute by two semi-annular RGB lamp plates, be provided with the semi-annular that corresponds on every semi-annular RGB lamp plate and be in the light cover. The air drawn by the fan passes through the annular inner part, and the air flowing and purifying inside the purifier is not blocked and the like.
To sum up, the utility model provides a have the function of producing air anion, can send different colored light, make things convenient for filter, anion generator to clear up, the anion air purifier of taking RGB lamp safe in utilization.
Drawings
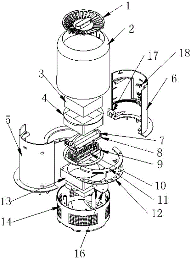
Fig. 1 is a schematic structural diagram of the present invention.
Shown in the figure: a wind mask 1; a lamp shade 2; an activated carbon filter 3; a filter holder 4; a first case body 5; a second housing body 6; a high-pressure tablet 7; a high-pressure sheet holder 8; a rack bracket 9; a rack 10; a light-blocking cover 11; an RGB lamp panel 12; a fan 13; a base 14; a power panel 16; a spring plate 17; a leaf switch 18.
Detailed Description
The embodiment of the utility model provides a: as shown in fig. 1, an anion air purifier with RGB lamps comprises a shell composed of a first shell body 5 and a second shell body 6, and a power panel 16 connected with a power supply, wherein a fan 13 and an anion generator connected with the power panel 16 are arranged inside the shell from bottom to top, a filter is arranged above the anion generator, a base 14 is arranged at the bottom of the shell, a lampshade 2 is arranged at the top of the shell, an air inlet is formed in the base 14, an air outlet is formed in the top end of the lampshade 2, and RGB lamps connected with the power panel are arranged in the shell.
When the lamp is used, under the action of the fan 13, air enters from the air inlet of the base 4 and is firstly ionized by the anion generator to generate air anions, and then is filtered by the filter and then is discharged from the air outlet at the top end of the lamp shade 2, meanwhile, the RGB lamps in the shell generate colorful light which is transmitted out from the lamp shade 2, and the RGB lamps are used for emitting light to improve the atmosphere of the environment.
The preferred RGB lamp of this embodiment includes RGB lamp plate 12, is provided with light blocking cover 11 on RGB lamp plate 12. The light blocking cover 11 enables the light to be softer and more comfortable to see.
The preferred air outlet of this embodiment is provided with an air mask 1. Prevent foreign matter from falling into the housing and causing damage to the internal device.
The preferential wind gauze mask 1 of this embodiment sets up in air outlet department detachably, and filter detachably installs in anion generator top, and the diameter of filter is less than the diameter of air outlet. After the air port cover is detached, the filter can be taken out from the inside of the shell to be cleaned or replaced, and the air port cover is more convenient and simpler to use.
The preferred housing of this embodiment is provided with a vane switch 18 for controlling the on/off of the ionizer, and the vane switch 18 is connected to and engaged with the filter. Under the purifier running state, when taking out the filter, leaf switch 18 disconnection, anion generator outage stop work can clear up or take it, when putting the filter, leaf switch 18 switch-on, anion generator circular telegram continues to work, also can carry out anion generator's clearance safely and take under the purifier running state, has increased the security performance who uses.
The preferred filter of this embodiment includes a filter holder 14 having a bottom portion fitted in connection with a vane switch 18, and an activated carbon filter 3 is placed on the filter holder 14. The filter is convenient to disassemble and assemble.
The preferential anion generator of this embodiment includes the high-tension sheet support 8, the rack support 9 that correspond the setting from top to bottom, is provided with high-tension sheet 7 in the high-tension sheet support 8, is provided with rack 10 in the rack support 9, is provided with spring leaf 17 on the shell inner wall, and high-tension sheet support 8 and high-tension sheet 7 detachably locate in the shell and be connected the cooperation with spring leaf 17 and form anion generator's one utmost point, and rack 10 and rack support 9 are the other utmost point of anion generator. Because of anion generator is when the ionized air, dust particle is also ionized and adsorb on the electrode, just form one extremely when setting up through high-pressure sheet support 8 and high-pressure sheet 7 detachably and contact with spring leaf 17, conveniently detach and take out and clear up adsorbed dust particle.
The preferred RGB lamp of this embodiment is cyclic annular and sets up in fan 13 periphery, is cyclic annular RGB lamp and comprises two semi-annular RGB lamp plates 12, is provided with corresponding semi-annular light shield 11 on every semi-annular RGB lamp plate 12. The air drawn by the fan 13 passes through the annular interior, and the circulation and purification of the air inside are not affected by obstruction or the like.
The utility model has the advantages that the RGB of the LED luminous colorful at the periphery is set with the automatic adjusting function, and the LED luminous colorful at the periphery is set to emit light according to the requirement, so that the environment atmosphere is improved; the negative ion generator adopts negative high voltage between the high pressure sheet and the rack, utilizes the arc discharge principle to excite oxygen in the air to generate negative ions and ozone, utilizes high-voltage static electricity to adsorb dust in the air on the high pressure sheet, disinfects and filters the passing air, and the filter can adopt a PM2.5 filter screen or active carbon to secondarily filter and disinfect the air.

Claims (8)

1. The utility model provides a take anion air purifier of RGB lamp, includes shell, the power strip of being connected with the power, its characterized in that: the inside from the bottom up of shell is provided with fan, the anion generator who links to each other with the power strip, and the anion generator top is provided with the filter, the shell bottom is equipped with the base, the top is provided with the lamp shade, the air intake has been seted up on the base, and the air outlet has been seted up on the lamp shade top, is equipped with the RGB lamp that links to each other with the power strip in the shell.
2. The anion air cleaner with RGB lamp as claimed in claim 1, wherein: the RGB lamp includes the RGB lamp plate, be provided with the cover that is in the light on the RGB lamp plate.
3. The anion air cleaner with RGB lamp as claimed in claim 1 or 2, wherein: and an air mask is arranged at the air outlet.
4. The anion air cleaner with RGB lamp of claim 3, wherein: the wind mask is detachably arranged at the air outlet, the filter is detachably arranged above the negative ion generator, and the diameter of the filter is smaller than that of the air outlet.
5. The anion air cleaner with RGB lamp of claim 4, characterized in that: and a blade switch for controlling the switch of the negative ion generator is arranged in the shell, and the blade switch is connected and matched with the filter.
6. The anion air cleaner with RGB lamp of claim 5, characterized in that: the filter comprises a filter support with the bottom matched with the vane switch in a connecting mode, and an activated carbon filter is placed on the filter support.
7. The anion air cleaner with RGB lamp of claim 5 or 6, characterized in that: the anion generator comprises a high-voltage sheet support and a rack support which are arranged in an up-down corresponding mode, wherein a high-voltage sheet is arranged in the high-voltage sheet support, a rack is arranged in the rack support, a spring piece is arranged on the inner wall of the shell, the high-voltage sheet support and the high-voltage sheet are detachably arranged in the shell and are connected with the spring piece to form one pole of the anion generator in a matched mode, and the rack support are the other pole of the anion generator.
8. The anion air cleaner with RGB lamp as claimed in claim 2, wherein: the RGB lamp is cyclic annular and sets up in the fan periphery, be annular RGB lamp and constitute by two semi-annular RGB lamp plates, be provided with the semi-annular that corresponds on every semi-annular RGB lamp plate and be in the light of the cover.
CN202020574191.3U 2019-06-25 2020-04-17 Negative Ion Air Purifier with RGB Lights Expired - Fee Related CN212339490U (en)

Applications Claiming Priority (2)

Application Number Priority Date Filing Date Title
CN201920961608 2019-06-25
CN2019209616089 2019-06-25

Publications (1)

Publication Number Publication Date
CN212339490U true CN212339490U (en) 2021-01-12

Family

ID=74073382

Family Applications (1)

Application Number Title Priority Date Filing Date
CN202020574191.3U Expired - Fee Related CN212339490U (en) 2019-06-25 2020-04-17 Negative Ion Air Purifier with RGB Lights

Country Status (1)

Country Link
CN (1) CN212339490U (en)

Cited By (2)

* Cited by examiner, † Cited by third party
Publication number Priority date Publication date Assignee Title
CN114857703A (en) * 2022-05-07 2022-08-05 浙江优美莱控股集团有限公司 Air purifying lamp
CN116336590A (en) * 2023-03-29 2023-06-27 广东泰坦智能电器有限公司 An air humidifier with a colorful LED ring

Cited By (3)

* Cited by examiner, † Cited by third party
Publication number Priority date Publication date Assignee Title
CN114857703A (en) * 2022-05-07 2022-08-05 浙江优美莱控股集团有限公司 Air purifying lamp
CN114857703B (en) * 2022-05-07 2024-06-07 浙江优美莱控股集团有限公司 Air purifying lamp
CN116336590A (en) * 2023-03-29 2023-06-27 广东泰坦智能电器有限公司 An air humidifier with a colorful LED ring

Similar Documents

Publication Publication Date Title
CN201628325U (en) air purifier
CN104154622A (en) Indoor ceiling type air purifier with LED
CN204513595U (en) With the family weather station of air-cleaning function
CN209042640U (en) A multifunctional air purifying humidifier
CN212339490U (en) Negative Ion Air Purifier with RGB Lights
CN207071285U (en) A kind of air purifying filter mesh
CN212179087U (en) Water-soluble air degassing unit of dynamic and static double bonding
CN212179086U (en) Central air conditioning ventilation disinfection purification module
CN103335374B (en) A kind of fresh air production machine
CN204438338U (en) Outdoor air purifier with solar or electric power
CN104258450A (en) A medical ceiling-mounted high-efficiency air sterilizer
CN201028708Y (en) indoor air purifier
CN203689263U (en) A dual-channel air purification computer all-in-one machine
CN203687221U (en) Air purifier
CN103398423A (en) Air purifier
CN204115098U (en) A ceiling-type laminar flow air purification and disinfection machine
CN205118838U (en) A multifunctional LED ceiling lamp
CN203227359U (en) Filter screen and intelligent air purifier
CN204522745U (en) Without filter screen photocatalytic air-purification device
CN204830280U (en) An illumination air purification all -in -one is inhaled to flue gas filtration type
CN203949281U (en) A kind of pendent lamp type air purifier
WO2018148975A1 (en) Fresh air treatment device without dead angle
CN207622158U (en) A kind of energy-saving environmental protection device for purifying air
CN204543792U (en) Odor removal
CN206439937U (en) An energy-saving air purifier

Legal Events

Date Code Title Description
GR01 Patent grant
GR01 Patent grant
CF01 Termination of patent right due to non-payment of annual fee

Granted publication date: 20210112

CF01 Termination of patent right due to non-payment of annual fee