CN212338218U - A vertical pipeline anti-scour stop valve - Google Patents

A vertical pipeline anti-scour stop valve Download PDF

Info

Publication number
CN212338218U
CN212338218U CN202020848862.0U CN202020848862U CN212338218U CN 212338218 U CN212338218 U CN 212338218U CN 202020848862 U CN202020848862 U CN 202020848862U CN 212338218 U CN212338218 U CN 212338218U
Authority
CN
China
Prior art keywords
valve
seat
centripetal
energy storage
stop valve
Prior art date
Legal status (The legal status is an assumption and is not a legal conclusion. Google has not performed a legal analysis and makes no representation as to the accuracy of the status listed.)
Expired - Fee Related
Application number
CN202020848862.0U
Other languages
Chinese (zh)
Inventor
王芳
林云征
周济
Current Assignee (The listed assignees may be inaccurate. Google has not performed a legal analysis and makes no representation or warranty as to the accuracy of the list.)
Nantong Lipei Fluid Valve Co ltd
Original Assignee
Nantong Lipei Fluid Valve Co ltd
Priority date (The priority date is an assumption and is not a legal conclusion. Google has not performed a legal analysis and makes no representation as to the accuracy of the date listed.)
Filing date
Publication date
Application filed by Nantong Lipei Fluid Valve Co ltd filed Critical Nantong Lipei Fluid Valve Co ltd
Priority to CN202020848862.0U priority Critical patent/CN212338218U/en
Application granted granted Critical
Publication of CN212338218U publication Critical patent/CN212338218U/en
Expired - Fee Related legal-status Critical Current
Anticipated expiration legal-status Critical

Links

Images

Landscapes

  • Lift Valve (AREA)

Abstract

本实用新型公开了一种垂直管道抗冲刷截止阀,包括截止阀主体与阀体,所述截止阀主体上安装有阀体,且阀体上端安装有向心流体座,所述向心流体座的上方设置有阀座,且阀座的顶部安装有阀芯,所述阀芯上部两侧设置有阀盖,且阀芯的上方安装有阀杆导向槽,所述阀杆导向槽的后端设置有蓄能碟簧,且蓄能碟簧的上端一侧安装有蓄能联轴器,所述阀座的底部开设有阀座密封面,且阀座密封面的下端开设有阀芯窗口调节面,所述阀芯窗口调节面与向心流体座连接;该一种垂直管道抗冲刷截止阀,通过设置蓄能联轴器,有效的保证了下阀杆与阀座、填料函的同心度,同时在安装时与垂直管道的夹角为50度,大大的改善了驱动装置相对阀体的受力,具有良好的使用前景。

Figure 202020848862

The utility model discloses a vertical pipeline anti-scour stop valve, comprising a stop valve main body and a valve body, a valve body is mounted on the stop valve main body, and a centripetal fluid seat is mounted on the upper end of the valve body, and the centripetal fluid seat is A valve seat is arranged above the valve seat, and a valve core is installed on the top of the valve seat, a valve cover is provided on both sides of the upper part of the valve core, and a valve stem guide groove is installed above the valve core, and the rear end of the valve stem guide groove is installed An energy storage disc spring is provided, and an energy storage coupling is installed on the upper end of the energy storage disc spring, the bottom of the valve seat is provided with a valve seat sealing surface, and the lower end of the valve seat sealing surface is provided with a valve core window adjustment The adjustment surface of the valve core window is connected with the centripetal fluid seat; this kind of vertical pipeline anti-scour stop valve, by setting the energy storage coupling, effectively ensures the concentricity of the lower valve stem, the valve seat and the stuffing box At the same time, the angle between the installation and the vertical pipe is 50 degrees, which greatly improves the force of the driving device relative to the valve body, and has a good prospect of use.

Figure 202020848862

Description

Vertical pipeline anti-scouring stop valve
Technical Field
The utility model relates to a stop valve technical field specifically is a perpendicular pipeline antiscour stop valve.
Background
The stop valve is also called as a stop valve and belongs to a forced sealing type valve, so that when the valve is closed, pressure must be applied to the valve clack to force the sealing surface not to leak; when a medium enters the valve from the lower part of the valve clack, the resistance to be overcome by the operating force is the friction force between the valve rod and the packing and the thrust generated by the pressure of the medium, and the force for closing the valve is larger than the force for opening the valve, so the diameter of the valve rod is larger, otherwise the failure of the valve rod bending can occur; a specific flow passage is defined for the fluid, so that the sealing surfaces of the valve seat and the valve core are prevented from being washed by the fluid
Traditional stop valve has certain drawback when using, and traditional stop valve is when the installation back is used, makes the disk seat easily, the inside production fluid of case to lead to the disk seat, the case produces gaseous corrosion, reduces life, and the electronic stop valve that relies on electromagnetic force drive simultaneously all relies on solenoid to produce the electromagnetic force, and when the electrically operated gate debugging, the stop valve can not carry out electronic execution, brings inconvenience for the use, and for this reason, we have proposed a vertical pipeline antiscour stop valve.
SUMMERY OF THE UTILITY MODEL
A primary object of the present invention is to provide a clamping jaw locking device, which can effectively solve the problems of the prior art.
In order to achieve the above purpose, the utility model adopts the following technical scheme:
the utility model provides a perpendicular pipeline antiscour stop valve, includes stop valve main part and valve body, install the valve body in the stop valve main part, and the valve body upper end installs centripetal fluid seat, centripetal fluid seat's top is provided with the disk seat, and the top of disk seat installs the case, case upper portion both sides are provided with the valve gap, and the top of case installs the valve rod guide way, the rear end of valve rod guide way is provided with energy storage dish spring, and the energy storage shaft coupling is installed to upper end one side of energy storage dish spring, the sealed face of disk seat has been seted up to the bottom of disk seat, and the sealed face's of disk seat lower extreme has seted up case window control surface, case window control surface is connected with centripetal fluid seat, the sealing ring is installed to one side of centripetal fluid seat, and centripetal fluid seat.
Preferably, the centripetal fluid seat is composed of a first centripetal flow water inlet surface, a second centripetal flow water inlet surface, a third centripetal flow water inlet surface and a fourth centripetal flow water inlet surface, and the third centripetal flow water inlet surface and the fourth centripetal flow water inlet surface are arranged on two sides of the lower portion of the first centripetal flow water inlet surface and the second centripetal flow water inlet surface.
Preferably, the valve rod guide groove is fixedly connected with the energy storage coupling through a valve rod directional bolt.
Preferably, the valve core is connected with the energy storage coupler through the valve core and a coupler connecting sleeve.
Preferably, the angle between the stop valve body and the vertical pipeline is 50 degrees.
Preferably, the stop valve main body comprises an upper valve rod and a lower valve rod, and the upper valve rod is connected with the lower valve rod through an energy storage coupler.
Compared with the prior art, the utility model discloses possess following beneficial effect:
1. this perpendicular pipeline antiscour stop valve through setting up the energy storage shaft coupling for go up the valve rod and be connected with lower valve rod, the transmission electric fitting of being convenient for is opened and the thrust of closing, and during the debugging of stop valve electrically operated gate, the energy storage when energy storage shaft coupling accessible self is closed comes the compensation because of electric actuator, and the closing force that the semicycle leads to that needs to return weakens, thereby makes the leakproofness of valve unchangeable, also can guarantee down the concentricity of valve rod and disk seat, packing box moreover.
2. This vertical pipe anti-scouring stop valve through centripetal fluid seat for when the flow of a plurality of directions collects the "center" of disk seat or case with same speed, the hedge energy dissipation effect that can produce makes disk seat, case inside not have the gasification of fluid to take place simultaneously, has avoided the stop valve to cause the phenomenon of cavitation erosion, thereby has increased the life of valve body.
Drawings
FIG. 1 is a schematic diagram of the overall structure of an anti-scouring stop valve for a vertical pipeline;
FIG. 2 is a partial view of a valve body in the vertical pipe anti-flush shut-off valve;
FIG. 3 is a view of a valve seat in a vertical pipe anti-flush shut-off valve;
FIG. 4 is a side view of a valve seat in a vertical pipe anti-flush shut-off valve;
FIG. 5 is a schematic view of a centripetal fluid seat in a vertical pipe anti-flush shut-off valve;
FIG. 6 is a schematic view of the whole of a third centripetal flow water inlet surface and a fourth centripetal flow water inlet surface of the vertical pipe anti-scouring stop valve;
FIG. 7 is a side view of the third centripetal flow water inlet surface and the fourth centripetal flow water inlet surface of the vertical pipe anti-flush stop valve.
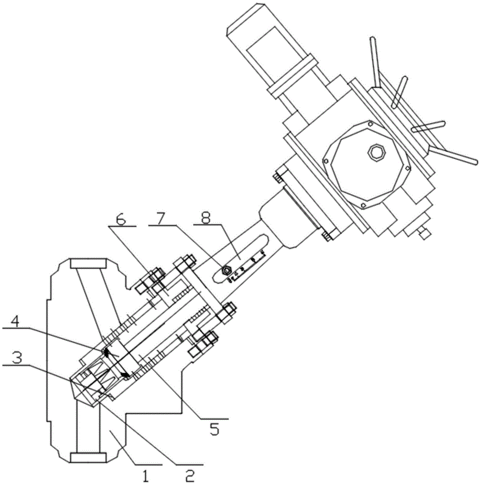
In the figure: 1. a valve body; 2. a centripetal fluidic seat; 21. a first centripetal flow water inlet surface; 22. a second centripetal flow water inlet surface; 23. a third centripetal flow water inlet surface; 24. a fourth centripetal flow water inlet surface; 3. a seal ring; 4. a valve seat; 5. a valve core; 6. a valve cover; 7. a valve stem orientation bolt; 8. a valve stem guide groove; 9. an energy storage coupling; 10. an energy storage disc spring; 11. the valve core and the coupling connecting sleeve; 12. a valve seat sealing surface; 13. a valve core window adjusting surface; 14. valve body disk seat adjusting surface.
Detailed Description
In order to make the technical means, creation features, achievement purposes and functions of the present invention easy to understand, the present invention is further described below with reference to the following embodiments.
Referring to fig. 1-7, an anti-scouring stop valve for vertical pipeline comprises a stop valve body and a valve body 1, wherein the valve body 1 is mounted on the stop valve body, and the upper end of the valve body 1 is provided with a centripetal fluid seat 2, a valve seat 4 is arranged above the centripetal fluid seat 2, and the top of the valve seat 4 is provided with a valve core 5, two sides of the upper part of the valve core 5 are provided with valve covers 6, a valve rod guide groove 8 is arranged above the valve core 5, the rear end of the valve rod guide groove 8 is provided with an energy storage disc spring 10, and one side of the upper end of the energy storage disc spring 10 is provided with an energy storage coupling 9, the bottom of the valve seat 4 is provided with a valve seat sealing surface 12, and the lower end of the valve seat sealing surface 12 is provided with a valve core window adjusting surface 13, the valve core window adjusting surface 13 is connected with the centripetal fluid seat 2, and a sealing ring 3 is installed on one side of the centripetal fluid seat 2, and a valve body and valve seat adjusting surface 14 is arranged on the other side of the centripetal fluid seat 2.
The centripetal fluid seat 2 consists of a first centripetal flow water inlet surface 21, a second centripetal flow water inlet surface 22, a third centripetal flow water inlet surface 23 and a fourth centripetal flow water inlet surface 24, and the third centripetal flow water inlet surface 23 and the fourth centripetal flow water inlet surface 24 are arranged on two sides below the first centripetal flow water inlet surface 21 and the second centripetal flow water inlet surface 22; the valve rod guide groove 8 is fixedly connected with an energy storage coupler 9 through a valve rod directional bolt 7; the valve core 5 is connected with the energy storage coupler 9 through a valve core and coupler connecting sleeve 11; when the stop valve main body and the vertical pipeline are installed, the included angle degree is 50 degrees; the stop valve main body is composed of an upper valve rod and a lower valve rod, and the upper valve rod is connected with the lower valve rod through an energy storage coupler 9.
It should be noted that, the utility model relates to a perpendicular pipeline antiscour stop valve, in operation, at first install stop valve main part and perpendicular pipeline, the contained angle number of degrees with perpendicular pipeline and stop valve during installation is 50, can effectually improve the atress of drive arrangement for the valve body, when the stop valve circular telegram, when the electrically operated gate is debugged, energy storage when energy storage shaft coupling 9 accessible self is closed, come the compensation because of electric actuator, the closing force that the half circle that needs to return to lead to weakens, and the leakproofness of valve is unchangeable, at first close adjusting valve body disk seat adjusting surface 14 and case window adjusting surface 13, disk seat sealing surface 12 and sealing ring 3 and be in encapsulated situation, when the medium fluid passes through the inside of disk seat 4 entering stop valve main part, the medium fluid can freely fall down, because disk seat 4, case 5 and disk seat sealing surface 12, case window adjusting surface 13, The valve body valve seat adjusting surface 14 and the sealing ring are in a tight state, so that medium fluid directly falls into the centripetal fluid seat 2 from two sides of the valve seat 4, a first centripetal flow water inlet surface 21, a second centripetal flow water inlet surface 22, a third centripetal flow water inlet surface 23 and a fourth centripetal flow water inlet surface 24 are arranged in the centripetal fluid seat 2, when the flows in multiple directions are converged to the valve seat 4 or the core part of the valve core 5 at the same speed, the centripetal fluid seat 2 can generate an opposite energy dissipation effect to end the nozzle effect of continuously reducing pressure and increasing speed, so that the flow speed of the fluid is reduced, the kinetic energy is converted into potential energy, the fluid cannot reach the lower limit of gasification pressure, the flash evaporation condition of the saturated working medium is eliminated, the gasification of the fluid does not occur in the valve seat 4 and the valve core 5, cavitation erosion cannot be caused to an overflowing part, and the structure of a valve internal part is changed, a specific flow passage is specified for the fluid, so that the sealing surfaces of the valve seat 4 and the valve core 5 are prevented from being washed away by the fluid, the service life of the stop valve is prolonged, and the stop valve is convenient to operate and practical.
Although embodiments of the present invention have been shown and described, it will be appreciated by those skilled in the art that changes, modifications, substitutions and alterations can be made in these embodiments without departing from the principles and spirit of the invention, the scope of which is defined in the appended claims and their equivalents.

Claims (6)

1.一种垂直管道抗冲刷截止阀,包括截止阀主体与阀体(1),其特征在于:所述截止阀主体上安装有阀体(1),且阀体(1)上端安装有向心流体座(2),所述向心流体座(2)的上方设置有阀座(4),且阀座(4)的顶部安装有阀芯(5),所述阀芯(5)上部两侧设置有阀盖(6),且阀芯(5)的上方安装有阀杆导向槽(8),所述阀杆导向槽(8)的后端设置有蓄能碟簧(10),且蓄能碟簧(10)的上端一侧安装有蓄能联轴器(9),所述阀座(4)的底部开设有阀座密封面(12),且阀座密封面(12)的下端开设有阀芯窗口调节面(13),所述阀芯窗口调节面(13)与向心流体座(2)连接,所述向心流体座(2)的一侧安装有密封环(3),且向心流体座(2)的另一侧阀体阀座调节面(14)。1. A vertical pipeline anti-scour stop valve, comprising a stop valve body and a valve body (1), characterized in that: a valve body (1) is installed on the stop valve body, and the upper end of the valve body (1) is installed with a directional A central fluid seat (2), a valve seat (4) is arranged above the centripetal fluid seat (2), and a valve core (5) is installed on the top of the valve seat (4), and the upper part of the valve core (5) is provided A valve cover (6) is provided on both sides, and a valve stem guide groove (8) is installed above the valve core (5), and an energy storage disc spring (10) is arranged at the rear end of the valve stem guide groove (8), And an energy storage coupling (9) is installed on the upper end side of the energy storage disc spring (10), the bottom of the valve seat (4) is provided with a valve seat sealing surface (12), and the valve seat sealing surface (12) The lower end of the valve core is provided with a valve core window adjustment surface (13), the valve core window adjustment surface (13) is connected with the centripetal fluid seat (2), and one side of the centripetal fluid seat (2) is installed with a sealing ring ( 3), and the valve body valve seat adjustment surface (14) on the other side of the centripetal fluid seat (2). 2.根据权利要求1所述的一种垂直管道抗冲刷截止阀,其特征在于:所述向心流体座(2)由一号向心流动进水面(21)、二号向心流动进水面(22)、三号向心流动进水面(23)和四号向心流动进水面(24)组成,且一号向心流动进水面(21)、二号向心流动进水面(22)的下方两侧设置有三号向心流动进水面(23)和四号向心流动进水面(24)。2. A vertical pipeline anti-scour stop valve according to claim 1, characterized in that: the centripetal fluid seat (2) consists of a No. 1 centripetal flow water inlet surface (21) and a No. 2 centripetal flow water inlet surface (22), No. 3 centripetal flow inlet surface (23) and No. 4 centripetal flow inlet surface (24), and No. 1 centripetal flow inlet surface (21), No. 2 centripetal flow inlet surface (22) The lower two sides are provided with a No. 3 centripetal flow inlet surface (23) and a No. 4 centripetal flow inlet surface (24). 3.根据权利要求1所述的一种垂直管道抗冲刷截止阀,其特征在于:所述阀杆导向槽(8)通过阀杆定向螺栓(7)与蓄能联轴器(9)固定连接。3. A vertical pipeline anti-scour stop valve according to claim 1, characterized in that: the valve stem guide groove (8) is fixedly connected to the energy storage coupling (9) through the valve stem orientation bolt (7) . 4.根据权利要求1所述的一种垂直管道抗冲刷截止阀,其特征在于:所述阀芯(5)通过阀芯与联轴器连接套(11)与蓄能联轴器(9)相连接。4. The vertical pipeline anti-scour stop valve according to claim 1, wherein the valve core (5) is connected to the energy storage coupling (9) through the valve core and the coupling connecting sleeve (11) connected. 5.根据权利要求1所述的一种垂直管道抗冲刷截止阀,其特征在于:所述该截止阀主体与垂直管道安装时夹角度数为50度。5 . The anti-scour stop valve for vertical pipelines according to claim 1 , wherein the angle between the stop valve body and the vertical pipeline is 50 degrees when installed. 6 . 6.根据权利要求1所述的一种垂直管道抗冲刷截止阀,其特征在于:所述截止阀主体由上阀杆与下阀杆组成,且上阀杆通过蓄能联轴器(9)与下阀杆相连接。6. A vertical pipeline anti-scour stop valve according to claim 1, characterized in that: the stop valve main body is composed of an upper valve stem and a lower valve stem, and the upper valve stem passes through the energy storage coupling (9) Connect with the lower valve stem.
CN202020848862.0U 2020-05-20 2020-05-20 A vertical pipeline anti-scour stop valve Expired - Fee Related CN212338218U (en)

Priority Applications (1)

Application Number Priority Date Filing Date Title
CN202020848862.0U CN212338218U (en) 2020-05-20 2020-05-20 A vertical pipeline anti-scour stop valve

Applications Claiming Priority (1)

Application Number Priority Date Filing Date Title
CN202020848862.0U CN212338218U (en) 2020-05-20 2020-05-20 A vertical pipeline anti-scour stop valve

Publications (1)

Publication Number Publication Date
CN212338218U true CN212338218U (en) 2021-01-12

Family

ID=74082755

Family Applications (1)

Application Number Title Priority Date Filing Date
CN202020848862.0U Expired - Fee Related CN212338218U (en) 2020-05-20 2020-05-20 A vertical pipeline anti-scour stop valve

Country Status (1)

Country Link
CN (1) CN212338218U (en)

Similar Documents

Publication Publication Date Title
CN110671502B (en) An anti-water hammer globe valve
CN212338218U (en) A vertical pipeline anti-scour stop valve
CN206377285U (en) A kind of cutoff valve with high sealing performance
CN218207858U (en) Butterfly valve with high sealing performance
CN207145756U (en) High Pressure Difference labyrinth regulating valve
CN205689793U (en) A kind of heavy caliber double containment function ball valve
CN208010963U (en) A kind of hard seal ball valve
CN216407855U (en) Angle type Y-shaped valve body flow passage
CN204961861U (en) Stop valve
CN209213029U (en) An anti-lock stop valve
CN221838928U (en) A high temperature and high pressure self-sealing regulating valve
CN209671622U (en) A High-Pressure Enhanced Guided Angle Valve Used in the Chilling Cycle of Ningxia Coal Furnace
CN221857602U (en) Novel leak-proof ball valve
CN207333777U (en) A kind of new small-caliber forged steel valve
CN221857564U (en) A pneumatic three-eccentric hard-sealed butterfly valve
CN222894670U (en) A guided anti-scour stop valve
CN214093062U (en) High-pressure large-diameter stop valve
CN201714994U (en) Y-type stop valve
CN223360010U (en) Minimum flow valve sealing device of feed pump recirculation
CN221943200U (en) A kind of anti-leakage self-sealing valve
CN222067627U (en) Stop valve that sealing performance is good
CN210318553U (en) Butterfly valve
CN218954143U (en) Low-pressure bypass valve
CN221943227U (en) A pulse angle regulating valve
CN220646795U (en) Multilayer sealing butterfly valve convenient to equipment

Legal Events

Date Code Title Description
GR01 Patent grant
GR01 Patent grant
CF01 Termination of patent right due to non-payment of annual fee

Granted publication date: 20210112

CF01 Termination of patent right due to non-payment of annual fee