CN212279799U - A kind of edible mushroom processing and baking device - Google Patents

A kind of edible mushroom processing and baking device Download PDF

Info

Publication number
CN212279799U
CN212279799U CN202020858978.2U CN202020858978U CN212279799U CN 212279799 U CN212279799 U CN 212279799U CN 202020858978 U CN202020858978 U CN 202020858978U CN 212279799 U CN212279799 U CN 212279799U
Authority
CN
China
Prior art keywords
plate
support mechanism
storage
baking
connecting rod
Prior art date
Legal status (The legal status is an assumption and is not a legal conclusion. Google has not performed a legal analysis and makes no representation as to the accuracy of the status listed.)
Expired - Fee Related
Application number
CN202020858978.2U
Other languages
Chinese (zh)
Inventor
谢晶
林占熺
李晶
林冬梅
孙连月
周童晖
Current Assignee (The listed assignees may be inaccurate. Google has not performed a legal analysis and makes no representation or warranty as to the accuracy of the list.)
Hunan University of Humanities Science and Technology
Original Assignee
Hunan University of Humanities Science and Technology
Priority date (The priority date is an assumption and is not a legal conclusion. Google has not performed a legal analysis and makes no representation as to the accuracy of the date listed.)
Filing date
Publication date
Application filed by Hunan University of Humanities Science and Technology filed Critical Hunan University of Humanities Science and Technology
Priority to CN202020858978.2U priority Critical patent/CN212279799U/en
Application granted granted Critical
Publication of CN212279799U publication Critical patent/CN212279799U/en
Expired - Fee Related legal-status Critical Current
Anticipated expiration legal-status Critical

Links

Images

Classifications

    • YGENERAL TAGGING OF NEW TECHNOLOGICAL DEVELOPMENTS; GENERAL TAGGING OF CROSS-SECTIONAL TECHNOLOGIES SPANNING OVER SEVERAL SECTIONS OF THE IPC; TECHNICAL SUBJECTS COVERED BY FORMER USPC CROSS-REFERENCE ART COLLECTIONS [XRACs] AND DIGESTS
    • Y02TECHNOLOGIES OR APPLICATIONS FOR MITIGATION OR ADAPTATION AGAINST CLIMATE CHANGE
    • Y02PCLIMATE CHANGE MITIGATION TECHNOLOGIES IN THE PRODUCTION OR PROCESSING OF GOODS
    • Y02P60/00Technologies relating to agriculture, livestock or agroalimentary industries
    • Y02P60/80Food processing, e.g. use of renewable energies or variable speed drives in handling, conveying or stacking

Landscapes

  • Baking, Grill, Roasting (AREA)

Abstract

本实用新型公开了一种食用菌加工烘培装置,包括使装置安装更加稳固的支撑机构、驱动机构、紫外线杀菌灯、盛放机构、循环机构、储物间、换气窗、箱门,所述支撑机构的内部设置有所述驱动机构,所述驱动机构下方设置有所述紫外线杀菌灯,所述紫外线杀菌灯下方设置有所述盛放机构,所述支撑机构下方设置有所述储物间,所述支撑机构的顶部设置有所述换气窗,所述支撑机构的前部设置有所述箱门。本实用新型通过设置驱动机构带动铲板的移动,使食用菌在被烘培的过程中可以受到翻动以便使其受热均匀,通过设置循环机构,可将食用菌被烘培后散发出的带着热量水蒸气被抽风机抽出,再经过加热仓进一步加热后排至烘培箱外侧对烘培箱进行加热,以节省能源。

Figure 202020858978

The utility model discloses an edible mushroom processing and baking device, which comprises a support mechanism, a driving mechanism, an ultraviolet sterilization lamp, a holding mechanism, a circulation mechanism, a storage room, a ventilation window and a box door for making the installation of the device more stable. The drive mechanism is arranged inside the support mechanism, the ultraviolet germicidal lamp is arranged under the drive mechanism, the storage mechanism is arranged under the ultraviolet germicidal lamp, and the storage is arranged under the support mechanism the top of the support mechanism is provided with the ventilation window, and the front part of the support mechanism is provided with the box door. The utility model drives the movement of the shovel plate by arranging a driving mechanism, so that the edible fungi can be turned during the baking process so as to be heated evenly. The hot water vapor is extracted by the exhaust fan, and then further heated by the heating chamber, and then discharged to the outside of the oven to heat the oven to save energy.

Figure 202020858978

Description

Edible mushroom processing and baking device
Technical Field
The utility model belongs to the technical field of edible mushroom production and processing equipment technique and specifically relates to an edible mushroom processing and baking device.
Background
Edible fungi refer to large-scale fungi which can be eaten by human beings, are high-quality delicious foods which are high in protein, low in fat and rich in vitamins, mineral substances and dietary fibers, and are recommended by the United nations as ideal healthy foods in the 21 st century.
SUMMERY OF THE UTILITY MODEL
The utility model aims at providing an edible mushroom processing baking device to propose present baking device simple structure in solving above-mentioned background, can't stir edible mushroom when baking edible mushroom, so that can't make it bake thoroughly, thereby influence the effect of baking, in addition because present baking device can't collect the discharged heat behind the dehumidification of baking, the problem of unable energy saving.
In order to achieve the above object, the utility model provides a following technical scheme:
the utility model provides an edible mushroom processing baking device, includes that messenger's device installation is more firm supporting mechanism, actuating mechanism, sterilamp, holds mechanism, circulation mechanism, storing room, ventilation window, chamber door, blast pipe, one side of supporting mechanism is provided with the blast pipe, the inside of supporting mechanism is provided with actuating mechanism, the actuating mechanism below is provided with the sterilamp, the sterilamp below is provided with hold the mechanism, the supporting mechanism below is provided with between the storing, the top of supporting mechanism is provided with the ventilation window, the front portion of supporting mechanism is provided with the chamber door still includes the thermal circulation mechanism of cyclic utilization device self, circulation mechanism set up in the supporting mechanism is kept away from one side of blast pipe.
Preferably, the supporting mechanism comprises a shell, a supporting column, an anti-slip pad, a baking box and a workbench, wherein the shell is arranged above the workbench, the baking box is arranged inside the shell, the supporting column is arranged below the workbench, and the anti-slip pad is arranged below the supporting column.
Preferably, actuating mechanism includes motor, mount pad, pivot, threaded rod, gag lever post, first slider, connecting rod, mounting panel, shovel board, one side of supporting mechanism is provided with the mount pad, the mount pad top is provided with the motor, the output of motor is provided with the pivot, the tip of pivot is provided with the threaded rod, the threaded rod top is provided with the gag lever post, be provided with on the threaded rod first slider, first slider below is provided with the connecting rod, the lower extreme of connecting rod is provided with the mounting panel, the mounting panel below is provided with the shovel board.
Preferably, actuating mechanism includes gag lever post, second slider, connecting rod, mounting panel, shovel board, second slider, connecting block, cylinder, fixed plate, the gag lever post set up in inside the supporting mechanism, be provided with on the gag lever post the second slider, second slider below is provided with the connecting rod, the connecting rod below is provided with the mounting panel, the mounting panel below is provided with the shovel board, one side of connecting block is provided with the cylinder, the tip of cylinder is provided with the fixed plate.
Preferably, the containing mechanism comprises a containing plate, a heating plate, guide pillars, guide sleeves and hydraulic cylinders, the containing plate is arranged below the driving mechanism, the heating plate is arranged inside the containing plate, the hydraulic cylinders are arranged at the bottom of the containing plate, the guide sleeves are arranged at four corners of the bottom of the containing plate, and the guide pillars are arranged in the guide sleeves.
Preferably, circulation mechanism includes first gas-supply pipe, air exhauster, heated warehouses, heater strip, second gas-supply pipe, the air exhauster set up in one side of supporting mechanism, the upper end of air exhauster is provided with first gas-supply pipe, the air exhauster lower extreme is provided with the heated warehouses, be provided with in the heated warehouses the heater strip, the lower extreme of heated warehouses is provided with the second gas-supply pipe.
The utility model provides a technical scheme can include following beneficial effect:
1. the driving mechanism is arranged to drive the shovel plate to move, so that the edible fungi can be turned over in the baking process so as to be heated uniformly, and the uniform baking effect is ensured.
2. Through setting up circulation mechanism, can take out the steam of taking the heat that gives off after edible mushroom is baked by the air exhauster, arrange to the baking box outside and heat the baking box after further heating through the heating bunker to the energy can be saved.
Drawings
The accompanying drawings, which are incorporated in and constitute a part of this specification, illustrate embodiments consistent with the present application and together with the description, serve to explain the principles of the application.
In order to more clearly illustrate the embodiments of the present invention or the technical solutions in the prior art, the drawings needed to be used in the description of the embodiments or the prior art will be briefly described below, it is obvious that the drawings in the following description are only some embodiments of the present invention, and for those skilled in the art, other drawings can be obtained according to these drawings without inventive exercise.
Fig. 1 is a schematic view of the internal structure of a first embodiment of the present invention;
fig. 2 is a front view of a first embodiment of the present invention;
fig. 3 is a right side view of the first embodiment of the present invention;
fig. 4 is a front view of a blade according to a first embodiment of the present invention;
fig. 5 is a schematic view of the internal structure of the second embodiment of the present invention.
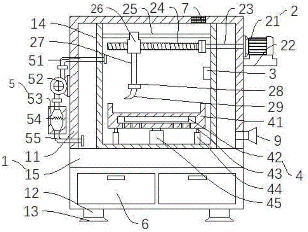
In the figure: 1. a support mechanism; 11. a housing; 12. a pillar; 13. a non-slip mat; 14. baking box; 15. a work table; 2. a drive mechanism; 21. a motor; 22. a mounting seat; 23. a rotating shaft; 24. a threaded rod; 25. a limiting rod; 26. a first slider; 27. a connecting rod; 28. mounting a plate; 29. a shovel plate; 201. a second slider; 202. connecting blocks; 203. a cylinder; 204. a fixing plate; 3. an ultraviolet germicidal lamp; 4. a containing mechanism; 41. a holding plate; 42. heating plates; 43. a guide post; 44. a guide sleeve; 45. a hydraulic cylinder; 5. a circulating mechanism; 51. a first gas delivery pipe; 52. an exhaust fan; 53. a heating chamber; 54. heating wires; 55. a second gas delivery pipe; 6. a storage room; 7. a ventilation window; 8. a box door; 9. and (4) exhausting the gas.
Detailed Description
Hereinafter, embodiments will be described with reference to the drawings. The embodiments described below do not limit the scope of the invention described in the claims. Further, the entire contents of the configurations shown in the following embodiments are not limited to those necessary as a solution of the invention described in the claims.
Example 1
As shown in fig. 1, 2, 3 and 4, an edible mushroom processing and baking device comprises a supporting mechanism 1, a driving mechanism 2, an ultraviolet germicidal lamp 3, a containing mechanism 4, a circulating mechanism 5, a storage chamber 6, a ventilating window 7, a box door 8, an exhaust pipe 9 and a circulating mechanism 5 for recycling the heat of the device, wherein the supporting mechanism 1 comprises a shell 11, a pillar 12, an anti-slip pad 13, a baking box 14 and a workbench 15, the shell 11 is fixed above the workbench 15 through screws, the ventilating window 7 is arranged at the top of the shell 11, a dust screen is arranged inside the ventilating window 7 and used for preventing external dust from entering the baking box 14, the shell 11 is fixedly connected with the exhaust pipe 9 through screws, the baking box 14 is fixedly connected with the workbench 15 through screws, the baking box 14 is fixedly connected with the ultraviolet germicidal lamp 3 through screws, the box door 8 is hinged with the baking box 14, the storage room 6 is fixedly connected with the workbench 15 through screws, the storage room 6 is arranged for placing edible fungi to be processed or edible fungi which are processed, the support post 12 is fixedly connected with the storage room 6 through screws, the anti-skid pad 13 is connected with the support post 12 in an adhering manner, the anti-skid pad 13 is made of rubber, so that the device can be placed more stably, and meanwhile, the noise of the device I in operation is reduced, the driving mechanism 2 comprises a motor 21, a mounting seat 22, a rotating shaft 23, a threaded rod 24, a limiting rod 25, a first sliding block 26, a connecting rod 27, a mounting plate 28 and a shovel plate 29, the mounting seat 22 is fixedly connected with the shell 11 through screws, the motor 21 is fixed above the mounting seat 22 through screws, the output end of the motor 21 is provided with the rotating shaft 23, the rotating shaft 23 is connected with the threaded rod 24 through a coupler, the limiting rod 25 is fixedly connected with the baking box 14 through screws, and, the first sliding block 26 is connected with the limiting rod 25 in a sliding manner, the first sliding block 26 is used for guiding the movement of the first sliding block 26, the first sliding block 26 is fixedly connected with the connecting rod 27 through screws, the connecting rod 27 is fixedly connected with the mounting plate 28 through screws, the mounting plate 28 is fixedly connected with the shovel plate 29 through screws, the containing mechanism 4 comprises a containing plate 41, a heating plate 42, a guide pillar 43, a guide sleeve 44 and a hydraulic cylinder 45, the heating plate 42 is fixedly connected with the containing plate 41 through screws, heat dissipation holes are formed in the bottom of the heating plate 42 for keeping air pressure inside the containing plate 41 balanced, the containing plate 41 is fixedly connected with the hydraulic cylinder 45 through screws, the containing plate 41 is fixedly connected with the guide pillar 43 through screws, the guide pillar 43 is connected with the guide sleeve 44 in a sliding manner for keeping the containing plate 41 stable, and the circulating mechanism 5 comprises a first air pipe 51, an exhaust fan 52, a heating, The heating device comprises a heating wire 54 and a second air pipe 55, wherein the exhaust fan 52 is fixedly connected with the shell 11 through screws, the upper end of the exhaust fan 52 is communicated with the first air pipe 51, the lower end of the exhaust fan 52 is communicated with a heating bin 53, the heating wire 54 is fixedly arranged in the heating bin 53 through screws, and the lower end of the heating bin 53 is communicated with the second air pipe 55 for recycling self energy.
In the above structure: when the oven is used, firstly, the oven door 8 is opened, edible fungi to be baked are placed on the containing plate 41, then the hydraulic cylinder 45 is started to drive the containing plate 41 to move upwards until the shoveling plate 29 contacts the containing plate 41, the oven door 8 is closed, the heating plate 42 and the motor 21 are started simultaneously, the motor 21 drives the rotating shaft 23 and the threaded rod 24 to rotate, under the guiding action of the limiting rod 25, the sliding block drives the connecting rod 27 to move back and forth on the threaded rod 24, so that the shoveling plate 29 turns over and stirs the edible fungi to be uniformly heated, then the ultraviolet sterilizing lamp 3 is started to sterilize the environment in the baking oven 14, the exhaust fan 52 and the heating wire are started simultaneously, the exhaust fan 52 extracts water vapor in the baking oven 14, heats the water vapor through the heating wire 54 and then blows the water vapor into an interlayer between the shell 11 and the baking oven 14 through the second air conveying pipe 55, and heats the baking oven 14 so.
Example 2
As shown in fig. 5, the difference between embodiment 2 and embodiment 1 is that the motor 21, the mounting seat 22, the rotating shaft 23, the threaded rod 24, the limiting rod 25, the first slider 26, the connecting rod 27, the mounting plate 28, and the shovel plate 29 of embodiment 1 are replaced by the limiting rod 25, the second slider 201, the connecting rod 27, the mounting plate 28, the shovel plate 29, the second slider 201, the connecting block 202, the cylinder 203, and the fixing plate 204, when baking the edible fungi, the cylinder 203 is started to drive the connecting block 202 and the second slider 201 to move, and under the supporting and guiding effects of the limiting rod 25, the connecting block 202 drives the connecting rod 27 and the shovel plate 29 to simultaneously move to stir and turn the edible fungi, so that the edible fungi are uniformly heated, and the baking is ensured to be thorough.
Finally, it should be noted that: although the present invention has been described in detail with reference to the foregoing embodiments, it will be apparent to those skilled in the art that modifications and variations can be made in the embodiments or in part of the technical features of the embodiments without departing from the spirit and the scope of the invention.

Claims (6)

1.一种食用菌加工烘培装置,包括使装置安装更加稳固的支撑机构、驱动机构、紫外线杀菌灯、盛放机构、循环机构、储物间、换气窗、箱门、排气管,所述支撑机构的一侧设置有所述排气管,所述支撑机构的内部设置有所述驱动机构,所述驱动机构下方设置有所述紫外线杀菌灯,所述紫外线杀菌灯下方设置有所述盛放机构,所述支撑机构下方设置有所述储物间,所述支撑机构的顶部设置有所述换气窗,所述支撑机构的前部设置有所述箱门,其特征在于:还包括循环利用装置自身热量的循环机构,所述循环机构设置于所述支撑机构远离所述排气管的一侧。1. An edible fungus processing and baking device, comprising a support mechanism, a drive mechanism, an ultraviolet germicidal lamp, a holding mechanism, a circulation mechanism, a storage room, a ventilation window, a box door, and an exhaust pipe to make the installation of the device more stable, One side of the support mechanism is provided with the exhaust pipe, the inside of the support mechanism is provided with the drive mechanism, the ultraviolet germicidal lamp is disposed below the drive mechanism, and the ultraviolet germicidal lamp is disposed under the ultraviolet germicidal lamp. In the storage mechanism, the storage room is arranged below the support mechanism, the ventilation window is arranged at the top of the support mechanism, and the box door is arranged at the front of the support mechanism, and is characterized in that: It also includes a circulation mechanism for recycling the heat of the device, the circulation mechanism is arranged on the side of the support mechanism away from the exhaust pipe. 2.根据权利要求1所述的一种食用菌加工烘培装置,其特征在于:所述支撑机构包括外壳、支柱、防滑垫、烘培箱、工作台,所述工作台上方设置有所述外壳,所述外壳内部设置有所述烘培箱,所述工作台下方设置有所述支柱,所述支柱下方设置有所述防滑垫。2 . The edible fungus processing and baking device according to claim 1 , wherein the support mechanism comprises a shell, a pillar, a non-slip mat, a baking box, and a workbench, and the above workbench is provided with the The outer shell, the baking box is arranged inside the outer shell, the pillar is arranged under the worktable, and the anti-skid pad is arranged under the pillar. 3.根据权利要求1所述的一种食用菌加工烘培装置,其特征在于:所述驱动机构包括电机、安装座、转轴、螺纹杆、限位杆、第一滑块、连接杆、安装板、铲板,所述支撑机构的一侧设置有所述安装座,所述安装座上方设置有所述电机,所述电机的输出端设置有所述转轴,所述转轴的端部设置有所述螺纹杆,所述螺纹杆上方设置有所述限位杆,所述螺纹杆上设置有所述第一滑块,所述第一滑块下方设置有所述连接杆,所述连接杆的下端设置有所述安装板,所述安装板下方设置有所述铲板。3. The edible mushroom processing and baking device according to claim 1, wherein the drive mechanism comprises a motor, a mounting seat, a rotating shaft, a threaded rod, a limit rod, a first slider, a connecting rod, a mounting Plate and shovel plate, the mounting seat is provided on one side of the support mechanism, the motor is provided above the mounting seat, the output end of the motor is provided with the rotating shaft, and the end of the rotating shaft is provided with The threaded rod, the limit rod is set above the threaded rod, the first slider is set on the threaded rod, the connecting rod is set below the first slide block, and the connecting rod is The lower end is provided with the mounting plate, and the shovel plate is provided below the mounting plate. 4.根据权利要求1所述的一种食用菌加工烘培装置,其特征在于:所述驱动机构包括限位杆、第二滑块、连接杆、安装板、铲板、第二滑块、连接块、气缸、固定板,所述限位杆设置于所述支撑机构内部,所述限位杆上设置有所述第二滑块,所述第二滑块下方设置有所述连接杆,所述连接杆下方设置有所述安装板,所述安装板下方设置有所述铲板,所述连接块的一侧设置有所述气缸,所述气缸的端部设置有所述固定板。4. The edible mushroom processing and baking device according to claim 1, wherein the driving mechanism comprises a limit rod, a second slider, a connecting rod, a mounting plate, a shovel plate, a second slider, a connecting block, a cylinder, and a fixing plate, the limiting rod is arranged inside the support mechanism, the second sliding block is arranged on the limiting rod, and the connecting rod is arranged below the second sliding block, The installation plate is arranged below the connecting rod, the shovel plate is arranged below the installation plate, the air cylinder is arranged on one side of the connection block, and the fixing plate is arranged at the end of the air cylinder. 5.根据权利要求1所述的一种食用菌加工烘培装置,其特征在于:所述盛放机构包括盛放板、加热板、导柱、导套、液压缸,所述盛放板设置于所述驱动机构下方,所述盛放板内部设置有所述加热板,所述盛放板的底部设置有所述液压缸,所述盛放板底部的四角设置有所述导套,所述导套内均设置有所述导柱。5. The edible mushroom processing and baking device according to claim 1, wherein the storage mechanism comprises a storage plate, a heating plate, a guide post, a guide sleeve and a hydraulic cylinder, and the storage plate is provided with Below the drive mechanism, the heating plate is arranged inside the storage plate, the hydraulic cylinder is arranged at the bottom of the storage plate, and the guide sleeves are arranged at the four corners of the bottom of the storage plate, so The guide posts are all arranged in the guide sleeves. 6.根据权利要求1所述的一种食用菌加工烘培装置,其特征在于:所述循环机构包括第一输气管、抽风机、加热仓、加热丝、第二输气管,所述抽风机设置于所述支撑机构的一侧,所述抽风机的上端设置有所述第一输气管,所述抽风机下端设置有所述加热仓,所述加热仓内设置有所述加热丝,所述加热仓的下端设置有所述第二输气管。6. The edible fungus processing and baking device according to claim 1, wherein the circulation mechanism comprises a first air pipe, an exhaust fan, a heating bin, a heating wire, and a second air pipe, and the exhaust fan It is arranged on one side of the support mechanism, the upper end of the exhaust fan is provided with the first air delivery pipe, the lower end of the exhaust fan is provided with the heating chamber, and the heating chamber is provided with the heating wire. The lower end of the heating chamber is provided with the second gas delivery pipe.
CN202020858978.2U 2020-05-21 2020-05-21 A kind of edible mushroom processing and baking device Expired - Fee Related CN212279799U (en)

Priority Applications (1)

Application Number Priority Date Filing Date Title
CN202020858978.2U CN212279799U (en) 2020-05-21 2020-05-21 A kind of edible mushroom processing and baking device

Applications Claiming Priority (1)

Application Number Priority Date Filing Date Title
CN202020858978.2U CN212279799U (en) 2020-05-21 2020-05-21 A kind of edible mushroom processing and baking device

Publications (1)

Publication Number Publication Date
CN212279799U true CN212279799U (en) 2021-01-05

Family

ID=73967634

Family Applications (1)

Application Number Title Priority Date Filing Date
CN202020858978.2U Expired - Fee Related CN212279799U (en) 2020-05-21 2020-05-21 A kind of edible mushroom processing and baking device

Country Status (1)

Country Link
CN (1) CN212279799U (en)

Cited By (1)

* Cited by examiner, † Cited by third party
Publication number Priority date Publication date Assignee Title
CN115812770A (en) * 2021-12-14 2023-03-21 邵阳县冠稼农业发展有限公司 A device for dehydrating edible fungus

Cited By (1)

* Cited by examiner, † Cited by third party
Publication number Priority date Publication date Assignee Title
CN115812770A (en) * 2021-12-14 2023-03-21 邵阳县冠稼农业发展有限公司 A device for dehydrating edible fungus

Similar Documents

Publication Publication Date Title
CN109059471A (en) A kind of device of instant feedstuff flash baking
CN212279799U (en) A kind of edible mushroom processing and baking device
CN206334894U (en) The quick wash and drying device of microorganism flat board
CN106524675A (en) Heated air circulation traditional Chinese medicine drying box
CN212205334U (en) Edible mushroom processing is with segmentation drying device
CN206019188U (en) Hot wind and microwave vegetable drying equipment
CN209672741U (en) A kind of Furniture manufacturing timber drying device
CN210728247U (en) Production and processing sterilization equipment
CN201748763U (en) Appliance drying cabinet
CN211634443U (en) Medical disinfection cabinet
CN223271580U (en) A drying furnace for multi-angle drying
CN207622436U (en) Portable cereal room
CN209042943U (en) A hot air circulation drying system
CN221648924U (en) Drying box for food products
CN220235883U (en) Fin root processing sterilization disinfection device
CN109442888B (en) Drying system based on heat pump
CN222560561U (en) A spiral air drying device for materials
CN112013660A (en) Be applied to high-efficient drying device of medical treatment
CN221924262U (en) Medical instrument drying treatment device
CN200997888Y (en) A tunnel type multi-layer sterilization equipment
CN217504246U (en) A drying device for medicinal material production
CN219288687U (en) Drying device convenient to domestic fungus stoving usefulness
CN221829899U (en) A grill for producing instant food
CN221653521U (en) Bread fermentation equipment for food processing
CN221505458U (en) Hot air rotary furnace for drying agricultural products

Legal Events

Date Code Title Description
GR01 Patent grant
GR01 Patent grant
CF01 Termination of patent right due to non-payment of annual fee
CF01 Termination of patent right due to non-payment of annual fee

Granted publication date: 20210105

Termination date: 20210521