CN212267733U - Shock-absorbing structure and electric bicycle - Google Patents

Shock-absorbing structure and electric bicycle Download PDF

Info

Publication number
CN212267733U
CN212267733U CN202020737636.5U CN202020737636U CN212267733U CN 212267733 U CN212267733 U CN 212267733U CN 202020737636 U CN202020737636 U CN 202020737636U CN 212267733 U CN212267733 U CN 212267733U
Authority
CN
China
Prior art keywords
frame
shock absorber
shock
absorbing structure
support
Prior art date
Legal status (The legal status is an assumption and is not a legal conclusion. Google has not performed a legal analysis and makes no representation as to the accuracy of the status listed.)
Expired - Fee Related
Application number
CN202020737636.5U
Other languages
Chinese (zh)
Inventor
张钊荣
Current Assignee (The listed assignees may be inaccurate. Google has not performed a legal analysis and makes no representation or warranty as to the accuracy of the list.)
Foshan City Pole Motor Car Industry Co ltd
Original Assignee
Foshan City Pole Motor Car Industry Co ltd
Priority date (The priority date is an assumption and is not a legal conclusion. Google has not performed a legal analysis and makes no representation as to the accuracy of the date listed.)
Filing date
Publication date
Application filed by Foshan City Pole Motor Car Industry Co ltd filed Critical Foshan City Pole Motor Car Industry Co ltd
Priority to CN202020737636.5U priority Critical patent/CN212267733U/en
Application granted granted Critical
Publication of CN212267733U publication Critical patent/CN212267733U/en
Expired - Fee Related legal-status Critical Current
Anticipated expiration legal-status Critical

Links

Images

Landscapes

  • Axle Suspensions And Sidecars For Cycles (AREA)

Abstract

本实用新型公开了一种减震结构,该减震结构包括前车架、竖向设置的支撑柱、连接杆以及至少一个第一减震器,其中,所述前车架的前端用于与前叉连接,所述前车架的后端与所述第一减震器的第一端枢接,所述第一减震器的第二端与所述支撑柱枢接,所述支撑柱的顶部用于安装主座垫,所述连接杆位于所述第一减震器的下方,所述连接杆的第一端与所述前车架的后端固接,所述连接杆的第二端与所述支撑柱枢接,且所述连接杆的第一端所处位置比其第二端所处位置高。本实用新型还公开了一种应用有上述的减震结构的电动自行车。该减震结构以及电动自行车的减震效果更佳。

Figure 202020737636

The utility model discloses a shock absorbing structure, which comprises a front frame, a vertically arranged support column, a connecting rod and at least one first shock absorber, wherein the front end of the front frame is used for connecting with the front frame. The front fork is connected, the rear end of the front frame is pivotally connected to the first end of the first shock absorber, the second end of the first shock absorber is pivotally connected to the support column, the support column The top of the connecting rod is used to install the main seat cushion, the connecting rod is located below the first shock absorber, the first end of the connecting rod is fixed with the rear end of the front frame, and the first end of the connecting rod is fixed with the rear end of the front frame. The two ends are pivotally connected to the support column, and the first end of the connecting rod is located higher than the second end of the connecting rod. The utility model also discloses an electric bicycle applied with the above-mentioned shock absorbing structure. The shock absorbing structure and the shock absorbing effect of the electric bicycle are better.

Figure 202020737636

Description

Shock-absorbing structure and electric bicycle
Technical Field
The utility model relates to an electric bicycle technical field especially relates to a shock-absorbing structure and electric bicycle.
Background
The electric bicycle is a mechatronic personal transportation tool which takes a storage battery as auxiliary energy and is provided with an electric motor, a controller, the storage battery, a rotating handle brake handle and other operating components and a display instrument system on the basis of a common bicycle.
At present, along with the improvement of living standard of people, people use electric bicycle more and more in short distance traffic, it compares the car and has energy-conserving, convenient, the characteristics that do not block up, has speed advantage, labour saving and time saving than ordinary bicycle, becomes the main instrument of riding instead of walk in people's daily life gradually. Therefore, higher requirements are put on the safety and comfort of the electric bicycle.
The shock absorption structure of the electric bicycle plays an important role in keeping good dynamic performance of the vehicle, however, the design of the shock absorption structure of the existing electric bicycle is not reasonable enough, so that the shock absorption structure can not well damp the vibration of the vehicle body transmission caused by uneven road surface or poor driving condition, namely, the shock absorption effect is not good.
SUMMERY OF THE UTILITY MODEL
In order to overcome the defects of the prior art, one of the purposes of the utility model is to provide a shock-absorbing structure with better shock-absorbing effect.
A second object of the utility model is to provide an electric bicycle, its shock attenuation effect is better, and it is higher to drive the travelling comfort.
The utility model discloses an one of the purpose adopts following technical scheme to realize:
shock-absorbing structure includes:
the front end of the front frame is used for being connected with a front fork;
the supporting column is vertically arranged and used for mounting the main seat cushion;
the first end of the connecting rod is fixedly connected with the lower part of the rear end of the front frame, the second end of the connecting rod is pivoted with the supporting column, and the first end of the connecting rod is higher than the second end of the connecting rod; and
the first shock absorber is positioned above the connecting rod, the first end of the first shock absorber is pivoted with the rear end of the front frame, and the second end of the first shock absorber is pivoted with the supporting column.
Further, the first bumper shock absorbers are provided with two, the two first bumper shock absorbers are arranged at intervals in the left-right direction, and the central axes of the two bumper shock absorbers are located on the same horizontal plane.
Furthermore, the left side and the right side of the rear end of the front frame are both provided with first connecting seats, the first ends of the first shock absorbers are pivoted with the first connecting seats through first connecting pieces, the left side and the right side of the supporting columns are both provided with second connecting seats, and the second ends of the first shock absorbers are pivoted with the second connecting seats through second connecting pieces.
Further, the shock-absorbing structure further includes:
the front end of the rear frame is fixedly connected with the support column;
the tailstock cushion support frame is positioned above the rear frame, the front end of the tailstock cushion support frame is separated from the rear end of the tailstock cushion support frame, and the front end of the tailstock cushion support frame is pivoted with the rear frame;
the rear frame is provided with a rear frame support, the tailstock cushion support is provided with a plurality of pairs of second shock absorbers, the rear frame is provided with a plurality of rear frame supports, the rear frame supports are arranged on the rear frame support, the rear frame supports are arranged on the rear frame supports, and the rear frame supports are arranged on the rear frame supports.
Further, the rear frame is obliquely arranged, the front end of the rear frame is higher than the rear end of the rear frame, and the first end of the second shock absorber is arranged more forwards than the second end of the second shock absorber or the second shock absorber is perpendicular to the rear frame.
Further, the top of the tailstock cushion supporting frame forms a supporting surface for mounting a tailstock cushion, and the second shock absorber is located below the supporting surface.
Furthermore, the front end of the tailstock cushion support frame is provided with a pair of first connecting parts which are arranged at intervals along the left-right direction, the first connecting parts are pivoted with the rear frame, the rear end of the tailstock cushion support frame is provided with a pair of second connecting parts which are arranged at intervals, and the second connecting parts are pivoted with the second ends of the second shock absorbers which are positioned at the rear.
Further, the tailstock cushion support frame further comprises a third connecting portion, and the third connecting portion is arranged between the pair of second connecting portions.
Further, the tailstock cushion support frame further comprises:
the pair of first supporting pieces are arranged at intervals along the left-right direction, the first connecting part is positioned at the front end of the first supporting pieces, and the second connecting part is positioned at the rear end of the first supporting pieces; and
a second support disposed between the pair of first supports.
The second purpose of the utility model is realized by adopting the following technical scheme:
electric bicycle, including foretell shock-absorbing structure, the front end of front frame and electric bicycle's front fork fixed connection, electric bicycle's main seat pad install in the top of support column.
Compared with the prior art, the beneficial effects of the utility model reside in that:
the first shock absorber is arranged between the front frame and the support column, when emergency braking or road surface bumping occurs, the first shock absorber performs telescopic motion due to extrusion of the front frame or driving of the support column, so that the shock attenuation effect can be achieved, secondly, the structure is more stable due to the fact that the triangular structure is formed among the first shock absorber, the connecting rod and the support column at the middle position of the electric bicycle, even if the front frame or the support column is subjected to large-amplitude shock, the contraction quantity of the first shock absorber is smaller, shock on the frame is effectively reduced, the shock absorption effect is better, the riding process of a driver is more comfortable, in addition, the first shock absorber is located at the middle position of the electric bicycle and forms the triangular structure at the position, the triangular structure achieves a good stable supporting effect, and therefore, balance of the vehicle is not required to be guaranteed by means of the body in the turning process, and can feed back the flexible of first bumper shock absorber to preceding frame, connecting rod and support column on, rationally distributed the weight that the vehicle bore to for electric bicycle provides better ground-grasping power, both ensured rigid preceding frame, absorbed unnecessary vibrations again, make the vehicle remain stable.
Drawings
Fig. 1 is a schematic perspective view of an electric bicycle according to the present invention in a first viewing angle state;
fig. 2 is a schematic perspective view of the electric bicycle shown in fig. 1 at a second perspective view;
fig. 3 is a perspective view of a shock-absorbing structure in the electric bicycle shown in fig. 1.
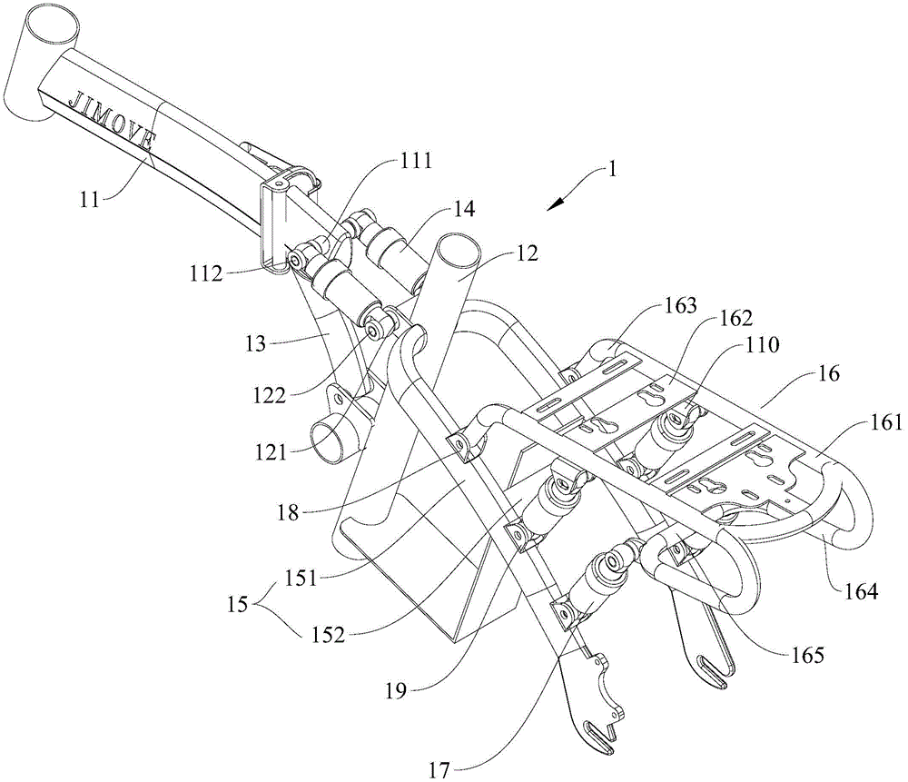
In the figure: 1. a shock-absorbing structure; 11. a front frame; 111. a first connecting seat; 112. a first connecting member; 12. a support pillar; 121. a second connecting seat; 122. a second connecting member; 13. a connecting rod; 14. a first shock absorber; 15. a rear frame; 151. a rear support member; 152. a connecting plate; 16. a tailstock cushion support frame; 161. a first support member; 162. a second support member; 163. a first connection portion; 164. a second connecting portion; 165. a third connecting portion; 17. a second shock absorber; 18. a first support base; 19. a second support seat; 110. a third support seat; 2. a front fork; 3. a main seat cushion; 4. a tail seat cushion; 5. a front wheel; 6. a rear wheel.
Detailed Description
The present invention will be further described with reference to the accompanying drawings and the detailed description, and it should be noted that the embodiments or technical features described below can be arbitrarily combined to form a new embodiment without conflict.
Referring to fig. 1 to 2, an electric bicycle according to a preferred embodiment of the present invention is shown, which includes conventional components such as a shock absorbing structure 1, a front fork 2, a main seat cushion 3, a tail seat cushion 4, a front wheel 5, a rear wheel 6, and a battery.
As shown in fig. 3, the shock absorbing structure 1 includes a front frame 11, a vertically disposed support pillar 12, a connecting rod 13, a first shock absorber 14, a rear frame 15, a tailstock cushion support frame 16 and a second shock absorber 17, the front end of the front frame 11 is fixedly connected to the front fork 2, the front wheel 5 is rotatably disposed at the lower end of the front fork 2, the main cushion 3 is mounted on the top of the support pillar 12, a first end of the first shock absorber 14 is pivotally connected to the rear end of the front frame 11, a second end of the first shock absorber 14 is pivotally connected to the support pillar 12, so that the connection between the front frame 11 and the support pillar 12 is elastic, the shock impact can be reduced, the first end of the connecting rod 13 is fixedly connected to the lower portion of the rear end of the front frame 11, the second end of the connecting rod 13 is pivotally connected to the support pillar 12, and the connecting rod 13 is located below the first shock absorber 14, so that a triangular structure is formed among the connecting rod 13, the first shock absorber 14 and the, and the arrangement of the connecting rod 13 can play a good role in supporting the front frame 11.
The first shock absorber 14 is arranged between the front frame 11 and the support column 12, when emergency braking or road bumping occurs, the first shock absorber 14 can do telescopic motion due to being extruded by the front frame 11 or driven by the support column 12, so as to play a role in damping shock, secondly, as the first shock absorber 14, the connecting rod 13 and the support column 12 form a triangular structure in the middle of the electric bicycle, the structure is more stable, even if the front frame 11 or the support column 12 is subjected to large-amplitude shock, the contraction quantity of the first shock absorber 14 is smaller, the shock to the frame is effectively reduced, the shock absorption effect is better, so that the riding process of a driver is more comfortable, in addition, as the first shock absorber 14 is positioned in the middle of the electric bicycle and forms a triangular structure in the position, the triangular structure plays a good role in stable support, therefore, the balance of the vehicle is ensured without the help of the body in the turning process, the expansion and contraction of the first shock absorber 14 can be fed back to the front frame 11, the connecting rod 13 and the supporting column 12, the weight born by the vehicle is reasonably distributed, and therefore better ground holding force is provided for the electric bicycle, the rigid front frame 11 is ensured, redundant shock is absorbed, and the vehicle is kept stable.
As shown in fig. 1 to 3, as a preferred embodiment, two first dampers 14 are arranged at intervals in the left-right direction of the electric bicycle, and the central axes of the two first dampers 14 are located on the same horizontal plane. The two first shock absorbers 14 are respectively arranged on the left side and the right side of the electric bicycle, so that the bilateral vibration balance effect is achieved, the shock absorption effect can be further improved, and meanwhile, the structure can be further reinforced.
Further, for conveniently installing the first shock absorber 14, the left and right sides of the rear end of the front frame 11 are both provided with first connecting seats 111, the first end of the first shock absorber 14 is pivotally connected with the first connecting seats 111 through a first connecting member 112, the left and right sides of the supporting column 12 are both provided with second connecting seats 121, and the second end of the first shock absorber 14 is pivotally connected with the second connecting seats 121 through a second connecting member 122. More specifically, the first connecting seat 111 and the second connecting seat 121 have both first connecting holes, the second connecting holes have both ends of the first damper 14, the fixed end of the first connecting member 112 passes through the corresponding second connecting hole and is fixedly matched with the first connecting hole, and the fixed end of the second connecting member 122 passes through the corresponding second connecting hole and is fixedly matched with the first connecting hole, so that the first damper 14 can rotate relative to the first connecting member 112 and the second connecting member 122. It is understood that the first connector 112 and the second connector 122 may be bolts or other suitable connectors.
Referring to fig. 1 to fig. 3, in order to improve the comfort of the tailstock, an improvement is provided to the tailstock damping structure of the embodiment of the present application, wherein the tailstock damping structure includes a rear frame 15, a tailstock cushion support frame 16 and a second damper 17, and the specific scheme is as follows:
the front end of the rear frame 15 is fixedly connected with the support column 12, the rear frame 15 is arranged obliquely downwards relative to the support column 12, the tailstock cushion support frame 16 is positioned above the rear frame 15, the front end of the tailstock cushion support frame 16 is separated from the rear end thereof, the front end of the tailstock cushion support frame 16 is pivoted with the rear frame 15, at least two pairs of second shock absorbers 17 are arranged, the second shock absorbers 17 are arranged between the rear frame 15 and the tailstock cushion support frame 16, the two pairs of second shock absorbers 17 are respectively arranged at intervals along the front-back direction, each pair of second shock absorbers 17 is arranged in parallel and at intervals along the left-right direction, the first end of the second shock absorber 17 positioned in front is pivoted with the rear frame 15, the second end of the second shock absorber 17 positioned in front is pivoted with the tailstock cushion support frame 16, the first end of the second shock absorber 17 positioned in rear is pivoted with the rear frame 15, the second end of the second shock absorber 17 positioned in rear is pivoted with the rear end of the tailstock cushion support frame 16, so that the connection between the tailstock cushion support frame 16 and the rear frame 15 is elastic connection, and the up-and-down vibration impact on the tailstock cushion 4 can be reduced.
Two pairs of second shock absorbers 17 are arranged between the rear frame 15 and the tailstock cushion support frame 16, the front end of the tailstock cushion support frame 16 is pivoted on the rear frame 15, the rear end of the tailstock cushion support frame 16 is pivoted on the second shock absorber 17 positioned at the rear, when the road surface bumps, the second shock absorbers 17 do telescopic motion due to the extrusion action of the rear frame 15 or the tailstock cushion support frame 16, so as to play a role in damping the shock, secondly, because two second shock absorbers 17 which are arranged at intervals are arranged at the left side and the right side of the corresponding position of the vehicle and the tailstock cushion 4, so as to play a role in bilateral double-shock balance, the shock absorption effect can be further improved, meanwhile, more uniform supporting force can be provided for the tailstock cushion support frame 16, in addition, because the rear frame 15, the tailstock cushion support frame 16 and the second shock absorbers 17 are enclosed to form a stable closed structure, wherein, the rear frame 15 plays a role in preventing the second shock absorbers 17 from moving downwards, the tailstock cushion support frame 16 plays a role in preventing the second shock absorber 17 from moving upwards, so that the rear frame 15 or the tailstock cushion support frame 16 is vibrated greatly, the shrinkage of the second shock absorber 17 is small, the vibration borne by the rear frame 15 is effectively reduced, the vibration borne by the tailstock cushion support frame 16 is reduced, the shock absorption effect is better, the riding process of a rider of the tailstock cushion 4 is more comfortable, more importantly, a triangular structure is formed between the second shock absorber 17 and a pivot point (the pivot point is defined as the pivot point between the front ends of the rear frame 15 and the tailstock cushion support frame 16), the triangular structure plays a good stable supporting role, the extension of the second shock absorber 17 can be fed back to the rear frame 15 and the tailstock cushion support frame 16, the weight borne by the vehicle is reasonably distributed, and better ground holding force is provided for the electric bicycle, the rigid tailstock shock absorption structure is guaranteed, redundant shock is absorbed, and the vehicle is kept stable.
As shown in fig. 3, as a preferred embodiment, the rear frame 15 is disposed obliquely, and the front end of the rear frame 15 is located at a higher position than the rear end thereof, and the first end of the second shock absorber 17 is disposed more forward than the second end thereof or the second shock absorber 17 is perpendicular to the rear frame 15, to further improve the shock absorbing effect and to improve the structural stability.
In a preferred embodiment, the top of the tailstock cushion support 16 forms a support surface for mounting the tailstock cushion 4, and the second shock absorber 17 is located below the support surface, so that the tailstock cushion support 16 can be supported better and the comfort is improved.
With reference to fig. 3, in detail, the front end of the tailstock cushion support 16 has a pair of first connecting portions 163 spaced apart from each other in the left-right direction, the first connecting portions 163 are pivotally connected to the rear frame 15, the rear end of the tailstock cushion support 16 has a pair of second connecting portions 164 spaced apart from each other, and the second connecting portions 164 are pivotally connected to the second ends of the second shock absorbers 17 located at the rear.
To further improve the structural stability, the tailstock cushion support frame 16 further includes a third connecting portion 165, and the third connecting portion 165 is disposed between the pair of second connecting portions 164.
Specifically, the tailstock cushion support frame 16 further includes a pair of first supports 161 arranged at a distance in the left-right direction, and a second support 162 provided between the pair of first supports 161, the first connection portion 163 is located at a front end of the first supports 161, and the second connection portion 164 is located at a rear end of the first supports 161.
With continued reference to fig. 3, the tailstock shock-absorbing structure further comprises:
a pair of first supporting seats 18, the first supporting seats 18 being disposed on the top of the rear frame 15, the first supporting seats 18 including a pair of first side plates spaced apart from each other in the left-right direction, a first mounting groove being defined between the pair of first side plates, wherein an end of the first connecting part 163 is disposed in the first mounting groove, and the first connecting part 163 is pivotally connected to the first side plates through a third connecting part, wherein a specific connection relationship among the first connecting part 163, the first side plates, and the third connecting part can refer to a connection manner among the first connecting part 112, the first connecting seat 111, and the first shock absorber 14;
at least two pairs of second supporting seats 19, the second supporting seats 19 are disposed on the top of the rear frame 15, each second supporting seat 19 includes a pair of second side plates spaced apart from each other in the left-right direction, a second mounting groove is defined between the pair of second side plates, an end of the first end of the second shock absorber 17 is disposed in the corresponding second mounting groove, and the first end of the second shock absorber 17 is pivotally connected to the second side plate through a fourth connecting member, wherein the specific connection relationship among the second shock absorber 17, the second side plates, and the fourth connecting member can refer to the connection manner among the first connecting member 112, the first connecting seat 111, and the first shock absorber 14;
the second support seat 19 is disposed at the bottom of the tailstock support frame, the third support seat 110 includes a pair of third side plates spaced apart from each other in the left-right direction, a third mounting groove is defined between the pair of third side plates, the second end of the second shock absorber 17 is disposed in the third mounting groove at the corresponding position, and the second end of the second shock absorber 17 is pivotally connected to the third side plates through a fifth connecting member, wherein the specific connection relationship among the second shock absorber 17, the third side plates, and the fifth connecting member can refer to the connection manner among the first connecting member 112, the first connecting seat 111, and the first shock absorber 14. It is understood that the third, fourth and fifth connectors may be bolts or other suitable connectors.
With continued reference to fig. 3, as a preferred embodiment, the rear frame 15 includes a pair of rear supports 151 disposed at a distance from each other in the left-right direction of the vehicle, front ends of the rear supports 151 being connected together, and rear ends of the rear supports 151 being adapted to be connected to the rear wheels 6.
To further improve structural stability, the rear frame 15 further includes a connecting plate 152 disposed between a pair of rear supports 151.
And an accommodating space for accommodating a storage battery is enclosed between the front end of the rear frame 15 and the front end of the tailstock support frame.
The above embodiments are only preferred embodiments of the present invention, and the protection scope of the present invention cannot be limited thereby, and any insubstantial changes and substitutions made by those skilled in the art based on the present invention are all within the protection scope of the present invention.

Claims (10)

1.减震结构,其特征在于,包括:1. A shock absorbing structure, characterized in that it includes: 前车架,所述前车架的前端用于与前叉连接;a front frame, the front end of the front frame is used for connecting with the front fork; 竖向设置的支撑柱,所述支撑柱用于安装主座垫;a vertically arranged support column, the support column is used to install the main seat cushion; 连接杆,所述连接杆的第一端与所述前车架的后端固接,所述连接杆的第二端与所述支撑柱枢接,且所述连接杆的第一端所处位置比其第二端所处位置高;以及a connecting rod, the first end of the connecting rod is fixedly connected with the rear end of the front frame, the second end of the connecting rod is pivotally connected with the support column, and the first end of the connecting rod is located is located higher than its second end is located; and 至少一个第一减震器,所述第一减震器位于所述连接杆的上方,所述第一减震器的第一端与所述前车架的后端枢接,所述第一减震器的第二端与所述支撑柱枢接。at least one first shock absorber, the first shock absorber is located above the connecting rod, the first end of the first shock absorber is pivotally connected with the rear end of the front frame, the first shock absorber The second end of the shock absorber is pivotally connected with the support column. 2.如权利要求1所述的减震结构,其特征在于,所述第一减震器配置有两个,两个所述第一减震器沿左右方向相隔设置。2 . The shock absorbing structure according to claim 1 , wherein two first shock absorbers are arranged, and the two first shock absorbers are arranged spaced apart in the left-right direction. 3 . 3.如权利要求2所述的减震结构,其特征在于,所述前车架的后端的左右两侧均配置有第一连接座,所述第一减震器的第一端通过第一连接件与所述第一连接座枢接,所述支撑柱的左右两侧均配置有第二连接座,所述第一减震器的第二端通过第二连接件与所述第二连接座枢接。3 . The shock absorbing structure according to claim 2 , wherein the left and right sides of the rear end of the front frame are provided with first connecting seats, and the first end of the first shock absorber passes through the first The connecting piece is pivotally connected with the first connecting seat, the left and right sides of the support column are provided with a second connecting seat, and the second end of the first shock absorber is connected with the second connecting piece through the second connecting piece Seat pivot. 4.如权利要求1或2或3所述的减震结构,其特征在于,所述减震结构还包括:4. The shock absorbing structure according to claim 1, 2 or 3, wherein the shock absorbing structure further comprises: 后车架,所述后车架的前端与所述支撑柱固接;a rear frame, the front end of the rear frame is fixedly connected to the support column; 尾座垫支撑架,位于所述后车架的上方,所述尾座垫支撑架的前端与其后端相隔,并且所述尾座垫支撑架的前端与所述后车架枢接;a tail seat cushion support frame, located above the rear frame, the front end of the tail seat cushion support frame is spaced apart from its rear end, and the front end of the tail seat cushion support frame is pivotally connected to the rear frame; 至少两对配置在所述后车架和所述尾座垫支撑架之间的第二减震器,两对所述第二减震器分别沿前后方向相隔设置,每对所述第二减震器沿左右方向平行并相隔布置,位于前方的所述第二减震器的第一端与所述后车架枢接,位于前方的所述第二减震器的第二端与所述尾座垫支撑架枢接,位于后方的所述第二减震器的第一端与所述后车架枢接,位于后方的第二减震器的第二端与所述尾座垫支撑架的后端枢接。At least two pairs of second shock absorbers are arranged between the rear frame and the tail seat cushion support frame. The shock absorbers are arranged in parallel and spaced apart along the left-right direction, the first end of the second shock absorber located in the front is pivotally connected to the rear frame, and the second end of the second shock absorber located in the front is connected to the rear frame. The tail seat cushion support frame is pivotally connected, the first end of the second shock absorber located at the rear is pivotally connected to the rear frame, and the second end of the second shock absorber located at the rear is supported by the tail seat cushion The rear end of the frame is pivoted. 5.如权利要求4所述的减震结构,其特征在于,所述后车架倾斜设置,且所述后车架的前端所处位置比其后端所处位置高,所述第二减震器的第一端比其第二端更朝前设置或所述第二减震器垂直于所述后车架。5 . The shock absorbing structure according to claim 4 , wherein the rear frame is arranged obliquely, and the front end of the rear frame is located at a higher position than the rear end thereof, and the second reducing The first end of the shock absorber is disposed more forward than the second end thereof or the second shock absorber is perpendicular to the rear frame. 6.如权利要求4所述的减震结构,其特征在于,所述尾座垫支撑架的顶部形成用于安装尾座垫的支撑面,所述第二减震器位于所述支撑面的下方。6 . The shock absorbing structure according to claim 4 , wherein the top of the tail seat pad support frame forms a support surface for installing the tail seat pad, and the second shock absorber is located on the support surface. 7 . below. 7.如权利要求4所述的减震结构,其特征在于,所述尾座垫支撑架的前端具有一对沿左右方向相隔设置的第一连接部,所述第一连接部与所述后车架枢接,所述尾座垫支撑架的后端具有一对相隔设置的第二连接部,所述第二连接部与位于后方的第二减震器的第二端枢接。7 . The shock absorbing structure according to claim 4 , wherein the front end of the tail seat cushion support frame has a pair of first connecting parts spaced apart in the left-right direction, and the first connecting parts are connected to the rear end. 8 . The frame is pivotally connected, and the rear end of the tail seat cushion support frame has a pair of second connecting parts arranged at a distance from each other, and the second connecting parts are pivotally connected with the second end of the second shock absorber located at the rear. 8.如权利要求7所述的减震结构,其特征在于,所述尾座垫支撑架还包括第三连接部,所述第三连接部配置在一对第二连接部之间。8 . The shock absorbing structure according to claim 7 , wherein the tail seat pad support frame further comprises a third connecting portion, and the third connecting portion is disposed between a pair of second connecting portions. 9 . 9.如权利要求7所述的减震结构,其特征在于,所述尾座垫支撑架还包括:9. The shock absorbing structure of claim 7, wherein the tail seat pad support frame further comprises: 一对沿左右方向相隔布置的第一支撑件,所述第一连接部位于所述第一支撑件的前端,所述第二连接部位于所述第一支撑件的后端;以及a pair of first support members spaced apart in the left-right direction, the first connection portion is located at the front end of the first support member, and the second connection portion is located at the rear end of the first support member; and 设置在一对第一支撑件之间的第二支撑件。A second support member disposed between the pair of first support members. 10.电动自行车,其特征在于,包括权利要求1-9中任一项所述的减震结构,所述前车架的前端与电动自行车的前叉固定连接,所述电动自行车的主座垫安装于所述支撑柱的顶部。10. An electric bicycle, characterized in that it comprises the shock absorbing structure according to any one of claims 1 to 9, the front end of the front frame is fixedly connected to the front fork of the electric bicycle, and the main seat cushion of the electric bicycle is Installed on the top of the support column.
CN202020737636.5U 2020-05-07 2020-05-07 Shock-absorbing structure and electric bicycle Expired - Fee Related CN212267733U (en)

Priority Applications (1)

Application Number Priority Date Filing Date Title
CN202020737636.5U CN212267733U (en) 2020-05-07 2020-05-07 Shock-absorbing structure and electric bicycle

Applications Claiming Priority (1)

Application Number Priority Date Filing Date Title
CN202020737636.5U CN212267733U (en) 2020-05-07 2020-05-07 Shock-absorbing structure and electric bicycle

Publications (1)

Publication Number Publication Date
CN212267733U true CN212267733U (en) 2021-01-01

Family

ID=73886809

Family Applications (1)

Application Number Title Priority Date Filing Date
CN202020737636.5U Expired - Fee Related CN212267733U (en) 2020-05-07 2020-05-07 Shock-absorbing structure and electric bicycle

Country Status (1)

Country Link
CN (1) CN212267733U (en)

Similar Documents

Publication Publication Date Title
CN106809230B (en) Bogie assembly and straddle-type single-track vehicle
CN206202314U (en) Bogie assembly and straddle-type single-track vehicle
CN206141547U (en) Drive mechanism , bogie assembly and stride a formula monorail vehicle
CN215098042U (en) Shock attenuation scooter
CN212267733U (en) Shock-absorbing structure and electric bicycle
CN214647433U (en) Oblique-pulling type multi-rigidity auxiliary independent suspension device
CN212267691U (en) Tailstock damping structure and electric bicycle
CN220391394U (en) Shock attenuation tricycle frame
CN222329455U (en) All-terrain vehicle
CN101456442B (en) Three-wheel solar car suspension with automatic roll function
CN210472436U (en) Suspension-like shock absorption mechanism
CN220562860U (en) Electric four-wheel vehicle
JPS642877Y2 (en)
CN214129104U (en) Wheelchair vehicle instead of walk with shock-absorbing function
CN110525568A (en) The post-suspension structure of tricycle
CN2484245Y (en) An electric scooter with a front wheel suspension shock absorbing mechanism
CN223290607U (en) Golf cart suspension system
CN221678908U (en) Bicycle shock-absorbing structure and electric bicycle
CN215361698U (en) Motorcycle shock attenuation frame
CN222946935U (en) Electric vehicle frame
CN112757857A (en) Oblique-pulling type multi-rigidity auxiliary independent suspension device
CN106005181B (en) Oblique pull shock-damping structure is set in a kind of electric bicycle
CN206202318U (en) Hitch frame, bogie assembly and straddle-type single-track vehicle
CN222080806U (en) A secondary suspension system for off-road RV
CN222538932U (en) Damping module, auxiliary wheel and two-wheeled vehicle

Legal Events

Date Code Title Description
GR01 Patent grant
GR01 Patent grant
CF01 Termination of patent right due to non-payment of annual fee
CF01 Termination of patent right due to non-payment of annual fee

Granted publication date: 20210101