CN212245600U - A slitting machine for tape production - Google Patents
A slitting machine for tape production Download PDFInfo
- Publication number
- CN212245600U CN212245600U CN202020696927.4U CN202020696927U CN212245600U CN 212245600 U CN212245600 U CN 212245600U CN 202020696927 U CN202020696927 U CN 202020696927U CN 212245600 U CN212245600 U CN 212245600U
- Authority
- CN
- China
- Prior art keywords
- box
- slitting
- screw
- rotating shaft
- inner cavity
- Prior art date
- Legal status (The legal status is an assumption and is not a legal conclusion. Google has not performed a legal analysis and makes no representation as to the accuracy of the status listed.)
- Expired - Fee Related
Links
Images
Landscapes
- Making Paper Articles (AREA)
Abstract
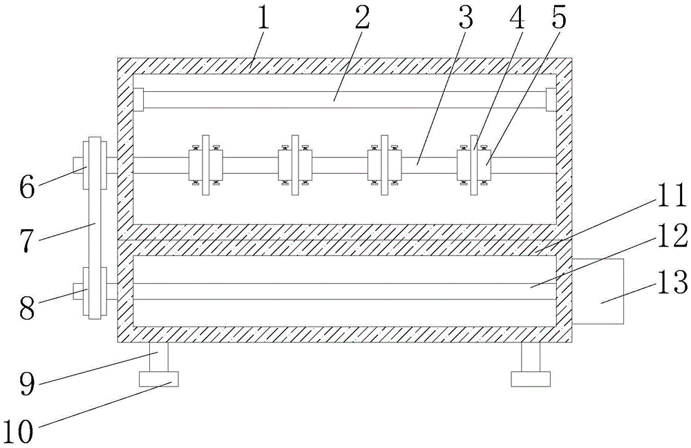
本实用新型公开了一种胶带生产用分切机,包括分切箱,所述分切箱内腔的顶部设有输送辊,所述分切箱内腔的底部设有转轴,所述转轴的表面套设有刀片,所述刀片的两侧均设有固定箱,所述固定箱内腔的顶部和底部均套设有螺套,所述螺套的内腔螺纹连接有螺杆,所述螺杆的外侧固定连接有转板,所述螺杆的内侧设有固定板,所述固定板的内侧与转轴相适配,所述转轴的左侧贯穿并延伸至分切箱的左侧,所述转轴表面的左侧套设有从动轮。本实用新型通过分切箱、输送辊、转轴、刀片、固定箱、从动轮、皮带、主动轮、收料箱、集料轴、电机、固定板、螺杆、螺套和转板相互配合,可在分切机在使用时,可对分切宽度进行调节的作用。
The utility model discloses a slitting machine for tape production, which comprises a slitting box, the top of the inner cavity of the slitting box is provided with a conveying roller, and the bottom of the inner cavity of the slitting box is provided with a rotating shaft, A blade is sleeved on the surface, a fixing box is installed on both sides of the blade, the top and bottom of the inner cavity of the fixing box are sleeved with a screw sleeve, the inner cavity of the screw sleeve is threadedly connected with a screw, and the screw A rotating plate is fixedly connected to the outer side of the screw, and a fixing plate is arranged on the inner side of the screw rod. The inner side of the fixing plate is adapted to the rotating shaft. The left side of the rotating shaft penetrates and extends to the left side of the slitting box. The left side of the surface is sleeved with a driven wheel. The utility model cooperates with each other through the slitting box, the conveying roller, the rotating shaft, the blade, the fixed box, the driven wheel, the belt, the driving wheel, the material receiving box, the collecting shaft, the motor, the fixing plate, the screw rod, the screw sleeve and the rotating plate. When the slitting machine is in use, the slitting width can be adjusted.
Description
技术领域technical field
本实用新型涉及胶带生产技术领域,具体为一种胶带生产用分切机。The utility model relates to the technical field of tape production, in particular to a slitting machine for tape production.
背景技术Background technique
胶带按它的功效可分为:高温胶带、双面胶带、绝缘胶带、特种胶带、压敏胶带、模切胶带,不同的功效适合不同的行业需求。胶带表面上涂有一层粘合剂。Tape can be divided into: high temperature tape, double-sided tape, insulating tape, special tape, pressure-sensitive tape, die-cutting tape according to its function. Different functions are suitable for different industry needs. A layer of adhesive is applied to the surface of the tape.
胶带在生产使用,需要使用到分切机对胶带进行分切,但是,目前市场上现有的分切机在使用时,分切的宽度不可根据工作人员的需求进行调节,,从而导致分切机不实用的状况。When the tape is used in production, it is necessary to use a slitting machine to slit the tape. However, when the existing slitting machines on the market are in use, the slitting width cannot be adjusted according to the needs of the staff, resulting in slitting. The machine is not practical.
实用新型内容Utility model content
本实用新型的目的在于提供一种胶带生产用分切机,具备对分切机的分切宽度进行调节的优点,解决了现有的分切机不可对分切宽度进行调节的问题。The purpose of the utility model is to provide a slitting machine for tape production, which has the advantage of adjusting the slitting width of the slitting machine, and solves the problem that the existing slitting machine cannot adjust the slitting width.
为实现上述目的,本实用新型提供如下技术方案:一种胶带生产用分切机,包括分切箱,所述分切箱内腔的顶部设有输送辊,所述分切箱内腔的底部设有转轴,所述转轴的表面套设有刀片,所述刀片的两侧均设有固定箱,所述固定箱内腔的顶部和底部均套设有螺套,所述螺套的内腔螺纹连接有螺杆,所述螺杆的外侧固定连接有转板,所述螺杆的内侧设有固定板,所述固定板的内侧与转轴相适配,所述转轴的左侧贯穿并延伸至分切箱的左侧,所述转轴表面的左侧套设有从动轮,所述分切箱的顶部设有收料箱,所述收料箱的右侧设有电机,所述电机的输出端设有集料轴,所述集料轴的左侧贯穿收料箱并延伸至收料箱的左侧,所述集料轴表面的左侧套设有主动轮,所述主动轮的表面通过皮带与从动轮传动连接。In order to achieve the above purpose, the utility model provides the following technical solutions: a slitting machine for tape production, comprising a slitting box, the top of the inner cavity of the slitting box is provided with a conveying roller, and the bottom of the inner cavity of the slitting box is provided with a conveying roller. There is a rotating shaft, the surface of the rotating shaft is sleeved with a blade, both sides of the blade are equipped with a fixing box, the top and bottom of the inner cavity of the fixing box are sleeved with a screw sleeve, and the inner cavity of the screw sleeve is sleeved with a screw sleeve. A screw is threadedly connected, the outer side of the screw is fixedly connected with a rotating plate, the inner side of the screw is provided with a fixing plate, the inner side of the fixing plate is adapted to the rotating shaft, and the left side of the rotating shaft penetrates and extends to the slitting The left side of the box, the left side of the surface of the rotating shaft is sleeved with a driven wheel, the top of the slitting box is provided with a receiving box, the right side of the receiving box is provided with a motor, and the output end of the motor is provided with a receiving box. There is a collecting shaft, the left side of the collecting shaft runs through the receiving box and extends to the left side of the receiving box, the left side of the surface of the collecting shaft is sleeved with a driving wheel, and the surface of the driving wheel passes through the belt. Connected to the driven wheel.
优选的,所述分切箱底部的两侧均固定连接有支撑柱,且两个支撑柱的底部均固定连接有防滑垫。Preferably, support columns are fixedly connected to both sides of the bottom of the slitting box, and anti-skid pads are fixedly connected to the bottoms of the two support columns.
优选的,所述输送辊的两侧与分切箱的连接处均通过活动底座活动连接,且输送辊位于分切箱内腔顶部的中心处。Preferably, the connection between the two sides of the conveying roller and the slitting box is movably connected by a movable base, and the conveying roller is located at the center of the top of the inner cavity of the slitting box.
优选的,所述电机的左侧与收料箱的连接处通过焊接形式固定连接,且电机位于收料箱右侧的中心处。Preferably, the connection between the left side of the motor and the receiving box is fixedly connected by welding, and the motor is located at the center of the right side of the receiving box.
优选的,所述固定板的内侧设有橡胶垫,且橡胶垫的内侧设有防滑颗粒。Preferably, the inner side of the fixing plate is provided with a rubber pad, and the inner side of the rubber pad is provided with anti-skid particles.
与现有技术相比,本实用新型的有益效果如下:Compared with the prior art, the beneficial effects of the present utility model are as follows:
1、本实用新型通过分切箱、输送辊、转轴、刀片、固定箱、从动轮、皮带、主动轮、收料箱、集料轴、电机、固定板、螺杆、螺套和转板相互配合,可在分切机在使用时,可对分切宽度进行调节的作用,避免了现有的分切机在使用时,分切的宽度不可根据工作人员的需求进行调节,,从而导致分切机不实用的状况,适合推广使用。1. The utility model cooperates with each other through the slitting box, the conveying roller, the rotating shaft, the blade, the fixed box, the driven wheel, the belt, the driving wheel, the receiving box, the collecting shaft, the motor, the fixed plate, the screw, the screw sleeve and the turning plate. , the slitting width can be adjusted when the slitting machine is in use, which avoids that the slitting width cannot be adjusted according to the needs of the staff when the existing slitting machine is in use, resulting in the slitting The machine is not practical, and it is suitable for promotion.
2、本实用新型通过支撑柱和防滑垫,可对分切机起到固定的作用,这样分切机在使用时效果更好,避免了分切机在使用时出现移动的状况,从而导致分切机使用效果不好的状况。2. The utility model can play a fixed role on the slitting machine through the support column and the anti-skid pad, so that the slitting machine has a better effect during use, and avoids the situation that the slitting machine moves during use, thereby causing the slitting machine to move. The condition that the cutting machine does not work well.
附图说明Description of drawings
图1为本实用新型结构示意图;Fig. 1 is the structural representation of the utility model;
图2为本实用新型固定箱内腔结构示意图;Figure 2 is a schematic diagram of the structure of the inner cavity of the fixed box of the present invention;
图3为本实用新型刀片和固定箱右侧结构示意图。FIG. 3 is a schematic diagram of the structure of the blade and the right side of the fixing box of the present invention.
图中:1、分切箱;2、输送辊;3、转轴;4、刀片;5、固定箱;6、从动轮;7、皮带;8、主动轮;9、支撑柱;10、防滑垫;11、收料箱;12、集料轴;13、电机;14、固定板;15、螺杆;16、螺套;17、转板。In the picture: 1. Slitting box; 2. Conveying roller; 3. Rotating shaft; 4. Blade; 5. Fixed box; 6. Driven wheel; 7. Belt; 8. Driving wheel; 9. Support column; 10. Anti-skid pad ; 11, receiving box; 12, collecting shaft; 13, motor; 14, fixing plate; 15, screw; 16, screw sleeve; 17, turning plate.
具体实施方式Detailed ways
下面将结合本实用新型实施例中的附图,对本实用新型实施例中的技术方案进行清楚、完整地描述,显然,所描述的实施例仅仅是本实用新型一部分实施例,而不是全部的实施例。基于本实用新型中的实施例,本领域普通技术人员在没有做出创造性劳动前提下所获得的所有其他实施例,都属于本实用新型保护的范围。The technical solutions in the embodiments of the present utility model will be clearly and completely described below with reference to the accompanying drawings in the embodiments of the present utility model. Obviously, the described embodiments are only a part of the embodiments of the present utility model, rather than all the implementations. example. Based on the embodiments of the present invention, all other embodiments obtained by those of ordinary skill in the art without creative work fall within the protection scope of the present invention.
在实用新型的描述中,需要说明的是,术语“上”、“下”、“内”、“外”“前端”、“后端”、“两端”、“一端”、“另一端”等指示的方位或位置关系为基于附图所示的方位或位置关系,仅是为了便于描述本实用新型和简化描述,而不是指示或暗示所指的装置或元件必须具有特定的方位、以特定的方位构造和操作,因此不能理解为对本实用新型的限制。此外,术语“第一”、“第二”仅用于描述目的,而不能理解为指示或暗示相对重要性。In the description of the utility model, it should be noted that the terms "upper", "lower", "inner", "outer", "front end", "rear end", "two ends", "one end" and "the other end" The orientation or positional relationship indicated by etc. is based on the orientation or positional relationship shown in the accompanying drawings, which is only for the convenience of describing the present invention and simplifying the description, rather than indicating or implying that the referred device or element must have a specific orientation, with a specific orientation. Therefore, it should not be construed as a limitation on the present invention. Furthermore, the terms "first" and "second" are used for descriptive purposes only and should not be construed to indicate or imply relative importance.
在实用新型的描述中,需要说明的是,除非另有明确的规定和限定,术语“安装”、“设置有”、“连接”等,应做广义理解,例如“连接”,可以是固定连接,也可以是可拆卸连接,或一体地连接;可以是机械连接,也可以是电连接;可以是直接相连,也可以通过中间媒介间接相连,可以是两个元件内部的连通。对于本领域的普通技术人员而言,可以具体情况理解上述术语在本实用新型中的具体含义。In the description of the utility model, it should be noted that, unless otherwise expressly specified and limited, the terms "installed", "provided with", "connected", etc., should be understood in a broad sense, for example, "connected" may be a fixed connection It can also be a detachable connection or an integral connection; it can be a mechanical connection or an electrical connection; it can be a direct connection, or an indirect connection through an intermediate medium, or the internal communication between the two components. For those of ordinary skill in the art, the specific meanings of the above terms in the present invention can be understood in specific situations.
本申请文件中使用到的标准零件均可以从市场上购买,而且根据说明书和附图的记载均可以进行订制,各个零件的具体连接方式均采用现有技术中成熟的螺栓、铆钉、焊接等常规手段,机械、零件和设备均采用现有技术中常规的型号。The standard parts used in this application document can be purchased from the market, and can be customized according to the description in the description and the attached drawings. The specific connection method of each part adopts the mature bolts, rivets, welding, etc. in the prior art. Conventional means, machinery, parts and equipment are of conventional types in the prior art.
本实用新型的分切箱1、输送辊2、转轴3、刀片4、固定箱5、从动轮6、皮带7、主动轮8、支撑柱9、防滑垫10、收料箱11、集料轴12、电机13、固定板14、螺杆15、螺套16和转板17部件均为通用标准件或本领域技术人员知晓的部件,其结构和原理都为本技术人员均可通过技术手册得知或通过常规试验方法获知。The utility model has a
请参阅图1-3,一种胶带生产用分切机,包括分切箱1,分切箱1底部的两侧均固定连接有支撑柱9,且两个支撑柱9的底部均固定连接有防滑垫10,本实用新型通过支撑柱9和防滑垫10,可对分切机起到固定的作用,这样分切机在使用时效果更好,避免了分切机在使用时出现移动的状况,从而导致分切机使用效果不好的状况,分切箱1内腔的顶部设有输送辊2,输送辊2的两侧与分切箱1的连接处均通过活动底座活动连接,且输送辊2位于分切箱1内腔顶部的中心处,分切箱1内腔的底部设有转轴3,转轴3的表面套设有刀片4,刀片4的两侧均设有固定箱5,固定箱5内腔的顶部和底部均套设有螺套16,螺套16的内腔螺纹连接有螺杆15,螺杆15的外侧固定连接有转板17,螺杆15的内侧设有固定板14,固定板14的内侧设有橡胶垫,且橡胶垫的内侧设有防滑颗粒,固定板14的内侧与转轴3相适配,转轴3的左侧贯穿并延伸至分切箱1的左侧,转轴3表面的左侧套设有从动轮6,分切箱1的顶部设有收料箱11,收料箱11的右侧设有电机13,电机13的左侧与收料箱11的连接处通过焊接形式固定连接,且电机13位于收料箱11右侧的中心处,电机13的输出端设有集料轴12,集料轴12的左侧贯穿收料箱11并延伸至收料箱11的左侧,集料轴12表面的左侧套设有主动轮8,主动轮8的表面通过皮带7与从动轮6传动连接,本实用新型通过分切箱1、输送辊2、转轴3、刀片4、固定箱5、从动轮6、皮带7、主动轮8、收料箱11、集料轴12、电机13、固定板14、螺杆15、螺套16和转板17相互配合,可在分切机在使用时,可对分切宽度进行调节的作用,避免了现有的分切机在使用时,分切的宽度不可根据工作人员的需求进行调节,,从而导致分切机不实用的状况,适合推广使用。Please refer to Fig. 1-3, a slitting machine for tape production, including a
在调节宽度时,反转动转板17,通过转板17带动螺杆15进行转动,通过螺套16配合螺杆15向上移动,通过螺杆15带动固定板14向上移动,在固定板14不接触转轴3时,即可推动固定箱5带动刀片4进行调节宽度,调节完成后,正转动转板17,通过转板17带动螺杆15进行转动,通过螺套16配合螺杆15向下移动,通过螺杆15带动固定板14向下移动,通过固定板14对固定箱5进行固定,通过固定箱5对刀片4进行固定即可使用;When adjusting the width, the rotating
分切机使用时,胶带放置在输送辊2内,电机13运行,通过电机13带动集料轴12进行转动,通过集料轴12带动主动轮8进行转动,通过主动轮8与皮带7的配合带动从动轮6进行转动,通过从动轮6带动转轴3进行转动,通过转轴3带动刀片4进行转动,通过刀片4对胶带进行切分,通过集料轴12进行收集切分好的胶带,集料轴12可拆卸拿取切分好的胶带。When the slitting machine is in use, the tape is placed in the conveying
尽管已经示出和描述了本实用新型的实施例,对于本领域的普通技术人员而言,可以理解在不脱离本实用新型的原理和精神的情况下可以对这些实施例进行多种变化、修改、替换和变型,本实用新型的范围由所附权利要求及其等同物限定。Although the embodiments of the present invention have been shown and described, it will be understood by those skilled in the art that various changes and modifications can be made to these embodiments without departing from the principles and spirit of the present invention , alternatives and modifications, the scope of the present invention is defined by the appended claims and their equivalents.
Claims (5)
Priority Applications (1)
| Application Number | Priority Date | Filing Date | Title |
|---|---|---|---|
| CN202020696927.4U CN212245600U (en) | 2020-04-29 | 2020-04-29 | A slitting machine for tape production |
Applications Claiming Priority (1)
| Application Number | Priority Date | Filing Date | Title |
|---|---|---|---|
| CN202020696927.4U CN212245600U (en) | 2020-04-29 | 2020-04-29 | A slitting machine for tape production |
Publications (1)
| Publication Number | Publication Date |
|---|---|
| CN212245600U true CN212245600U (en) | 2020-12-29 |
Family
ID=73996679
Family Applications (1)
| Application Number | Title | Priority Date | Filing Date |
|---|---|---|---|
| CN202020696927.4U Expired - Fee Related CN212245600U (en) | 2020-04-29 | 2020-04-29 | A slitting machine for tape production |
Country Status (1)
| Country | Link |
|---|---|
| CN (1) | CN212245600U (en) |
Cited By (1)
| Publication number | Priority date | Publication date | Assignee | Title |
|---|---|---|---|---|
| CN112936412A (en) * | 2021-03-02 | 2021-06-11 | 江苏海伟科智能装备有限公司 | Small-size precision slitting machine |
-
2020
- 2020-04-29 CN CN202020696927.4U patent/CN212245600U/en not_active Expired - Fee Related
Cited By (1)
| Publication number | Priority date | Publication date | Assignee | Title |
|---|---|---|---|---|
| CN112936412A (en) * | 2021-03-02 | 2021-06-11 | 江苏海伟科智能装备有限公司 | Small-size precision slitting machine |
Similar Documents
| Publication | Publication Date | Title |
|---|---|---|
| CN208068379U (en) | A kind of garment material cutter device | |
| CN204819641U (en) | Heat conduction material cutting device | |
| CN206820375U (en) | A kind of cable peeling device that can adjust cutting depth | |
| CN212245600U (en) | A slitting machine for tape production | |
| CN210939412U (en) | Paper cutting device | |
| CN210080828U (en) | A multifunctional cutting machine | |
| CN109733938B (en) | Level high-efficient surface fabric cutting equipment of roll-up | |
| CN109079892B (en) | Quick deburring cutting device | |
| CN206501160U (en) | A kind of vertical cutter device of styrofoam | |
| CN206373990U (en) | A kind of multi-functional automatic die cutter | |
| CN211993189U (en) | A tread automatic tracking cutter device | |
| CN211688816U (en) | Full-automatic glass cutting machine | |
| CN212446648U (en) | A device for removing waste from beveled edges of a laminating machine | |
| CN217435124U (en) | A fixed-point cutting machine for packaging cartons | |
| CN210026460U (en) | A packaging material cutting equipment | |
| CN210791189U (en) | A four-axis automatic cutting table tool holder | |
| CN104139416B (en) | Single flying knife infeed set-up | |
| CN219748300U (en) | Self-adhesive die-cutting machine | |
| CN210156832U (en) | Wire stripping machine for waste treatment | |
| CN210025895U (en) | Rubber cutting device on rubber mixing machine | |
| CN209755757U (en) | A slicer for manufacturing PTC thermistor | |
| CN111421590A (en) | Tread automatic tracking cut-off knife device | |
| CN207448586U (en) | Aluminium foil cutting device | |
| CN221912272U (en) | Cutter head equidistant adjusting mechanism for precoating film splitting machine | |
| CN219806211U (en) | Adjustable die cutting board bottom die |
Legal Events
| Date | Code | Title | Description |
|---|---|---|---|
| GR01 | Patent grant | ||
| GR01 | Patent grant | ||
| CF01 | Termination of patent right due to non-payment of annual fee | ||
| CF01 | Termination of patent right due to non-payment of annual fee |
Granted publication date: 20201229 |
