CN212241730U - A garbage plastic sorting crusher - Google Patents
A garbage plastic sorting crusher Download PDFInfo
- Publication number
- CN212241730U CN212241730U CN202020958814.7U CN202020958814U CN212241730U CN 212241730 U CN212241730 U CN 212241730U CN 202020958814 U CN202020958814 U CN 202020958814U CN 212241730 U CN212241730 U CN 212241730U
- Authority
- CN
- China
- Prior art keywords
- fixedly connected
- processing box
- side wall
- side walls
- plate
- Prior art date
- Legal status (The legal status is an assumption and is not a legal conclusion. Google has not performed a legal analysis and makes no representation as to the accuracy of the status listed.)
- Expired - Fee Related
Links
Images
Classifications
-
- Y—GENERAL TAGGING OF NEW TECHNOLOGICAL DEVELOPMENTS; GENERAL TAGGING OF CROSS-SECTIONAL TECHNOLOGIES SPANNING OVER SEVERAL SECTIONS OF THE IPC; TECHNICAL SUBJECTS COVERED BY FORMER USPC CROSS-REFERENCE ART COLLECTIONS [XRACs] AND DIGESTS
- Y02—TECHNOLOGIES OR APPLICATIONS FOR MITIGATION OR ADAPTATION AGAINST CLIMATE CHANGE
- Y02W—CLIMATE CHANGE MITIGATION TECHNOLOGIES RELATED TO WASTEWATER TREATMENT OR WASTE MANAGEMENT
- Y02W30/00—Technologies for solid waste management
- Y02W30/50—Reuse, recycling or recovery technologies
- Y02W30/52—Mechanical processing of waste for the recovery of materials, e.g. crushing, shredding, separation or disassembly
-
- Y—GENERAL TAGGING OF NEW TECHNOLOGICAL DEVELOPMENTS; GENERAL TAGGING OF CROSS-SECTIONAL TECHNOLOGIES SPANNING OVER SEVERAL SECTIONS OF THE IPC; TECHNICAL SUBJECTS COVERED BY FORMER USPC CROSS-REFERENCE ART COLLECTIONS [XRACs] AND DIGESTS
- Y02—TECHNOLOGIES OR APPLICATIONS FOR MITIGATION OR ADAPTATION AGAINST CLIMATE CHANGE
- Y02W—CLIMATE CHANGE MITIGATION TECHNOLOGIES RELATED TO WASTEWATER TREATMENT OR WASTE MANAGEMENT
- Y02W30/00—Technologies for solid waste management
- Y02W30/50—Reuse, recycling or recovery technologies
- Y02W30/62—Plastics recycling; Rubber recycling
Landscapes
- Crushing And Pulverization Processes (AREA)
Abstract
本实用新型涉及破碎机技术领域,且公开了一种垃圾塑料分类破碎机,包括底板,底板的上侧壁固定连接有处理箱,处理箱的上侧壁开设有进料口,处理箱内设有间歇破碎装置,间歇破碎装置的下端固定连通有出料管,处理箱左右两侧的侧壁通过轴承对称转动连接有两个往复丝杆,两个往复丝杆的左端均贯穿处理箱的侧壁且固定连接有从动齿轮,处理箱的左侧外壁对称固定连接有两个固定块,两个固定块相向一侧的侧壁通过轴承转动连接有同一根传动轴。本实用新型能够挤压粉碎过后的废弃塑料,减少废弃塑料的体积,方便运输储存粉碎过后的废弃塑料和方便操作人员收集挤压过后的废弃塑料。
The utility model relates to the technical field of crushers, and discloses a waste plastic sorting crusher, which comprises a bottom plate, an upper side wall of the bottom plate is fixedly connected with a processing box, the upper side wall of the processing box is provided with a feeding port, There is an intermittent crushing device, the lower end of the intermittent crushing device is fixedly connected with a discharge pipe, and the left and right side walls of the processing box are connected with two reciprocating screw rods through the symmetrical rotation of bearings, and the left ends of the two reciprocating screw rods pass through the side of the processing box. The wall is fixedly connected with a driven gear, the left outer wall of the processing box is symmetrically and fixedly connected with two fixed blocks, and the side walls on the opposite side of the two fixed blocks are rotatably connected with the same transmission shaft through bearings. The utility model can squeeze the crushed waste plastics, reduce the volume of the waste plastics, facilitate the transportation and storage of the crushed waste plastics, and facilitate operators to collect the crushed waste plastics.
Description
技术领域technical field
本实用新型涉及破碎机技术领域,尤其涉及一种垃圾塑料分类破碎机。The utility model relates to the technical field of crushers, in particular to a garbage plastic sorting crusher.
背景技术Background technique
塑料破碎机又叫破碎机,主要用于破碎各种塑性塑料和橡胶如塑料异型材、管、棒、丝线、薄膜和废旧橡胶制品,粒料可直接供挤出机或注塑使用,也可以通过基础造粒再生使用,塑料破碎机还有一种是注塑机的周边设备,是可以破碎回收注塑机产生的不良品及水口料的机器。Plastic crusher, also known as crusher, is mainly used for crushing various plastic plastics and rubbers such as plastic profiles, pipes, rods, wires, films and waste rubber products. For basic granulation and regeneration, there is also a plastic crusher that is a peripheral equipment of the injection molding machine, which is a machine that can crush and recycle the defective products and nozzle materials produced by the injection molding machine.
在专利授权公告号CN 207549214 U的专利提出的一种垃圾塑料分类破碎机,包括底座,所述底座顶部的左侧固定连接有传动箱,所述传动箱内腔的底部固定连接有电机,所述电机的输出轴通过联轴器固定连接有第一皮带轮,所述第一皮带轮通过皮带传动连接有第二皮带轮,所述第二皮带轮右侧的轴心处固定连接有转动轴,所述底座顶部的右侧固定连接有工作箱,并且工作箱的左侧与传动箱的右侧固定连接,所述工作箱内腔的底部从左往右依次固定连接有第一分隔板和第二分隔板。该专利解决了传统的破碎机不能进行分类破碎的问题,使塑料破碎效果更好,大大的提高了工作效率,该专利在将塑料破碎后直接将粉碎后的塑料放入废料箱内,由于塑料粉碎后每一片塑料之间都会存在间隙,导致很少重量的塑料就会将废料箱填满,需要操作人员频繁取放清理废料箱,增加了操作人员的工作量且影响了破碎机的工作效率。A garbage plastic sorting and crushing machine proposed in the patent of Patent Authorization Announcement No. CN 207549214 U includes a base, a transmission box is fixedly connected to the left side of the top of the base, and a motor is fixedly connected to the bottom of the inner cavity of the transmission box, so The output shaft of the motor is fixedly connected to a first pulley through a coupling, the first pulley is connected to a second pulley through a belt drive, and a rotating shaft is fixedly connected to the shaft center on the right side of the second pulley, and the base The right side of the top is fixedly connected with the working box, and the left side of the working box is fixedly connected with the right side of the transmission box. clapboard. This patent solves the problem that the traditional crusher cannot be classified and crushed, so that the plastic crushing effect is better, and the work efficiency is greatly improved. This patent directly puts the crushed plastic into the waste box after crushing the plastic. After crushing, there will be gaps between each piece of plastic, resulting in a small weight of plastic filling the waste box, requiring operators to frequently pick and place the waste box to clean up the waste box, which increases the operator’s workload and affects the work efficiency of the crusher. .
实用新型内容Utility model content
本实用新型的目的是为了解决现有技术中在将塑料破碎后直接将粉碎后的塑料放入废料箱内,由于塑料粉碎后每一片塑料之间都会存在间隙,导致很少重量的塑料就会将废料箱填满,需要操作人员频繁取放清理废料箱,增加了操作人员的工作量且影响了破碎机工作效率的问题,而提出的一种垃圾塑料分类破碎机。The purpose of this utility model is to solve the problem that in the prior art, after the plastic is crushed, the crushed plastic is directly put into the waste bin, because there will be a gap between each piece of plastic after the plastic is crushed, resulting in a small weight of plastic. Filling up the waste bins requires operators to frequently pick and place the waste bins to clean up the waste bins, which increases the workload of the operators and affects the work efficiency of the crusher.
为了实现上述目的,本实用新型采用了如下技术方案:In order to achieve the above-mentioned purpose, the utility model adopts the following technical solutions:
一种垃圾塑料分类破碎机,包括底板,所述底板的上侧壁固定连接有处理箱,所述处理箱的上侧壁开设有进料口,所述处理箱内设有间歇破碎装置,所述间歇破碎装置的下端固定连通有出料管,所述处理箱左右两侧的侧壁通过轴承对称转动连接有两个往复丝杆,两个所述往复丝杆的左端均贯穿处理箱的侧壁且固定连接有从动齿轮,所述处理箱的左侧外壁对称固定连接有两个固定块,两个所述固定块相向一侧的侧壁通过轴承转动连接有同一根传动轴,所述传动轴的两端均固定连接有与从动齿轮相匹配的传动齿轮,所述传动轴的杆壁固定套设有被动齿轮,所述处理箱的侧壁固定连接有安装板,所述安装板的侧壁固定连接有驱动电机,所述驱动电机的输出端固定连接有与被动齿轮相匹配的主动齿轮,两个所述往复丝杆外均螺纹套设有两个螺纹筒,位于左侧两个所述螺纹筒相向一侧的侧壁固定连接有同一个挤压板,位于右侧两个所述螺纹筒相向一侧的侧壁固定连接有同一个移动板,所述移动板的侧壁对称固定连接有两个支撑板,两个所述支撑板相向一侧的侧壁通过转轴转动连接有同一个承载板,所述挤压板的侧壁开设有与承载板相匹配的穿口。A garbage plastic sorting and crushing machine, comprising a bottom plate, the upper side wall of the bottom plate is fixedly connected with a processing box, the upper side wall of the processing box is provided with a feeding port, and the processing box is provided with an intermittent crushing device, so the The lower end of the intermittent crushing device is fixedly connected with a discharge pipe, and the left and right side walls of the treatment box are connected with two reciprocating screw rods symmetrically rotated through bearings, and the left ends of the two reciprocating screw rods both penetrate the side of the treatment box. The left outer wall of the processing box is symmetrically and fixedly connected with two fixed blocks, and the side walls on the opposite side of the two fixed blocks are connected to the same transmission shaft through bearings. Both ends of the transmission shaft are fixedly connected with a transmission gear that matches the driven gear, the rod wall of the transmission shaft is fixedly sleeved with a driven gear, and the side wall of the processing box is fixedly connected with a mounting plate, the mounting plate A drive motor is fixedly connected to the side wall of the drive motor, and the output end of the drive motor is fixedly connected with a driving gear that matches the driven gear. The side walls on the opposite side of each of the threaded barrels are fixedly connected with the same pressing plate, and the side walls on the opposite side of the two threaded barrels on the right side are fixedly connected with the same moving plate. Two supporting plates are symmetrically and fixedly connected, and the side walls on the opposite sides of the two supporting plates are rotatably connected to the same bearing plate through a rotating shaft, and the side walls of the extrusion plate are provided with holes matching the bearing plates.
优选的,所述移动板的下侧壁对称固定连接有两个竖板,两个所述竖板相向一侧的侧壁通过转轴转动连接有同一根连接轴,所述承载板的下侧壁固定连接有连接杆,所述连接杆的下端设有第一连接框,所述第一连接框的上侧壁对称固定连接有两个固定板,两个所述固定板相向一侧的侧壁通过转轴与连接杆的下端转动连接,所述第一连接框前后侧壁均开设有滑孔,所述连接轴的一端位于第一连接框内且对称固定连接有两个与滑孔相匹配的滑杆,所述移动板的右侧壁固定连接有液压缸,所述液压缸的下端设有第二连接框,所述第二连接框前后侧壁均开设有滑动口,所述第二连接框的上侧壁对称固定连接有两个限位板,两个所述限位板相向一侧的侧壁通过转轴与液压缸的输出端转动连接,所述连接轴远离第一连接框的一端位于第二连接框内且对称固定连接有两个与滑动口相匹配的滑轴。Preferably, two vertical plates are symmetrically and fixedly connected to the lower side wall of the moving plate, and the side walls on the opposite sides of the two vertical plates are connected to the same connecting shaft through a rotating shaft. A connecting rod is fixedly connected, the lower end of the connecting rod is provided with a first connecting frame, the upper side wall of the first connecting frame is symmetrically and fixedly connected with two fixing plates, and the side walls on the opposite side of the two fixing plates The rotating shaft is rotatably connected with the lower end of the connecting rod, the front and rear side walls of the first connecting frame are provided with sliding holes, one end of the connecting shaft is located in the first connecting frame and is symmetrically and fixedly connected with two matching sliding holes A sliding rod, a hydraulic cylinder is fixedly connected to the right side wall of the moving plate, the lower end of the hydraulic cylinder is provided with a second connection frame, the front and rear side walls of the second connection frame are provided with sliding ports, and the second connection frame is provided with sliding ports. The upper side wall of the frame is symmetrically and fixedly connected with two limit plates, and the side walls on the opposite sides of the two limit plates are rotatably connected with the output end of the hydraulic cylinder through a rotating shaft, and the connecting shaft is away from one end of the first connecting frame Two sliding shafts matching with the sliding ports are located in the second connection frame and are symmetrically and fixedly connected.
优选的,所述往复丝杆表面的螺纹相反。Preferably, the threads on the surface of the reciprocating screw are opposite.
优选的,所述处理箱的左侧壁开设有出料口,所述处理箱前后侧壁固定连接有同一个滑框,所述滑框左端通过出料口位于处理箱外。Preferably, the left side wall of the processing box is provided with a discharge opening, the front and rear side walls of the processing box are fixedly connected with the same sliding frame, and the left end of the sliding frame is located outside the processing box through the discharge opening.
优选的,所述处理箱的上侧壁固定连接有罩设在进料口外的进料斗。Preferably, the upper side wall of the processing box is fixedly connected with a feeding hopper which is covered outside the feeding port.
优选的,所述底板下表面的四角处均固定连接有自锁轮。Preferably, the four corners of the lower surface of the bottom plate are fixedly connected with self-locking wheels.
与现有技术相比,本实用新型提供了一种垃圾塑料分类破碎机,具备以下有益效果:Compared with the prior art, the utility model provides a garbage plastic sorting and crushing machine, which has the following beneficial effects:
1、该垃圾塑料分类破碎机,通过设置的处理箱、进料口、间歇破碎装置、出料管、往复丝杆、从动齿轮、固定块、传动轴、被动齿轮、安装板、驱动电机、主动齿轮、传动齿轮、螺纹筒、挤压板、移动板、支撑板、承载板和穿口,能够挤压粉碎过后的废弃塑料,减少废弃塑料的体积,方便运输储存粉碎过后的废弃塑料。1. The waste plastic sorting and crushing machine, through the set processing box, feeding port, intermittent crushing device, discharge pipe, reciprocating screw, driven gear, fixed block, transmission shaft, driven gear, mounting plate, drive motor, The driving gear, transmission gear, threaded barrel, extrusion plate, moving plate, support plate, bearing plate and piercing can squeeze the crushed waste plastic, reduce the volume of the waste plastic, and facilitate the transportation and storage of the crushed waste plastic.
2、该垃圾塑料分类破碎机,通过设置竖板、连接轴、连接杆、连接框、滑孔、固定板、滑杆、液压缸、第二连接框、滑动口、限位板和滑轴,能够在挤压粉碎过后的废弃塑料之后,旋转承载板将挤压成型的废弃塑料滑落到滑框内滑出处理箱方便操作人员收集。2. The waste plastic sorting and crushing machine is equipped with vertical plates, connecting shafts, connecting rods, connecting frames, sliding holes, fixed plates, sliding rods, hydraulic cylinders, second connecting frames, sliding ports, limit plates and sliding shafts. After squeezing and crushing the waste plastics, the rotating bearing plate can slide the extruded waste plastics into the sliding frame and slide out of the processing box for the convenience of the operator to collect.
而且该装置中未涉及部分均与现有技术相同或可采用现有技术加以实现,本实用新型避免能够挤压粉碎过后的废弃塑料,减少废弃塑料的体积,方便运输储存粉碎过后的废弃塑料和方便操作人员收集挤压过后的废弃塑料。In addition, the parts not involved in the device are the same as the existing technology or can be realized by using the existing technology, the utility model avoids being able to squeeze and pulverize the waste plastic, reduces the volume of the waste plastic, and facilitates the transportation, storage and storage of the crushed waste plastic and It is convenient for the operator to collect the waste plastic after extrusion.
附图说明Description of drawings
图1为本实用新型提出的一种垃圾塑料分类破碎机的结构示意图;Fig. 1 is the structural representation of a kind of garbage plastic sorting crusher proposed by the utility model;
图2为图1中A-A向剖面图;Fig. 2 is A-A sectional view in Fig. 1;
图3为图1中B部分的放大示意图;Fig. 3 is the enlarged schematic diagram of part B in Fig. 1;
图4为图1中C部分的放大示意图。FIG. 4 is an enlarged schematic view of part C in FIG. 1 .
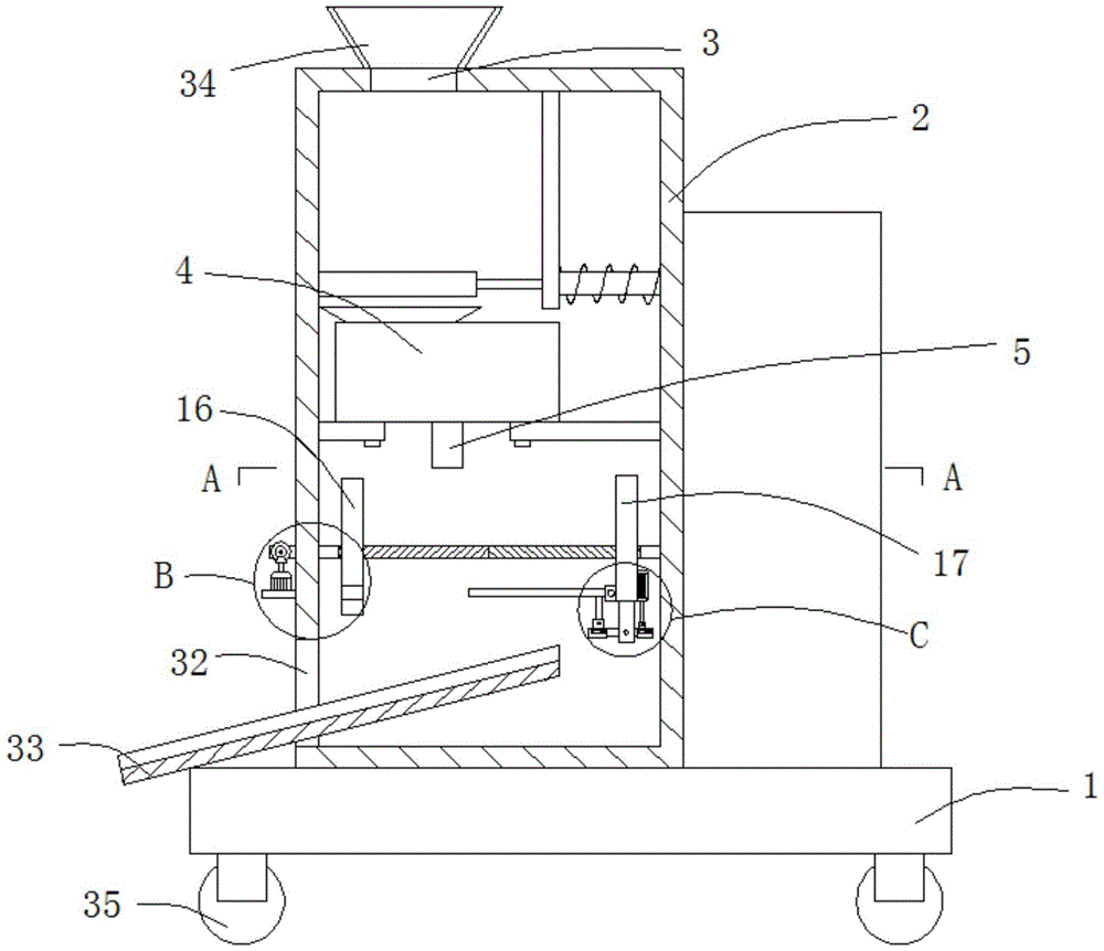
图中:1底板、2处理箱、3进料口、4间歇破碎装置、5出料管、6往复丝杆、7从动齿轮、8固定块、9传动轴、10被动齿轮、11安装板、12驱动电机、13主动齿轮、14传动齿轮、15螺纹筒、16挤压板、17移动板、18支撑板、19承载板、20穿口、21竖板、22连接轴、23连接杆、24第一连接框、25固定板、26滑杆、27液压缸、28第二连接框、29滑动口、30限位板、31滑轴、32出料口、33滑框、34进料斗、35自锁轮、36滑孔。In the picture: 1 bottom plate, 2 treatment box, 3 feed port, 4 intermittent crushing device, 5 discharge pipe, 6 reciprocating screw rod, 7 driven gear, 8 fixed block, 9 drive shaft, 10 driven gear, 11 mounting plate , 12 drive motor, 13 driving gear, 14 transmission gear, 15 threaded barrel, 16 extrusion plate, 17 moving plate, 18 supporting plate, 19 carrying plate, 20 piercing, 21 vertical plate, 22 connecting shaft, 23 connecting rod, 24 first connection frame, 25 fixed plate, 26 sliding rod, 27 hydraulic cylinder, 28 second connection frame, 29 sliding port, 30 limit plate, 31 sliding shaft, 32 discharge port, 33 sliding frame, 34 feeding hopper , 35 self-locking wheels, 36 sliding holes.
具体实施方式Detailed ways
下面将结合本实用新型实施例中的附图,对本实用新型实施例中的技术方案进行清楚、完整地描述,显然,所描述的实施例仅仅是本实用新型一部分实施例,而不是全部的实施例。The technical solutions in the embodiments of the present utility model will be clearly and completely described below with reference to the accompanying drawings in the embodiments of the present utility model. Obviously, the described embodiments are only a part of the embodiments of the present utility model, rather than all the implementations. example.
在本实用新型的描述中,需要理解的是,术语“上”、“下”、“前”、“后”、“左”、“右”、“顶”、“底”、“内”、“外”等指示的方位或位置关系为基于附图所示的方位或位置关系,仅是为了便于描述本实用新型和简化描述,而不是指示或暗示所指的装置或元件必须具有特定的方位、以特定的方位构造和操作,因此不能理解为对本实用新型的限制。In the description of the present invention, it should be understood that the terms "upper", "lower", "front", "rear", "left", "right", "top", "bottom", "inside", The orientation or positional relationship indicated by "outside" is based on the orientation or positional relationship shown in the accompanying drawings, which is only for the convenience of describing the present invention and simplifying the description, rather than indicating or implying that the indicated device or element must have a specific orientation , are constructed and operated in a specific orientation, and therefore should not be construed as a limitation of the present invention.
参照图1-4,一种垃圾塑料分类破碎机,包括底板1,底板1的上侧壁固定连接有处理箱2,处理箱2的上侧壁开设有进料口3,处理箱2内设有间歇破碎装置4,间歇破碎装置4的下端固定连通有出料管5,处理箱2左右两侧的侧壁通过轴承对称转动连接有两个往复丝杆6,两个往复丝杆6的左端均贯穿处理箱2的侧壁且固定连接有从动齿轮7,处理箱2的左侧外壁对称固定连接有两个固定块8,两个固定块8相向一侧的侧壁通过轴承转动连接有同一根传动轴9,传动轴9的两端均固定连接有与从动齿轮7相匹配的传动齿轮14,传动轴9的杆壁固定套设有被动齿轮10,处理箱2的侧壁固定连接有安装板11,安装板11的侧壁固定连接有驱动电机12,驱动电机12的输出端固定连接有与被动齿轮10相匹配的主动齿轮13,两个往复丝杆6外均螺纹套设有两个螺纹筒15,位于左侧两个螺纹筒15相向一侧的侧壁固定连接有同一个挤压板16,位于右侧两个螺纹筒15相向一侧的侧壁固定连接有同一个移动板17,移动板17的侧壁对称固定连接有两个支撑板18,两个支撑板18相向一侧的侧壁通过转轴转动连接有同一个承载板19,挤压板16的侧壁开设有与承载板19相匹配的穿口20。1-4, a garbage plastic sorting and crushing machine, including a
移动板17的下侧壁对称固定连接有两个竖板21,两个竖板21相向一侧的侧壁通过转轴转动连接有同一根连接轴22,承载板19的下侧壁固定连接有连接杆23,连接杆23的下端设有第一连接框24,第一连接框24的上侧壁对称固定连接有两个固定板25,两个固定板25相向一侧的侧壁通过转轴与连接杆23的下端转动连接,第一连接框24前后侧壁均开设有滑孔36,连接轴22的一端位于第一连接框24内且对称固定连接有两个与滑孔36相匹配的滑杆26,移动板17的右侧壁固定连接有液压缸27,液压缸27的下端设有第二连接框28,第二连接框28前后侧壁均开设有滑动口29,第二连接框28的上侧壁对称固定连接有两个限位板30,两个限位板30相向一侧的侧壁通过转轴与液压缸27的输出端转动连接,连接轴22远离第一连接框24的一端位于第二连接框28内且对称固定连接有两个与滑动口29相匹配的滑轴31,方便操作人员收集挤压过后的废弃塑料。The lower side wall of the moving
往复丝杆6表面的螺纹相反,能够同时控制挤压板16和移动板17向相互靠近的方向移动。The threads on the surface of the reciprocating
处理箱2的左侧壁开设有出料口32,处理箱2前后侧壁固定连接有同一个滑框33,滑框33左端通过出料口32位于处理箱2外,方便挤压成型的废弃塑料滑出处理箱2。The left side wall of the
处理箱2的上侧壁固定连接有罩设在进料口3外的进料斗34,方便废弃塑料进入处理箱2内。The upper side wall of the
底板1下表面的四角处均固定连接有自锁轮35,提高了该装置移动的便利性。The four corners of the lower surface of the
本实用新型中,使用时,启动驱动电机12,通过主动齿轮13和被动齿轮10的相互配合带动传动轴9旋转,通过从动齿轮7和传动齿轮14的相互配合带动两个往复丝杆6旋转,通过螺纹配合带动螺纹筒15移动,螺纹筒15带动挤压板16和移动板17向相互靠近的方向到合适的位置,使承载板19插入穿口20内,然后暂停驱动电机12,将粉碎过后的废弃塑料落到承载板19上,在此启动驱动电机12,使挤压板16和移动板17再次向相互靠近的方向移动,对废弃塑料进行挤压,减少废弃塑料的体积,方便运输储存粉碎过后的废弃塑料;当挤压结束后通过往复丝杆6和螺纹筒15的相互配合带动挤压板16和移动板17向相互远离的方向移动到合适的位置,然后启动液压缸27带动承载板19旋转到合适的位置,将挤压成型的废弃塑料滑落到滑框33内滑出处理箱方便操作人员收集。In the utility model, when in use, the driving motor 12 is started, the
以上所述,仅为本实用新型较佳的具体实施方式,但本实用新型的保护范围并不局限于此,任何熟悉本技术领域的技术人员在本实用新型揭露的技术范围内,根据本实用新型的技术方案及其实用新型构思加以等同替换或改变,都应涵盖在本实用新型的保护范围之内。The above description is only a preferred embodiment of the present invention, but the protection scope of the present invention is not limited to this. Equivalent replacement or modification of the new technical solution and its utility model concept shall be included within the protection scope of the present utility model.
Claims (6)
Priority Applications (1)
| Application Number | Priority Date | Filing Date | Title |
|---|---|---|---|
| CN202020958814.7U CN212241730U (en) | 2020-05-28 | 2020-05-28 | A garbage plastic sorting crusher |
Applications Claiming Priority (1)
| Application Number | Priority Date | Filing Date | Title |
|---|---|---|---|
| CN202020958814.7U CN212241730U (en) | 2020-05-28 | 2020-05-28 | A garbage plastic sorting crusher |
Publications (1)
| Publication Number | Publication Date |
|---|---|
| CN212241730U true CN212241730U (en) | 2020-12-29 |
Family
ID=73978296
Family Applications (1)
| Application Number | Title | Priority Date | Filing Date |
|---|---|---|---|
| CN202020958814.7U Expired - Fee Related CN212241730U (en) | 2020-05-28 | 2020-05-28 | A garbage plastic sorting crusher |
Country Status (1)
| Country | Link |
|---|---|
| CN (1) | CN212241730U (en) |
-
2020
- 2020-05-28 CN CN202020958814.7U patent/CN212241730U/en not_active Expired - Fee Related
Similar Documents
| Publication | Publication Date | Title |
|---|---|---|
| CN206027854U (en) | Gardens rubbish recovery processing device | |
| CN210847625U (en) | Waste paper processing apparatus is used in paper printing | |
| CN212241730U (en) | A garbage plastic sorting crusher | |
| CN211726913U (en) | A food waste recycling device | |
| CN116277179A (en) | A hydraulic cutting machine with waste collection mechanism | |
| CN213648292U (en) | Sustainable kibbling plastics recovery rubbing crusher | |
| CN211755399U (en) | Automobile parts processing garbage collection device | |
| CN109317037B (en) | Pigment mixing device based on extrusion and stirring mechanism | |
| CN209501775U (en) | a garbage compressor | |
| CN210646594U (en) | Novel fertilizer forming device for efficient production | |
| CN213618257U (en) | Plastic extruder | |
| CN212595955U (en) | Environment-friendly self-packaging crushing device for treating solid waste | |
| CN212681995U (en) | Construction waste recycling concrete block passivation treatment device | |
| CN212167665U (en) | Novel environmental protection device | |
| CN210082189U (en) | Plastic extrusion device for waste recycling | |
| CN215472404U (en) | Plastic product processing device | |
| CN218133999U (en) | Leftover material collecting device for paper product processing | |
| CN222223208U (en) | Injection molding waste recycling device | |
| CN220864491U (en) | Plastic basket waste crushing and recycling device | |
| CN218796092U (en) | High-efficient waste recovery device | |
| CN223615966U (en) | A waste recycling device for steel ball processing that facilitates material collection. | |
| CN217195695U (en) | Shredding device is used in flexible container production with garbage collection function | |
| CN223478074U (en) | Continuous production device for composite film | |
| CN218110976U (en) | Waste collecting device of plastic processing lathe | |
| CN222789330U (en) | Waste paper collecting and processing device |
Legal Events
| Date | Code | Title | Description |
|---|---|---|---|
| GR01 | Patent grant | ||
| GR01 | Patent grant | ||
| CF01 | Termination of patent right due to non-payment of annual fee | ||
| CF01 | Termination of patent right due to non-payment of annual fee |
Granted publication date: 20201229 |
