CN212176696U - a shower room - Google Patents
a shower room Download PDFInfo
- Publication number
- CN212176696U CN212176696U CN201922054079.7U CN201922054079U CN212176696U CN 212176696 U CN212176696 U CN 212176696U CN 201922054079 U CN201922054079 U CN 201922054079U CN 212176696 U CN212176696 U CN 212176696U
- Authority
- CN
- China
- Prior art keywords
- shower
- side wall
- shower room
- room body
- fixedly installed
- Prior art date
- Legal status (The legal status is an assumption and is not a legal conclusion. Google has not performed a legal analysis and makes no representation as to the accuracy of the status listed.)
- Expired - Fee Related
Links
Images
Landscapes
- Bathtubs, Showers, And Their Attachments (AREA)
Abstract
一种淋浴房,包括淋浴房房体,在淋浴房房体内设有手持式淋浴组件和嵌入式淋浴组件,手持式淋浴组件固定安装在淋浴房房体的一侧侧壁上,嵌入式淋浴组件包括侧部喷头、顶部喷头和第一龙头,侧部喷头固定安装在淋浴房房体侧壁上,顶部喷头固定安装在淋浴房房体的上端面上,通过顶部喷头和侧部喷头对用户进行同时喷淋,便于对用户的头部和侧部进行冲洗,提高冲洗效率,通过手持式淋浴组件和嵌入式淋浴组件为用户提供多种淋浴方式,提高客户的淋浴体验。
A shower room, comprising a shower room body, a hand-held shower component and an embedded shower component are arranged in the shower room body, the hand-held shower component is fixedly installed on one side wall of the shower room body, and the embedded shower component It includes side nozzle, top nozzle and first faucet. The side nozzle is fixedly installed on the side wall of the shower room body, and the top nozzle is fixedly installed on the upper end surface of the shower room body. At the same time, it is easy to rinse the user's head and sides, and the flushing efficiency is improved. The handheld shower assembly and the embedded shower assembly provide users with a variety of showering methods to improve the customer's showering experience.
Description
技术领域technical field
本实用新型涉及卫浴领域,具体涉及一种淋浴房。The utility model relates to the field of sanitary ware, in particular to a shower room.
背景技术Background technique
随着现代家居对卫浴设施的要求越来越高,许多家庭都希望有一个独立的洗浴空间,但由于居室卫生空间有限,只能把洗浴设施与卫生洁具置于一室。而淋浴房是一种单独的淋浴隔间,可充分利用室内一角,用围栏将淋浴范围清晰地划分出来,形成相对独立的洗浴空间以此满足人们的需求;目前市面上的淋浴房仅具有手持式的淋浴件,淋浴功能单一,无法满足用户的不同需求。As modern households have higher and higher requirements for bathroom facilities, many families hope to have an independent bathing space, but due to the limited sanitary space in the bedroom, only bathing facilities and sanitary ware can be placed in one room. The shower room is a separate shower compartment, which can make full use of a corner of the room, and use the fence to clearly divide the shower area to form a relatively independent bathing space to meet people's needs; the current shower room on the market only has a handheld The type of shower unit has a single shower function and cannot meet the different needs of users.
发明内容SUMMARY OF THE INVENTION
针对以上不足,本实用新型所要解决的技术问题是提供一种淋浴房,提供手持式淋浴工具和内嵌式淋浴工具,满足用户的不同需求,提高用户的满意度。In view of the above deficiencies, the technical problem to be solved by the present invention is to provide a shower room, which provides hand-held shower tools and built-in shower tools, so as to meet the different needs of users and improve the satisfaction of users.
为解决以上技术问题,本实用新型采用的技术方案是,In order to solve the above technical problems, the technical scheme adopted by the present utility model is,
一种淋浴房,包括淋浴房房体,在淋浴房房体内设有手持式淋浴组件和嵌入式淋浴组件,手持式淋浴组件固定安装在淋浴房房体的一侧侧壁上,嵌入式淋浴组件包括侧部喷头、顶部喷头和第一龙头,侧部喷头固定安装在淋浴房房体侧壁上,顶部喷头固定安装在淋浴房房体的上端面上。A shower room, comprising a shower room body, a hand-held shower component and an embedded shower component are arranged in the shower room body, the hand-held shower component is fixedly installed on one side wall of the shower room body, and the embedded shower component It includes a side nozzle, a top nozzle and a first faucet. The side nozzle is fixedly installed on the side wall of the shower room body, and the top nozzle is fixedly installed on the upper end surface of the shower room body.
在采用以上技术方案的同时,本实用新型还进一步采用或者组合采用了以下技术方案。While adopting the above technical solutions, the present invention further adopts or combines the following technical solutions.
淋浴房房体包括第一侧壁、第二侧壁、圆弧壁和圆弧移门,第一侧壁与第二侧壁垂直连接,圆弧壁分别与第一侧壁和第二侧壁连接,圆弧移门与圆弧壁滑动连接,在第一侧壁和第二侧壁的连接处固定连接有安装面板。The shower room body includes a first side wall, a second side wall, a circular arc wall and a circular arc sliding door, the first side wall and the second side wall are vertically connected, and the circular arc wall is respectively connected with the first side wall and the second side wall The arc sliding door is slidably connected with the arc wall, and an installation panel is fixedly connected at the connection between the first side wall and the second side wall.
侧部喷头和第一龙头均固定安装在安装面板上,第一龙头位于侧部喷头的上方。Both the side nozzle and the first faucet are fixedly installed on the installation panel, and the first faucet is located above the side nozzle.
安装面板在第一龙头的上方固定安装有显示面板,显示器用于显示喷头出水温度。The installation panel is fixedly installed with a display panel above the first faucet, and the display is used to display the water temperature of the nozzle.
在安装面板的外侧固定连接有坐台。A seat is fixedly connected to the outside of the installation panel.
在淋浴房房体的上端面上定连接有顶面,顶部喷头固定安装在顶面的中部,在顶面上固定安装有灯带。A top surface is fixedly connected to the upper end surface of the shower room body, the top nozzle is fixedly installed in the middle of the top surface, and a light strip is fixedly installed on the top surface.
灯带包括直线灯带和环形灯带,直线灯带固定安装在顶面与第一侧壁和第二侧壁的连接处,环形灯带固定安装在顶部喷头的外侧。The light strip includes a linear light strip and a ring light strip, the linear light strip is fixedly installed at the connection between the top surface and the first side wall and the second side wall, and the ring light strip is fixedly installed on the outer side of the top nozzle.
在第二侧壁上固定安装有洗漱放置篮。A wash basket is fixedly installed on the second side wall.
手持式淋浴组件固定安装在第一侧壁上。The hand-held shower assembly is fixedly mounted on the first side wall.
在安装面板上至少安装有四个侧部喷头。At least four side sprinklers are mounted on the mounting panel.
本实用新型的有益效果是,通过手持式淋浴组件和嵌入式淋浴组件为用户提供多种淋浴方式,提高客户的淋浴体验,通过顶部喷头和侧部喷头对用户进行同时喷淋,便于对用户的头部和侧部进行冲洗,提高冲洗效率。The beneficial effect of the utility model is that the hand-held shower assembly and the embedded shower assembly are used to provide users with a variety of showering modes, thereby improving the customer's showering experience, and simultaneously spraying the user through the top spray head and the side spray head, which is convenient for the user. The head and sides are flushed to improve flushing efficiency.
附图说明Description of drawings
图1是本实用新型的透视结构示意图。Fig. 1 is the perspective structure schematic diagram of the present invention.
图2是图1转过一定角度后的结构示意图。FIG. 2 is a schematic structural diagram of FIG. 1 after a certain angle is turned.
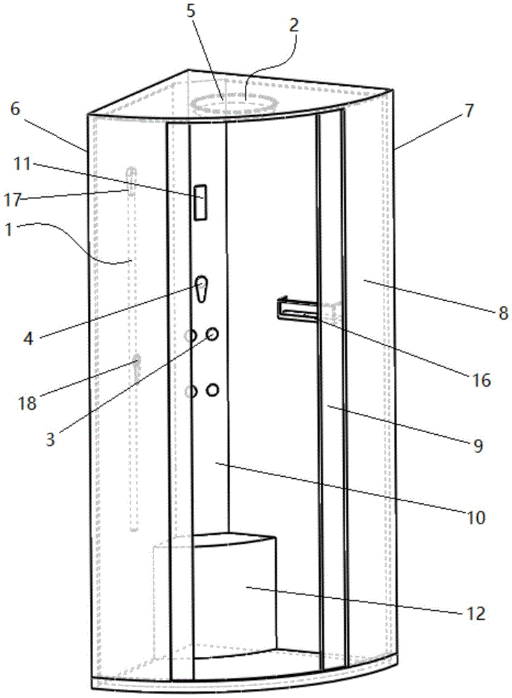
附图标记:手持式淋浴组件1,嵌入式淋浴组件2,侧部喷头3,顶部喷头4,第一龙头5,第一侧壁6,第二侧壁7,圆弧壁8,圆弧移门9,安装面板10,显示面板11,坐台12,灯带13,直线灯带14,环形灯带15,洗漱放置篮16,手持喷淋头17,第二龙头18。Reference numerals: hand-held
具体实施方式Detailed ways
下面结合附图对本实用新型进行进一步描述。The present utility model will be further described below in conjunction with the accompanying drawings.
一种淋浴房,包括淋浴房房体,在淋浴房房体内设有手持式淋浴组件1和嵌入式淋浴组件2,手持式淋浴组件1固定安装在淋浴房房体的一侧侧壁上,嵌入式淋浴组件2包括侧部喷头3、顶部喷头4和第一龙头5,侧部喷头3固定安装在淋浴房房体侧壁上,顶部喷头4固定安装在淋浴房房体的上端面上,通过顶部喷头4和侧部喷头3对用户进行同时喷淋,便于对用户的头部和侧部进行冲洗,提高冲洗效率,通过手持式淋浴组件1和嵌入式淋浴组件2为用户提供多种淋浴方式,提高客户的淋浴体验。A shower room includes a shower room body, a hand-held
淋浴房房体包括第一侧壁6、第二侧壁7、圆弧壁8和圆弧移门9,第一侧壁6与第二侧壁7垂直连接,圆弧壁8分别与第一侧壁6和第二侧壁7连接,圆弧移门9与圆弧壁8滑动连接,在第一侧壁6和第二侧壁7的连接处固定连接有安装面板10,通过安装面板10对水管管路进行覆盖,提高本淋浴房的美观度。The shower room body includes a first side wall 6, a second side wall 7, a
侧部喷头3和第一龙头5均固定安装在安装面板10上,第一龙头5位于侧部喷头3的上方,第一龙头5对侧部喷头3和顶部喷头4的开关起控制作用。Both the
安装面板10在第一龙头5的上方固定安装有显示面板11,显示器11用于显示喷头出水温度,便于用户根据需求对喷头出水的温度进行调节。The
在安装面板10的外侧固定连接有坐台12,坐台12可以为淋浴房内的用户提供座位,便于用户进行休息或者搓澡等,提高用户的使用体验。A seating table 12 is fixedly connected to the outer side of the
在淋浴房房体的上端面上定连接有顶面,顶部喷头4固定安装在顶面的中部,在顶面上固定安装有灯带13,通过灯带13对淋浴房内提供照明。A top surface is fixedly connected to the upper end surface of the shower room body, the
灯带13包括直线灯带14和环形灯带15,直线灯带14固定安装在顶面与第一侧壁6和第二侧壁7的连接处,环形灯带15固定安装在顶部喷头4的外侧。The
在第二侧壁7上固定安装有洗漱放置篮16。A
手持式淋浴组件1固定安装在第一侧壁6上,手持式淋浴组件1包括手持喷淋头17和第二龙头18,第二龙头18控制手持喷淋头的开关The hand-held
在安装面板10上至少安装有四个侧部喷头3,提高侧部喷头3的喷淋效率。At least four
对所公开的实施例的上述说明,使本淋浴专业技术人员能够实现或使用本实用新型。对这些实施例的多种修改对本淋浴的专业技术人员来说将是显而易见的,本文中所定义的一般原理可以在不脱离本实用新型的精神或范围的情况下,在其它实施例中实现;因此,本实用新型将不会被限制于本文所示的这些实施例,而是要符合与本文所公开的原理和新颖特点相一致的最宽的范围。The above description of the disclosed embodiments enables those skilled in the shower to implement or use the present invention. Various modifications to these embodiments will be readily apparent to those skilled in the present shower, and the general principles defined herein may be implemented in other embodiments without departing from the spirit or scope of the present invention; Thus, the present invention is not intended to be limited to the embodiments shown herein, but is to be accorded the widest scope consistent with the principles and novel features disclosed herein.
尽管本文较多地使用了图中附图标记对应的术语,但并不排除使用其它术语的可能性;使用这些术语仅仅是为了更方便地描述和解释本实用新型的本质;把它们解释成任何一种附加的限制都是与本实用新型精神相违背的。Although the terms corresponding to the reference numerals in the figures are used more in this paper, the possibility of using other terms is not excluded; these terms are only used to describe and explain the essence of the present invention more conveniently; they are interpreted as any An additional limitation is contrary to the spirit of the present invention.
Claims (10)
Priority Applications (1)
| Application Number | Priority Date | Filing Date | Title |
|---|---|---|---|
| CN201922054079.7U CN212176696U (en) | 2019-11-25 | 2019-11-25 | a shower room |
Applications Claiming Priority (1)
| Application Number | Priority Date | Filing Date | Title |
|---|---|---|---|
| CN201922054079.7U CN212176696U (en) | 2019-11-25 | 2019-11-25 | a shower room |
Publications (1)
| Publication Number | Publication Date |
|---|---|
| CN212176696U true CN212176696U (en) | 2020-12-18 |
Family
ID=73762514
Family Applications (1)
| Application Number | Title | Priority Date | Filing Date |
|---|---|---|---|
| CN201922054079.7U Expired - Fee Related CN212176696U (en) | 2019-11-25 | 2019-11-25 | a shower room |
Country Status (1)
| Country | Link |
|---|---|
| CN (1) | CN212176696U (en) |
-
2019
- 2019-11-25 CN CN201922054079.7U patent/CN212176696U/en not_active Expired - Fee Related
Similar Documents
| Publication | Publication Date | Title |
|---|---|---|
| US11697930B2 (en) | Handwashing station | |
| KR20130022661A (en) | Mobile multi-function standing washbasin | |
| CN105507386A (en) | Hidden toilet bowl integrating multiple sanitary appliances | |
| WO2019101148A1 (en) | Bathroom cabinet | |
| US20070011806A1 (en) | Self-cleaning sink/wash basin | |
| CN209610967U (en) | A kind of multilayer bathroom cabinet | |
| CN212176696U (en) | a shower room | |
| CN201339332Y (en) | Integral bathroom | |
| JP2003278197A (en) | Structure of faucet-handrail | |
| CN207829111U (en) | A kind of sanitary equipment pedestal and sanitary equipment | |
| JP2809099B2 (en) | Bathroom vanity | |
| JP2001061685A (en) | Washstand | |
| JPH08103394A (en) | Cabinet for bathroom | |
| JPH1199081A (en) | Washing place counter in bathroom | |
| CN1292694C (en) | Integrated sanitary equipment having toilet bowl and steaming/scouring bath device | |
| JP3228031B2 (en) | Bathroom vanity | |
| CN209907506U (en) | Closestool convenient to wash | |
| CN211524202U (en) | A shower room with sweat steaming function | |
| JP3424350B2 (en) | Bathroom vanity | |
| JP2002058609A (en) | Bathroom devices | |
| CN201535077U (en) | Integral bathroom | |
| JP2001348920A (en) | Faucet with wall for bathroom | |
| JP2512564Y2 (en) | Sanitary equipment such as washroom or hair wash equipped with a ball | |
| JP2003020701A (en) | Placing base for washing place | |
| JPH09327404A (en) | Washstand |
Legal Events
| Date | Code | Title | Description |
|---|---|---|---|
| GR01 | Patent grant | ||
| GR01 | Patent grant | ||
| CP01 | Change in the name or title of a patent holder | ||
| CP01 | Change in the name or title of a patent holder |
Address after: 314200 floor 2, No. 163, xiuxin Road, Xindai Town, Pinghu City, Jiaxing City, Zhejiang Province Patentee after: Pinghu saiweijia Sanitary Ware Technology Co.,Ltd. Address before: 314200 floor 2, No. 163, xiuxin Road, Xindai Town, Pinghu City, Jiaxing City, Zhejiang Province Patentee before: Pinghu Saiweiga Sanitary Ware Technology Co.,Ltd. |
|
| PE01 | Entry into force of the registration of the contract for pledge of patent right | ||
| PE01 | Entry into force of the registration of the contract for pledge of patent right |
Denomination of utility model: a shower room Effective date of registration: 20220826 Granted publication date: 20201218 Pledgee: Daqitang Sub-branch of Zhejiang Pinghu Rural Commercial Bank Co.,Ltd. Pledgor: Pinghu saiweijia Sanitary Ware Technology Co.,Ltd. Registration number: Y2022330001914 |
|
| CF01 | Termination of patent right due to non-payment of annual fee | ||
| CF01 | Termination of patent right due to non-payment of annual fee |
Granted publication date: 20201218 |
