CN212166196U - Mask storage and disinfection device - Google Patents
Mask storage and disinfection device Download PDFInfo
- Publication number
- CN212166196U CN212166196U CN202020179617.5U CN202020179617U CN212166196U CN 212166196 U CN212166196 U CN 212166196U CN 202020179617 U CN202020179617 U CN 202020179617U CN 212166196 U CN212166196 U CN 212166196U
- Authority
- CN
- China
- Prior art keywords
- mask
- upper casing
- mask storage
- storage
- casing
- Prior art date
- Legal status (The legal status is an assumption and is not a legal conclusion. Google has not performed a legal analysis and makes no representation as to the accuracy of the status listed.)
- Active
Links
- 238000004659 sterilization and disinfection Methods 0.000 title claims abstract description 22
- 239000000645 desinfectant Substances 0.000 claims abstract description 33
- 238000005507 spraying Methods 0.000 claims abstract description 20
- 239000007921 spray Substances 0.000 claims abstract description 8
- XLYOFNOQVPJJNP-UHFFFAOYSA-N water Substances O XLYOFNOQVPJJNP-UHFFFAOYSA-N 0.000 claims description 20
- 238000007664 blowing Methods 0.000 claims description 15
- 238000007789 sealing Methods 0.000 claims description 13
- 238000010438 heat treatment Methods 0.000 claims description 12
- 230000001954 sterilising effect Effects 0.000 claims description 8
- 239000007788 liquid Substances 0.000 claims description 5
- 238000004891 communication Methods 0.000 claims description 2
- 230000000249 desinfective effect Effects 0.000 claims description 2
- 244000052616 bacterial pathogen Species 0.000 abstract description 8
- 239000010813 municipal solid waste Substances 0.000 abstract description 6
- 208000015181 infectious disease Diseases 0.000 abstract description 2
- 241000700605 Viruses Species 0.000 description 7
- 206010035664 Pneumonia Diseases 0.000 description 5
- 241000711573 Coronaviridae Species 0.000 description 3
- LFQSCWFLJHTTHZ-UHFFFAOYSA-N Ethanol Chemical compound CCO LFQSCWFLJHTTHZ-UHFFFAOYSA-N 0.000 description 2
- 230000000903 blocking effect Effects 0.000 description 2
- 230000005484 gravity Effects 0.000 description 2
- 231100001261 hazardous Toxicity 0.000 description 2
- 239000003595 mist Substances 0.000 description 2
- 239000008399 tap water Substances 0.000 description 2
- 235000020679 tap water Nutrition 0.000 description 2
- 206010011409 Cross infection Diseases 0.000 description 1
- 206010029803 Nosocomial infection Diseases 0.000 description 1
- 230000009286 beneficial effect Effects 0.000 description 1
- 238000009395 breeding Methods 0.000 description 1
- 230000001488 breeding effect Effects 0.000 description 1
- 238000010586 diagram Methods 0.000 description 1
- 238000000034 method Methods 0.000 description 1
- 238000012986 modification Methods 0.000 description 1
- 230000004048 modification Effects 0.000 description 1
- 239000013589 supplement Substances 0.000 description 1
Images
Landscapes
- Apparatus For Disinfection Or Sterilisation (AREA)
Abstract
本实用新型提供一种口罩收纳消毒装置,属于消毒技术领域。它解决了现有生活中对于口罩的处理,一般人都是直接丢弃到垃圾桶内,然而很多口罩上存在病菌,容易滋生感染的问题。本实用新型包括本体,本体分为上壳体和下壳体;上壳体设有口罩收纳口、收纳口电动翻盖、控制装置、消毒液喷洒装置以及开关按钮;下壳体具有用于收纳口罩的容腔;上壳体和下壳体通过螺纹连接;收纳口电动翻盖通过电机驱动运行,且上壳体上还设有用于检测收纳口电动翻盖关闭的关闭传感器;控制装置与电机、开关按钮、消毒液喷洒装置以及关闭传感器电连接。本实用新型具有使用方便的优点。
The utility model provides a mask storage and disinfection device, which belongs to the technical field of disinfection. It solves the problem of the existing treatment of masks in life. Most people directly throw them into the trash can. However, many masks have germs on them, which are easy to breed infection. The utility model comprises a main body, which is divided into an upper casing and a lower casing; the upper casing is provided with a mask receiving port, an electric flip cover for the receiving port, a control device, a disinfectant spraying device and a switch button; The upper shell and the lower shell are connected by threads; the electric flip cover of the storage port is driven by a motor, and the upper shell is also provided with a closing sensor for detecting the closing of the electric flip cover of the storage port; the control device is connected with the motor and the switch button. , disinfectant spray device and close sensor electrical connection. The utility model has the advantages of convenient use.
Description
技术领域technical field
本实用新型属于消毒技术领域,具体涉及一种口罩收纳消毒装置。The utility model belongs to the technical field of disinfection, in particular to a mask storage and disinfection device.
背景技术Background technique
现有生活中对于口罩的处理,一般人都是直接丢弃到垃圾桶内,然而很多口罩上存在病菌,容易滋生感染,尤其是现有的新冠状肺炎病毒,传播性极强,如果口罩没有进行有效处理,很容易产生交叉感染,因此非常有必要在家中设置一个专门的口罩收纳消毒的装置。In the current life, when dealing with masks, most people directly discard them into the trash can. However, many masks contain germs, which are easy to breed infection, especially the existing new coronavirus pneumonia, which is highly contagious. If the masks are not carried out effectively Handling, it is easy to produce cross-infection, so it is very necessary to set up a special mask storage and disinfection device at home.
实用新型内容Utility model content
本实用新型的目的是针对现有技术中存在的上述问题,提供了一种使用方便的口罩收纳消毒装置。The purpose of this utility model is to solve the above-mentioned problems existing in the prior art, and to provide an easy-to-use mask storage and disinfection device.
为了实现上述实用新型目的,本实用新型采用了以下技术方案:一种口罩收纳消毒装置包括本体,所述的本体分为上壳体和下壳体;所述的上壳体设有口罩收纳口、收纳口电动翻盖、控制装置、消毒液喷洒装置以及开关按钮;所述的下壳体具有用于收纳口罩的容腔;所述的上壳体和下壳体通过螺纹连接;所述的收纳口电动翻盖通过电机驱动运行,且所述的上壳体上还设有用于检测收纳口电动翻盖关闭的关闭传感器;所述的控制装置与电机、开关按钮、消毒液喷洒装置以及关闭传感器电连接。使用时,将口罩折叠好后,按下开关按钮,控制装置控制电机驱动收纳口电动翻盖打开,然后将口罩放入到口罩收纳口内,再次按下开关或者手动将收纳口电动翻盖关闭,关闭传感器感应到收纳口电动翻盖关闭后,消毒液喷洒装置运行对落入的口罩进行消毒操作即可,使用方便,而且能够有效地将口罩封闭保存,使得病菌不会传播出去;处理口罩的时候,只需将上下壳体拆开,然后将口罩通通收入单独的垃圾袋,放入有害垃圾一类即可。In order to achieve the purpose of the utility model, the utility model adopts the following technical solutions: a mask storage and disinfection device includes a body, and the body is divided into an upper shell and a lower shell; the upper shell is provided with a mask storage port , an electric flip cover for the storage port, a control device, a disinfectant spray device and a switch button; the lower casing has a cavity for accommodating a mask; the upper casing and the lower casing are connected by threads; the storage The electric flip cover of the mouth is driven by a motor, and the upper casing is also provided with a closing sensor for detecting the closing of the electric flip cover of the receiving port; the control device is electrically connected with the motor, the switch button, the disinfectant spraying device and the closing sensor . When in use, after folding the mask, press the switch button, the control device controls the motor to drive the electric flip of the storage port to open, then put the mask into the mask storage port, press the switch again or manually close the storage port electric flip, and turn off the sensor. After sensing that the electric flip cover of the storage port is closed, the disinfectant spraying device can operate to disinfect the fallen masks, which is convenient to use, and can effectively seal and store the masks so that germs will not spread; when handling masks, only It is necessary to disassemble the upper and lower shells, and then put the masks into separate garbage bags, and put them into a category of hazardous garbage.
进一步的,所述的消毒液喷洒装置包括容纳瓶、用于抽取液体的电动水泵以及用于喷洒消毒液的球形喷头,所述的电动水泵和容纳瓶通过螺纹连接,且所述的电动水泵通过螺纹连接与上壳体上。容纳瓶内装有84消毒液或者75度酒精,能够对病毒进行有效杀害,尤其是现有的新冠肺炎病毒,消毒液通过电动水泵流入到球形喷头进行喷出,球形喷头上设有多个喷洒的微孔,能够将消毒液喷成雾状,有效对口罩进行消毒,而且容纳瓶的拆装也很方便。Further, the disinfectant spraying device includes an accommodating bottle, an electric water pump for extracting liquid, and a spherical nozzle for spraying the sanitizer, the electric water pump and the accommodating bottle are connected by threads, and the electric water pump passes through Threaded connection with the upper casing. The holding bottle is filled with 84-degree disinfectant or 75-degree alcohol, which can effectively kill viruses, especially the existing new coronary pneumonia virus. The disinfectant flows into the spherical nozzle through an electric water pump for spraying. The micro-holes can spray the disinfectant into a mist, effectively sterilizing the mask, and the disassembly and assembly of the containing bottle is also very convenient.
进一步的,所述的上壳体上还设有用于方便拆装容纳瓶的上翻门,所述的上翻门铰连于上壳体上。通过打开上翻门能够非常方便地拆装容纳瓶,进行加液操作。Further, the upper casing is also provided with an up-turn door for convenient disassembly and assembly of the bottle, and the up-turn door is hingedly connected to the upper casing. By opening the flip-up door, the container bottle can be easily removed and installed for liquid filling operation.
进一步的,所述的收纳口电动翻盖上还设有用于对口罩收纳口进行消毒的紫外线灯,所述的紫外线灯与控制装置通信连接。在收纳口电动翻盖关闭后,控制装置会将紫外线灯打开,对口罩收纳口进行持续消毒,有效防止口罩上的病菌在口罩收纳口滋生。Further, the electric flip cover of the receiving port is also provided with an ultraviolet lamp for sterilizing the receiving port of the mask, and the ultraviolet lamp is communicatively connected with the control device. After the electric flip cover of the storage opening is closed, the control device will turn on the ultraviolet light to continuously disinfect the mask storage opening, effectively preventing germs on the mask from breeding in the mask storage opening.
进一步的,还包括安装于上壳体上的多个吹风扇和与口罩收纳口连接的进风通道,所述的吹风扇吹风风向朝向下壳体所在位置。在口罩放入口罩收纳口的时候,通过吹风扇能够为通过进风通道为口罩收纳口提供吸力,使得口罩能够在重力和吸力的作用下更加顺畅地进入口罩收纳口内,而且防止里面的空气往外吹,在收纳口电动翻盖关闭后,消毒液喷洒装置启动后,吹风扇能够使得上壳体和下壳体内部形成循环的风道,使得消毒液不仅能够对口罩进行消毒,还能够对上壳体和下壳体内部各个地方进行消毒,进一步保证了消毒效率。Further, it also includes a plurality of blowing fans installed on the upper casing and an air inlet channel connected to the mask receiving port, and the blowing direction of the blowing fans is toward the position of the lower casing. When the mask is put into the mask storage port, the blowing fan can provide suction for the mask storage port through the air inlet channel, so that the mask can enter the mask storage port more smoothly under the action of gravity and suction, and prevent the air inside from going out. Blow, after the electric flip cover of the storage port is closed and the disinfectant spraying device is activated, the blowing fan can form a circulating air duct inside the upper shell and the lower shell, so that the disinfectant can not only disinfect the mask, but also the upper shell. The internal parts of the body and the lower shell are disinfected, which further ensures the disinfection efficiency.
进一步的,所述的上壳体上还设有设置于口罩收纳口下方的封闭装置,所述的封闭装置包括推拉式电磁铁和密封板,且所述的上壳体上还设有与密封板配合的凹槽。通过封闭装置能够在消毒液喷洒装置工作一段时间后,封闭口罩收纳口的通道,在下一个口罩放入的时候,能够有效防止里面的空气从这个通道排出,推拉式电磁铁动作将密封板推入到凹槽内完成密封阻挡,结构简单;其中推拉式电磁铁为市面上常见的小型标准件,这里不在对其结构进行赘述。Further, the upper casing is also provided with a closing device arranged below the mask receiving opening, the closing device includes a push-pull electromagnet and a sealing plate, and the upper casing is also provided with a sealing device. grooves for plate fit. The sealing device can close the channel of the mask receiving port after the disinfectant spraying device works for a period of time. When the next mask is put in, the air inside can be effectively prevented from being discharged from this channel. The push-pull electromagnet action pushes the sealing plate into The sealing and blocking are completed in the groove, and the structure is simple; the push-pull electromagnet is a common small standard part in the market, and its structure is not repeated here.
进一步的,所述的下壳体上设有用于对口罩进行加热消毒的加热装置。当消毒液喷洒装置内的消毒液用尽又无法使用时,而且短时间无法购买到,可以通过在下壳体内加入适量的自来水,然后通过加热装置将进行加热,然后改善上壳体,这样放入再放入口罩,通过高于56摄氏度的热水即可有效地对现有的新冠状肺炎病毒进行灭活,或者是其他病菌,有效节省了消毒液的使用。Further, the lower casing is provided with a heating device for heating and sterilizing the mask. When the disinfectant in the disinfectant spraying device is exhausted and cannot be used, and it cannot be purchased in a short time, you can add an appropriate amount of tap water into the lower casing, and then heat it through the heating device, and then improve the upper casing. Putting in the mask again, the existing new coronavirus pneumonia virus or other germs can be effectively inactivated by hot water higher than 56 degrees Celsius, which effectively saves the use of disinfectant.
进一步的,所述的下壳体上还设有用于排水的排水管,所述的排水管上还设有排水阀。通过排水管和排水阀能够对下壳体的水进行方便地排水操作。Further, the lower casing is also provided with a drain pipe for draining water, and the drain pipe is also provided with a drain valve. The water in the lower casing can be conveniently drained through the drain pipe and the drain valve.
进一步的,所述的口罩收纳口开口处设有倒角。这个倒角能够增大口罩收纳口的口径,但是又不会使得里面的通道扩大,方便口罩的放入。Further, the mouth of the mouth mask is provided with a chamfer. This chamfer can increase the diameter of the mask storage opening, but it will not expand the channel inside, which is convenient for putting in the mask.
进一步的,所述的进风通道倾斜朝上设置。倾斜朝上设置的进风通道口能够更加有效地对上方的口罩收纳口进行吸气。Further, the air inlet channel is arranged obliquely upward. The air inlet channel opening inclined upward can more effectively inhale the upper mask storage opening.
与现有技术相比,采用了上述技术方案的一种口罩收纳消毒装置,具有如下有益效果:Compared with the prior art, a mask storage and disinfection device using the above-mentioned technical solution has the following beneficial effects:
本实用新型的口罩收纳消毒装置具有以下优点:The mask storage and disinfection device of the present invention has the following advantages:
1:通过收纳口电动翻盖和消毒液喷洒装置,能够非常方便地对口罩进行收纳和消毒,杜绝病毒的传播。1: Through the electric flip cover of the storage port and the disinfectant spray device, the mask can be easily stored and disinfected to prevent the spread of the virus.
附图说明Description of drawings
图1是本实用新型的结构示意图一;Fig. 1 is the structural representation one of the present utility model;
图2是本实用新型的结构示意图二。FIG. 2 is a second structural schematic diagram of the present invention.
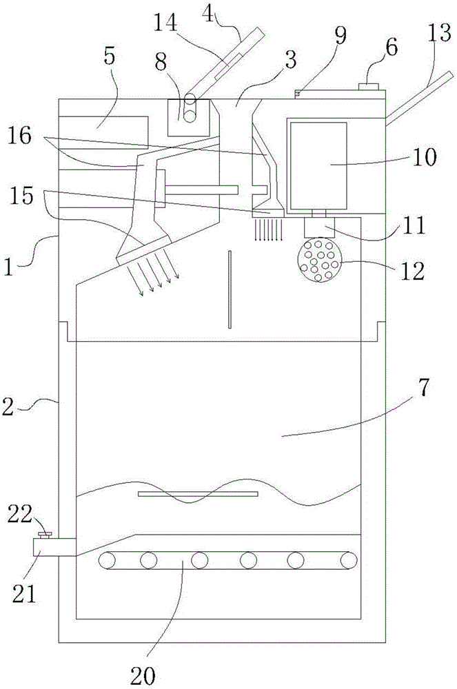
图中,1、上壳体;2、下壳体;3、口罩收纳口;4、收纳口电动翻盖;5、控制装置;6、开关按钮;7、容腔;8、电机;9、关闭传感器;10、容纳瓶;11、水泵;12、球形喷头;13、上翻门;14、紫外线灯;15、吹风扇;16、进风通道;17、推拉式电磁铁;18、密封板;19、凹槽;20、加热装置;21、排水管;22、排水阀;23、倒角。In the figure, 1. the upper casing; 2. the lower casing; 3. the mask receiving port; 4. the electric flip cover of the receiving port; 5. the control device; 6. the switch button; 7. the chamber; 8. the motor; Sensor; 10, accommodating bottle; 11, water pump; 12, spherical nozzle; 13, upturn door; 14, ultraviolet lamp; 15, blowing fan; 16, air inlet channel; 17, push-pull electromagnet; 18, sealing plate; 19, groove; 20, heating device; 21, drain pipe; 22, drain valve; 23, chamfer.
具体实施方式Detailed ways
以下是本实用新型的具体实施例并结合附图,对本实用新型的技术方案作进一步的描述,但本实用新型并不限于这些实施例。The following are specific embodiments of the present utility model combined with the accompanying drawings to further describe the technical solutions of the present utility model, but the present utility model is not limited to these embodiments.
实施例1:Example 1:
如图1和2所示,本口罩收纳消毒装置包括本体,本体分为上壳体1和下壳体2;上壳体1设有口罩收纳口3、收纳口电动翻盖4、控制装置5、消毒液喷洒装置以及开关按钮6;下壳体2具有用于收纳口罩的容腔7;上壳体1和下壳体2通过螺纹连接;收纳口电动翻盖4通过电机8驱动运行,且上壳体1上还设有用于检测收纳口电动翻盖4关闭的关闭传感器9;控制装置5与电机8、开关按钮6、消毒液喷洒装置以及关闭传感器9电连接。其中电机8市面上常见的微型电机8,控制装置5为市面上常见的控制主板,这里不在赘述;其中关闭传感器9可以是现有的红外传感器,或者接触式传感器,当翻盖与传感器接触的时候,即可接收到信号发送给控制装置5。As shown in Figures 1 and 2, the mask storage and disinfection device includes a body, and the body is divided into an
具体的,消毒液喷洒装置包括容纳瓶10、用于抽取液体的电动水泵11以及用于喷洒消毒液的球形喷头12,电动水泵11和容纳瓶10通过螺纹连接,且电动水泵11通过螺纹连接与上壳体1上。容纳瓶10内装有84消毒液或者75度酒精,能够对病毒进行有效杀害,尤其是现有的新冠肺炎病毒,消毒液通过电动水泵11流入到球形喷头12进行喷出,球形喷头12上设有多个喷洒的微孔,能够将消毒液喷成雾状,有效对口罩进行消毒,而且容纳瓶10的拆装也很方便。Specifically, the disinfectant spraying device includes a
具体的,上壳体1上还设有用于方便拆装容纳瓶10的上翻门13,上翻门13铰连于上壳体1上。通过打开上翻门13能够非常方便地拆装容纳瓶10,进行加液操作。Specifically, the
具体的,收纳口电动翻盖4上还设有用于对口罩收纳口3进行消毒的紫外线灯14,紫外线灯14与控制装置5通信连接。在收纳口电动翻盖4关闭后,控制装置5会将紫外线灯14打开,对口罩收纳口3进行持续消毒,有效防止口罩上的病菌在口罩收纳口3滋生。Specifically, an
具体的,还包括安装于上壳体1上的多个吹风扇15和与口罩收纳口3连接的进风通道16,吹风扇15吹风风向朝向下壳体2所在位置。在口罩放入口罩收纳口3的时候,通过吹风扇15能够为通过进风通道16为口罩收纳口3提供吸力,使得口罩能够在重力和吸力的作用下更加顺畅地进入口罩收纳口3内,而且防止里面的空气往外吹,在收纳口电动翻盖4关闭后,消毒液喷洒装置启动后,吹风扇15能够使得上壳体1和下壳体2内部形成循环的风道,使得消毒液不仅能够对口罩进行消毒,还能够对上壳体1和下壳体2内部各个地方进行消毒,进一步保证了消毒效率。Specifically, it also includes a plurality of blowing
具体的,上壳体1上还设有设置于口罩收纳口3下方的封闭装置,封闭装置包括推拉式电磁铁17和密封板18,且上壳体1上还设有与密封板18配合的凹槽19。通过封闭装置能够在消毒液喷洒装置工作一段时间后,封闭口罩收纳口3的通道,在下一个口罩放入的时候,能够有效防止里面的空气从这个通道排出,推拉式电磁铁17动作将密封板18推入到凹槽19内完成密封阻挡,结构简单;其中推拉式电磁铁17为市面上常见的小型标准件,这里不在对其结构进行赘述。Specifically, the
优选的,口罩收纳口3开口处设有倒角23。这个倒角23能够增大口罩收纳口3的口径,但是又不会使得里面的通道扩大,方便口罩的放入。Preferably, a
优选的,进风通道16倾斜朝上设置。倾斜朝上设置的进风通道16口能够更加有效地对上方的口罩收纳口3进行吸气。Preferably, the
使用时,将口罩折叠好后,按下开关按钮6,控制装置5控制电机8驱动收纳口电动翻盖4打开,然后将口罩放入到口罩收纳口3内,再次按下开关或者手动将收纳口电动翻盖4关闭,关闭传感器9感应到收纳口电动翻盖4关闭后,消毒液喷洒装置运行对落入的口罩进行消毒操作即可,使用方便,而且能够有效地将口罩封闭保存,使得病菌不会传播出去;处理口罩的时候,只需将上下壳体2拆开,然后将口罩通通收入单独的垃圾袋,放入有害垃圾一类即可。When in use, after folding the mask, press the
实施例2:Example 2:
本实施例和实施例1的区别在于,下壳体2上设有用于对口罩进行加热消毒的加热装置20。当消毒液喷洒装置内的消毒液用尽又无法使用时,而且短时间无法购买到,可以通过在下壳体2内加入适量的自来水,然后通过加热装置20将进行加热,然后改善上壳体1,这样放入再放入口罩,通过高于56摄氏度的热水即可有效地对现有的新冠状肺炎病毒进行灭活,或者是其他病菌,有效节省了消毒液的使用。其中加热装置20为市面上常见的加热管的结构,这里不在对其结构进行赘述。The difference between this embodiment and
优选的,下壳体2上还设有用于排水的排水管21,排水管21上还设有排水阀22。通过排水管21和排水阀22能够对下壳体2的水进行方便地排水操作。Preferably, the
本文中所描述的具体实施例仅仅是对本实用新型精神作举例说明。本实用新型所属技术领域的技术人员可以对所描述的具体实施例做各种各样的修改或补充或采用类似的方式替代,但并不会偏离本实用新型的精神或者超越所附权利要求书所定义的范围。The specific embodiments described herein are merely illustrative of the spirit of the present invention. Those skilled in the art of the present invention can make various modifications or supplements to the described specific embodiments or replace them in similar ways, but will not deviate from the spirit of the present invention or go beyond the appended claims the defined range.
尽管本文较多地使用了上壳体1、下壳体2、口罩收纳口3、收纳口电动翻盖4、控制装置5、开关按钮6、容腔7、电机8、关闭传感器9、容纳瓶10、水泵11、球形喷头12、上翻门13、紫外线灯14、吹风扇15、进风通道16、推拉式电磁铁17、密封板18、凹槽19、加热装置20、排水管21、排水阀22、倒角23等术语,但并不排除使用其它术语的可能性。使用这些术语仅仅是为了更方便地描述和解释本实用新型的本质;把它们解释成任何一种附加的限制都是与本实用新型精神相违背的。Although this article uses the
Claims (10)
Priority Applications (1)
| Application Number | Priority Date | Filing Date | Title |
|---|---|---|---|
| CN202020179617.5U CN212166196U (en) | 2020-02-18 | 2020-02-18 | Mask storage and disinfection device |
Applications Claiming Priority (1)
| Application Number | Priority Date | Filing Date | Title |
|---|---|---|---|
| CN202020179617.5U CN212166196U (en) | 2020-02-18 | 2020-02-18 | Mask storage and disinfection device |
Publications (1)
| Publication Number | Publication Date |
|---|---|
| CN212166196U true CN212166196U (en) | 2020-12-18 |
Family
ID=73773363
Family Applications (1)
| Application Number | Title | Priority Date | Filing Date |
|---|---|---|---|
| CN202020179617.5U Active CN212166196U (en) | 2020-02-18 | 2020-02-18 | Mask storage and disinfection device |
Country Status (1)
| Country | Link |
|---|---|
| CN (1) | CN212166196U (en) |
Cited By (1)
| Publication number | Priority date | Publication date | Assignee | Title |
|---|---|---|---|---|
| CN115872064A (en) * | 2023-01-03 | 2023-03-31 | 山东科技大学 | Mask distribution device with disinfection function and working method thereof |
-
2020
- 2020-02-18 CN CN202020179617.5U patent/CN212166196U/en active Active
Cited By (1)
| Publication number | Priority date | Publication date | Assignee | Title |
|---|---|---|---|---|
| CN115872064A (en) * | 2023-01-03 | 2023-03-31 | 山东科技大学 | Mask distribution device with disinfection function and working method thereof |
Similar Documents
| Publication | Publication Date | Title |
|---|---|---|
| CN104891071B (en) | A kind of dustbin | |
| CN111617291A (en) | A rapid disinfection channel | |
| CN107823656A (en) | Tableware disinfection cabinet and its control method | |
| CN108324964A (en) | A kind of medical apparatus sterilizing drying device | |
| CN212166196U (en) | Mask storage and disinfection device | |
| CN208114834U (en) | Sterilization and disinfection device is used in a kind of prevention and treatment of tuberculous empyema | |
| CN112121212A (en) | An article disinfection cabinet | |
| CN108086433A (en) | Tasteless closet is not blocked up in self-cleaning | |
| CN114699324B (en) | Safe waste liquid collection device for medical nursing | |
| CN216510515U (en) | Medical waste collection device with disinfection function | |
| CN209253690U (en) | A kind of liver and gall surgical department's special-purpose surgical knife chlorination equipment | |
| CN208552572U (en) | A kind of multi-functional hydrogen peroxide generator | |
| CN113058919B (en) | Medical instrument belt cleaning device of preventing aerogel infection | |
| CN203127549U (en) | Storey waste box disinfected by plasmas | |
| CN203647482U (en) | Endoscope delivery window | |
| CN209404586U (en) | multifunctional sterilizer | |
| CN219829063U (en) | A ward disinfection machine | |
| CN209316571U (en) | A kind of gynemetrics's automatic disinfection device | |
| CN114632176A (en) | A kind of drainage device disinfection device and disinfection method | |
| CN212478973U (en) | Delivery window | |
| CN217519993U (en) | Air virus/bacterium killing system suitable for public closed space | |
| CN214050168U (en) | Double-spray hand-washing sterilizer | |
| CN212893993U (en) | Clinical medicine inspection is with useless appearance processing apparatus | |
| CN207356133U (en) | A kind of nursing in operating room device | |
| CN209437714U (en) | A hydrogen peroxide gasification disinfection and sterilization equipment |
Legal Events
| Date | Code | Title | Description |
|---|---|---|---|
| GR01 | Patent grant | ||
| GR01 | Patent grant |
