CN212089607U - A splash-proof visual sampler during throat swab examination - Google Patents
A splash-proof visual sampler during throat swab examination Download PDFInfo
- Publication number
- CN212089607U CN212089607U CN202020244682.1U CN202020244682U CN212089607U CN 212089607 U CN212089607 U CN 212089607U CN 202020244682 U CN202020244682 U CN 202020244682U CN 212089607 U CN212089607 U CN 212089607U
- Authority
- CN
- China
- Prior art keywords
- head
- light
- test tube
- sampling head
- splash
- Prior art date
- Legal status (The legal status is an assumption and is not a legal conclusion. Google has not performed a legal analysis and makes no representation as to the accuracy of the status listed.)
- Expired - Fee Related
Links
- 230000000007 visual effect Effects 0.000 title claims abstract description 13
- 238000005070 sampling Methods 0.000 claims abstract description 37
- 238000002955 isolation Methods 0.000 claims abstract description 20
- 239000004033 plastic Substances 0.000 claims abstract description 17
- 239000011324 bead Substances 0.000 claims abstract description 12
- 238000007689 inspection Methods 0.000 claims abstract description 9
- 238000000034 method Methods 0.000 claims description 4
- 230000028327 secretion Effects 0.000 abstract description 3
- 238000010586 diagram Methods 0.000 description 4
- 208000015181 infectious disease Diseases 0.000 description 3
- 239000004677 Nylon Substances 0.000 description 2
- 238000003745 diagnosis Methods 0.000 description 2
- 239000003814 drug Substances 0.000 description 2
- 229940079593 drug Drugs 0.000 description 2
- 229920001778 nylon Polymers 0.000 description 2
- 210000004916 vomit Anatomy 0.000 description 2
- 230000008673 vomiting Effects 0.000 description 2
- 241000894006 Bacteria Species 0.000 description 1
- 241000711573 Coronaviridae Species 0.000 description 1
- 229920000742 Cotton Polymers 0.000 description 1
- 206010011224 Cough Diseases 0.000 description 1
- 201000007100 Pharyngitis Diseases 0.000 description 1
- 208000016150 acute pharyngitis Diseases 0.000 description 1
- 210000002534 adenoid Anatomy 0.000 description 1
- 230000001580 bacterial effect Effects 0.000 description 1
- 230000009286 beneficial effect Effects 0.000 description 1
- 206010013023 diphtheria Diseases 0.000 description 1
- 201000010099 disease Diseases 0.000 description 1
- 208000037265 diseases, disorders, signs and symptoms Diseases 0.000 description 1
- 238000002474 experimental method Methods 0.000 description 1
- 230000003760 hair shine Effects 0.000 description 1
- 230000002265 prevention Effects 0.000 description 1
- 210000003296 saliva Anatomy 0.000 description 1
- 239000007921 spray Substances 0.000 description 1
Images
Landscapes
- Investigating Or Analysing Biological Materials (AREA)
Abstract
本实用新型公开了一种咽拭子检查过程中防喷溅可视采样器,包括发光手柄、采样头、隔离罩、试管,所述发光手柄末端设有连接头,所述连接头内侧设有灯珠,连接头与采样头的尾端活动连接,采样头前端为拭子头,采样头后端为塑料管,发光手柄侧面设有开关,所述隔离罩为透明的伞形结构,隔离罩套在连接头外侧,隔离罩开口面向采样头,采样头取下放入试管内,试管出口处设有试管盖,本实用新型采用伞形隔离罩挡住患者嘴部,防护性佳,操作方便,能够防止因采样导致病人分泌物喷溅,有效保护医护人员的安全。
The utility model discloses a splash-proof visual sampler during throat swab inspection, comprising a light-emitting handle, a sampling head, an isolation cover and a test tube. The end of the light-emitting handle is provided with a connecting head, and the inner side of the connecting head is provided with Lamp beads, the connector is movably connected with the tail end of the sampling head, the front end of the sampling head is a swab head, the rear end of the sampling head is a plastic tube, the side of the light-emitting handle is provided with a switch, the isolation cover is a transparent umbrella structure, the isolation cover It is sleeved on the outside of the connecting head, the opening of the isolation cover faces the sampling head, the sampling head is removed and put into the test tube, the test tube cover is provided at the outlet of the test tube, and the utility model adopts the umbrella-shaped isolation cover to block the patient's mouth, which has good protection and convenient operation. It can prevent the patient's secretions from splashing due to sampling, and effectively protect the safety of medical staff.
Description
技术领域technical field
本实用新型属于医疗设备技术领域,具体涉及一种咽拭子检查过程中防喷溅可视采样器。The utility model belongs to the technical field of medical equipment, in particular to a splash-proof visual sampler during throat swab inspection.
背景技术Background technique
咽拭子检查是用于新型冠状病毒、咽部白喉、急性咽喉炎等疾病诊疗的必须且重要的一项操作。具体用灭菌棉签或塑料杆拭子擦拭咽扁桃体及咽后壁,取一点咽喉的分泌物,放到显微镜下进行检查。也可以用这些分泌物做细菌培养和药敏实验,发现定植在咽喉部的有害细菌,为下一步的诊断和用药指导提供临床的帮助。咽拭子检查时,患者常常会咳嗽、打喷嚏,甚至呕吐,随之会喷溅飞沫,使一个看似简单等咽拭子采样,成为防疫一线最为危险等操作之一。为了保障采样人员等安全,降低医务人员感染风险,需将咽拭子采样器进行改进,且迫在眉睫。Throat swab examination is a necessary and important operation for the diagnosis and treatment of new coronavirus, pharyngeal diphtheria, acute pharyngitis and other diseases. Specifically, use a sterile cotton swab or a plastic rod swab to wipe the pharyngeal tonsils and posterior pharyngeal wall, take a little throat secretion, and put it under a microscope for examination. These secretions can also be used for bacterial culture and drug susceptibility experiments to find harmful bacteria colonized in the throat, which can provide clinical help for the next step of diagnosis and medication guidance. During throat swab examination, patients often cough, sneeze, or even vomit, and then spray droplets, making a seemingly simple wait for throat swab sampling to become one of the most dangerous operations on the front line of epidemic prevention. In order to ensure the safety of sampling personnel and reduce the risk of infection among medical personnel, it is urgent to improve the throat swab sampler.
发明内容SUMMARY OF THE INVENTION
为解决上述问题,本实用新型公开了一种咽拭子检查过程中防喷溅可视采样器,防护性佳,操作方便,提高采样准确率,较好保护了医护人员的安全,降低医务人员感染风险。In order to solve the above problems, the utility model discloses a splash-proof visual sampler during throat swab inspection, which has good protection, is easy to operate, improves the sampling accuracy, better protects the safety of medical staff, and reduces the cost of medical staff. Risk of infection.
为达到上述目的,本实用新型In order to achieve the above-mentioned purpose, the utility model
一种咽拭子检查过程中防喷溅可视采样器,包括发光手柄、采样头、隔离罩、试管,所述发光手柄末端设有连接头,所述连接头内侧设有灯珠,连接头与采样头的尾端活动连接,采样头前端为拭子头(尼龙绒毛头),采样头后端为塑料管,发光手柄侧面设有开关,所述隔离罩为透明的伞形结构,隔离罩设置在连接头外侧,隔离罩开口面向采样头,采样头取下放入试管内,试管出口处设有试管盖。An anti-splash visual sampler during throat swab inspection, comprising a light-emitting handle, a sampling head, an isolation cover, and a test tube, the end of the light-emitting handle is provided with a connecting head, the inner side of the connecting head is provided with lamp beads, and the connecting head It is movably connected with the tail end of the sampling head. The front end of the sampling head is a swab head (nylon fluff head), the rear end of the sampling head is a plastic tube, and a switch is provided on the side of the light-emitting handle. The isolation cover is a transparent umbrella-shaped structure. It is arranged on the outside of the connecting head, the opening of the isolation cover faces the sampling head, the sampling head is removed and put into the test tube, and the test tube cover is provided at the outlet of the test tube.
作为本实用新型的一种改进,所述发光手柄内部设有线路板,所述线路板一端连接灯珠,另一端连接发光手柄后端的USB接口。As an improvement of the present invention, a circuit board is arranged inside the light-emitting handle, one end of the circuit board is connected to the lamp bead, and the other end is connected to the USB interface at the rear end of the light-emitting handle.
作为本实用新型的一种改进,所述发光手柄内部设有纽扣电池,所述纽扣电池连接灯珠。As an improvement of the present invention, a button battery is arranged inside the light-emitting handle, and the button battery is connected to the lamp beads.
作为本实用新型的一种改进,所述连接头与塑料管的尾端通过螺纹连接。As an improvement of the present invention, the connecting head and the tail end of the plastic pipe are connected by threads.
作为本实用新型的一种改进,所述连接头内壁为锥形孔,塑料管的尾端设有锥形块插入所述锥形孔内。As an improvement of the present invention, the inner wall of the connecting head is a tapered hole, and the tail end of the plastic pipe is provided with a tapered block to be inserted into the tapered hole.
作为本实用新型的一种改进,所述采样头长度比试管长度长1-4mm。As an improvement of the utility model, the length of the sampling head is 1-4 mm longer than the length of the test tube.
本实用新型的有益效果是:The beneficial effects of the present utility model are:
本实用新型所述的一种咽拭子检查过程中防喷溅可视采样器,采用伞形隔离罩挡住患者嘴部,防护性佳,操作方便,提高采样准确率,较好保护了医护人员的安全,降低医务人员感染风险。The anti-splash visual sampler of the utility model adopts an umbrella-shaped isolation cover to block the patient's mouth during the examination of throat swabs, has good protection, is easy to operate, improves sampling accuracy, and better protects medical staff safety and reduce the risk of infection among medical staff.
附图说明Description of drawings
图1为本实用新型的结构示意图。Figure 1 is a schematic structural diagram of the utility model.
图2为本实用新型所述的试管工作状态图。Fig. 2 is the working state diagram of the test tube according to the utility model.
图3为本实用新型所述的手柄内部的一种结构图。FIG. 3 is a structural diagram of the inside of the handle according to the present invention.
图4为本实用新型所述的手柄内部的另一种结构图。FIG. 4 is another structural diagram of the inside of the handle according to the present invention.
附图标记列表:List of reference numbers:
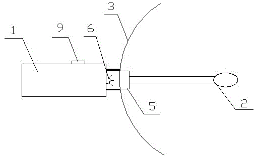
1、发光手柄,2、采样头,3、隔离罩,4、试管,5、连接头,6、灯珠,7、拭子头,8、塑料管,9、开关,10、试管盖,11、线路板,12、USB接口,13、纽扣电池,14、螺纹,15、锥形孔。1. Lighted handle, 2. Sampling head, 3. Isolation cover, 4. Test tube, 5. Connector, 6. Lamp beads, 7. Swab head, 8. Plastic tube, 9. Switch, 10, Test tube cover, 11 , circuit board, 12, USB interface, 13, button battery, 14, thread, 15, tapered hole.
具体实施方式Detailed ways
下面结合附图和具体实施方式,进一步阐明本实用新型,应理解下述具体实施方式仅用于说明本实用新型而不用于限制本实用新型的范围。需要说明的是,下面描述中使用的词语“前”、“后”、“左”、“右”、“上”和“下”指的是附图中的方向,词语“内”和“外”分别指的是朝向或远离特定部件几何中心的方向。The present invention will be further clarified below with reference to the accompanying drawings and specific embodiments. It should be understood that the following specific embodiments are only used to illustrate the present invention and not to limit the scope of the present invention. It should be noted that the words "front", "rear", "left", "right", "upper" and "lower" used in the following description refer to the directions in the drawings, and the words "inner" and "outer" ” refer to directions towards or away from the geometric center of a particular part, respectively.
如图所示,本发明所述的一种咽拭子检查过程中防喷溅可视采样器,包括发光手柄1、采样头2、隔离罩3、试管4,其中发光手柄1类似与发光耳勺的手柄,在发光手柄1的前端灯珠发光能够照亮拭子头位置,灯珠6设置在连接头5内侧,有两种发光模式:As shown in the figure, a splash-proof visual sampler in the process of throat swab inspection according to the present invention includes a light-
一种是发光手柄1内部设有线路板11,所述线路板11一端连接灯珠6,另一端连接发光手柄后端的USB接口12,可以充电。One is that the light-
另一种是在发光手柄1内部设有纽扣电池13,所述纽扣电池13连接灯珠6。The other is that a
采样头前端为拭子头7(采用尼龙绒毛头,有点像小刷子),采样头后端为塑料管8,只要打开发光手柄侧面的开关9,灯光透过塑料管8照在拭子头7上,加上隔离罩3为透明的,工作时护士可以很方便的进行采样,提高工作效率;本实用新型所述的隔离罩3为伞形结构,隔离罩3设置在连接头外侧,隔离罩开口面向采样头一端,采样时用伞形隔离罩3挡住患者嘴部,阻止唾液或呕吐物溅到护士身上,防护性佳,操作方便,能够保护医护人员的安全。The front end of the sampling head is a swab head 7 (using a nylon fluff head, which is a bit like a small brush), and the rear end of the sampling head is a
采样结束后,采样头2取下放入试管4内,盖上试管盖10密封保存,为了能够方便快捷的取出采样头2,可以将采样头长度比试管长度长1-4mm,密封保存时稍微压弯塑料管8,打开试管盖10。塑料管8回弹会冒出试管外,便于医护人员拿取。After sampling, take off the
本实用新型所述的隔离罩3为橡塑制品,一次性使用,套在发光手柄前端的连接头5外侧,防喷溅。The
本实用新型所述的采样头2也为一次性用品,连接头5与塑料管8为活动连接,可以取下,连接方式有两种:The
1、连接头2与塑料管8的尾端通过螺纹14连接,如图3所示;1. The connecting
2、连接头2内壁为锥形孔15,塑料管8的尾端设有锥形块插入所述锥形孔15内,如图4所示。2. The inner wall of the connecting
本实用新型所公开的技术手段不仅限于上述实施方式所公开的技术手段,还包括由以上技术特征任意组合所组成的技术方案。The technical means disclosed in the present invention are not limited to the technical means disclosed in the above embodiments, but also include technical solutions composed of any combination of the above technical features.
Claims (6)
Priority Applications (1)
| Application Number | Priority Date | Filing Date | Title |
|---|---|---|---|
| CN202020244682.1U CN212089607U (en) | 2020-03-03 | 2020-03-03 | A splash-proof visual sampler during throat swab examination |
Applications Claiming Priority (1)
| Application Number | Priority Date | Filing Date | Title |
|---|---|---|---|
| CN202020244682.1U CN212089607U (en) | 2020-03-03 | 2020-03-03 | A splash-proof visual sampler during throat swab examination |
Publications (1)
| Publication Number | Publication Date |
|---|---|
| CN212089607U true CN212089607U (en) | 2020-12-08 |
Family
ID=73632770
Family Applications (1)
| Application Number | Title | Priority Date | Filing Date |
|---|---|---|---|
| CN202020244682.1U Expired - Fee Related CN212089607U (en) | 2020-03-03 | 2020-03-03 | A splash-proof visual sampler during throat swab examination |
Country Status (1)
| Country | Link |
|---|---|
| CN (1) | CN212089607U (en) |
Cited By (1)
| Publication number | Priority date | Publication date | Assignee | Title |
|---|---|---|---|---|
| CN112386290A (en) * | 2021-01-02 | 2021-02-23 | 雷小芹 | Saliva collector for treating new coronavirus patients and collecting method thereof |
-
2020
- 2020-03-03 CN CN202020244682.1U patent/CN212089607U/en not_active Expired - Fee Related
Cited By (1)
| Publication number | Priority date | Publication date | Assignee | Title |
|---|---|---|---|---|
| CN112386290A (en) * | 2021-01-02 | 2021-02-23 | 雷小芹 | Saliva collector for treating new coronavirus patients and collecting method thereof |
Similar Documents
| Publication | Publication Date | Title |
|---|---|---|
| CN212089607U (en) | A splash-proof visual sampler during throat swab examination | |
| CN213189742U (en) | Auxiliary sampling and inspection integrated device for throat swab | |
| CN202859364U (en) | Disposable medical oral cavity washing and sucking tube | |
| CN204484053U (en) | The aseptic vaginal dilator of single use with light-guiding pillar | |
| CN217852920U (en) | Disposable vaginal dilator system with fluorescence detection and suction functions | |
| CN212118183U (en) | A disposable throat swab collection device | |
| CN213430236U (en) | Novel throat swab sampler | |
| CN211024334U (en) | Pediatric sputum aspirator | |
| CN203935289U (en) | Disposable use oral cavity sponge safety nursing rod | |
| CN203842158U (en) | Switchable multifunctional suction tube for oral treatment | |
| CN212186565U (en) | Nasopharynx swab device | |
| CN211433439U (en) | Multifunctional oral nursing brush | |
| CN203226803U (en) | Multifunctional mouth mirror | |
| CN211862861U (en) | Throat specimen collecting swab | |
| CN207477532U (en) | A kind of ear-nose-throat department multifunctional tweezers | |
| CN208319605U (en) | Medical negative pressure formula cleaning device | |
| CN219208281U (en) | Flushable closed negative pressure suction connecting pipe | |
| CN221600247U (en) | Anti-blocking saliva suction tube | |
| CN203564360U (en) | Disposable oral cavity cleaner | |
| CN222218322U (en) | Anti-pollution sputum aspirator tube with protective sleeve | |
| CN219398455U (en) | Oral cavity flusher for dermatology | |
| CN219249454U (en) | A nursing toothbrush and nursing cleaning device | |
| CN213283082U (en) | Sampler is used in gastroenterology nursing | |
| CN217548275U (en) | Scalable y type front and back tooth saliva aspirator | |
| CN215384408U (en) | Anal dredging device for newborn |
Legal Events
| Date | Code | Title | Description |
|---|---|---|---|
| GR01 | Patent grant | ||
| GR01 | Patent grant | ||
| TR01 | Transfer of patent right |
Effective date of registration: 20210702 Address after: 210000 No.87 dingjiaqiao, Gulou District, Nanjing, Jiangsu Province Patentee after: ZHONGDA HOSPITAL SOUTHEAST University Address before: 210000 No.87 dingjiaqiao, Hunan Road, Gulou District, Nanjing City, Jiangsu Province Patentee before: Xia Zeyan |
|
| TR01 | Transfer of patent right | ||
| CF01 | Termination of patent right due to non-payment of annual fee |
Granted publication date: 20201208 |
|
| CF01 | Termination of patent right due to non-payment of annual fee |
