CN212068215U - Building construction dust collector - Google Patents
Building construction dust collector Download PDFInfo
- Publication number
- CN212068215U CN212068215U CN202020175977.8U CN202020175977U CN212068215U CN 212068215 U CN212068215 U CN 212068215U CN 202020175977 U CN202020175977 U CN 202020175977U CN 212068215 U CN212068215 U CN 212068215U
- Authority
- CN
- China
- Prior art keywords
- dust
- base
- fixed
- water tank
- water pump
- Prior art date
- Legal status (The legal status is an assumption and is not a legal conclusion. Google has not performed a legal analysis and makes no representation as to the accuracy of the status listed.)
- Expired - Fee Related
Links
Images
Landscapes
- Water Treatment By Sorption (AREA)
Abstract
本实用新型涉及一种建筑施工除尘装置,包括底座,所述底座的底端对称固定设有万向轮,所述底座的一侧固定设有推杆,所述底座的顶端中间位置处固定设有支座,所述支座的顶端对称固定设有若干连接杆,所述连接杆的顶端固定设有支撑板,所述支撑板上贯穿转动设有转动杆,所述转动杆的下部固定套设有限位块,所述限位块的底端与所述支撑板的顶端抵触,所述转动杆的底端贯穿所述支撑板延伸至所述支撑板的下方且固定套设有齿轮一,所述转动杆的顶端固定连接有转盘,所述转盘内设有水槽,本实用新型结构简单,使用方便,可以吸附灰尘并加以处理,有效保障施工人员的的身体健康,为施工人员营造一个良好的施工环境。
The utility model relates to a dust removal device for building construction, comprising a base, the bottom end of the base is symmetrically fixed with a universal wheel, one side of the base is fixed with a push rod, and the middle position of the top of the base is fixed with There is a support, the top of the support is symmetrically fixed with a number of connecting rods, the top of the connecting rod is fixed with a support plate, the support plate is rotated through a rotating rod, and the lower part of the rotating rod is fixed with a sleeve A limit block is provided, the bottom end of the limit block is in contact with the top end of the support plate, the bottom end of the rotating rod extends through the support plate to the bottom of the support plate, and a gear 1 is fixedly sleeved, The top of the rotating rod is fixedly connected with a turntable, and the turntable is provided with a water tank. The utility model is simple in structure and convenient to use, can absorb dust and treat it, effectively protect the health of construction workers, and create a good environment for construction workers. construction environment.
Description
技术领域technical field
本实用新型涉及一种建筑施工除尘装置,属于除尘设备技术领域。The utility model relates to a dust removal device for building construction, which belongs to the technical field of dust removal equipment.
背景技术Background technique
在建筑施工的现场,常常是尘土漫天,尤其是在室内施工环境下,如果灰尘较多,势必会对施工人员的身体健康造成很大的影响,而现在一般的建筑施工现场常常缺少除尘设备,常见的有吸尘筒,但吸尘筒单独用于施工现场效果不佳。In the construction site, the sky is often full of dust, especially in the indoor construction environment, if there is a lot of dust, it will inevitably have a great impact on the health of the construction workers, and now the general construction site often lacks dust removal equipment, The common ones are vacuum cleaners, but the vacuum cleaners alone are not effective in construction sites.
为此,我们需要一种建筑施工用除尘装置,它可以吸附灰尘并加以处理,有效保障施工人员的的身体健康,为施工人员营造一个良好的施工环境。To this end, we need a dust removal device for building construction, which can absorb dust and treat it, effectively protect the health of construction workers, and create a good construction environment for construction workers.
实用新型内容Utility model content
本实用新型要解决的技术问题克服现有的缺陷,提供一种建筑施工除尘装置,本实用新型结构简单,使用方便,可以吸附灰尘并加以处理,有效保障施工人员的的身体健康,为施工人员营造一个良好的施工环境,可以有效解决背景技术中的问题。The technical problem to be solved by the utility model overcomes the existing defects, and provides a dust removal device for building construction. The utility model has a simple structure and is convenient to use, can absorb dust and treat it, effectively protect the health of the construction workers, and provide the construction workers with good health. Creating a good construction environment can effectively solve the problems in the background technology.
为了解决上述技术问题,本实用新型提供了如下的技术方案:In order to solve the above-mentioned technical problems, the utility model provides the following technical solutions:
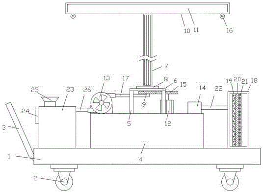
一种建筑施工除尘装置,包括底座,所述底座的底端对称固定设有万向轮,所述底座的一侧固定设有推杆,所述底座的顶端中间位置处固定设有支座,所述支座的顶端对称固定设有若干连接杆,所述连接杆的顶端固定设有支撑板,所述支撑板上贯穿转动设有转动杆,所述转动杆的下部固定套设有限位块,所述限位块的底端与所述支撑板的顶端抵触,所述转动杆的底端贯穿所述支撑板延伸至所述支撑板的下方且固定套设有齿轮一,所述转动杆的顶端固定连接有转盘,所述转盘内设有水槽,所述支座的顶端固定设有电机、水泵和吸尘风机,所述水泵位于所述底座靠近所述推杆的一侧,所述吸尘风机位于所述底座远离所述推杆的一侧,所述电机位于所述水泵和所述吸尘风机之间,所述电机的输出端固定设有齿轮二,所述齿轮一与所述齿轮二齿轮啮合。A dust removal device for building construction, comprising a base, a universal wheel is fixed symmetrically at the bottom end of the base, a push rod is fixed at one side of the base, and a support is fixed at the middle position of the top of the base, A plurality of connecting rods are fixed symmetrically at the top of the support, a support plate is fixed at the top of the connecting rod, a rotating rod is arranged to rotate through the support plate, and a limit block is fixedly sleeved on the lower part of the rotating rod , the bottom end of the limiting block is in contact with the top end of the supporting plate, the bottom end of the rotating rod extends through the supporting plate to the bottom of the supporting plate, and a gear 1 is fixedly sleeved, and the rotating rod A turntable is fixedly connected to the top of the base, a water tank is arranged in the turntable, a motor, a water pump and a dust suction fan are fixed on the top of the support, and the water pump is located on the side of the base close to the push rod. The dust suction fan is located on the side of the base away from the push rod, the motor is located between the water pump and the dust suction fan, the output end of the motor is fixed with a second gear, and the first gear is connected to the The two gears are meshed with each other.
进一步而言,所述转盘的底端阵列固定设有若干喷头,所述喷头的输入端均贯穿所述转盘延伸至所述水槽内。Further, a plurality of spray heads are fixedly arranged on the bottom end array of the turntable, and the input ends of the spray heads all extend through the turntable into the water tank.
进一步而言,所述水泵的输出端固定连接有排水管,所述排水管的另一端贯穿所述转动杆和所述转盘的底端延伸至所述水槽内,所述排水管与所述转盘转动连接。Further, a drain pipe is fixedly connected to the output end of the water pump, the other end of the drain pipe extends through the rotating rod and the bottom end of the turntable into the water tank, and the drain pipe is connected to the turntable. Turn the connection.
进一步而言,所述底座远离所述支座的一侧顶端固定设有集尘箱,所述集尘箱内固定设有过滤网层、活性炭层和栅格层,所述栅格层位于所述集尘箱远离所述吸尘风机的一侧,所述活性炭层位于所述栅格层靠近所述吸尘风机的一侧,所述过滤网层位于所述活性炭层靠近所述吸尘风机的一侧,所述集尘箱与所述吸尘风机的输出端通过吸尘管固定连接。Further, a dust collecting box is fixedly arranged at the top of the side of the base away from the support, and a filter screen layer, an activated carbon layer and a grid layer are fixed in the dust collecting box, and the grid layer is located at the The dust box is located on the side away from the vacuum fan, the activated carbon layer is located on the side of the grid layer close to the vacuum fan, and the filter layer is located on the activated carbon layer close to the vacuum fan On one side of the dust collector, the dust collecting box is fixedly connected with the output end of the dust suction fan through a dust suction pipe.
进一步而言,所述底座靠近所述推杆的一侧顶端固定设有水箱,所述水箱靠近所述推杆的一侧上部固定设有控制器,所述水箱的顶端开设有进水口,所述水泵的输入端固定连接有抽水管,所述抽水管贯穿所述水箱延伸至所述水箱内。Further, a water tank is fixed on the top of the base near the push rod, a controller is fixed on the top of the water tank near the push rod, and a water inlet is opened on the top of the water tank. The input end of the water pump is fixedly connected with a water pumping pipe, and the water pumping pipe penetrates the water tank and extends into the water tank.
进一步而言,所述电机、水泵、吸尘风机均与所述控制器的输出端电性连接。Further, the motor, the water pump and the dust suction fan are all electrically connected to the output end of the controller.
本实用新型的技术效果和优点:Technical effects and advantages of the present utility model:
1、本实用新型通过设置了转盘,在使用时,通过电机带动齿轮二转动,从而使得齿轮二带动齿轮一转动,从而使得齿轮一带动转动杆进行转动,进而使得转动杆带动转盘进行转动,此时通过水泵可以将水箱内的水液抽送至水槽内,从而通过喷头进行喷射,因为喷头均设置了一定的角度,从而使得喷头在旋转过程中可以喷射的更远,同时可以多方位的进行喷洒除尘;1. The utility model is provided with a turntable. When in use, the motor drives the second gear to rotate, so that the second gear drives the first gear to rotate, so that the first gear drives the rotating rod to rotate, and then the rotating rod drives the rotating table to rotate. At the same time, the water in the water tank can be pumped into the water tank by the water pump, so as to spray through the nozzle, because the nozzle is set at a certain angle, so that the nozzle can spray farther during the rotation process, and can spray in multiple directions. dust;
2、本实用新型通过设置了吸尘风机和集尘箱,在使用时,通过控制器控制吸尘风机工作,从而通过集尘箱将外界空气吸入至集尘箱内,此时空气通过过滤网层、活性炭层和栅格层进行过滤,从而可以有效的对外界空气进行过滤除尘;2. The utility model is provided with a dust collecting fan and a dust collecting box. When in use, the controller controls the dust collecting fan to work, so as to suck the outside air into the dust collecting box through the dust collecting box. At this time, the air passes through the filter screen. Layer, activated carbon layer and grid layer are filtered, so that the outside air can be effectively filtered and dedusted;
3、本实用新型结构简单,使用方便,可以吸附灰尘并加以处理,有效保障施工人员的的身体健康,为施工人员营造一个良好的施工环境。3. The utility model has a simple structure and is easy to use, can absorb dust and deal with it, effectively protect the health of the construction workers, and create a good construction environment for the construction workers.
附图说明Description of drawings
附图用来提供对本实用新型的进一步理解,并且构成说明书的一部分,与本实用新型的实施例一起用于解释本实用新型,并不构成对本实用新型的限制。The accompanying drawings are used to provide a further understanding of the present invention, and constitute a part of the specification, and are used to explain the present invention together with the embodiments of the present invention, and do not constitute a limitation to the present invention.
图1是本实用新型的主视图。Figure 1 is a front view of the present invention.
图2是本实用新型转盘的仰视图。Figure 2 is a bottom view of the turntable of the present invention.
图3是本实用新型连接杆和支撑板的立体示意图。Fig. 3 is a perspective view of the connecting rod and the support plate of the present invention.
图中标号:1、底座;2、万向轮;3、推杆;4、支座;5、连接杆;6、支撑板;7、转动杆;8、限位块;9、齿轮一;10、转盘;11、水槽;12、电机;13、水泵;14、吸尘风机;15、齿轮二;16、喷头;17、排水管;18、集尘箱;19、过滤网层;20、活性炭层;21、栅格层;22、吸尘管;23、水箱;24、控制器;25、进水口;26、抽水管。Labels in the figure: 1, base; 2, universal wheel; 3, push rod; 4, support; 5, connecting rod; 6, support plate; 7, rotating rod; 8, limit block; 9, gear 1; 10. Turntable; 11. Water tank; 12. Motor; 13. Water pump; 14. Vacuum fan; 15. Gear two; 16. Sprinkler; 17. Drain pipe; 18. Dust box; 19. Filter layer; 20. Activated carbon layer; 21, grid layer; 22, suction pipe; 23, water tank; 24, controller; 25, water inlet; 26, suction pipe.
具体实施方式Detailed ways
以下结合附图对本实用新型的优选实施例进行说明,应当理解,此处所描述的优选实施例仅用于说明和解释本实用新型,并不用于限定本实用新型。The preferred embodiments of the present utility model will be described below with reference to the accompanying drawings. It should be understood that the preferred embodiments described herein are only used to illustrate and explain the present utility model, but not to limit the present utility model.
如图1-图3所示,一种建筑施工除尘装置,包括底座1,底座1的底端对称固定设有万向轮2,底座1的一侧固定设有推杆3,底座1的顶端中间位置处固定设有支座4,支座4的顶端对称固定设有若干连接杆5,连接杆5的顶端固定设有支撑板6,支撑板6上贯穿转动设有转动杆7,转动杆7的下部固定套设有限位块8,限位块8的底端与支撑板6的顶端抵触,转动杆7的底端贯穿支撑板6延伸至支撑板6的下方且固定套设有齿轮一9,转动杆7的顶端固定连接有转盘10,转盘10内设有水槽11,支座4的顶端固定设有电机12、水泵13和吸尘风机14,水泵13位于底座1靠近推杆3的一侧,吸尘风机14位于底座1远离推杆3的一侧,电机12位于水泵13和吸尘风机14之间,电机12的输出端固定设有齿轮二15,齿轮一9与齿轮二15齿轮啮合。As shown in Figures 1-3, a dust removal device for construction includes a base 1, the bottom end of the base 1 is symmetrically fixed with a universal wheel 2, one side of the base 1 is fixed with a push rod 3, and the top of the base 1 is fixed with a push rod 3. A support 4 is fixed at the middle position, a plurality of connecting rods 5 are symmetrically fixed at the top of the support 4, and a support plate 6 is fixed at the top of the connecting rod 5. The lower part of the 7 is fixedly sleeved with a limit block 8, the bottom end of the limit block 8 is in contact with the top end of the support plate 6, the bottom end of the
如图1与图2所示,本实施例的转盘10的底端阵列固定设有若干喷头16,喷头16的输入端均贯穿转盘10延伸至水槽11内,水泵13的输出端固定连接有排水管17,排水管17的另一端贯穿转动杆7和转盘10的底端延伸至水槽11内,排水管17与转盘10转动连接,通过水泵13将水箱23内的水液抽送至水槽11内,从而通过喷头16向外喷射。As shown in FIG. 1 and FIG. 2 , a plurality of
如图1所示,本实施例的底座1远离支座4的一侧顶端固定设有集尘箱18,集尘箱18内固定设有过滤网层19、活性炭层20和栅格层21,栅格层21位于集尘箱18远离吸尘风机14的一侧,活性炭层20位于栅格层21靠近吸尘风机14的一侧,过滤网层19位于活性炭层20靠近吸尘风机14的一侧,集尘箱18与吸尘风机14的输出端通过吸尘管22固定连接,集尘箱18远离吸尘风机14的一侧开设有若干通孔,通过吸尘风机14工作,从而通过集尘箱18将外界空气抽进集尘箱18,并通过过滤网层19、活性炭层20和栅格层21对其进行过滤。As shown in FIG. 1 , the top end of the base 1 away from the support 4 in this embodiment is fixedly provided with a
如图1所示,本实施例的底座1靠近推杆3的一侧顶端固定设有水箱23,水箱23靠近推杆3的一侧上部固定设有控制器24,水箱23的顶端开设有进水口25,水泵13的输入端固定连接有抽水管26,抽水管26贯穿水箱23延伸至水箱23内,电机12、水泵13、吸尘风机14均与控制器24的输出端电性连接,通过控制器24可以控制电机12、水泵13、吸尘风机14的启停。As shown in FIG. 1 , in the present embodiment, a
这里说明,电机12、水泵13、吸尘风机14均为现有技术,故而涉及其它的现有技术这里不再赘述。It is explained here that the
为了方便理解本实用新型的上述技术方案,以下就本实用新型在实际过程中的工作原理或者操作方式进行详细说明。In order to facilitate the understanding of the above technical solutions of the present invention, the working principle or operation mode of the present invention in the actual process will be described in detail below.
本实用新型工作原理:在使用时,通过控制器24控制电机12带动齿轮二15转动,从而使得齿轮二15带动齿轮一9转动,从而使得齿轮一9带动转动杆7进行转动,进而使得转动杆7带动转盘10进行转动,此时通过控制器24控制水泵13可以通过抽水管26将水箱23内的水液抽出,并通过排水管17抽送至水槽11内,进而通过喷头16进行喷射,因为喷头16均设置了一定的角度,从而使得喷头16在旋转过程中可以喷射的更远,同时可以多方位的进行喷洒除尘,然后控制器24控制吸尘风机14工作,从而通过集尘箱18将外界空气吸入至集尘箱18内,此时空气通过过滤网层19、活性炭层20和栅格层21进行过滤,从而可以有效的对外界空气进行过滤除尘,本实用新型结构简单,使用方便,可以吸附灰尘并加以处理,有效保障施工人员的的身体健康,为施工人员营造一个良好的施工环境。The working principle of the utility model: when in use, the
以上为本实用新型较佳的实施方式,本实用新型所属领域的技术人员还能够对上述实施方式进行变更和修改,因此,本实用新型并不局限于上述的具体实施方式,凡是本领域技术人员在本实用新型的基础上所作的任何显而易见的改进、替换或变型均属于本实用新型的保护范围。The above are the preferred embodiments of the present invention. Those skilled in the art can also make changes and modifications to the above-mentioned embodiments. Therefore, the present invention is not limited to the above-mentioned specific embodiments. Any obvious improvement, replacement or modification made on the basis of the present invention belongs to the protection scope of the present invention.
Claims (6)
Priority Applications (1)
| Application Number | Priority Date | Filing Date | Title |
|---|---|---|---|
| CN202020175977.8U CN212068215U (en) | 2020-02-17 | 2020-02-17 | Building construction dust collector |
Applications Claiming Priority (1)
| Application Number | Priority Date | Filing Date | Title |
|---|---|---|---|
| CN202020175977.8U CN212068215U (en) | 2020-02-17 | 2020-02-17 | Building construction dust collector |
Publications (1)
| Publication Number | Publication Date |
|---|---|
| CN212068215U true CN212068215U (en) | 2020-12-04 |
Family
ID=73570071
Family Applications (1)
| Application Number | Title | Priority Date | Filing Date |
|---|---|---|---|
| CN202020175977.8U Expired - Fee Related CN212068215U (en) | 2020-02-17 | 2020-02-17 | Building construction dust collector |
Country Status (1)
| Country | Link |
|---|---|
| CN (1) | CN212068215U (en) |
Cited By (1)
| Publication number | Priority date | Publication date | Assignee | Title |
|---|---|---|---|---|
| CN113304567A (en) * | 2021-06-04 | 2021-08-27 | 中建八局第二建设有限公司 | A dust fall atomizing device for construction |
-
2020
- 2020-02-17 CN CN202020175977.8U patent/CN212068215U/en not_active Expired - Fee Related
Cited By (1)
| Publication number | Priority date | Publication date | Assignee | Title |
|---|---|---|---|---|
| CN113304567A (en) * | 2021-06-04 | 2021-08-27 | 中建八局第二建设有限公司 | A dust fall atomizing device for construction |
Similar Documents
| Publication | Publication Date | Title |
|---|---|---|
| CN216935322U (en) | Dustproof heat sink for construction | |
| CN108619818A (en) | A kind of construction site dust-extraction unit | |
| CN208320329U (en) | A kind of building engineering construction dust-extraction unit | |
| CN115628098A (en) | Dust removal equipment in coal mining | |
| CN210934244U (en) | Desktop hole drilling machine dust collection device | |
| CN210114937U (en) | Mill is with portable filtration dust collecting equipment | |
| CN212068215U (en) | Building construction dust collector | |
| CN211849194U (en) | A cleaning and dust removal equipment | |
| CN204543890U (en) | A kind of air-borne dust treatment facility of suction port position changeable | |
| CN208320333U (en) | A kind of easy building dust-extraction unit | |
| CN214063026U (en) | A coal mine ventilation device that is easy to filter dust | |
| CN218553517U (en) | Dust shaker for interior decoration | |
| CN215352656U (en) | Efficient energy-saving dust-raising-preventing device for building construction | |
| CN106110789B (en) | A kind of industrial dedusting device | |
| CN206008289U (en) | A kind of industrial dedusting device | |
| CN214634991U (en) | A dust treatment device for construction engineering | |
| CN211883639U (en) | A factory-use intelligent vacuum cleaner | |
| CN222173554U (en) | A dust removal device for wood line processing site | |
| CN219002473U (en) | Cleaning equipment for construction | |
| CN218047138U (en) | An environmentally friendly sprinkler | |
| CN204543889U (en) | A kind of air-borne dust treatment facility for medicine materical crude slice packing shop | |
| CN221697247U (en) | Wood floor cutting dust collector | |
| CN211562319U (en) | A waste gas absorption tower for industrial environmental protection | |
| CN223440671U (en) | Building construction raise dust controlling means | |
| CN212175638U (en) | Civil engineering operation cleans dust collector |
Legal Events
| Date | Code | Title | Description |
|---|---|---|---|
| GR01 | Patent grant | ||
| GR01 | Patent grant | ||
| CF01 | Termination of patent right due to non-payment of annual fee | ||
| CF01 | Termination of patent right due to non-payment of annual fee |
Granted publication date: 20201204 Termination date: 20210217 |
