CN212052951U - A water conservancy project dredging device - Google Patents
A water conservancy project dredging device Download PDFInfo
- Publication number
- CN212052951U CN212052951U CN202020523587.5U CN202020523587U CN212052951U CN 212052951 U CN212052951 U CN 212052951U CN 202020523587 U CN202020523587 U CN 202020523587U CN 212052951 U CN212052951 U CN 212052951U
- Authority
- CN
- China
- Prior art keywords
- fixedly connected
- transport pipe
- pipe
- fixed mounting
- left end
- Prior art date
- Legal status (The legal status is an assumption and is not a legal conclusion. Google has not performed a legal analysis and makes no representation as to the accuracy of the status listed.)
- Expired - Fee Related
Links
Images
Landscapes
- Treatment Of Sludge (AREA)
Abstract
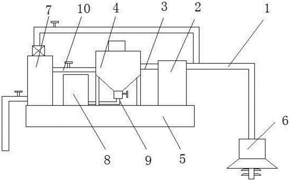
本实用新型公开了一种水利工程清淤装置,包括承载台,所述承载台上端右部固定安装有吸泥泵,所述吸泥泵右端固定连接有一号运输管,所述一号运输管下端固定连接有吸泥装置,所述吸泥泵左端固定连接有二号运输管,所述二号运输管左端固定连接有脱水装置,所述脱水装置左端中部固定连接有四号运输管,所述四号运输管左端固定连接有反冲洗装置。本实用新型所述的一种水利工程清淤装置,通过气缸带动推杆上的压板向下运动,脱去水分的污泥减少细菌的滋生,有利于环境的保护,而泥饼中脱去的水分可重新投入河道,减少了水资源的浪费;而粉碎刀片和过滤网可减少清淤装置堵塞概率;抽水泵和冲洗管可对吸泥装置进行清洗和维修,减少维修成本。
The utility model discloses a dredging device for water conservancy projects, which comprises a bearing platform, a suction mud pump is fixedly installed on the right part of the upper end of the bearing platform, and a No. The lower end is fixedly connected with a mud suction device, the left end of the mud suction pump is fixedly connected with the No. 2 transport pipe, the left end of the No. 2 transport pipe is fixed with a dewatering device, and the middle of the left end of the dewatering device is fixed with a No. 4 transport pipe, so The left end of the No. 4 transport pipe is fixedly connected with a backwashing device. In the dredging device for water conservancy projects described in the utility model, the pressure plate on the push rod is driven to move downward by the cylinder, and the sludge dehydrated reduces the growth of bacteria, which is beneficial to the protection of the environment. Water can be re-entered into the river, reducing the waste of water resources; crushing blades and filters can reduce the probability of blockage of the dredging device; suction pumps and flushing pipes can clean and maintain the suction device, reducing maintenance costs.
Description
技术领域technical field
本实用新型涉及水利工程技术领域,特别涉及一种水利工程清淤装置。The utility model relates to the technical field of hydraulic engineering, in particular to a dredging device for hydraulic engineering.
背景技术Background technique
水利工程是为了控制、利用和保护地表及地下的水资源与环境而修建的各项工程建设的总称,众所周知在水利工程中水下清淤工作极为重要,若长期不对排水渠进行清淤,可能会导致淤泥沉积,可能会导致水利工程瘫痪,一旦发生汛情则会引发严重的后果。在现有清淤装置的清淤过程中极易对淤头进行堵塞,导致清淤工作不能顺利进行,使得维修成本提高;且在现有的清淤装置中不能对淤泥进行有效处理,使得清理的淤泥含有大量水资源造成了水资源的浪费。Water conservancy project is a general term for various engineering constructions built to control, utilize and protect surface and underground water resources and the environment. It is well known that underwater dredging work is extremely important in water conservancy projects. If the drainage channel is not dredged for a long time, it may be It will lead to the deposition of silt, which may lead to the paralysis of water conservancy projects. Once a flood occurs, it will cause serious consequences. During the dredging process of the existing dredging device, it is very easy to block the silt head, which leads to the failure of the dredging work and increases the maintenance cost; and the existing dredging device cannot effectively treat the sludge, which makes the cleaning process difficult. The silt contains a lot of water resources, resulting in a waste of water resources.
实用新型内容Utility model content
本实用新型的主要目的在于提供一种水利工程清淤装置,可以有效解决背景技术中的问题。The main purpose of the utility model is to provide a silt removal device for water conservancy projects, which can effectively solve the problems in the background technology.
为实现上述目的,本实用新型采取的技术方案为:To achieve the above purpose, the technical scheme adopted by the present utility model is:
一种水利工程清淤装置,包括承载台,所述承载台上端右部固定安装有吸泥泵,所述吸泥泵右端固定连接有一号运输管,所述一号运输管下端固定连接有吸泥装置,所述吸泥泵左端固定连接有二号运输管,所述二号运输管左端固定连接有脱水装置,所述脱水装置下端固定连接有三号运输管,所述三号运输管左端固定连接有储泥箱,所述脱水装置左端中部固定连接有四号运输管,所述四号运输管左端固定连接有反冲洗装置,所述反冲洗装置右端与一号运输管左部固定连接,所述反冲洗装置、脱水装置和储泥箱下端均与承载台上端固定连接。A dredging device for water conservancy projects, comprising a carrying platform, a suction mud pump is fixedly installed on the right part of the upper end of the carrying platform, a No. 1 transport pipe is fixedly connected to the right end of the No. mud device, the left end of the mud suction pump is fixedly connected with the No. 2 transport pipe, the left end of the No. 2 transport pipe is fixedly connected with a dewatering device, the lower end of the dewatering device is fixedly connected with a No. 3 transport pipe, and the left end of the No. 3 transport pipe is fixed A mud storage tank is connected, the middle part of the left end of the dehydration device is fixedly connected with a No. 4 transport pipe, the left end of the No. 4 transport pipe is fixedly connected with a backwashing device, and the right end of the backwashing device is fixedly connected with the left part of the No. 1 transport pipe, The backwashing device, the dehydrating device and the lower end of the mud storage box are all fixedly connected with the upper end of the carrying platform.
优选的,所述吸泥装置包括抽淤头,所述抽淤头下端固定连接有抽淤罩,且抽淤罩呈喇叭状,所述抽淤罩上端固定安装有安装板,且安装板外部开有若干通孔,所述抽淤头中部固定安装有过滤网。Preferably, the mud suction device includes a silt suction head, a silt suction hood is fixedly connected to the lower end of the silt suction head, and the silt suction hood is in the shape of a horn, and a mounting plate is fixedly installed on the upper end of the silt suction hood, and the outside of the installation plate is A number of through holes are opened, and a filter screen is fixedly installed in the middle of the sludge extraction head.
优选的,所述安装板上端中部固定安装有电机,所述电机输出端固定连接有转轴,且转轴上端贯穿安装板中部,所述转轴外表面固定安装有若干粉碎刀片。Preferably, a motor is fixedly installed in the middle of the upper end of the mounting plate, a rotating shaft is fixedly connected to the output end of the motor, and the upper end of the rotating shaft penetrates the middle of the mounting plate, and a plurality of pulverizing blades are fixedly installed on the outer surface of the rotating shaft.
优选的,所述反冲洗装置包括集水箱,所述集水箱上端固定安装有抽水泵,所述抽水泵输出端固定连接有冲洗管,所述集水箱左端下部固定连接有排水管,所述排水管和冲洗管上均固定安装有二号阀门。Preferably, the backwashing device includes a water collecting tank, a suction pump is fixedly installed on the upper end of the water collecting tank, a flushing pipe is fixedly connected to the output end of the suction pump, and a drain pipe is fixedly connected to the lower part of the left end of the water collecting tank. The No. 2 valve is fixedly installed on the pipe and the flushing pipe.
优选的,所述脱水装置包括沉淀箱,所述沉淀箱下端中部固定安装有排泥管,所述排泥管上固定安装有一号阀门,所述沉淀箱下端左侧和下端右侧均固定安装有支撑脚,所述沉淀箱上端中部固定安装有气缸,所述气缸输出端固定连接有推杆,且推杆上端贯穿沉淀箱上端壁,所述推杆下端固定连接有压板,且压板直径大小与排泥管管径大小相等。Preferably, the dehydration device includes a sedimentation tank, a sludge discharge pipe is fixedly installed in the middle of the lower end of the sedimentation tank, a No. 1 valve is fixedly installed on the sludge discharge pipe, and both the left side and the right side of the lower end of the sedimentation tank are fixedly installed There are support feet, a cylinder is fixedly installed in the middle of the upper end of the sedimentation box, a push rod is fixedly connected to the output end of the cylinder, and the upper end of the push rod penetrates the upper end wall of the sedimentation box, and the lower end of the push rod is fixedly connected with a pressure plate, and the diameter of the pressure plate is large It is equal to the diameter of the sludge discharge pipe.
与现有技术相比,本实用新型具有如下有益效果:Compared with the prior art, the utility model has the following beneficial effects:
(1)本实用新型中,通过气缸带动推杆上的压板向下运动,从而对沉淀箱下端的淤泥进行挤压,此时淤泥中的水分被压板挤出,经过脱水加工的泥饼存储于储泥箱内完成脱水操作,脱去水分的污泥减少了细菌的滋生,有利于对环境的保护,而泥饼中脱去的水分可重新投入河道,减少了水资源的浪费。(1) In the present utility model, the pressure plate on the push rod is driven to move downward by the cylinder, thereby squeezing the sludge at the lower end of the sedimentation tank. At this time, the water in the sludge is squeezed out by the pressure plate, and the dehydrated mud cake is stored in the The dehydration operation is completed in the mud storage tank, and the dehydrated sludge reduces the breeding of bacteria, which is beneficial to the protection of the environment, and the dehydrated water in the mud cake can be re-entered into the river, reducing the waste of water resources.
(2)本实用新型中,通过粉碎刀片和过滤网可对淤泥中的大颗粒物进行粉碎过滤,减少清淤装置堵塞概率;而当吸泥装置发生堵塞时,可通过开启抽水泵和冲洗管,对吸泥装置进行冲洗操作,从而便于对吸泥装置进行清洗和维修,减少维修成本。(2) In this utility model, the large particles in the sludge can be crushed and filtered by the crushing blade and the filter screen, so as to reduce the probability of blockage of the dredging device; Flush the mud suction device to facilitate cleaning and maintenance of the mud suction device and reduce maintenance costs.
附图说明Description of drawings
图1为本实用新型一种水利工程清淤装置的整体结构示意图;1 is a schematic diagram of the overall structure of a water conservancy project dredging device of the present utility model;
图2为本实用新型一种水利工程清淤装置的吸泥装置的内部结构示意图;Figure 2 is a schematic diagram of the internal structure of a mud suction device of a water conservancy project dredging device of the present invention;
图3为本实用新型一种水利工程清淤装置的反冲洗装置的结构示意图;3 is a schematic structural diagram of a backwash device of a water conservancy project dredging device of the present invention;
图4为本实用新型一种水利工程清淤装置的脱水装置的内部结构示意图。4 is a schematic diagram of the internal structure of a dehydration device of a water conservancy project dredging device of the present invention.
图中:1、一号运输管;2、吸泥泵;3、二号运输管;4、脱水装置;5、承载台;6、吸泥装置;7、反冲洗装置;8、储泥箱;9、三号运输管;10、四号运输管;41、沉淀箱;42、气缸;43、推杆;44、压板;45、排泥管;46、支撑脚;47、一号阀门;61、抽淤头;62、过滤网;63、电机;64、通孔;65、转轴;66、粉碎刀片;67、安装板;68、抽淤罩;71、二号阀门;72、冲洗管;73、集水箱;74、抽水泵;75、排水管。In the figure: 1. No. 1 transportation pipe; 2. Sludge pump; 3. No. 2 transportation pipe; 4. Dewatering device; 5. Loading platform; 6. Sludge suction device; 7. Backwashing device; ;9, No. 3 transport pipe; 10, No. 4 transport pipe; 41, sedimentation tank; 42, cylinder; 43, push rod; 44, pressure plate; 45, mud discharge pipe; 46, support foot; 47, No. 1 valve; 61. Silt extraction head; 62. Filter screen; 63. Motor; 64. Through hole; ; 73, water collection tank; 74, water pump; 75, drain pipe.
具体实施方式Detailed ways
为使本实用新型实现的技术手段、创作特征、达成目的与功效易于明白了解,下面结合具体实施方式,进一步阐述本实用新型。In order to make the technical means, creation features, achievement goals and effects of the present invention easy to understand and understand, the present invention will be further described below with reference to the specific embodiments.
在本实用新型的描述中,需要说明的是,术语“上”、“下”、“内”、“外”“前端”、“后端”、“两端”、“一端”、“另一端”等指示的方位或位置关系为基于附图所示的方位或位置关系,仅是为了便于描述本实用新型和简化描述,而不是指示或暗示所指的装置或元件必须具有特定的方位、以特定的方位构造和操作,因此不能理解为对本实用新型的限制。此外,术语“第一”、“第二”仅用于描述目的,而不能理解为指示或暗示相对重要性。In the description of the present invention, it should be noted that the terms "upper", "lower", "inner", "outer", "front end", "rear end", "two ends", "one end", "the other end" The orientation or positional relationship indicated by "" etc. is based on the orientation or positional relationship shown in the accompanying drawings, and is only for the convenience of describing the present invention and simplifying the description, rather than indicating or implying that the indicated device or element must have a specific orientation, so as to The specific orientation configuration and operation is therefore not to be construed as a limitation of the present invention. Furthermore, the terms "first" and "second" are used for descriptive purposes only and should not be construed to indicate or imply relative importance.
在本实用新型的描述中,需要说明的是,除非另有明确的规定和限定,术语“安装”、“设置有”、“连接”等,应做广义理解,例如“连接”,可以是固定连接,也可以是可拆卸连接,或一体地连接;可以是机械连接,也可以是电连接;可以是直接相连,也可以通过中间媒介间接相连,可以是两个元件内部的连通。对于本领域的普通技术人员而言,可以具体情况理解上述术语在本实用新型中的具体含义。In the description of the present utility model, it should be noted that, unless otherwise expressly specified and limited, the terms "installed", "provided with", "connected", etc., should be understood in a broad sense, for example, "connected" may be a fixed The connection can also be a detachable connection, or an integral connection; it can be a mechanical connection or an electrical connection; it can be a direct connection, or an indirect connection through an intermediate medium, and it can be internal communication between two components. For those of ordinary skill in the art, the specific meanings of the above terms in the present invention can be understood in specific situations.
如图1-4所示,一种水利工程清淤装置,包括承载台5,承载台5上端右部固定安装有吸泥泵2,吸泥泵2右端固定连接有一号运输管1,一号运输管1下端固定连接有吸泥装置6,吸泥泵2左端固定连接有二号运输管3,二号运输管3左端固定连接有脱水装置4,脱水装置4下端固定连接有三号运输管9,三号运输管9左端固定连接有储泥箱8,脱水装置4左端中部固定连接有四号运输管10,四号运输管10左端固定连接有反冲洗装置7,反冲洗装置7右端与一号运输管1左部固定连接,反冲洗装置7、脱水装置4和储泥箱8下端均与承载台5上端固定连接。As shown in Figure 1-4, a dredging device for water conservancy projects includes a
进一步的,吸泥装置6包括抽淤头61,抽淤头61下端固定连接有抽淤罩68,且抽淤罩68呈喇叭状,抽淤罩68呈喇叭状可提高清淤的范围,从而提高清淤效率,抽淤罩68上端固定安装有安装板67,且安装板67外部开有若干通孔64,抽淤头61中部固定安装有过滤网62。Further, the
进一步的,为了避免吸泥泵2发生堵塞,安装板67上端中部固定安装有电机63,电机63输出端固定连接有转轴65,且转轴65上端贯穿安装板67中部,转轴65外表面固定安装有若干粉碎刀片66,粉碎刀片66可对淤泥进行初步粉碎,从而提高清淤能力。Further, in order to prevent the
进一步的,反冲洗装置7包括集水箱73,集水箱73上端固定安装有抽水泵74,抽水泵74输出端固定连接有冲洗管72,冲洗管72与一号运输管1连接,可对吸泥装置6进行冲洗,从而便于清洗,集水箱73左端下部固定连接有排水管75,排水管75和冲洗管72上均固定安装有二号阀门71。Further, the
进一步的,为了便于对淤泥进行清理,脱水装置4包括沉淀箱41,沉淀箱41下端中部固定安装有排泥管45,排泥管45上固定安装有一号阀门47,沉淀箱41下端左侧和下端右侧均固定安装有支撑脚46,沉淀箱41上端中部固定安装有气缸42,气缸42输出端固定连接有推杆43,且推杆43上端贯穿沉淀箱41上端壁,推杆43下端固定连接有压板44,气缸42带动推杆43上的压板44向下运动,从而对沉淀箱41下端的淤泥进行挤压,此时淤泥中的水分内压板44挤出,且压板44直径大小与排泥管45管径大小相等。Further, in order to facilitate the cleaning of the sludge, the
需要说明的是,本实用新型为一种水利工程清淤装置,当需要对河道进行清理时,首先将吸泥装置6至于河道底部,然后开启吸泥泵2和电机63工作,此时电机63将河底的淤泥进行粉碎,避免淤泥中的大颗粒物对抽淤头61造成堵塞,然后粉碎的污泥在吸泥泵2的作用下经过抽淤头61内的过滤网62过滤,并通过一号运输管1运输至沉淀箱41内,经过一段时间的过滤此时工作人员开启气缸42工作,气缸42带动推杆43上的压板44向下运动,从而对沉淀箱41下端的淤泥进行挤压,此时淤泥中的水分被压板44挤出,淤泥形成泥饼并压入排泥管45内,经过脱水加工的泥饼存储于储泥箱8内,而沉淀箱41内经过沉淀处理的清液通过四号运输管10进入集水箱73内部,待集水箱73内水达到一定量时,可通过打开排水管75上的二号阀门71将过滤的水重新排入河道,大大改善了水库环境和放水渠道;当吸泥装置6发生堵塞时,可通过开启抽水泵74和冲洗管72上的二号阀门71,将集水箱73内的清水用于冲洗吸泥装置6,从而便于对吸泥装置6进行清洗和维修,减少维修成本。It should be noted that the utility model is a dredging device for water conservancy projects. When the river channel needs to be cleaned, the
以上显示和描述了本实用新型的基本原理和主要特征和本实用新型的优点。本行业的技术人员应该了解,本实用新型不受上述实施例的限制,上述实施例和说明书中描述的只是说明本实用新型的原理,在不脱离本实用新型精神和范围的前提下,本实用新型还会有各种变化和改进,这些变化和改进都落入要求保护的本实用新型范围内。本实用新型要求保护范围由所附的权利要求书及其等效物界定。The basic principles and main features of the present invention and the advantages of the present invention are shown and described above. It should be understood by those skilled in the art that the present invention is not limited by the above-mentioned embodiments. The above-mentioned embodiments and descriptions only illustrate the principle of the present invention. Without departing from the spirit and scope of the present invention, the present invention There will also be various changes and improvements in the new model, which all fall within the scope of the claimed invention. The claimed scope of the present invention is defined by the appended claims and their equivalents.
Claims (5)
Priority Applications (1)
| Application Number | Priority Date | Filing Date | Title |
|---|---|---|---|
| CN202020523587.5U CN212052951U (en) | 2020-04-11 | 2020-04-11 | A water conservancy project dredging device |
Applications Claiming Priority (1)
| Application Number | Priority Date | Filing Date | Title |
|---|---|---|---|
| CN202020523587.5U CN212052951U (en) | 2020-04-11 | 2020-04-11 | A water conservancy project dredging device |
Publications (1)
| Publication Number | Publication Date |
|---|---|
| CN212052951U true CN212052951U (en) | 2020-12-01 |
Family
ID=73523176
Family Applications (1)
| Application Number | Title | Priority Date | Filing Date |
|---|---|---|---|
| CN202020523587.5U Expired - Fee Related CN212052951U (en) | 2020-04-11 | 2020-04-11 | A water conservancy project dredging device |
Country Status (1)
| Country | Link |
|---|---|
| CN (1) | CN212052951U (en) |
Cited By (2)
| Publication number | Priority date | Publication date | Assignee | Title |
|---|---|---|---|---|
| CN113023963A (en) * | 2021-05-10 | 2021-06-25 | 吴银山 | A ecological prosthetic devices in river course for compound river course wetland system |
| CN114351783A (en) * | 2022-01-21 | 2022-04-15 | 冉宝杰 | Water conservancy engineering device for dredging river channel by environment innocent treatment |
-
2020
- 2020-04-11 CN CN202020523587.5U patent/CN212052951U/en not_active Expired - Fee Related
Cited By (2)
| Publication number | Priority date | Publication date | Assignee | Title |
|---|---|---|---|---|
| CN113023963A (en) * | 2021-05-10 | 2021-06-25 | 吴银山 | A ecological prosthetic devices in river course for compound river course wetland system |
| CN114351783A (en) * | 2022-01-21 | 2022-04-15 | 冉宝杰 | Water conservancy engineering device for dredging river channel by environment innocent treatment |
Similar Documents
| Publication | Publication Date | Title |
|---|---|---|
| CN111188375B (en) | Hydraulic engineering river channel dredging device and method | |
| CN212052951U (en) | A water conservancy project dredging device | |
| CN110104927A (en) | A kind of river sludge multistage recycling and processing device | |
| CN111576607A (en) | Dredging system for sewer | |
| CN211585379U (en) | Bored concrete pile waste mud filter-pressing solid-liquid separation circulation system | |
| CN210562373U (en) | River course ecological remediation sediment removal device for hydraulic engineering | |
| CN220550578U (en) | Drainage device for foundation pit excavation | |
| CN218374134U (en) | Sludge cleaning equipment | |
| CN219060099U (en) | A deep foundation pit dewatering construction device | |
| CN217027259U (en) | High-efficient sediment removal device is used in water conservancy construction | |
| CN112900523B (en) | A kind of river channel silt cleaning equipment for water conservancy projects | |
| CN117587762A (en) | Assembled culvert gate for hydraulic engineering | |
| CN212770394U (en) | Novel silt separation processing device | |
| CN219885888U (en) | Silt cleaning equipment | |
| CN221072796U (en) | Hydraulic engineering dredging device | |
| CN219386215U (en) | Gate for water supply and drainage engineering | |
| CN217679592U (en) | Environment-friendly municipal drainage recycling device | |
| CN222907747U (en) | Ditch sludge treatment recovery device | |
| CN221741516U (en) | An integrated pump station anti-siltation device | |
| CN221321171U (en) | Portable drainage device | |
| CN220117419U (en) | Sewage lifting and discharging device | |
| CN217204355U (en) | Desilting Device for Water Conservancy Construction to Improve Drought Resistance and Drainage Efficiency | |
| CN218346221U (en) | Waterproof drainage device of hydraulic engineering construction | |
| CN220015621U (en) | Anti-blocking sewage pump | |
| CN220725234U (en) | Ditch dredging device for water conservancy and hydropower construction |
Legal Events
| Date | Code | Title | Description |
|---|---|---|---|
| GR01 | Patent grant | ||
| GR01 | Patent grant | ||
| CF01 | Termination of patent right due to non-payment of annual fee | ||
| CF01 | Termination of patent right due to non-payment of annual fee |
Granted publication date: 20201201 |
