CN211990446U - A heat dissipation device for a double-rotor spinning machine - Google Patents
A heat dissipation device for a double-rotor spinning machine Download PDFInfo
- Publication number
- CN211990446U CN211990446U CN202020338129.4U CN202020338129U CN211990446U CN 211990446 U CN211990446 U CN 211990446U CN 202020338129 U CN202020338129 U CN 202020338129U CN 211990446 U CN211990446 U CN 211990446U
- Authority
- CN
- China
- Prior art keywords
- fixedly connected
- workpiece
- connecting rod
- mounting
- heat dissipation
- Prior art date
- Legal status (The legal status is an assumption and is not a legal conclusion. Google has not performed a legal analysis and makes no representation as to the accuracy of the status listed.)
- Expired - Fee Related
Links
Images
Landscapes
- Forging (AREA)
Abstract
本实用新型公开了一种双旋轮旋压机散热装置,包括基台,所述基台的顶部固定连接有驱动电机和安装块,所述驱动电机的输出端固定连接有传动杆,所述安装块的侧面转动连接有第一液压杆,所述第一液压杆的输出端固定连接有与传动杆水平位置对应的连接杆,所述传动杆和连接杆之间设有工件。本实用新型,通过散热机构之间的配合工作,转动的驱动电机带动工件转动的同时带动了扇叶的转动,使扇叶对工件进行及时的散热,有效的避免了中心轮与工件一直摩擦,热量在工件上传导,使工件除了加工位置也一直处于发热状态的情况,大大提升了最终的成型效果,进一步的加速了发热状态下工件的冷却,提升了工作效率。
The utility model discloses a heat dissipation device for a double-rotor spinning machine, which comprises a base, a driving motor and a mounting block are fixedly connected to the top of the base, and a transmission rod is fixedly connected to the output end of the driving motor. A first hydraulic rod is rotatably connected to the side of the mounting block, an output end of the first hydraulic rod is fixedly connected with a connecting rod corresponding to the horizontal position of the transmission rod, and a workpiece is arranged between the transmission rod and the connecting rod. In the utility model, through the cooperation between the heat dissipation mechanisms, the rotating drive motor drives the workpiece to rotate while driving the rotation of the fan blade, so that the fan blade can dissipate heat to the workpiece in time, effectively avoiding the constant friction between the center wheel and the workpiece. The heat is conducted on the workpiece, so that the workpiece is always in a heating state in addition to the processing position, which greatly improves the final forming effect, further accelerates the cooling of the workpiece in the heating state, and improves the work efficiency.
Description
技术领域technical field
本实用新型涉及旋压机技术领域,尤其涉及一种双旋轮旋压机散热装置。The utility model relates to the technical field of spinning machines, in particular to a heat dissipation device for a double-wheel spinning machine.
背景技术Background technique
旋压机属于金属塑性成型机械,新型旋压机实现了自动加工和控制,为多功能、通用型设备,精度和可靠性高,并具有CAD绘图编程功能、芯模拷贝功能及录返功能。The spinning machine is a metal plastic forming machine. The new spinning machine realizes automatic processing and control. It is a multi-functional and general-purpose equipment with high precision and reliability.
通过旋压机工作对工件进行挤压打磨塑形,旋压机旋转塑形时,由于中心轮与工件一直摩擦,热量在工件上传导,使工件除了加工位置也一直处于发热状态,影响工件的整体成型,此外现有的中心轮是固定在旋压机上,不同大小的工件无法做到及时处理,为此,提出一种一种双旋轮旋压机散热装置。The workpiece is extruded, polished and shaped by the spinning machine. When the spinning machine is rotated and shaped, the heat is conducted on the workpiece due to the constant friction between the center wheel and the workpiece, so that the workpiece is always in a state of heat in addition to the processing position, which affects the workpiece. In addition, the existing center wheel is fixed on the spinning machine, and workpieces of different sizes cannot be processed in time. Therefore, a heat dissipation device for a double-wheel spinning machine is proposed.
实用新型内容Utility model content
本实用新型的目的是为了解决现有技术中工件除了加工位置也一直处于发热状态,影响工件的整体成型的缺点,而提出的一种双旋轮旋压机散热装置,使扇叶对工件进行及时的散热,提升了最终的成型效果。The purpose of this utility model is to solve the disadvantage that the workpiece in the prior art is always in a heating state except for the processing position, which affects the overall molding of the workpiece. Timely heat dissipation improves the final molding effect.
为了实现上述目的,本实用新型采用了如下技术方案:In order to achieve the above-mentioned purpose, the utility model adopts the following technical solutions:
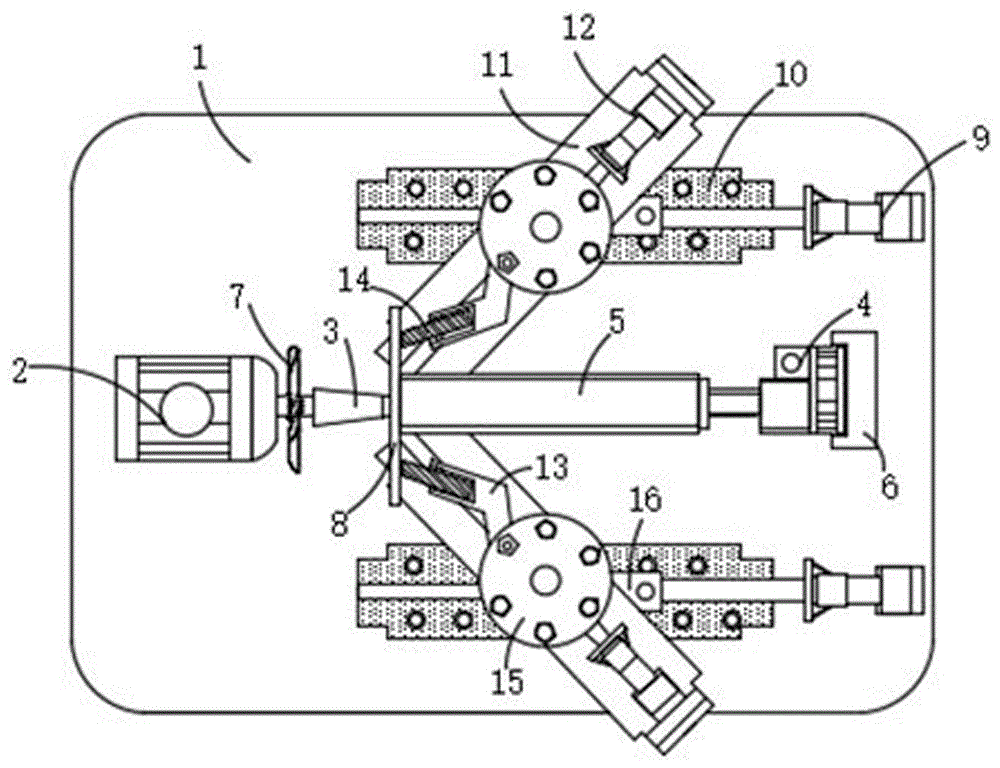
一种双旋轮旋压机散热装置,包括基台,所述基台的顶部固定连接有驱动电机和安装块,所述驱动电机的输出端固定连接有传动杆,所述安装块的侧面转动连接有第一液压杆,所述第一液压杆的输出端固定连接有与传动杆水平位置对应的连接杆,所述传动杆和连接杆之间设有工件,所述基台的顶部设有两个第一调节机构,所述第一调节机构上连接有第二调节机构和安装机构,所述驱动电机上连接有散热机构。A heat dissipation device for a double-rotor spinning machine, comprising a base, the top of the base is fixedly connected with a driving motor and a mounting block, the output end of the driving motor is fixedly connected with a transmission rod, and the side of the mounting block rotates A first hydraulic rod is connected, the output end of the first hydraulic rod is fixedly connected with a connecting rod corresponding to the horizontal position of the transmission rod, a workpiece is arranged between the transmission rod and the connecting rod, and the top of the base is provided with Two first adjustment mechanisms, the first adjustment mechanism is connected with a second adjustment mechanism and an installation mechanism, and the drive motor is connected with a heat dissipation mechanism.
优选地,所述第一调节机构包括固定连接在基台顶部的第二液压杆和第一导块,所述第一导块上开设有第一滑动口,所述第一滑动口的内侧壁滑动连接有安装凸块,所述安装凸块的顶部固定连接有第二导块,所述第二液压杆的输出端与第二导块的侧面固定连接。Preferably, the first adjustment mechanism includes a second hydraulic rod and a first guide block fixedly connected to the top of the base, the first guide block is provided with a first sliding port, and the inner side wall of the first sliding port An installation bump is slidably connected, the top of the installation bump is fixedly connected with a second guide block, and the output end of the second hydraulic rod is fixedly connected with the side surface of the second guide block.
优选地,所述第二调节机构包括开设在第二导块上的第二滑动口,所述第二滑动口的内侧壁滑动连接有安装盘,所述第二导块顶部的侧面固定连接有第三液压杆,所述第三液压杆的输出端与安装盘的侧面固定连。Preferably, the second adjustment mechanism includes a second sliding port opened on the second guide block, the inner side wall of the second sliding port is slidably connected with a mounting plate, and the side surface of the top of the second guide block is fixedly connected with a mounting plate. The third hydraulic rod, the output end of the third hydraulic rod is fixedly connected with the side surface of the mounting plate.
优选地,所述安装机构包括开设在安装盘侧面的安装口,所述安装口的内侧壁插设有连杆,所述安装口上螺纹插设有安装螺栓,所述安装螺栓贯穿连杆的内部并与连杆螺纹连接,所述安装螺栓的顶部转动连接有转动块,所述转动块通过连接绳与安装盘连接,所述连杆的侧面固定连接有中心轮,所述中心轮与工件的侧面抵压接触。Preferably, the installation mechanism includes an installation port opened on the side of the installation plate, a connecting rod is inserted into the inner side wall of the installation port, and a mounting bolt is threaded on the installation port, and the installation bolt penetrates the interior of the connecting rod It is threadedly connected with the connecting rod. The top of the mounting bolt is rotatably connected with a rotating block. The rotating block is connected with the mounting plate through a connecting rope. The side of the connecting rod is fixedly connected with a center wheel. The center wheel is connected to the workpiece. Side press contact.
优选地,两个所述第二导块相对倾斜设置。Preferably, the two second guide blocks are arranged obliquely relative to each other.
优选地,所述散热机构包括固定连接在驱动电机输出端上的多个扇叶,所述扇叶位于工件的侧面。Preferably, the heat dissipation mechanism includes a plurality of fan blades fixedly connected to the output end of the drive motor, and the fan blades are located on the side of the workpiece.
相比现有技术,本实用新型的有益效果为:Compared with the prior art, the beneficial effects of the present utility model are:
1、通过散热机构之间的配合工作,转动的驱动电机带动工件转动的同时带动了扇叶的转动,使扇叶对工件进行及时的散热,有效的避免了中心轮与工件一直摩擦,热量在工件上传导,使工件除了加工位置也一直处于发热状态的情况,大大提升了最终的成型效果,进一步的加速了发热状态下工件的冷却,提升了工作效率。1. Through the cooperation between the heat dissipation mechanisms, the rotating drive motor drives the workpiece to rotate and also drives the rotation of the fan blades, so that the fan blades can dissipate heat to the workpiece in time, effectively avoiding the friction between the center wheel and the workpiece. The conduction on the workpiece keeps the workpiece in a hot state in addition to the processing position, which greatly improves the final forming effect, further accelerates the cooling of the workpiece under the heating state, and improves the work efficiency.
2、通过安装机构之间的配合工作,使安装螺栓从连杆上螺纹拧开,这样可随时的更换始终摩擦的连杆,保证连杆上的中心轮对工件的抵压处于最佳效果,快速简单的更换连杆有效的提升了工作的效率。2. Through the cooperation between the installation mechanisms, the installation bolts are unscrewed from the connecting rod, so that the connecting rod that always rubs can be replaced at any time, so as to ensure that the center wheel on the connecting rod has the best effect on the workpiece. The quick and easy replacement of connecting rods effectively improves work efficiency.
附图说明Description of drawings
图1为本实用新型提出的一种双旋轮旋压机散热装置的结构示意图;Fig. 1 is the structural representation of a kind of double-rotor spinning machine cooling device proposed by the utility model;
图2为本实用新型提出的一种双旋轮旋压机散热装置第二导块的结构示意图;Figure 2 is a schematic structural diagram of a second guide block of a heat dissipation device for a double-wheel spinning machine proposed by the utility model;
图3为图2中A处的放大图。FIG. 3 is an enlarged view of A in FIG. 2 .
图中:1基台、2驱动电机、3传动杆、4第一液压杆、5连接杆、6安装块、7扇叶、8工件、9第二液压杆、10第一导块、11第二导块、12第三液压杆、13连杆、14中心轮、15安装盘、16安装凸块、17连接绳、18转动块、19安装螺栓。In the picture: 1 base, 2 drive motor, 3 transmission rod, 4 first hydraulic rod, 5 connecting rod, 6 mounting block, 7 fan blades, 8 workpiece, 9 second hydraulic rod, 10 first guide block, 11 first Two guide blocks, 12 third hydraulic rods, 13 connecting rods, 14 center wheels, 15 mounting plates, 16 mounting bumps, 17 connecting ropes, 18 rotating blocks, 19 mounting bolts.
具体实施方式Detailed ways
下面将结合本实用新型实施例中的附图,对本实用新型实施例中的技术方案进行清楚、完整地描述,显然,所描述的实施例仅仅是本实用新型一部分实施例,而不是全部的实施例。The technical solutions in the embodiments of the present utility model will be clearly and completely described below with reference to the accompanying drawings in the embodiments of the present utility model. Obviously, the described embodiments are only a part of the embodiments of the present utility model, rather than all the implementations. example.
参照图1-3,一种双旋轮旋压机散热装置,包括基台1,基台1的顶部固定连接有驱动电机2和安装块6,驱动电机2的输出端固定连接有传动杆3,安装块6的侧面转动连接有第一液压杆4,第一液压杆4的输出端固定连接有与传动杆3水平位置对应的连接杆5,传动杆3和连接杆5之间设有工件8,基台1的顶部设有两个第一调节机构,第一调节机构包括固定连接在基台1顶部的第二液压杆9和第一导块10,第一导块10上开设有第一滑动口,第一滑动口的内侧壁滑动连接有安装凸块16,安装凸块16的顶部固定连接有第二导块11,第二液压杆9的输出端与第二导块11的侧面固定连接,通过第一调节机构和第二调节机构之间的配合工作,实现了中心轮14在第一滑动口和第二滑动口的轨迹上运动,从而两个中心轮14对转动的工件8进行旋压,实现了对工件8的加工。1-3, a heat dissipation device of a double-rotor spinning machine includes a
第一调节机构上连接有第二调节机构和安装机构,第二调节机构包括开设在第二导块11上的第二滑动口,第二滑动口的内侧壁滑动连接有安装盘15,第二导块11顶部的侧面固定连接有第三液压杆12,第三液压杆12的输出端与安装盘15的侧面固定连接,安装机构包括开设在安装盘15侧面的安装口,安装口的内侧壁插设有连杆13,安装口上螺纹插设有安装螺栓19,安装螺栓19贯穿连杆13的内部并与连杆13螺纹连接,安装螺栓19的顶部转动连接有转动块18,转动块18通过连接绳17与安装盘15连接,连杆13的侧面固定连接有中心轮14,中心轮14与工件8的侧面抵压接触,两个第二导块11相对倾斜设置,通过安装机构之间的配合工作,使安装螺栓19从连杆13上螺纹拧开,这样可随时的更换始终摩擦的连杆13,保证连杆13上的中心轮14对工件8的抵压处于最佳效果,快速简单的更换连杆13有效的提升了工作的效率。The first adjustment mechanism is connected with a second adjustment mechanism and an installation mechanism. The second adjustment mechanism includes a second sliding port opened on the
驱动电机2上连接有散热机构,散热机构包括固定连接在驱动电机2输出端上的多个扇叶7,扇叶7位于工件8的侧面,通过散热机构之间的配合工作,转动的驱动电机2带动工件8转动的同时带动了扇叶7的转动,使扇叶7对工件8进行及时的散热,有效的避免了中心轮14与工件8一直摩擦,热量在工件8上传导,使工件8除了加工位置也一直处于发热状态的情况,大大提升了最终的成型效果,进一步的加速了发热状态下工件8的冷却,提升了工作效率。The
本实用新型中,将工件8放置到连接杆5和传动杆3之间,驱动第一液压杆4使第一液压杆4的输出端挤压连接杆5带动连接杆5和传动杆3对工件8进行抵紧,然后打开驱动电机2电源的开关,使驱动电机2的输出端带动传动杆3转动,相应的连接杆5带动第一液压杆4在安装块6上转动,使工件8转动。In the present invention, the workpiece 8 is placed between the connecting
此时打开第二液压杆9和第三液压杆12电源的开关,使第二液压杆9的输出端带动第二导块11上的安装凸块16在第一导块10上的第一滑动口滑动,第三液压杆12的输出端带动安装盘15在第二导块11上的第二滑动口滑动,使第二导块11和安装盘15沿着第一滑动口和第二滑动口的轨迹不断的运动,相应的安装盘15上的中心轮14沿着第一滑动口和第二滑动口的轨迹不断的运动,通过中心轮14的不断运动不断的调整中心轮14与工件8挤压接触的位置,转动的工件8被中心轮14挤压,用来实现对工件8旋压的效果。At this time, the power switches of the second
与此同时,转动驱动电机2的输出端带动扇叶7转动,使整个工件8的温度处于较低的状态。At the same time, the output end of the
以上所述,仅为本实用新型较佳的具体实施方式,但本实用新型的保护范围并不局限于此,任何熟悉本技术领域的技术人员在本实用新型揭露的技术范围内,根据本实用新型的技术方案及其实用新型构思加以等同替换或改变,都应涵盖在本实用新型的保护范围之内。The above are only the preferred specific embodiments of the present invention, but the protection scope of the present invention is not limited to this. Equivalent replacement or modification of the new technical solution and its utility model concept shall be included within the protection scope of the present utility model.
Claims (6)
Priority Applications (1)
| Application Number | Priority Date | Filing Date | Title |
|---|---|---|---|
| CN202020338129.4U CN211990446U (en) | 2020-03-18 | 2020-03-18 | A heat dissipation device for a double-rotor spinning machine |
Applications Claiming Priority (1)
| Application Number | Priority Date | Filing Date | Title |
|---|---|---|---|
| CN202020338129.4U CN211990446U (en) | 2020-03-18 | 2020-03-18 | A heat dissipation device for a double-rotor spinning machine |
Publications (1)
| Publication Number | Publication Date |
|---|---|
| CN211990446U true CN211990446U (en) | 2020-11-24 |
Family
ID=73429859
Family Applications (1)
| Application Number | Title | Priority Date | Filing Date |
|---|---|---|---|
| CN202020338129.4U Expired - Fee Related CN211990446U (en) | 2020-03-18 | 2020-03-18 | A heat dissipation device for a double-rotor spinning machine |
Country Status (1)
| Country | Link |
|---|---|
| CN (1) | CN211990446U (en) |
Cited By (1)
| Publication number | Priority date | Publication date | Assignee | Title |
|---|---|---|---|---|
| CN113560413A (en) * | 2021-07-21 | 2021-10-29 | 深圳市威纳盛五金工艺品有限公司 | Spinning device and method for metal artwork processing |
-
2020
- 2020-03-18 CN CN202020338129.4U patent/CN211990446U/en not_active Expired - Fee Related
Cited By (1)
| Publication number | Priority date | Publication date | Assignee | Title |
|---|---|---|---|---|
| CN113560413A (en) * | 2021-07-21 | 2021-10-29 | 深圳市威纳盛五金工艺品有限公司 | Spinning device and method for metal artwork processing |
Similar Documents
| Publication | Publication Date | Title |
|---|---|---|
| CN211071914U (en) | Multi-station hardware machining drilling machine | |
| CN206936088U (en) | A rotatable stamping equipment for quickly clamping hardware molds | |
| CN211588812U (en) | Tapping pneumatic jig | |
| CN211990446U (en) | A heat dissipation device for a double-rotor spinning machine | |
| CN112428021A (en) | Dust collector for cutting of solving water spray cooling weakens dust absorption effect problem | |
| CN207289747U (en) | An alloy double-sided automatic grinding machine | |
| CN112238300A (en) | Laser cutting machine equipment | |
| CN214442407U (en) | Quick stamping die of transformer hardware | |
| CN210098756U (en) | Punching machine convenient for adjusting position of machined part | |
| CN219170429U (en) | Polishing device for metal materials | |
| CN202861074U (en) | Pipe clamping device | |
| CN218575816U (en) | Grinding and polishing device for die machining | |
| CN216462555U (en) | Tooth welding machine for machining alloy saw blade | |
| CN112658154A (en) | Automatic fine blanking and material receiving device for steel backing of brake pad | |
| CN221891513U (en) | Novel quick cooling of machining device | |
| CN220902897U (en) | Polishing device for furniture production | |
| CN217942025U (en) | Plate shearing machine mechanism of rectifying for steel construction production | |
| CN221935972U (en) | A workpiece fixing device for mechanical design | |
| CN221658042U (en) | Air drill gun with adjustable compression structure | |
| CN220994163U (en) | Clamping mechanism for die manufacturing | |
| CN222873886U (en) | Stable clamping and uniform cutting copper bar device | |
| CN207464244U (en) | A Portable Universal Radial Drilling Machine with Low Energy Consumption | |
| CN222405351U (en) | A positioning component for preparing metal matrix composite materials | |
| CN221833822U (en) | Workpiece clamping device for machine manufacturing | |
| CN211991831U (en) | A workpiece clamping device for a gantry planer |
Legal Events
| Date | Code | Title | Description |
|---|---|---|---|
| GR01 | Patent grant | ||
| GR01 | Patent grant | ||
| CF01 | Termination of patent right due to non-payment of annual fee |
Granted publication date: 20201124 |
|
| CF01 | Termination of patent right due to non-payment of annual fee |
