CN211966887U - A nut port surface grinding device - Google Patents
A nut port surface grinding device Download PDFInfo
- Publication number
- CN211966887U CN211966887U CN201922473448.6U CN201922473448U CN211966887U CN 211966887 U CN211966887 U CN 211966887U CN 201922473448 U CN201922473448 U CN 201922473448U CN 211966887 U CN211966887 U CN 211966887U
- Authority
- CN
- China
- Prior art keywords
- telescopic rod
- electric telescopic
- electromagnet
- box body
- box
- Prior art date
- Legal status (The legal status is an assumption and is not a legal conclusion. Google has not performed a legal analysis and makes no representation as to the accuracy of the status listed.)
- Expired - Fee Related
Links
Images
Landscapes
- Grinding-Machine Dressing And Accessory Apparatuses (AREA)
Abstract
本实用新型公开了一种螺母端口面打磨装置,包括箱体,箱体内底部设有第一电动伸缩杆,第一电动伸缩杆的伸缩端竖直向上竖直。本实用新型的有益效果是:本实用所提供的一种螺母端口面打磨装置,第一电磁铁通电将其上侧的螺母吸合固定,第三电动伸缩杆水平推动方块向右移动,使第二打磨盘与第一电磁铁相对应,打开第二电机转动第二打磨盘,第一电动伸缩杆向上推动第一电磁铁使螺母与第二打磨盘接触进行打磨,在螺母的一个端面打磨完后,第一电动伸缩杆向下拉回第一电磁铁使其复位将第一电磁铁断电,第三电动伸缩杆拉动方块使其复位,第二电动伸缩杆向下推动第二电磁铁使第二电磁铁与第一电磁铁上侧的螺母相接触。
The utility model discloses a nut port surface grinding device, which comprises a box body. The bottom of the box body is provided with a first electric telescopic rod, and the telescopic end of the first electric telescopic rod is vertically upward. The beneficial effects of the utility model are as follows: in the nut port surface grinding device provided by the utility model, the first electromagnet is energized to attract and fix the nut on the upper side, and the third electric telescopic rod horizontally pushes the block to move to the right, so that the The second grinding disc is corresponding to the first electromagnet, the second motor is turned on to rotate the second grinding disc, the first electric telescopic rod pushes the first electromagnet upward to make the nut contact with the second grinding disc for grinding, and one end face of the nut is polished. After that, the first electric telescopic rod pulls down the first electromagnet to reset the power of the first electromagnet, the third electric telescopic rod pulls the block to reset it, and the second electric telescopic rod pushes down the second electromagnet to make the The second electromagnet is in contact with the nut on the upper side of the first electromagnet.
Description
技术领域technical field
本实用新型涉及螺母打磨技术领域,具体为一种螺母端口面打磨装置。The utility model relates to the technical field of nut grinding, in particular to a nut port surface grinding device.
背景技术Background technique
螺母就是螺帽,与螺栓或螺杆拧在一起用来起紧固作用的零件,所有生产制造机械必须用的一种元件根据材质的不同,分为碳钢、不锈钢和有色金属等几大类型,打磨,是指磨或擦器物表面,使光滑精致,装置是汉语词汇,指的是指机器、仪器和设备中结构复杂并具有某种独立功用的物件,也指安装。A nut is a nut, a part that is screwed together with a bolt or screw for fastening. A component that must be used in all production and manufacturing machinery is divided into several types such as carbon steel, stainless steel and non-ferrous metals according to different materials. Grinding refers to grinding or wiping the surface of objects to make them smooth and delicate. Installation is a Chinese word, which refers to objects with complex structures and independent functions in machines, instruments and equipment, and also refers to installation.
螺母在制造的过程中,需要将螺母的端口面进行打磨抛光,使其的外形更加的美观,使用也比较方便,不会因为表面不平而比较伤手。然而现有的螺母打磨装置在进行螺母打磨过程中,需要通过手持螺母进行打磨,这样的打磨方式较为危险,容易造成工作人员的损伤,这样一个一个打磨的话会比较浪费时间,降低了工作的效率,且打磨时会产生大量的灰尘,对环境有污染,容易造成操作工人患有尘肺病。During the manufacture of the nut, the port surface of the nut needs to be ground and polished to make its appearance more beautiful and convenient to use, and it will not hurt the hand due to the uneven surface. However, during the nut grinding process of the existing nut grinding device, the grinding method needs to be carried out by holding the nut. Such a grinding method is more dangerous, and it is easy to cause damage to the staff. Such grinding one by one will waste time and reduce the work efficiency. , and a large amount of dust will be generated during grinding, which will pollute the environment and easily cause operators to suffer from pneumoconiosis.
实用新型内容Utility model content
本实用新型的目的在于提供一种螺母端口面打磨装置,以解决上述背景技术中提出的问题。The purpose of the present invention is to provide a nut port surface grinding device to solve the problems raised in the above-mentioned background technology.
为实现上述目的,本实用新型提供如下技术方案:To achieve the above object, the utility model provides the following technical solutions:
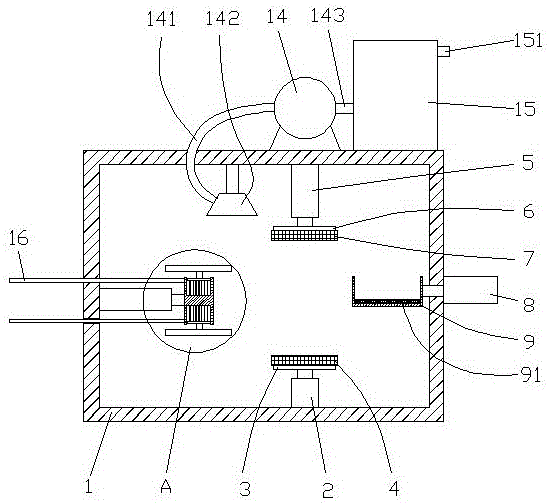
一种螺母端口面打磨装置,包括箱体,箱体内底部设有第一电动伸缩杆,第一电动伸缩杆的伸缩端竖直向上竖直,在第一电动伸缩杆伸缩端的末端固定连接水平设置的第一支撑板,第一支撑板的上侧设有水平设置的第一电磁铁,箱体内顶部设有第二电动伸缩杆,第二电动伸缩杆的伸缩端竖直向下朝向第一电磁铁设置,在第二电动伸缩杆伸缩端的末端固定连接水平设置的第二支撑板,第二支撑板的下侧设有水平设置的第二电磁铁,第二电磁铁与第一电磁铁相对设置,箱体的一侧内壁上设有第三电动伸缩杆,第三电动伸缩杆的伸缩端水平朝向箱体的另一侧内壁设置,在第三电动伸缩杆伸缩端的末端固定连接竖直设置的方块,方块的上端设有第一安装槽,第一安装槽内设有第一电机,第一电机的主轴竖直向上伸出至方块的外侧,在第一电机主轴的伸出端固定连接水平设置的第一打磨盘,方块的下端设有第二安装槽,第二安装槽内设有第二电机,第二电机的主轴竖直向下伸出至方块的外侧,在第二电机主轴的伸出端固定连接水平设置的第二打磨盘;A nut port surface grinding device comprises a box body, the bottom of the box is provided with a first electric telescopic rod, the telescopic end of the first electric telescopic rod is vertically upward, and the end of the telescopic end of the first electric telescopic rod is fixedly connected and horizontally arranged The upper side of the first support plate is provided with a horizontally arranged first electromagnet, the top of the box is provided with a second electric telescopic rod, and the telescopic end of the second electric telescopic rod is vertically downward toward the first electromagnet Iron setting, the end of the telescopic end of the second electric telescopic rod is fixedly connected with a horizontally arranged second support plate, the lower side of the second support plate is provided with a horizontally arranged second electromagnet, and the second electromagnet is arranged opposite to the first electromagnet There is a third electric telescopic rod on the inner wall of one side of the box body, the telescopic end of the third electric telescopic rod is arranged horizontally toward the inner wall of the other side of the box body, and the end of the telescopic end of the third electric telescopic rod is fixedly connected with a vertically arranged telescopic rod. Square, the upper end of the square is provided with a first installation slot, the first installation slot is provided with a first motor, the main shaft of the first motor extends vertically upward to the outside of the square, and the extension end of the first motor main shaft is fixedly connected horizontally The set first grinding disc, the lower end of the square is provided with a second installation groove, the second installation groove is provided with a second motor, the main shaft of the second motor extends vertically downward to the outside of the square, and is located at the bottom of the main shaft of the second motor. The protruding end is fixedly connected to the second grinding disc set horizontally;
箱体的上侧设有吸尘机,吸尘机的吸风口设有吸风管,吸风管的一端向下贯穿箱体与吸尘口相连通,吸尘口通过连接杆固定连接在箱体内顶部,吸尘口竖直向下设置,吸尘机的出风口通过出风管与滤尘箱相连通,滤尘箱固定连接在箱体的上侧。The upper side of the box is provided with a vacuum cleaner, and the suction port of the vacuum cleaner is provided with a suction pipe. On the top of the body, the dust suction port is arranged vertically downward, the air outlet of the vacuum cleaner is connected with the dust filter box through the air outlet pipe, and the dust filter box is fixedly connected to the upper side of the box body.
优选地,所述箱体靠近滤尘箱的一侧设有第四电动伸缩杆,第四电动伸缩杆的伸缩端水平贯穿箱体并伸入箱体内,在第四电动伸缩杆伸缩端的末端固定连接水平设置的接料盒。Preferably, a fourth electric telescopic rod is provided on the side of the box body close to the dust filter box, the telescopic end of the fourth electric telescopic rod horizontally penetrates the box body and extends into the box body, and is fixedly connected at the end of the telescopic end of the fourth electric telescopic rod Splice box set horizontally.
优选地,所述接料盒与方块相对应设置,接料盒内底部设有橡胶垫。Preferably, the material receiving box is arranged corresponding to the square, and the inner bottom of the material receiving box is provided with a rubber pad.
优选地,所述滤尘箱的一侧设有进风孔,所述出风管与进风孔相连通,滤尘箱的一侧设有水平设置的插接口,插接口与滤尘箱相连通,滤尘箱远离插接口的内壁上设有水平设置的插接槽,插接槽与所述插接口相对应设置,插接口内插接配合连接水平设置的过滤网板,过滤网板的一端伸入滤尘箱内并插接配合连接在插接槽内,过滤网板的另一端设置在插接口的外侧并固定连接竖直设置的挡板,挡板远离过滤网板的一侧设有拉把,滤尘箱靠近插接口的一侧上方设有排风孔。Preferably, one side of the dust filter box is provided with an air inlet hole, the air outlet pipe is communicated with the air inlet hole, and one side of the dust filter box is provided with a horizontally arranged socket, the socket is communicated with the dust filter box, and the dust filter The inner wall of the box away from the insertion port is provided with a horizontally arranged insertion slot, and the insertion slot is arranged correspondingly to the insertion port. The other end of the filter plate is set on the outside of the plug port and is fixedly connected to the vertical baffle plate. There is an exhaust hole above the side of the box close to the socket.
优选地,所述方块朝向第三电动伸缩杆的一侧固定连接一组水平设置的导向杆,所述箱体靠近第三电动伸缩杆一侧设有一组导向孔,所述导向杆一一对应从所述导向孔内穿过,每个导向杆均能够沿与其相对的导向孔上下滑动。Preferably, the side of the box facing the third electric telescopic rod is fixedly connected to a group of horizontally arranged guide rods, the box body is provided with a group of guide holes on the side close to the third electric telescopic rod, and the guide rods correspond one-to-one Passing through the guide holes, each guide rod can slide up and down along the guide holes opposite to it.
与现有技术相比,本实用新型的有益效果是:本实用新型所提供的一种螺母端口面打磨装置,将需要打磨的螺母竖直摆放在第一电磁铁上侧,第一电磁铁通电将其上侧的螺母吸合固定,第三电动伸缩杆水平推动方块向右移动,使第二打磨盘与第一电磁铁相对应,打开第二电机转动第二打磨盘,第一电动伸缩杆向上推动第一电磁铁使螺母与第二打磨盘接触进行打磨,在螺母的一个端面打磨完后,第一电动伸缩杆向下拉回第一电磁铁使其复位将第一电磁铁断电,第三电动伸缩杆拉动方块使其复位,第二电动伸缩杆向下推动第二电磁铁使第二电磁铁与第一电磁铁上侧的螺母相接触,将第二电磁铁通电把第一电磁铁上侧的螺母吸合,第二电动伸缩杆向上拉回第二电磁铁复位,第三电动伸缩杆水平推动方块向右移动,使第一打磨盘与第二电磁铁相对应,打开第一电机转动第一打磨盘,第二电动伸缩杆向下推动第二电磁铁使螺母与第一打磨盘接触进行打磨,吸尘机将打磨时产生的大量灰尘吸出通过滤尘箱过滤后经排风孔排出。这样能解决手持螺母进行打磨,这样的打磨方式较为危险,容易造成工作人员的损伤,这样一个一个打磨的话会比较浪费时间,降低了工作的效率,且打磨时会产生大量的灰尘,对环境有污染,容易造成操作工人患有尘肺病的问题。Compared with the prior art, the beneficial effect of the present utility model is that the nut port surface grinding device provided by the present utility model vertically places the nut to be ground on the upper side of the first electromagnet, and the first electromagnet is connected to the surface of the first electromagnet. The electric pulls the nut on the upper side to fix it, and the third electric telescopic rod pushes the block horizontally to the right, so that the second grinding disc corresponds to the first electromagnet, and the second motor is turned on to rotate the second grinding disc, and the first electric telescopic The rod pushes the first electromagnet upward to make the nut contact with the second grinding disc for grinding. After one end face of the nut is polished, the first electric telescopic rod pulls down the first electromagnet to reset it to power off the first electromagnet. The third electric telescopic rod pulls the block to reset it, the second electric telescopic rod pushes the second electromagnet downward to make the second electromagnet contact the nut on the upper side of the first electromagnet, and the second electromagnet is energized to turn the first electromagnet The nut on the upper side of the iron is pulled together, the second electric telescopic rod is pulled up and the second electromagnet is reset, and the third electric telescopic rod horizontally pushes the block to move to the right, so that the first grinding disc corresponds to the second electromagnet, and the first The motor rotates the first grinding disc, and the second electric telescopic rod pushes the second electromagnet downward to make the nut contact the first grinding disc for grinding. discharge. This can solve the problem of hand-held nut grinding. This grinding method is more dangerous and easy to cause damage to the staff. Such grinding one by one will waste time and reduce work efficiency, and will generate a lot of dust during grinding, which is harmful to the environment. Pollution, it is easy to cause the problem of pneumoconiosis among operators.
附图说明Description of drawings
图1为本实用新型所提供的一种螺母端口面打磨装置的基本结构示意图;Fig. 1 is the basic structure schematic diagram of a kind of nut port surface grinding device provided by the utility model;
图2为图1的A部放大图;Fig. 2 is the enlarged view of A part of Fig. 1;
图3为滤尘箱的基本结构示意图。Figure 3 is a schematic diagram of the basic structure of the dust filter box.
具体实施方式Detailed ways
下面将结合本实用新型实施例中的附图,对本实用新型实施例中的技术方案进行清楚、完整地描述,显然,所描述的实施例仅仅是本实用新型一部分实施例,而不是全部的实施例。基于本实用新型中的实施例,本领域普通技术人员在没有做出创造性劳动前提下所获得的所有其他实施例,都属于本实用新型保护的范围。The technical solutions in the embodiments of the present utility model will be clearly and completely described below with reference to the accompanying drawings in the embodiments of the present utility model. Obviously, the described embodiments are only a part of the embodiments of the present utility model, rather than all the implementations. example. Based on the embodiments of the present invention, all other embodiments obtained by those of ordinary skill in the art without creative work fall within the protection scope of the present invention.
在本实用新型的描述中,需要理解的是,术语“中心”、“纵向”、“横向”、“长度”、“宽度”、“厚度”、“上”、“下”、“前”、“后”、“左”、“右”、“竖直”、“水平”、“顶”、“底”、“内”、“外”、“顺时针”、“逆时针”等指示的方位或位置关系为基于附图所示的方位或位置关系,仅是为了便于描述本实用新型和简化描述,而不是指示或暗示所指的设备或元件必须具有特定的方位、以特定的方位构造和操作,因此不能理解为对本实用新型的限制。In the description of the present invention, it should be understood that the terms "center", "longitudinal", "lateral", "length", "width", "thickness", "upper", "lower", "front", "Back", "Left", "Right", "Vertical", "Horizontal", "Top", "Bottom", "Inner", "Outer", "Clockwise", "Counterclockwise" etc. Or the positional relationship is based on the orientation or positional relationship shown in the accompanying drawings, which is only for the convenience of describing the present invention and simplifying the description, rather than indicating or implying that the referred device or element must have a specific orientation, be constructed in a specific orientation and operation, so it cannot be construed as a limitation to the present invention.
如图1-3所示,本实用新型涉及一种螺母端口面打磨装置,包括箱体1,箱体1的一侧设有箱门,箱体1内底部通过螺栓固定连接第一电动伸缩杆2,第一电动伸缩杆2的伸缩端竖直向上竖直,在第一电动伸缩杆2伸缩端的末端焊接固定连接水平设置的第一支撑板3,第一支撑板3的上侧固定连接水平设置的第一电磁铁4,箱体1内顶部通过螺栓固定连接第二电动伸缩杆5,第二电动伸缩杆5的伸缩端竖直向下朝向第一电磁铁4设置,在第二电动伸缩杆5伸缩端的末端焊接固定连接水平设置的第二支撑板6,第二支撑板6的下侧固定连接水平设置的第二电磁铁7,第二电磁铁7与第一电磁铁4形状相同且相对设置,箱体1的一侧内壁上通过螺栓固定连接第三电动伸缩杆10,第三电动伸缩杆10的伸缩端水平朝向箱体1的另一侧内壁设置,在第三电动伸缩杆10伸缩端的末端焊接固定连接竖直设置的方块11,所述方块11朝向第三电动伸缩杆10的一侧焊接固定连接一组水平设置的导向杆16,所述箱体1靠近第三电动伸缩杆10一侧设有一组导向孔,所述导向杆16一一对应从所述导向孔内穿过,每个导向杆16均能够沿与其相对的导向孔上下滑动。方块11的上端设有第一安装槽111,第一安装槽111内通过螺栓固定连接第一电机112,第一电机112的主轴竖直向上伸出至方块11的外侧,在第一电机112主轴的伸出端的末端焊接固定连接水平设置的第一打磨盘113,方块11的下端设有第二安装槽114,第二安装槽114内通过螺栓固定连接第二电机115,第二电机115的主轴竖直向下伸出至方块11的外侧,在第二电机115主轴的伸出端末端焊接固定连接水平设置的第二打磨盘116。所述箱体1靠近滤尘箱15的一侧通过螺栓固定连接第四电动伸缩杆8,第四电动伸缩杆8的伸缩端水平贯穿箱体1并伸入箱体1内,在第四电动伸缩杆8伸缩端的末端焊接固定连接水平设置的接料盒9。接料盒9与方块11相对应设置,接料盒9内底部设有橡胶垫91,设置橡胶垫91能减少在接料时的碰伤。As shown in Figures 1-3, the present utility model relates to a nut port surface grinding device, comprising a box body 1, one side of the box body 1 is provided with a box door, and the inner bottom of the box body 1 is fixedly connected to a first electric telescopic rod through
箱体1的上侧通过螺栓固定连接吸尘机14,吸尘机14的吸风口设有吸风管141,吸风管141的一端向下贯穿箱体1与吸尘口142相连通,吸尘口142通过连接杆固定连接在箱体1内顶部,吸尘口142竖直向下设置,吸尘机14的出风口通过出风管143与滤尘箱15相连通,滤尘箱15固定连接在箱体1的上侧,所述滤尘箱15的一侧设有进风孔152,所述出风管143与进风孔152相连通,滤尘箱15的一侧设有水平设置的插接口154,插接口154与滤尘箱15相连通,滤尘箱15远离插接口154的内壁上设有水平设置的插接槽153,插接槽153与所述插接口154相对应设置,插接口154内插接配合连接水平设置的过滤网板155,过滤网板155的一端伸入滤尘箱15内并插接配合连接在插接槽153内,过滤网板155的另一端设置在插接口154的外侧并焊接固定连接竖直设置的挡板156,挡板156远离过滤网板155的一侧焊接固定拉把157,滤尘箱15靠近插接口154的一侧上方设有排风孔151,通过设置插接槽153与插接口154能够方便对过滤网板155清洗或更换。The upper side of the box body 1 is fixedly connected to the
在使用本实用新型提供的一种螺母端口面打磨装置时,打开箱体1一侧的箱门,将需要打磨的螺母竖直摆放在第一电磁铁4上侧,第一电磁铁4通电将其上侧的螺母吸合固定,第三电动伸缩杆10水平推动方块11向右移动,使第二打磨盘116与第一电磁铁4相对应,打开第二电机115转动第二打磨盘116,第一电动伸缩杆2向上推动第一电磁铁4使螺母与第二打磨盘116接触进行打磨,在螺母的一个端面打磨完后,第一电动伸缩杆2向下拉回第一电磁铁4使其复位将第一电磁铁4断电,第三电动伸缩杆10拉动方块11使其复位,第二电动伸缩杆5向下推动第二电磁铁7使第二电磁铁7与第一电磁铁4上侧的螺母相接触,将第二电磁铁7通电把第一电磁铁4上侧的螺母吸合,第二电动伸缩杆5向上拉回第二电磁铁7复位,第三电动伸缩杆10水平推动方块11向右移动,使第一打磨盘113与第二电磁铁7相对应,打开第一电机112转动第一打磨盘113,第二电动伸缩杆5向下推动第二电磁铁7使螺母与第一打磨盘113接触进行打磨,在螺母的另一个面打磨完成后第三电动伸缩杆10拉动方块11使其复位,第四电动伸缩杆8水平相左推动接料盒9,使接料盒9与第二电磁铁7相对应,将第二电磁铁7断电第二电磁铁7上的螺母掉落至接料盒9内,打开吸尘机14将打磨时产生的大量灰尘吸出通过滤尘箱15过滤后经排风孔151排出。When using the nut port surface grinding device provided by the present invention, open the box door on one side of the box body 1, and vertically place the nut to be ground on the upper side of the first electromagnet 4, and the first electromagnet 4 is energized The upper nut is sucked and fixed, the third electric telescopic rod 10 horizontally pushes the block 11 to move to the right, so that the second grinding disc 116 corresponds to the first electromagnet 4, and the second motor 115 is turned on to rotate the second grinding disc 116 , the first electric telescopic rod 2 pushes the first electromagnet 4 upward to make the nut contact with the second grinding disc 116 for grinding, after one end face of the nut is polished, the first electric telescopic rod 2 pulls back the first electromagnet 4 to make Its reset will power off the first electromagnet 4, the third electric telescopic rod 10 pulls the block 11 to reset it, and the second electric telescopic rod 5 pushes the second electromagnet 7 downward to make the second electromagnet 7 and the first electromagnet 4 The nuts on the upper side are in contact, the second electromagnet 7 is energized and the nut on the upper side of the first electromagnet 4 is pulled in, the second electric telescopic rod 5 is pulled back up to the second electromagnet 7 to reset, and the third electric telescopic rod 10 is horizontal Push the block 11 to move to the right, so that the first grinding disc 113 corresponds to the second electromagnet 7, turn on the first motor 112 to rotate the first grinding disc 113, and the second electric telescopic rod 5 pushes the second electromagnet 7 downward to make the nut Contact with the first grinding disc 113 for grinding, after the other surface of the nut is polished, the third electric telescopic rod 10 pulls the square 11 to reset it, and the fourth electric telescopic rod 8 pushes the receiving box 9 horizontally to the left to make the receiving box 9 Corresponding to the second electromagnet 7, the second electromagnet 7 is powered off, and the nut on the second electromagnet 7 is dropped into the receiving box 9, and the vacuum cleaner 14 is turned on to suck out a large amount of dust generated during grinding through the dust filter The box 15 is filtered and discharged through the exhaust hole 151 .
以上显示和描述了本实用新型的基本原理、主要特征和本实用新型的优点。本行业的技术人员应该了解,本实用新型不受上述实施例的限制,上述实施例和说明书中描述的仅为本实用新型的优选例,并不用来限制本实用新型,在不脱离本实用新型精神和范围的前提下,本实用新型还会有各种变化和改进,这些变化和改进都落入要求保护的本实用新型范围内。本实用新型要求保护范围由所附的权利要求书及其等效物界定。The basic principles, main features and advantages of the present invention are shown and described above. Those skilled in the art should understand that the present invention is not limited by the above-mentioned embodiments. The above-mentioned embodiments and descriptions are only preferred examples of the present invention and are not intended to limit the present invention. Under the premise of the spirit and scope, the present invention will have various changes and improvements, and these changes and improvements all fall within the scope of the claimed invention. The claimed scope of the present invention is defined by the appended claims and their equivalents.
Claims (5)
Priority Applications (1)
| Application Number | Priority Date | Filing Date | Title |
|---|---|---|---|
| CN201922473448.6U CN211966887U (en) | 2019-12-31 | 2019-12-31 | A nut port surface grinding device |
Applications Claiming Priority (1)
| Application Number | Priority Date | Filing Date | Title |
|---|---|---|---|
| CN201922473448.6U CN211966887U (en) | 2019-12-31 | 2019-12-31 | A nut port surface grinding device |
Publications (1)
| Publication Number | Publication Date |
|---|---|
| CN211966887U true CN211966887U (en) | 2020-11-20 |
Family
ID=73369002
Family Applications (1)
| Application Number | Title | Priority Date | Filing Date |
|---|---|---|---|
| CN201922473448.6U Expired - Fee Related CN211966887U (en) | 2019-12-31 | 2019-12-31 | A nut port surface grinding device |
Country Status (1)
| Country | Link |
|---|---|
| CN (1) | CN211966887U (en) |
Cited By (1)
| Publication number | Priority date | Publication date | Assignee | Title |
|---|---|---|---|---|
| CN115302383A (en) * | 2022-08-05 | 2022-11-08 | 安徽省亚欧陶瓷有限责任公司 | Polishing device with polishing grinding heads arranged in multiple rows of ceramic tiles |
-
2019
- 2019-12-31 CN CN201922473448.6U patent/CN211966887U/en not_active Expired - Fee Related
Cited By (1)
| Publication number | Priority date | Publication date | Assignee | Title |
|---|---|---|---|---|
| CN115302383A (en) * | 2022-08-05 | 2022-11-08 | 安徽省亚欧陶瓷有限责任公司 | Polishing device with polishing grinding heads arranged in multiple rows of ceramic tiles |
Similar Documents
| Publication | Publication Date | Title |
|---|---|---|
| CN211966887U (en) | A nut port surface grinding device | |
| CN217220578U (en) | Electric automatic explosion-proof dust removal equipment in coal mine | |
| CN211878089U (en) | A multi-channel DC test load box | |
| CN210766300U (en) | Concrete coagulation piece cleaning device | |
| CN211704451U (en) | Industrial dust collector with cleaning function | |
| CN210784197U (en) | Portable dust collector of workshop | |
| CN217861554U (en) | Municipal administration is pipeline cutting device for water supply and drainage | |
| CN201782702U (en) | Pneumatic dust collection device | |
| CN211362700U (en) | Dust cleaning device for wood processing workshop | |
| CN212348020U (en) | A central dust removal device | |
| CN110426447B (en) | Magnetic powder flaw detector taking various types of torsion bars into consideration | |
| CN212122901U (en) | A kind of pneumatic fixture for metal products processing | |
| CN221656081U (en) | Dust collection structure for crushing and grinding device of solid filtrate reducer | |
| CN209542380U (en) | A kind of pollution dust investigating | |
| CN209451492U (en) | A welding fume adsorption purifier with automatic dust removal function | |
| CN203091383U (en) | Electric cotton fiber recycling machine | |
| CN211155582U (en) | A workshop dust collector for easy internal cleaning | |
| CN219897443U (en) | Concrete workshop dust collector convenient to quick dust removal washs | |
| CN201609330U (en) | Production shop ground dust collecting apparatus | |
| CN220217761U (en) | Wall cleaning device for building decoration wallpaper | |
| CN218011800U (en) | A water-swirling water-retaining plate structure | |
| CN211332632U (en) | A tripod processing and grinding device for camera equipment | |
| CN219358862U (en) | Chip removing device for valve body machining | |
| CN206390845U (en) | Central dust-collection device | |
| CN212216543U (en) | A dust collection box for paper production |
Legal Events
| Date | Code | Title | Description |
|---|---|---|---|
| GR01 | Patent grant | ||
| GR01 | Patent grant | ||
| TR01 | Transfer of patent right |
Effective date of registration: 20201229 Address after: 361 000 No. 361-6, yingdaitouli, Yingcun, Houxi Town, Jimei District, Xiamen City, Fujian Province Patentee after: Xiamen Youbiao metal products Co.,Ltd. Address before: 410000 Changsha Vocational and technical college 157 Zhengxing Road, Leifeng Town, Yuelu District, Changsha City, Hunan Province Patentee before: Li Faping |
|
| TR01 | Transfer of patent right | ||
| CF01 | Termination of patent right due to non-payment of annual fee |
Granted publication date: 20201120 |
|
| CF01 | Termination of patent right due to non-payment of annual fee |
