CN211963223U - A mobile landfill leachate treatment device - Google Patents
A mobile landfill leachate treatment device Download PDFInfo
- Publication number
- CN211963223U CN211963223U CN202020307832.9U CN202020307832U CN211963223U CN 211963223 U CN211963223 U CN 211963223U CN 202020307832 U CN202020307832 U CN 202020307832U CN 211963223 U CN211963223 U CN 211963223U
- Authority
- CN
- China
- Prior art keywords
- box
- box body
- landfill leachate
- filter plate
- leachate treatment
- Prior art date
- Legal status (The legal status is an assumption and is not a legal conclusion. Google has not performed a legal analysis and makes no representation as to the accuracy of the status listed.)
- Expired - Fee Related
Links
- 239000000149 chemical water pollutant Substances 0.000 title claims abstract description 13
- 239000002893 slag Substances 0.000 claims abstract description 12
- 238000004140 cleaning Methods 0.000 claims abstract description 9
- 230000004888 barrier function Effects 0.000 claims description 6
- 239000013049 sediment Substances 0.000 claims 1
- 230000005540 biological transmission Effects 0.000 abstract description 10
- XLYOFNOQVPJJNP-UHFFFAOYSA-N water Substances O XLYOFNOQVPJJNP-UHFFFAOYSA-N 0.000 abstract description 3
- 239000002699 waste material Substances 0.000 description 6
- 238000000034 method Methods 0.000 description 2
- 230000009286 beneficial effect Effects 0.000 description 1
- 230000000903 blocking effect Effects 0.000 description 1
- 230000015556 catabolic process Effects 0.000 description 1
- 238000005056 compaction Methods 0.000 description 1
- 238000006731 degradation reaction Methods 0.000 description 1
- 230000000694 effects Effects 0.000 description 1
- 238000000855 fermentation Methods 0.000 description 1
- 230000004151 fermentation Effects 0.000 description 1
- 238000001914 filtration Methods 0.000 description 1
- 239000003673 groundwater Substances 0.000 description 1
- 238000010169 landfilling Methods 0.000 description 1
- 239000007788 liquid Substances 0.000 description 1
- 230000004048 modification Effects 0.000 description 1
- 238000012986 modification Methods 0.000 description 1
- 238000001556 precipitation Methods 0.000 description 1
Images
Landscapes
- Filtration Of Liquid (AREA)
Abstract
本实用新型公开了一种移动式垃圾渗滤液处理装置,包括箱体,所述箱体的底部安装有滚轮,箱体的前侧安装有牵引钩,箱体的后侧安装有排水口,箱体的顶部箱口安装有过滤板,过滤板上方设有由滚轮驱动的清洁结构,在该清洁结构前侧下方设有可拆卸的储渣部件,所述清洁结构包括架设在过滤板两端的转动辊,两个转动辊通过条状传动带连接,条状传动带的外侧安装有等间距设置的毛刷。本实用新型结构简单,通过设置滚轮,箱体移动更加便捷,提高设备的利用率,而且条状传动带和毛刷移动无须外置动力源,节省能源,滤渣及时清扫,可提高过滤板的工作效率。
The utility model discloses a mobile landfill leachate treatment device, which comprises a box body, a roller is installed on the bottom of the box body, a traction hook is installed on the front side of the box body, and a water outlet is installed on the rear side of the box body. A filter plate is installed on the top box opening of the body, a cleaning structure driven by a roller is arranged above the filter plate, and a detachable slag storage part is arranged under the front side of the cleaning structure. The two rotating rollers are connected by a strip-shaped transmission belt, and brushes arranged at equal intervals are installed on the outside of the strip-shaped transmission belt. The utility model has a simple structure, the moving of the box body is more convenient and the utilization rate of the equipment is improved by arranging the rollers, and the strip-shaped transmission belt and the brush do not need an external power source for moving, which saves energy, cleans the filter residue in time, and can improve the working efficiency of the filter plate. .
Description
技术领域technical field
本实用新型涉及渗滤液处理技术领域,尤其涉及一种移动式垃圾渗滤液处理装置。The utility model relates to the technical field of leachate treatment, in particular to a mobile landfill leachate treatment device.
背景技术Background technique
垃圾在堆放和填埋过程中由于压实、发酵等生物化学降解作用,同时在降水和地下水的渗流作用下产生了一种高浓度的有机或无机成份的液体,我们称之为垃圾渗滤液,也叫渗沥液;渗滤液的分布有事并不集中,如果在某一处建立过滤设备,会导致设备利用率不能实现最大化,而且成本投入高。During the process of stacking and landfilling, due to biochemical degradation such as compaction and fermentation, and at the same time under the seepage of precipitation and groundwater, a liquid with a high concentration of organic or inorganic components is produced, which we call landfill leachate. It is also called leachate; the distribution of leachate is not concentrated. If a filter equipment is established in a certain place, the utilization rate of the equipment will not be maximized, and the cost will be high.
实用新型内容Utility model content
本实用新型的目的是为了解决现有技术中存在的缺点,而提出的一种移动式垃圾渗滤液处理装置。The purpose of the utility model is to propose a mobile landfill leachate treatment device in order to solve the shortcomings existing in the prior art.
为了实现上述目的,本实用新型采用了如下技术方案:In order to achieve the above-mentioned purpose, the utility model adopts the following technical solutions:
一种移动式垃圾渗滤液处理装置,包括箱体,所述箱体的底部安装有滚轮,箱体的前侧安装有牵引钩,箱体的后侧安装有排水口,箱体的顶部箱口安装有过滤板,过滤板上方设有由滚轮驱动的清洁结构,在该清洁结构前侧下方设有可拆卸的储渣部件。A mobile landfill leachate treatment device, comprising a box body, a roller is installed at the bottom of the box body, a traction hook is installed on the front side of the box body, a drain port is installed on the rear side of the box body, and a box port on the top of the box body is installed A filter plate is installed, a cleaning structure driven by a roller is arranged above the filter plate, and a detachable slag storage part is arranged under the front side of the cleaning structure.
优选地,所述清洁结构包括架设在过滤板两端的转动辊,两个转动辊通过条状传动带连接,条状传动带的外侧安装有等间距设置的毛刷。Preferably, the cleaning structure includes rotating rollers erected on both ends of the filter plate, the two rotating rollers are connected by a strip-shaped transmission belt, and brushes arranged at equal intervals are installed on the outer side of the strip-shaped transmission belt.
优选地,所述滚轮的滚轴通过驱动带与转动辊连接,且驱动带采用交叉连接的方式设置。Preferably, the roller of the roller is connected with the rotating roller through a driving belt, and the driving belt is arranged in a cross-connected manner.
优选地,所述储渣部件包括废渣盒,废渣盒靠近箱体的一侧设有挂钩,箱体上设有与挂钩相对应的挂环。Preferably, the slag storage component includes a waste slag box, a hook is provided on the side of the waste slag box close to the box body, and a hanging ring corresponding to the hook is arranged on the box body.
优选地,所述箱体的内壁安装有多个等距设置的阻隔板。Preferably, a plurality of baffle plates arranged at equal distances are installed on the inner wall of the box body.
优选地,所述过滤板倾斜设置,且在过滤板最低端安装有挡条。Preferably, the filter plate is arranged obliquely, and a blocking bar is installed at the lowest end of the filter plate.
与现有技术相比,本实用新型的有益效果是:本实用新型结构简单,通过设置滚轮,箱体移动更加便捷,提高设备的利用率,而且条状传动带和毛刷移动无须外置动力源,节省能源,滤渣及时清扫,可提高过滤板的工作效率。Compared with the prior art, the beneficial effects of the utility model are as follows: the utility model has a simple structure, and by arranging the rollers, the movement of the box body is more convenient, the utilization rate of the equipment is improved, and the strip-shaped transmission belt and the brush do not need an external power source to move. , save energy, and clean the filter residue in time, which can improve the working efficiency of the filter plate.
附图说明Description of drawings
图1为本实用新型提出的结构示意图;Fig. 1 is the structural representation proposed by the utility model;
图2为图1的剖面图。FIG. 2 is a cross-sectional view of FIG. 1 .
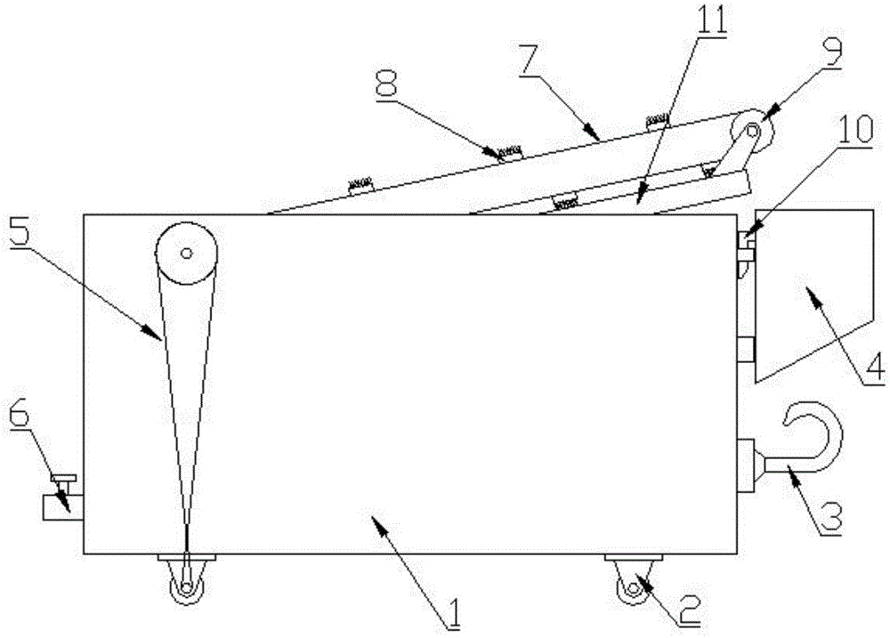
图中:箱体1、滚轮2、牵引钩3、废渣盒4、驱动带5、排水口6、条状传动带7、毛刷8、转动辊9、挂钩10、过滤板11、阻隔板12、挡条13。In the figure:
具体实施方式Detailed ways
下面将结合本实用新型实施例中的附图,对本实用新型实施例中的技术方案进行清楚、完整地描述,显然,所描述的实施例仅仅是本实用新型一部分实施例,而不是全部的实施例。The technical solutions in the embodiments of the present utility model will be clearly and completely described below with reference to the accompanying drawings in the embodiments of the present utility model. Obviously, the described embodiments are only a part of the embodiments of the present utility model, rather than all the implementations. example.
参照图1-2,一种移动式垃圾渗滤液处理装置,包括箱体1,箱体1的底部安装有滚轮2,箱体1的前侧安装有牵引钩3,箱体1的后侧安装有排水口6,箱体1的顶部箱口安装有过滤板11,过滤板11上方设有由滚轮2驱动的清洁结构,在该清洁结构前侧下方设有可拆卸的储渣部件。1-2, a mobile landfill leachate treatment device includes a
清洁结构包括架设在过滤板11两端的转动辊9,两个转动辊9通过条状传动带7连接,条状传动带7的外侧安装有等间距设置的毛刷8,利用毛刷8清扫过滤板11上滤渣,避免其在过滤板11上聚集。The cleaning structure includes rotating rollers 9 erected on both ends of the
滚轮2的滚轴通过驱动带5与转动辊9连接,且驱动带5采用交叉连接的方式设置,利用滚轮2移动,驱动毛刷8移动,无须外置动力源,节省能源。The roller of the roller 2 is connected with the rotating roller 9 through the driving belt 5, and the driving belt 5 is arranged in a cross-connected manner. The roller 2 is used to move, and the brush 8 is driven to move without an external power source, saving energy.
储渣部件包括废渣盒4,废渣盒4靠近箱体1的一侧设有挂钩10,箱体1上设有与挂钩10相对应的挂环,用于存放清扫下来的滤渣,而且可以拆卸,方便倾倒。The slag storage component includes a waste slag box 4, a
箱体1的内壁安装有多个等距设置的阻隔板12,利用阻隔板12的阻隔作用,减缓滤后水的惯性对箱体1的一箱。The inner wall of the
过滤板11倾斜设置,且在过滤板11最低端安装有挡条13,渗滤液可沿过滤板11顺流,避免集中在某一块过滤,挡条13可阻隔滤渣进入箱体1中。The
本案中,将渗滤液从过滤板11上方注入,过滤板11对其进行过滤,而滤渣则会残留在过滤板11上方,当一处渗滤液处理完后,可利用牵引车通过牵引钩3牵引箱体1移动,滚轮2通过驱动带5带动条状传动带7和毛刷8逆时针转动,将过滤板11上方的滤渣扫入废渣盒4中,通过设置滚轮2,箱体1移动更加便捷,提高设备的利用率,而且条状传动带7和毛刷8移动无须外置动力源,节省能源,滤渣及时清扫,可提高过滤板11的工作效率。In this case, the leachate is injected from above the
以上所述,仅为本实用新型较佳的具体实施方式,但本实用新型的保护范围并不局限于此,任何熟悉本技术领域的技术人员在本实用新型揭露的技术范围内,根据本实用新型的技术方案及其实用新型构思加以等同替换或改变,都应涵盖在本实用新型的保护范围之内。The above are only the preferred specific embodiments of the present invention, but the protection scope of the present invention is not limited to this. Equivalent replacement or modification of the new technical solution and its utility model concept shall be included within the protection scope of the present utility model.
Claims (6)
Priority Applications (1)
| Application Number | Priority Date | Filing Date | Title |
|---|---|---|---|
| CN202020307832.9U CN211963223U (en) | 2020-03-13 | 2020-03-13 | A mobile landfill leachate treatment device |
Applications Claiming Priority (1)
| Application Number | Priority Date | Filing Date | Title |
|---|---|---|---|
| CN202020307832.9U CN211963223U (en) | 2020-03-13 | 2020-03-13 | A mobile landfill leachate treatment device |
Publications (1)
| Publication Number | Publication Date |
|---|---|
| CN211963223U true CN211963223U (en) | 2020-11-20 |
Family
ID=73395222
Family Applications (1)
| Application Number | Title | Priority Date | Filing Date |
|---|---|---|---|
| CN202020307832.9U Expired - Fee Related CN211963223U (en) | 2020-03-13 | 2020-03-13 | A mobile landfill leachate treatment device |
Country Status (1)
| Country | Link |
|---|---|
| CN (1) | CN211963223U (en) |
Cited By (1)
| Publication number | Priority date | Publication date | Assignee | Title |
|---|---|---|---|---|
| CN114703721A (en) * | 2022-03-11 | 2022-07-05 | 江苏顺联工程建设有限公司 | Small-size road roller is used in town road repair |
-
2020
- 2020-03-13 CN CN202020307832.9U patent/CN211963223U/en not_active Expired - Fee Related
Cited By (1)
| Publication number | Priority date | Publication date | Assignee | Title |
|---|---|---|---|---|
| CN114703721A (en) * | 2022-03-11 | 2022-07-05 | 江苏顺联工程建设有限公司 | Small-size road roller is used in town road repair |
Similar Documents
| Publication | Publication Date | Title |
|---|---|---|
| CN208151134U (en) | A kind of water body in lake purification device | |
| CN108625451A (en) | A kind of sponge urban rainwater oozes row's structure and circulator | |
| CN211963223U (en) | A mobile landfill leachate treatment device | |
| CN208244188U (en) | A kind of sanitary sewage filter device | |
| CN209352687U (en) | A kind of wastewater treatment equipment | |
| CN112110608A (en) | High-efficient effluent treatment plant | |
| CN112316519B (en) | Utilize self potential energy to prevent purifier for sewage treatment who blocks up based on environmental protection | |
| CN208287579U (en) | A kind of sewage-treatment plant convenient for trapped dirt | |
| CN212214810U (en) | Sewage treatment equipment convenient for sundries cleaning | |
| CN208799869U (en) | A kind of medical sewage sedimentation basin | |
| CN220223628U (en) | Intelligent sewage treatment equipment capable of automatically discharging sewage | |
| CN209442768U (en) | A kind of Industrial Waste Water Treatments filter device | |
| CN216073409U (en) | Stainless steel water tank with filtering function | |
| CN206425280U (en) | A kind of box-type automobile speed changer high-efficient gear cleaning device | |
| CN210065400U (en) | Printing waste water purifies recycles device | |
| CN210385080U (en) | A sewage pretreatment device for sewage treatment | |
| CN221732669U (en) | A green construction device for house construction | |
| CN209024370U (en) | A kind of Ecological water environment processing system | |
| CN221412353U (en) | Integrated sewage equipment convenient to clearance | |
| CN221267236U (en) | Mud removing device for sedimentation tank | |
| CN217498974U (en) | Circulating industrial sewage treatment equipment | |
| CN220513549U (en) | Wastewater treatment equipment for environmental treatment | |
| CN211470972U (en) | Adjustable sewage treatment device | |
| CN208065875U (en) | Novel sewage handles grid | |
| CN215975428U (en) | Efficient biochemical treatment device for printing and dyeing wastewater |
Legal Events
| Date | Code | Title | Description |
|---|---|---|---|
| GR01 | Patent grant | ||
| GR01 | Patent grant | ||
| CF01 | Termination of patent right due to non-payment of annual fee | ||
| CF01 | Termination of patent right due to non-payment of annual fee |
Granted publication date: 20201120 |
