CN211909988U - 一种用于园林绿化的浇水装置 - Google Patents

一种用于园林绿化的浇水装置 Download PDF

Info

Publication number
CN211909988U
CN211909988U CN202020504487.8U CN202020504487U CN211909988U CN 211909988 U CN211909988 U CN 211909988U CN 202020504487 U CN202020504487 U CN 202020504487U CN 211909988 U CN211909988 U CN 211909988U
Authority
CN
China
Prior art keywords
support
base
connecting plate
lead screw
motor
Prior art date
Legal status (The legal status is an assumption and is not a legal conclusion. Google has not performed a legal analysis and makes no representation as to the accuracy of the status listed.)
Expired - Fee Related
Application number
CN202020504487.8U
Other languages
English (en)
Inventor
张志琼
Current Assignee (The listed assignees may be inaccurate. Google has not performed a legal analysis and makes no representation or warranty as to the accuracy of the list.)
Individual
Original Assignee
Individual
Priority date (The priority date is an assumption and is not a legal conclusion. Google has not performed a legal analysis and makes no representation as to the accuracy of the date listed.)
Filing date
Publication date
Application filed by Individual filed Critical Individual
Priority to CN202020504487.8U priority Critical patent/CN211909988U/zh
Application granted granted Critical
Publication of CN211909988U publication Critical patent/CN211909988U/zh
Expired - Fee Related legal-status Critical Current
Anticipated expiration legal-status Critical

Links

Images

Landscapes

  • Catching Or Destruction (AREA)
  • Nozzles (AREA)

Abstract

本实用新型公开了一种用于园林绿化的浇水装置,包括底座、支架和电机,所述底座上端左侧设有支架,支架上端设有电机,电机下端设有往复丝杆,往复丝杆下端设有割草刀片,所述往复丝杆上螺纹连接有升降块,升降块左端设有固定板,固定板左端设有连接板,连接板下侧设有两个转动座。本实用新型使用时,先将水箱内装满水,工作人员通过万向轮和推把推动至工作区域,水泵通过水管和喷头座将水箱内的水抽出,对装置两侧的园林植被进行浇水,操作较为方便,省时省力,电机带动往复丝杆和割草刀片转动,便于在浇水作业时,同时进行割草,功能较为齐全。

Description

一种用于园林绿化的浇水装置
技术领域
本实用新型涉及园林绿化技术领域,具体是一种用于园林绿化的浇水装置。
背景技术
园林绿化是在一定的地域运用工程技术和艺术手段,通过改造地形(或进一步筑山、叠石、理水)种植树木花草、营造建筑和布置园路等途径创作而成的美的自然环境和游憩境域,就称为园林。园林包括庭园、宅园、小游园、花园、公园、植物园、动物园等,随着园林学科的发展,还包括森林公园、风景名胜区、自然保护区或国家公园的游览区以及休养胜地。目前,园林中的植被需要定期进行浇水。
现有的园林绿化浇水装置在使用时,通常是工作人员手持浇水壶对园林植被进行浇水作业,此方法不仅费时费力,且功能较为单一,对工作效率造成一定的影响。因此,本实用新型提供了一种用于园林绿化的浇水装置,以解决上述提出的问题。
实用新型内容
本实用新型的目的在于提供一种用于园林绿化的浇水装置,以解决上述背景技术中提出的问题。
为实现上述目的,本实用新型提供如下技术方案:
一种用于园林绿化的浇水装置,包括底座、支架和电机,所述底座上端左侧设有支架,支架上端设有电机,电机下端设有往复丝杆,往复丝杆下端设有割草刀片,所述往复丝杆上螺纹连接有升降块,升降块左端设有固定板,固定板左端设有连接板,连接板下侧设有两个转动座,转动座上端对应连接板的正下方设有撞块,所述转动座上端远离撞块的一侧均设有喷头座,喷头座下端铰接有竖板,竖板下端固定连接支架,所述转动座下端相互靠近的一侧均设有弹簧,弹簧下端均设有支撑板,所述喷头座右端均连接有水管,水管上设有水泵,水泵右端连接有水箱。
作为本实用新型进一步的方案,所述往复丝杆均贯穿支架和底座,且往复丝杆上对应升降块设有限位板。
作为本实用新型再进一步的方案,所述支架上对应固定板设有限位槽,固定板左端对应连接板设有通槽,连接板插装在固定板内。
作为本实用新型再进一步的方案,所述喷头座远离撞块的一端上设有调节门,且喷头座上对应调节门设有卡槽,调节门与喷头座滑动连接。
作为本实用新型再进一步的方案,所述支架上对应支撑板设有通口,支撑板下端均设有轴承,轴承下端设有螺杆,螺杆安装在支架上,且支架与螺杆螺纹连接。
作为本实用新型再进一步的方案,所述底座右端设有推把,底座下端四角处均设有万向轮。
与现有技术相比,本实用新型的有益效果是:
1、本实用新型使用时,先将水箱内装满水,工作人员通过万向轮和推把推动至工作区域,水泵通过水管和喷头座将水箱内的水抽出,对装置两侧的园林植被进行浇水,操作较为方便,省时省力,电机带动往复丝杆和割草刀片转动,便于在浇水作业时,同时进行割草,功能较为齐全。
2、本实用新型使用时,往复丝杆带动升降块、固定板和连接板上下往复运动,使连接板不断的撞击下侧的撞块,弹簧起到转动座复位的作用,使转动座在竖板上不断的转动,从而扩大了喷头座的喷洒面积,提高工作效率,当需要将喷头座固定角度时,拉动连接板使其向固定板内收缩,使连接板远离撞块的上方,转动螺杆带动轴承、支撑板、弹簧和转动座上升或下降,使转动座带动喷头座在竖板上转动,便于调节固定喷头座的角度,使喷头座固定向一个方向进行浇水作业,适用性较广。
3、本实用新型使用时,拉动调节门可对喷头座的喷口进行遮挡,便于根据实际需要来调节喷头座的喷水大小,节约了水资源。
附图说明
图1为一种用于园林绿化的浇水装置的结构示意图。
图2为一种用于园林绿化的浇水装置中A处的结构示意图。
图3为一种用于园林绿化的浇水装置中转动座、喷头座和连接板的左侧结构示意图。
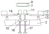
图中:1、底座;2、支架;3、电机;4、往复丝杆;5、割草刀片;6、升降块;7、固定板;8、限位槽;9、连接板;10、转动座;11、撞块;12、喷头座;13、竖板;14、弹簧;15、支撑板;16、轴承;17、螺杆;18、水管;19、水泵;20、水箱;21、推把;22、万向轮;23、调节门。
具体实施方式
下面将结合本实用新型实施例中的附图,对本实用新型实施例中的技术方案进行清楚、完整地描述,显然,所描述的实施例仅仅是本实用新型一部分实施例,而不是全部的实施例。基于本实用新型中的实施例,本领域普通技术人员在没有做出创造性劳动前提下所获得的所有其他实施例,都属于本实用新型保护的范围。
请参阅图1~3,本实用新型实施例中,一种用于园林绿化的浇水装置,包括底座1、支架2和电机3,所述底座1上端左侧设有支架2,支架2上端设有电机3,电机3下端设有往复丝杆4,往复丝杆4下端设有割草刀片5,所述往复丝杆4上螺纹连接有升降块6,所述往复丝杆4均贯穿支架2和底座1,且往复丝杆4上对应升降块6设有限位板,升降块6左端设有固定板7,固定板7左端设有连接板9,所述支架2上对应固定板7设有限位槽8,固定板7左端对应连接板9设有通槽,连接板9插装在固定板7内,连接板9下侧设有两个转动座10,转动座10上端对应连接板9的正下方设有撞块11,所述转动座10上端远离撞块11的一侧均设有喷头座12,所述喷头座12远离撞块11的一端上设有调节门23,且喷头座12上对应调节门23设有卡槽,调节门23与喷头座12滑动连接,喷头座12下端铰接有竖板13,竖板13下端固定连接支架2,所述转动座10下端相互靠近的一侧均设有弹簧14,弹簧14下端均设有支撑板15,所述支架2上对应支撑板15设有通口,支撑板15下端均设有轴承16,轴承16下端设有螺杆17,螺杆17安装在支架2上,且支架2与螺杆17螺纹连接,所述喷头座12右端均连接有水管18,水管18上设有水泵19,水泵19右端连接有水箱20,所述底座1右端设有推把21,底座1下端四角处均设有万向轮22。
本实用新型的工作原理是:
本实用新型使用时,先将水箱20内装满水,工作人员通过万向轮22和推把21推动至工作区域,水泵19通过水管18和喷头座12将水箱20内的水抽出,对装置两侧的园林植被进行浇水,操作较为方便,省时省力,电机3带动往复丝杆4和割草刀片5转动,便于在浇水作业时,同时进行割草,功能较为齐全,往复丝杆4带动升降块6、固定板7和连接板9上下往复运动,使连接板9不断的撞击下侧的撞块11,弹簧14起到转动座10复位的作用,使转动座10在竖板13上不断的转动,从而扩大了喷头座12的喷洒面积,提高工作效率,拉动调节门23可对喷头座12的喷口进行遮挡,便于根据实际需要来调节喷头座12的喷水大小,节约了水资源,当需要将喷头座12固定角度时,拉动连接板9使其向固定板7内收缩,使连接板9远离撞块11的上方,转动螺杆17带动轴承16、支撑板15、弹簧14和转动座10上升或下降,使转动座10带动喷头座12在竖板13上转动,便于调节固定喷头座12的角度,使喷头座12固定向一个方向进行浇水作业,适用性较广,本装置内的电机3和水泵19均通过内置蓄电池或外接电源线进行供电。
以上所述,仅为本实用新型较佳的具体实施方式,但本实用新型的保护范围并不局限于此,任何熟悉本技术领域的技术人员在本实用新型揭露的技术范围内,根据本实用新型的技术方案及其实用新型构思加以等同替换或改变,都应涵盖在本实用新型的保护范围之内。

Claims (6)

1.一种用于园林绿化的浇水装置,包括底座(1)、支架(2)和电机(3),其特征在于,所述底座(1)上端左侧设有支架(2),支架(2)上端设有电机(3),电机(3)下端设有往复丝杆(4),往复丝杆(4)下端设有割草刀片(5),所述往复丝杆(4)上螺纹连接有升降块(6),升降块(6)左端设有固定板(7),固定板(7)左端设有连接板(9),连接板(9)下侧设有两个转动座(10),转动座(10)上端对应连接板(9)的正下方设有撞块(11),所述转动座(10)上端远离撞块(11)的一侧均设有喷头座(12),喷头座(12)下端铰接有竖板(13),竖板(13)下端固定连接支架(2),所述转动座(10)下端相互靠近的一侧均设有弹簧(14),弹簧(14)下端均设有支撑板(15),所述喷头座(12)右端均连接有水管(18),水管(18)上设有水泵(19),水泵(19)右端连接有水箱(20)。
2.根据权利要求1所述的一种用于园林绿化的浇水装置,其特征在于,所述往复丝杆(4)均贯穿支架(2)和底座(1),且往复丝杆(4)上对应升降块(6)设有限位板。
3.根据权利要求1所述的一种用于园林绿化的浇水装置,其特征在于,所述支架(2)上对应固定板(7)设有限位槽(8),固定板(7)左端对应连接板(9)设有通槽,连接板(9)插装在固定板(7)内。
4.根据权利要求1所述的一种用于园林绿化的浇水装置,其特征在于,所述喷头座(12)远离撞块(11)的一端上设有调节门(23),且喷头座(12)上对应调节门(23)设有卡槽,调节门(23)与喷头座(12)滑动连接。
5.根据权利要求1所述的一种用于园林绿化的浇水装置,其特征在于,所述支架(2)上对应支撑板(15)设有通口,支撑板(15)下端均设有轴承(16),轴承(16)下端设有螺杆(17),螺杆(17)安装在支架(2)上,且支架(2)与螺杆(17)螺纹连接。
6.根据权利要求1所述的一种用于园林绿化的浇水装置,其特征在于,所述底座(1)右端设有推把(21),底座(1)下端四角处均设有万向轮(22)。
CN202020504487.8U 2020-04-09 2020-04-09 一种用于园林绿化的浇水装置 Expired - Fee Related CN211909988U (zh)

Priority Applications (1)

Application Number Priority Date Filing Date Title
CN202020504487.8U CN211909988U (zh) 2020-04-09 2020-04-09 一种用于园林绿化的浇水装置

Applications Claiming Priority (1)

Application Number Priority Date Filing Date Title
CN202020504487.8U CN211909988U (zh) 2020-04-09 2020-04-09 一种用于园林绿化的浇水装置

Publications (1)

Publication Number Publication Date
CN211909988U true CN211909988U (zh) 2020-11-13

Family

ID=73374749

Family Applications (1)

Application Number Title Priority Date Filing Date
CN202020504487.8U Expired - Fee Related CN211909988U (zh) 2020-04-09 2020-04-09 一种用于园林绿化的浇水装置

Country Status (1)

Country Link
CN (1) CN211909988U (zh)

Cited By (2)

* Cited by examiner, † Cited by third party
Publication number Priority date Publication date Assignee Title
CN112627155A (zh) * 2020-12-08 2021-04-09 望江县兴江新能源开发有限公司 一种园林绿化施工用打夯机
CN113333196A (zh) * 2021-05-28 2021-09-03 山东汉唐市政工程有限公司 一种用于园林绿化的喷雾装置及其使用方法

Cited By (2)

* Cited by examiner, † Cited by third party
Publication number Priority date Publication date Assignee Title
CN112627155A (zh) * 2020-12-08 2021-04-09 望江县兴江新能源开发有限公司 一种园林绿化施工用打夯机
CN113333196A (zh) * 2021-05-28 2021-09-03 山东汉唐市政工程有限公司 一种用于园林绿化的喷雾装置及其使用方法

Similar Documents

Publication Publication Date Title
CN211909988U (zh) 一种用于园林绿化的浇水装置
CN106179829B (zh) 一种园林树木用石灰浆高效喷涂装置
CN215223689U (zh) 一种景观工程用浇灌装置
CN217308591U (zh) 一种园林水体一体化综合循环控制系统
CN213938795U (zh) 一种用于市政园林绿化的板结土壤修复装置
CN112119789B (zh) 适用于乔灌树木的修复装置
CN208972231U (zh) 一种园林绿化工程节水灌溉装置
CN214545490U (zh) 一种用于城市绿化的花木种植装置
CN209403385U (zh) 一种园林绿化维护用除草设备
CN214282415U (zh) 一种节能环保的农业大棚
CN213187221U (zh) 一种园林绿化用草坪修剪装置
CN217791179U (zh) 一种园林苗木用园林高空药物喷洒装置
CN210900750U (zh) 一种园林绿化用环境优化装置
CN212065206U (zh) 一种园林绿化节水装置
CN210746346U (zh) 一种移动式风景园林用花卉保护棚
CN219698666U (zh) 一种园林绿化的滴灌设备
CN112627155A (zh) 一种园林绿化施工用打夯机
CN218218369U (zh) 一种园林绿化用草坪裁草设备
CN215957178U (zh) 一种园林绿化用草坪养护装置
CN220174260U (zh) 一种车载式园林绿化喷药装置
CN217591723U (zh) 一种便于调节的园林绿化用的喷淋装置
CN215582825U (zh) 一种生态园林环保灌溉装置
CN214676961U (zh) 一种适老化景观环境便捷式绿化系统
CN222532415U (zh) 一种园林花卉养护喷雾设备
CN222054141U (zh) 一种园林绿化工程施工用浇灌装置

Legal Events

Date Code Title Description
GR01 Patent grant
GR01 Patent grant
CF01 Termination of patent right due to non-payment of annual fee

Granted publication date: 20201113

CF01 Termination of patent right due to non-payment of annual fee