CN211707658U - A lithium ion electrolyte product barrel cleaning device - Google Patents
A lithium ion electrolyte product barrel cleaning device Download PDFInfo
- Publication number
- CN211707658U CN211707658U CN202020051071.5U CN202020051071U CN211707658U CN 211707658 U CN211707658 U CN 211707658U CN 202020051071 U CN202020051071 U CN 202020051071U CN 211707658 U CN211707658 U CN 211707658U
- Authority
- CN
- China
- Prior art keywords
- cleaning
- rotating shaft
- pipe
- connecting plate
- water inlet
- Prior art date
- Legal status (The legal status is an assumption and is not a legal conclusion. Google has not performed a legal analysis and makes no representation as to the accuracy of the status listed.)
- Active
Links
Images
Landscapes
- Cleaning In General (AREA)
Abstract
本实用新型涉及锂电池生产技术领域,公开了一种锂离子电解液成品桶清洗装置,包括清洗槽,清洗槽内设有清洗组件和支撑环板,清洗组件包括转轴、清洗内管、清洗毛刷和清洗外管;转轴上设有进水腔,转轴底端连接有旋转接头,清洗毛刷通过径向可调组件连接在转轴上;支撑环板通过可升降组件连接在清洗槽内壁上,支撑环板设于横管上方且设于转轴和竖管之间。本实用新型可以对不同高度、不同直径的电解液成品桶进行清洗,且清洗干净、彻底,无死角,效率高,自动化程度高,能节省人力劳动,降低人工成本,适用范围广,实用性强。
The utility model relates to the technical field of lithium battery production, and discloses a lithium ion electrolyte finished barrel cleaning device, comprising a cleaning tank, a cleaning component and a support ring plate are arranged in the cleaning tank, and the cleaning component includes a rotating shaft, a cleaning inner tube, a cleaning hair Brush and cleaning outer pipe; the rotating shaft is provided with a water inlet cavity, the bottom end of the rotating shaft is connected with a rotary joint, the cleaning brush is connected to the rotating shaft through a radially adjustable assembly; the support ring plate is connected to the inner wall of the cleaning tank through a lifting assembly, The support ring plate is arranged above the horizontal pipe and between the rotating shaft and the vertical pipe. The utility model can clean the finished electrolytic solution barrels of different heights and different diameters, and the cleaning is clean and thorough, without dead ends, high efficiency, high degree of automation, saving labor, reducing labor costs, wide application range, and strong practicability .
Description
技术领域technical field
本实用新型涉及锂电池生产技术领域,尤其涉及一种锂离子电解液成品桶清洗装置。The utility model relates to the technical field of lithium battery production, in particular to a lithium ion electrolyte finished product barrel cleaning device.
背景技术Background technique
电解液是锂电池组成的四大原材料之一,电解液的包装运输都有极高的环境要求,为保障电解液的品质,就必须保证电解液成品桶的清洁度。因此,电解液成品桶在使用前通常需要清洗,电解液成品桶清洗时需要对内壁和外壁都进行清洗,而内壁的清洗要求比外壁要高,现有的电解液成品桶大多是人工清洗,存在着清洗不彻底、清洗不均匀、效率低、工人劳动强度大的缺陷,不适用于现代生产需求。Electrolyte is one of the four major raw materials of lithium batteries. The packaging and transportation of electrolyte have extremely high environmental requirements. In order to ensure the quality of electrolyte, it is necessary to ensure the cleanliness of the finished electrolyte barrel. Therefore, the finished electrolyte tank usually needs to be cleaned before use. When cleaning the finished electrolyte tank, both the inner wall and the outer wall need to be cleaned, and the cleaning requirement of the inner wall is higher than that of the outer wall. Most of the existing electrolyte finished barrels are cleaned manually. There are defects of incomplete cleaning, uneven cleaning, low efficiency and high labor intensity of workers, which are not suitable for modern production needs.
实用新型内容Utility model content
为解决上述现有的技术问题,本实用新型提供了一种锂离子电解液成品桶清洗装置。In order to solve the above-mentioned existing technical problems, the utility model provides a lithium ion electrolyte product barrel cleaning device.
为实现上述目的,本实用新型提供如下技术方案:一种锂离子电解液成品桶清洗装置,包括清洗槽,所述清洗槽连接有排水管,清洗槽内设有清洗组件和支撑环板,所述清洗组件包括转轴、清洗内管、清洗毛刷和清洗外管;In order to achieve the above purpose, the utility model provides the following technical solutions: a lithium ion electrolyte finished product barrel cleaning device, comprising a cleaning tank, the cleaning tank is connected with a drain pipe, and the cleaning tank is provided with a cleaning component and a support ring plate, so The cleaning assembly includes a rotating shaft, a cleaning inner pipe, a cleaning brush and an outer cleaning pipe;
所述转轴转动密封连接在清洗槽底部内壁上,转轴上设有进水腔,转轴底端设有与进水腔连通的进水口,转轴底端贯穿清洗槽延伸至清洗槽外侧并连接有旋转接头,所述旋转接头的进口连接有清洗水管,出口与进水口连通,转轴连接有驱动机构;The rotating shaft is rotatably connected to the inner wall of the bottom of the cleaning tank, the rotating shaft is provided with a water inlet cavity, the bottom end of the rotating shaft is provided with a water inlet that communicates with the water inlet cavity, and the bottom end of the rotating shaft extends through the cleaning tank to the outside of the cleaning tank and is connected with a rotating shaft. a joint, the inlet of the rotary joint is connected with a cleaning water pipe, the outlet is connected with the water inlet, and the rotating shaft is connected with a driving mechanism;
所述清洗内管连接在转轴上部的一侧且与进水腔连通,清洗水管上设有清洗内喷头,所述清洗内喷头的喷射方向为上方或者转轴径向;The cleaning inner pipe is connected to one side of the upper part of the rotating shaft and communicated with the water inlet cavity, the cleaning water pipe is provided with a cleaning inner spray head, and the spraying direction of the cleaning inner spray head is upward or the radial direction of the rotating shaft;
所述清洗毛刷为倒L型,清洗毛刷上设有刷毛,清洗毛刷设于转轴上部的另一侧且通过径向可调组件连接在转轴上;The cleaning brush is of an inverted L shape, the cleaning brush is provided with bristles, the cleaning brush is arranged on the other side of the upper part of the rotating shaft and is connected to the rotating shaft through a radially adjustable component;
所述清洗外管包括横管和竖管,所述横管的一端连接在转轴上且与进水腔连通,所述竖管与横管的另一端连接且其上设有清洗外喷头;The cleaning outer pipe includes a horizontal pipe and a vertical pipe, one end of the horizontal pipe is connected to the rotating shaft and communicated with the water inlet cavity, and the vertical pipe is connected with the other end of the horizontal pipe and is provided with a cleaning outer nozzle;
所述支撑环板同轴设于转轴外侧且通过可升降组件连接在清洗槽内壁上,支撑环板设于横管上方且设于转轴和竖管之间。The support ring plate is coaxially arranged on the outside of the rotating shaft and is connected to the inner wall of the cleaning tank through a liftable assembly. The support ring plate is arranged above the horizontal pipe and between the rotating shaft and the vertical pipe.
优选地,所述可升降组件包括固定板、升降气缸,所述固定板连接在清洗槽顶部内壁上,所述升降气缸连接在固定板上,升降气缸的活塞杆与支撑环板连接。Preferably, the liftable assembly includes a fixed plate and a lift cylinder, the fixed plate is connected to the inner wall of the top of the cleaning tank, the lift cylinder is connected to the fixed plate, and the piston rod of the lift cylinder is connected to the support ring plate.
优选地,所述驱动机构包括驱动电机、第一锥齿轮、第二锥齿轮,所述驱动电机固定在清洗槽底端,所述第一锥齿轮与驱动电机的输出轴传动连接,所述第二锥齿轮同轴固定在转轴上且与第一锥齿轮啮合。Preferably, the drive mechanism includes a drive motor, a first bevel gear, and a second bevel gear, the drive motor is fixed at the bottom end of the cleaning tank, the first bevel gear is drivingly connected to the output shaft of the drive motor, and the first bevel gear is connected to the output shaft of the drive motor. The two bevel gears are coaxially fixed on the rotating shaft and mesh with the first bevel gear.
优选地,所述转轴上设有轴向的滑槽,所述径向可调组件包括交叉设置的第一连接板和第二连接板,第一连接板和第二连接板的交叉处通过销轴铰接,第一连接板的顶端与转轴的顶端铰接,底端铰接在清洗毛刷上,第二连接板的顶端与清洗毛刷铰接,底端铰接在滑块上,所述滑块与滑槽滑动配合且连接有电动伸缩杆,所述电动伸缩杆固定在转轴上。Preferably, an axial chute is provided on the rotating shaft, and the radially adjustable assembly includes a first connecting plate and a second connecting plate that are crossed, and a pin passes through the intersection of the first connecting plate and the second connecting plate. The shaft is hinged, the top end of the first connecting plate is hinged with the top end of the rotating shaft, the bottom end is hinged on the cleaning brush, the top end of the second connecting plate is hinged with the cleaning brush, and the bottom end is hinged on the slider, the slider is connected with the slider. The slot is slidably fitted and connected with an electric telescopic rod, and the electric telescopic rod is fixed on the rotating shaft.
本实用新型可以对不同高度、不同直径的电解液成品桶进行清洗,且清洗干净、彻底,无死角,效率高,自动化程度高,能节省人力劳动,降低人工成本,适用范围广,实用性强。The utility model can clean the finished electrolytic solution barrels of different heights and different diameters, and the cleaning is clean and thorough, with no dead ends, high efficiency, high degree of automation, labor saving, labor cost reduction, wide application range and strong practicability. .
附图说明Description of drawings
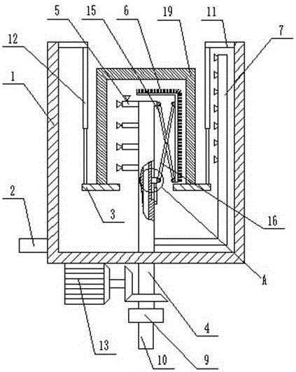
图1是本实施例的结构示意图。FIG. 1 is a schematic structural diagram of this embodiment.
图2是图1中A处放大示意图。FIG. 2 is an enlarged schematic view of the position A in FIG. 1 .
图中:1清洗槽、2排水管、3支撑环板、4转轴、5清洗内管、6清洗毛刷、7清洗外管、8进水腔、9旋转接头、10清洗水管、11固定板、12升降气缸、13驱动电机、14滑槽、15第一连接板、16第二连接板、17滑块、18电动伸缩杆、19电解液成品桶。In the picture: 1 cleaning tank, 2 drain pipe, 3 supporting ring plate, 4 rotating shaft, 5 cleaning inner pipe, 6 cleaning brush, 7 cleaning outer pipe, 8 water inlet cavity, 9 rotary joint, 10 cleaning water pipe, 11 fixing plate , 12 lifting cylinder, 13 driving motor, 14 chute, 15 first connecting plate, 16 second connecting plate, 17 sliding block, 18 electric telescopic rod, 19 electrolyte product barrel.
具体实施方式Detailed ways
下面结合附图进一步说明本实用新型的实施例。The embodiments of the present utility model are further described below in conjunction with the accompanying drawings.
实施例Example
参见图1-2,一种锂离子电解液成品桶19清洗装置,包括清洗槽1,所述清洗槽1连接有排水管2,清洗槽1内设有清洗组件和支撑环板3,所述清洗组件包括转轴4、清洗内管5、清洗毛刷6和清洗外管7。Referring to Fig. 1-2, a lithium ion electrolyte product barrel 19 cleaning device includes a cleaning tank 1, the cleaning tank 1 is connected with a drain pipe 2, and the cleaning tank 1 is provided with a cleaning component and a
所述转轴4转动密封连接在清洗槽1底部内壁上,转轴4上设有进水腔8,转轴4底端设有与进水腔8连通的进水口,转轴4底端贯穿清洗槽1延伸至清洗槽外侧并连接有旋转接头9,所述旋转接头9的进口连接有清洗水管10,出口与进水口连通,转轴4连接有驱动机构。The rotating
所述清洗内管5连接在转轴4上部的一侧且与进水腔8连通,清洗水管10上设有清洗内喷头,所述清洗内喷头的喷射方向为上方或者转轴4径向。The cleaning
所述清洗毛刷6为倒L型,清洗毛刷6上设有刷毛,清洗毛刷6设于转轴4上部的另一侧且通过径向可调组件连接在转轴4上。The
所述清洗外管7包括横管和竖管,所述横管的一端连接在转轴4上且与进水腔8连通,所述竖管与横管的另一端连接且其上设有清洗外喷头。The cleaning outer pipe 7 includes a horizontal pipe and a vertical pipe. One end of the horizontal pipe is connected to the rotating
所述支撑环板3同轴设于转轴4外侧且通过可升降组件连接在清洗槽1内壁上,支撑环板3设于横管上方且设于转轴4和竖管之间。The
所述可升降组件包括固定板11、升降气缸12,所述固定板11连接在清洗槽1顶部内壁上,所述升降气缸12连接在固定板11上,升降气缸12的活塞杆与支撑环板3连接。The liftable assembly includes a
所述驱动机构包括驱动电机13、第一锥齿轮、第二锥齿轮,所述驱动电机13固定在清洗槽1底端,所述第一锥齿轮与驱动电机13的输出轴传动连接,所述第二锥齿轮同轴固定在转轴4上且与第一锥齿轮啮合。The drive mechanism includes a
所述转轴4上设有轴向的滑槽14,所述径向可调组件包括交叉设置的第一连接板15和第二连接板16,第一连接板15和第二连接板16的交叉处通过销轴铰接,第一连接板15的顶端与转轴4的顶端铰接,底端铰接在清洗毛刷6上,第二连接板16的顶端与清洗毛刷6铰接,底端铰接在滑块17上,所述滑块17与滑槽14滑动配合且连接有电动伸缩杆18,所述电动伸缩杆18固定在转轴4上。The
本实用新型的工作原理:将待清洗的电解液成品桶19同轴放置在支撑环板3上,通过径向可调组件调节清洗毛刷6的位置,使得清洗毛刷6的刷毛与电解液成品桶19的内侧壁接触,然后启动驱动电机13,转轴4在驱动机构的带动下旋转,清洗水从清洗水管10通过旋转接头9进入转轴4的进水腔8内,从而进入清洗内管5和清洗外管7,最终从清洗内喷头和清洗外喷头喷出,对电解液成品桶19的内壁和外壁进行清洗,清洗后形成的污水流入清洗槽1内并从排水管2排出。清洗时,清洗内管5和清洗外管7随转轴4旋转,能够对电解液成品桶19的内壁和外壁进行均匀、彻底、无死角的清洗,清洗速度快,清洗效果好。同时,升降气缸12的活塞杆不断的收缩、伸出,带动支撑环板3不断升降,从而使得电解液成品桶19相对于清洗内管5和清洗外管7的竖直位置不断变化,进一步提高了清洗的均匀度,加快了清洗速度,改善了清洗效果。The working principle of the utility model is as follows: the finished electrolyte solution bucket 19 to be cleaned is coaxially placed on the
清洗时,清洗毛刷6上的刷毛对电解液成品桶19的内壁进行摩擦,将粘附在电解液成品桶19内壁的杂质刮掉,实现对电解液成品桶19内壁一边清洗一边刷除杂质的作用,清洗更加快速,并且保证了电解液成品桶19的清洁度。During cleaning, the bristles on the
清洗毛刷6设为倒L型,能够对电解液成品桶19内底壁和内侧壁接触摩擦,避免清洗死角。The
径向可调组件的作用原理:电动伸缩杆18伸出或者收缩,使得滑块17在滑槽14内沿着转轴4轴向向上或者向下运动,第一连接板15和第二连接板16之间的夹角随着滑块17的运动增大或者减小,从而使得清洗毛刷6与转轴4之间的距离增大或者减小,并且最终定位在与待清洗的电解液成品桶19的内径相匹配的位置。The working principle of the radially adjustable assembly: the electric
本实用新型中,径向可调组件的设置可对不同内径的电解液成品桶19进行刷洗,而支撑环板3通过可升降组件在清洗时升降,可对不同高度的电解液成品桶19进行清洗。In the present invention, the radially adjustable components are arranged so that the finished electrolyte solution barrels 19 with different inner diameters can be brushed, and the
本实用新型中,固定板11设于竖管上方,支撑环板3、升降气缸12均设于转轴4和竖管之间,当转轴4、竖管随转轴4旋转时,固定板11、支撑环板3和升降气缸12不会对转轴4和竖管造成阻碍。In the present invention, the fixing
以上已经描述了本实用新型的实施例,上述说明是示例性的,并非穷尽性的,并且也不限于所披露的实施例。在不偏离所说明实施例的范围和精神的情况下,对于本技术领域的普通技术人员来说许多修改和变更都是显而易见的。Embodiments of the present invention have been described above, and the foregoing description is exemplary, not exhaustive, and not limiting of the disclosed embodiments. Numerous modifications and variations will be apparent to those skilled in the art without departing from the scope and spirit of the described embodiments.
Claims (4)
Priority Applications (1)
| Application Number | Priority Date | Filing Date | Title |
|---|---|---|---|
| CN202020051071.5U CN211707658U (en) | 2020-01-10 | 2020-01-10 | A lithium ion electrolyte product barrel cleaning device |
Applications Claiming Priority (1)
| Application Number | Priority Date | Filing Date | Title |
|---|---|---|---|
| CN202020051071.5U CN211707658U (en) | 2020-01-10 | 2020-01-10 | A lithium ion electrolyte product barrel cleaning device |
Publications (1)
| Publication Number | Publication Date |
|---|---|
| CN211707658U true CN211707658U (en) | 2020-10-20 |
Family
ID=72822920
Family Applications (1)
| Application Number | Title | Priority Date | Filing Date |
|---|---|---|---|
| CN202020051071.5U Active CN211707658U (en) | 2020-01-10 | 2020-01-10 | A lithium ion electrolyte product barrel cleaning device |
Country Status (1)
| Country | Link |
|---|---|
| CN (1) | CN211707658U (en) |
Cited By (5)
| Publication number | Priority date | Publication date | Assignee | Title |
|---|---|---|---|---|
| CN112474670A (en) * | 2020-11-03 | 2021-03-12 | 徐天笑 | Medical medicine bottle belt cleaning device |
| CN112827973A (en) * | 2021-03-24 | 2021-05-25 | 深圳天明堂实业有限公司 | Slender container bottom wall cleaning equipment |
| CN114160532A (en) * | 2021-12-06 | 2022-03-11 | 湖南林宇科技发展有限公司 | Sanitation is clean with garbage bin cleaning equipment |
| CN114749445A (en) * | 2022-03-25 | 2022-07-15 | 浙江迦南科技股份有限公司 | Movable charging barrel cleaning device |
| CN114899518A (en) * | 2022-04-19 | 2022-08-12 | 江苏超威电源有限公司 | High-efficiency treatment and recovery device for electrolyte of lead storage battery of electric vehicle |
-
2020
- 2020-01-10 CN CN202020051071.5U patent/CN211707658U/en active Active
Cited By (6)
| Publication number | Priority date | Publication date | Assignee | Title |
|---|---|---|---|---|
| CN112474670A (en) * | 2020-11-03 | 2021-03-12 | 徐天笑 | Medical medicine bottle belt cleaning device |
| CN112827973A (en) * | 2021-03-24 | 2021-05-25 | 深圳天明堂实业有限公司 | Slender container bottom wall cleaning equipment |
| CN114160532A (en) * | 2021-12-06 | 2022-03-11 | 湖南林宇科技发展有限公司 | Sanitation is clean with garbage bin cleaning equipment |
| CN114749445A (en) * | 2022-03-25 | 2022-07-15 | 浙江迦南科技股份有限公司 | Movable charging barrel cleaning device |
| CN114899518A (en) * | 2022-04-19 | 2022-08-12 | 江苏超威电源有限公司 | High-efficiency treatment and recovery device for electrolyte of lead storage battery of electric vehicle |
| CN114899518B (en) * | 2022-04-19 | 2023-12-29 | 江苏超威电源有限公司 | High-efficient recovery unit that handles of electric motor car lead accumulator electrolyte |
Similar Documents
| Publication | Publication Date | Title |
|---|---|---|
| CN211707658U (en) | A lithium ion electrolyte product barrel cleaning device | |
| CN108311448A (en) | A mechanical parts cleaning device | |
| CN218655726U (en) | Parts cleaning device for electromechanical equipment | |
| CN216631958U (en) | Test tube cleaning device for food inspection | |
| CN210061503U (en) | Extrusion equipment for ceramic manufacture | |
| CN219805033U (en) | Rotary cleaning machine | |
| CN219820148U (en) | Cement paste agitated vessel | |
| CN217141595U (en) | Cleaning device for polysilicon storage tank equipment | |
| CN216501043U (en) | Cleaning device for large-scale equipment | |
| CN217393249U (en) | Instrument belt cleaning device is used in water paint production | |
| CN217527241U (en) | Be used for interior trim surface mixing stirring device that colors of decorations | |
| CN212703545U (en) | Conveniently discharge chemical drum belt cleaning device of sewage | |
| CN211359760U (en) | A car engine oil cylinder cleaning machine | |
| CN203599176U (en) | Electrolyte packing barrel cleaning device | |
| CN222766908U (en) | Storage barrel cleaning equipment | |
| CN222856233U (en) | A washing device for storing yeast tank | |
| CN223491511U (en) | Metal part cleaning machine | |
| CN223048389U (en) | A spraying device for decoration engineering | |
| CN219216207U (en) | Concrete additive production holding vessel convenient to it is clean | |
| CN218687088U (en) | Water paint filter equipment | |
| CN222679024U (en) | Chemical barrel cleaner | |
| CN219357090U (en) | A cleaning device convenient for the production of metal products | |
| CN215768621U (en) | PH detection device is used in blood products production | |
| CN217940654U (en) | Multi-station spraying device for surface treatment of metal products | |
| CN223789084U (en) | A cleaning device for quick-frozen food processing |
Legal Events
| Date | Code | Title | Description |
|---|---|---|---|
| GR01 | Patent grant | ||
| GR01 | Patent grant | ||
| TR01 | Transfer of patent right | ||
| TR01 | Transfer of patent right |
Effective date of registration: 20251130 Address after: 410604 No. 216, Jinyuan Road, Ningxiang high tech Industrial Park, Changsha City, Hunan Province Patentee after: Hunan farnlet New Energy Technology Co.,Ltd. Country or region after: China Address before: 454150 Henan Province Jiaozuo City Zhongzhan District Industrial Agglomeration Area West Park Patentee before: HENAN FAENLAITE NEW ENERGY TECHNOLOGY CO.,LTD. Country or region before: China |
