CN211645701U - Supporting positioner that uses of ironing equipment - Google Patents
Supporting positioner that uses of ironing equipment Download PDFInfo
- Publication number
- CN211645701U CN211645701U CN201922379977.XU CN201922379977U CN211645701U CN 211645701 U CN211645701 U CN 211645701U CN 201922379977 U CN201922379977 U CN 201922379977U CN 211645701 U CN211645701 U CN 211645701U
- Authority
- CN
- China
- Prior art keywords
- sleeve
- ironing
- rod
- sliding
- threaded
- Prior art date
- Legal status (The legal status is an assumption and is not a legal conclusion. Google has not performed a legal analysis and makes no representation as to the accuracy of the status listed.)
- Active
Links
- 238000010409 ironing Methods 0.000 title claims abstract description 59
- 238000003825 pressing Methods 0.000 claims description 9
- 239000004744 fabric Substances 0.000 description 14
- XEEYBQQBJWHFJM-UHFFFAOYSA-N Iron Chemical compound [Fe] XEEYBQQBJWHFJM-UHFFFAOYSA-N 0.000 description 6
- 238000010586 diagram Methods 0.000 description 4
- 229910052742 iron Inorganic materials 0.000 description 3
- 235000000396 iron Nutrition 0.000 description 2
- 230000032683 aging Effects 0.000 description 1
- 230000005540 biological transmission Effects 0.000 description 1
- 238000004891 communication Methods 0.000 description 1
- 238000005516 engineering process Methods 0.000 description 1
- 238000010438 heat treatment Methods 0.000 description 1
- 238000004519 manufacturing process Methods 0.000 description 1
- 238000000034 method Methods 0.000 description 1
- 238000012986 modification Methods 0.000 description 1
- 230000004048 modification Effects 0.000 description 1
Images
Landscapes
- Irons (AREA)
Abstract
本实用新型公开了一种熨烫设备配套用定位装置,属于熨烫技术领域,包括工作台、螺纹杆、导向杆、第二滑槽、液压杆、熨烫主体、连接杆和压辊,所述工作台的上方左侧设置有第一滑槽,螺纹杆上套接有螺纹套,螺纹套的右侧中间安装有滑杆;所述滑杆上安装有滑套,支撑板的上方安装有把手,把手上安装有防滑橡胶套;所述连接套的左右两侧安装有连接板,连接板远离连接套的一侧均设置有滑孔。本实用新型通过设置的摇把、螺纹杆和螺纹套之间的配合使用,能够带动滑杆前后移动,滑杆能够对熨烫主体起到定位的作用,使得熨烫主体从前到后依次熨烫,能够防止使用者手动移动造成同一部位重复熨烫,而导致熨烫不均匀。
The utility model discloses a positioning device for ironing equipment, belonging to the technical field of ironing. A first chute is arranged on the upper left side of the workbench, a threaded sleeve is sleeved on the threaded rod, and a sliding rod is installed in the middle of the right side of the threaded sleeve; a sliding sleeve is installed on the sliding rod, and a support plate is installed above the support plate. The handle has a non-slip rubber sleeve installed on the handle; connecting plates are installed on the left and right sides of the connecting sleeve, and sliding holes are arranged on the side of the connecting plate away from the connecting sleeve. The utility model can drive the sliding rod to move back and forth through the cooperating use of the provided rocker, the threaded rod and the threaded sleeve, and the sliding rod can play the role of positioning the ironing main body, so that the ironing main body can be ironed sequentially from front to back. , which can prevent the user from manually moving the same part and causing repeated ironing, resulting in uneven ironing.
Description
技术领域technical field
本实用新型属于熨烫技术领域,具体是一种熨烫设备配套用定位装置。The utility model belongs to the technical field of ironing, in particular to a positioning device for matching ironing equipment.
背景技术Background technique
熨烫设备是通过加热的方式对服装或者面料进行烫平的一种用具,能够使服装或者面料的表面变得更加美观,是日常生活中常用的家用电器之一,也是服装工厂必不可少的常见设备之一。现有的熨烫设备大多数结构比较单一,一般都是通过使用者握住熨烫设备的手柄在服装或者面料上进行来回的熨烫压平,但由于没有定位治具,经常有的区域熨烫好几遍,而有的区域漏熨,导致服装或者面料熨烫不均匀,熨烫效果不好,尤其是在服装工厂,重复熨烫会降低工作效率,且容易导致面料老化变形,影响生产出来的服装质量。Ironing equipment is an appliance that irons clothing or fabrics by heating, which can make the surface of clothing or fabrics more beautiful. It is one of the household appliances commonly used in daily life and is essential for clothing factories. One of the common devices. Most of the existing ironing equipment has a relatively simple structure. Generally, the user holds the handle of the ironing equipment to iron and flatten the garment or fabric back and forth. Ironing several times, and some areas are leaked, resulting in uneven ironing of clothing or fabrics, and poor ironing effect, especially in garment factories, repeated ironing will reduce work efficiency, and easily lead to aging and deformation of fabrics, affecting production. clothing quality.
实用新型内容Utility model content
本实用新型的目的在于提供一种熨烫设备配套用定位装置,以解决上述背景技术中提出的问题。The purpose of the present utility model is to provide a positioning device for ironing equipment, so as to solve the problems raised in the above-mentioned background technology.
为实现上述目的,本实用新型提供如下技术方案:To achieve the above object, the utility model provides the following technical solutions:
一种熨烫设备配套用定位装置,包括工作台、螺纹杆、导向杆、第二滑槽、液压杆、熨烫主体、连接杆和压辊,所述工作台的上方左侧设置有第一滑槽,工作台左侧的前后两侧安装有第一固定板,前后两侧的第一固定板之间安装有螺纹杆,螺纹杆与第一固定板之间安装有轴套,螺纹杆的前侧安装有摇把,螺纹杆上套接有螺纹套,工作台的上方右侧安装有第二固定板,第二固定板的左侧上方设置有第二滑槽,螺纹套的右侧中间安装有滑杆;所述滑杆上安装有滑套,滑套的前侧安装有支撑板,支撑板的上方安装有把手,把手上安装有防滑橡胶套,支撑板的下方安装液压杆,液压杆的下方套接有连接套,连接套的下方安装有熨烫主体;所述连接套的左右两侧安装有连接板,连接板远离连接套的一侧均设置有滑孔,滑孔内插接有连接杆,连接杆的上方设置有第二限位块,连接杆的中间安装有支撑块。A positioning device for ironing equipment, comprising a worktable, a threaded rod, a guide rod, a second chute, a hydraulic rod, an ironing body, a connecting rod and a pressing roller, and a first upper left side of the worktable is provided with a first The chute, the first fixing plate is installed on the front and rear sides of the left side of the worktable, the threaded rod is installed between the first fixing plate on the front and rear sides, the shaft sleeve is installed between the threaded rod and the first fixing plate, and the threaded rod is A crank handle is installed on the front side, a threaded sleeve is sleeved on the threaded rod, a second fixing plate is installed on the upper right side of the worktable, a second chute is arranged on the upper left side of the second fixing plate, and the middle of the right side of the threaded sleeve is installed A sliding rod is installed; a sliding sleeve is installed on the sliding rod, a support plate is installed on the front side of the sliding sleeve, a handle is installed above the support plate, a non-slip rubber sleeve is installed on the handle, and a hydraulic rod is installed below the support plate. A connecting sleeve is sleeved under the rod, and an ironing body is installed under the connecting sleeve; connecting plates are installed on the left and right sides of the connecting sleeve, and the side of the connecting plate away from the connecting sleeve is provided with sliding holes, and the sliding holes are inserted into the sliding holes. A connecting rod is connected, a second limit block is arranged above the connecting rod, and a support block is installed in the middle of the connecting rod.
作为本实用新型的进一步方案:所述螺纹套的下方安装有导向杆,导向杆的下方安装有第一滑块,第一滑块安装在第一滑槽上。As a further solution of the present invention, a guide rod is installed below the threaded sleeve, a first sliding block is installed below the guide rod, and the first sliding block is installed on the first chute.
作为本实用新型的进一步方案:所述滑杆的右侧安装有第二滑块,第二滑块安装在第二滑槽上。As a further solution of the present invention, a second sliding block is installed on the right side of the sliding rod, and the second sliding block is installed on the second chute.
作为本实用新型的进一步方案:所述液压杆的下方设置有第一限位块,第一限位块安装在连接套内,第一限位块的下方与连接套之间安装有第一弹簧。As a further solution of the present invention: a first limit block is arranged below the hydraulic rod, the first limit block is installed in the connecting sleeve, and a first spring is installed between the lower part of the first limit block and the connecting sleeve .
作为本实用新型的再进一步方案:所述支撑块和连接板之间安装有第二弹簧,连接杆的下方安装有压辊,压辊的高度低于熨烫主体的高度。As a further solution of the present invention, a second spring is installed between the support block and the connecting plate, a pressing roller is installed below the connecting rod, and the height of the pressing roller is lower than that of the ironing body.
与现有技术相比,本实用新型通过设置的摇把、螺纹杆和螺纹套之间的配合使用,能够带动滑杆前后移动,滑杆能够对熨烫主体起到定位的作用,使得熨烫主体从前到后依次熨烫,能够防止使用者手动移动造成同一部位重复熨烫,而导致熨烫不均匀;通过设置的第一弹簧能够对熨烫主体起到缓冲作用,防止液压杆的压力过大导致熨烫主体压坏面料;通过设置的压辊能够在熨烫主体进行熨烫时,将工作台上的面料进行推平并压紧,使熨烫效果更好。Compared with the prior art, the utility model can drive the sliding rod to move back and forth through the cooperation of the provided crank handle, the threaded rod and the threaded sleeve, and the sliding rod can play the role of positioning the ironing main body, so that the ironing can be done. The main body is ironed in sequence from front to back, which can prevent the user from manually moving the same part and causing repeated ironing, resulting in uneven ironing; the first spring provided can buffer the ironing main body and prevent the pressure of the hydraulic rod from being too high. When the ironing body is ironing, the set pressing roller can flatten and compress the fabric on the worktable, so that the ironing effect is better.
附图说明Description of drawings
图1为一种熨烫设备配套用定位装置的结构示意图。FIG. 1 is a schematic structural diagram of a positioning device for ironing equipment.
图2为一种熨烫设备配套用定位装置的俯视结构示意图。FIG. 2 is a schematic top-view structural diagram of a positioning device for ironing equipment.
图3为一种熨烫设备配套用定位装置的均布放大结构示意图。Fig. 3 is a schematic diagram of a uniformly distributed enlarged structure of a matching positioning device for ironing equipment.
图4为一种熨烫设备配套用定位装置中连接板和滑孔的俯视结构示意图。FIG. 4 is a schematic top-view structural diagram of a connecting plate and a sliding hole in a positioning device for ironing equipment.
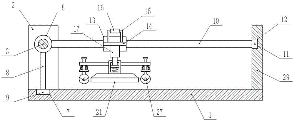
图中:1、工作台;2、第一固定板;3、螺纹杆;4、轴套;5、螺纹套;6、摇把;7、第一滑槽;8、导向杆;9、第一滑块;10、滑杆;11、第二滑块;12、第二滑槽;13、滑套;14、支撑板;15、把手;16、防滑橡胶套;17、液压杆;18、连接套;19、第一限位块;20、第一弹簧;21、熨烫主体;22、连接板;23、连接杆;24、第二限位块;25、支撑块;26、第二弹簧;27、压辊;28、滑孔;29、第二固定板。In the figure: 1. Workbench; 2. The first fixing plate; 3. Threaded rod; 4. Shaft sleeve; 5. Threaded sleeve; A slider; 10, sliding rod; 11, second slider; 12, second chute; 13, sliding sleeve; 14, support plate; 15, handle; 16, non-slip rubber sleeve; 17, hydraulic rod; 18, connecting sleeve; 19, first limit block; 20, first spring; 21, ironing body; 22, connecting plate; 23, connecting rod; 24, second limit block; 25, support block; 26, second Spring; 27, pressing roller; 28, sliding hole; 29, second fixing plate.
具体实施方式Detailed ways
下面结合具体实施方式对本专利的技术方案作进一步详细地说明。The technical solution of the present patent will be described in further detail below in conjunction with specific embodiments.
请参阅图1-4,一种熨烫设备配套用定位装置,包括工作台1、螺纹杆3、导向杆8、第二滑槽12、液压杆17、熨烫主体21、连接杆23和压辊27;所述工作台1的上方左侧设置有第一滑槽7,工作台1左侧的前后两侧安装有第一固定板2,前后两侧的第一固定板2之间安装有螺纹杆3,螺纹杆3与第一固定板2之间安装有轴套4,螺纹杆3的前侧安装有摇把6,螺纹杆3上套接有螺纹套5,螺纹套5的下方安装有导向杆8,导向杆8的下方安装有第一滑块9,第一滑块9安装在第一滑槽7上,通过逆时针或者顺时针转动摇把6能够带动螺纹杆3转动,通过螺纹杆3和螺纹套5之间的配合传动,能够使螺纹套5在螺纹杆3上前后往复移动,工作台1的上方右侧安装有第二固定板29,第二固定板29的左侧上方设置有第二滑槽12,螺纹套5的右侧中间安装有滑杆10,滑杆10的右侧安装有第二滑块11,第二滑块11安装在第二滑槽12上。Please refer to Figures 1-4, a positioning device for ironing equipment, including a work table 1, a threaded
所述滑杆10上安装有滑套13,滑套13的前侧安装有支撑板14,支撑板14的上方安装有把手15,把手15上安装有防滑橡胶套16,支撑板14的下方安装液压杆17,液压杆17的型号为MYT3-23,液压杆17的下方设置有第一限位块19,液压杆17的下方套接有连接套18,第一限位块19安装在连接套18内,第一限位块19的下方与连接套18之间安装有第一弹簧20,连接套18的下方安装有熨烫主体21,通过设置液压杆17能够上下调节熨烫主体21的位置,通过设置的第一弹簧20能够对熨烫主体21起到缓冲作用,防止液压杆17的压力过大导致熨烫主体21压坏面料。A
所述连接套18的左右两侧安装有连接板22,连接板22远离连接套18的一侧均设置有滑孔28,滑孔28内插接有连接杆23,连接杆23的上方设置有第二限位块24,连接杆23的中间安装有支撑块25,支撑块25和连接板22之间安装有第二弹簧26,连接杆23的下方安装有压辊27,压辊27的高度低于熨烫主体21的高度,通过设置压辊27能够在熨烫主体21进行熨烫时,将工作台1上的面料进行推平并压紧,使熨烫效果更好。A connecting
本实用新型在使用过程中,首先将需要熨烫的面料摊平放置在工作台1上,通过摇把6将螺纹套5移动至螺纹杆3的最前侧,然后通过液压杆17带动连接套18向下移动,连接套18带动熨烫主体21和连接板22向下移动,连接板22带动压辊27向下移动,压辊27先于熨烫主体21与工作台1上的面料接触,压辊27与面料接触后停止向下移动,熨烫主体21继续向下移动,当熨烫主体21与面料接触时对面料进行熨烫,此时操作人员用手握住把手15,从左向右匀速推动把手15,把手15带动熨烫主体21从左向右对面料进行熨烫,当熨烫主体21熨烫至最右侧时,转动摇把6,摇把6带动螺纹杆3转动,螺纹杆3带动螺纹套5向后侧移动一个熨烫主体21宽度的距离,然后再握住把手15从右向左移动,熨烫主体21从右向左对面料进行熨烫,以此依次从面料的前后向后侧进行熨烫。During the use of the utility model, the fabric to be ironed is firstly placed on the workbench 1, the threaded
在本实用新型的描述中,需要说明的是,除非另有明确的规定和限定,术语“安装”、“相连”、“连接”应做广义理解,例如,可以是固定连接,也可以是可拆卸连接,或一体地连接;可以是机械连接,也可以是电连接;可以是直接相连,也可以通过中间媒介间接相连,可以是两个元件内部的连通。对于本领域的普通技术人员而言,可以通过具体情况理解上述术语在本实用新型中的具体含义。In the description of the present invention, it should be noted that, unless otherwise expressly specified and limited, the terms "installed", "connected" and "connected" should be understood in a broad sense, for example, it may be a fixed connection or a connectable connection. Detachable connection, or integral connection; may be mechanical connection or electrical connection; may be direct connection, or indirect connection through an intermediate medium, or internal communication between two components. For those of ordinary skill in the art, the specific meanings of the above terms in the present invention can be understood through specific situations.
上面对本专利的较佳实施方式作了详细说明,但是本专利并不限于上述实施方式,在本领域的普通技术人员所具备的知识范围内,还可以在不脱离本专利宗旨的前提下作出各种变化。The preferred embodiments of the present patent have been described in detail above, but the present patent is not limited to the above-mentioned embodiments. Within the scope of knowledge possessed by those of ordinary skill in the art, various modifications can be made without departing from the purpose of the present patent. kind of change.
Claims (5)
Priority Applications (1)
| Application Number | Priority Date | Filing Date | Title |
|---|---|---|---|
| CN201922379977.XU CN211645701U (en) | 2019-12-26 | 2019-12-26 | Supporting positioner that uses of ironing equipment |
Applications Claiming Priority (1)
| Application Number | Priority Date | Filing Date | Title |
|---|---|---|---|
| CN201922379977.XU CN211645701U (en) | 2019-12-26 | 2019-12-26 | Supporting positioner that uses of ironing equipment |
Publications (1)
| Publication Number | Publication Date |
|---|---|
| CN211645701U true CN211645701U (en) | 2020-10-09 |
Family
ID=72699483
Family Applications (1)
| Application Number | Title | Priority Date | Filing Date |
|---|---|---|---|
| CN201922379977.XU Active CN211645701U (en) | 2019-12-26 | 2019-12-26 | Supporting positioner that uses of ironing equipment |
Country Status (1)
| Country | Link |
|---|---|
| CN (1) | CN211645701U (en) |
-
2019
- 2019-12-26 CN CN201922379977.XU patent/CN211645701U/en active Active
Similar Documents
| Publication | Publication Date | Title |
|---|---|---|
| CN204054923U (en) | A kind of clothes are automatically flat scalds machine | |
| CN108058478A (en) | A kind of flattening pressing device for garment production | |
| CN211645701U (en) | Supporting positioner that uses of ironing equipment | |
| CN209649728U (en) | A kind of novel Pyrograph machine | |
| CN203015295U (en) | Bending device for flexible circuit board | |
| CN211546976U (en) | Be used for suit preparation with removing wrinkle setting device | |
| CN206779276U (en) | A kind of integrated synthesis formula decompressor | |
| CN203957513U (en) | A kind of flat machine that scalds | |
| CN216708750U (en) | A finished product automatic marking machine for garment production | |
| CN207512457U (en) | Cold-hot integrated pressing mechanism | |
| CN210940920U (en) | Pyrography device for hot pressing of water-based paint | |
| CN208023254U (en) | A kind of auxiliary type gripper for taking socks on stocking board | |
| CN207449377U (en) | Flat boiling hot magnetic force head-shaking machine | |
| CN204450165U (en) | The stack burnishing device of conductor calendering formation machine | |
| CN209503571U (en) | A kind of handle operation fixture | |
| CN208698153U (en) | A kind of small silk screen printing equipment | |
| CN216274891U (en) | A garment ironing device | |
| CN220149885U (en) | Ironing device with limit structure | |
| CN221834063U (en) | Cloth wheel polishing machine | |
| CN221645337U (en) | Ironing and wrinkle-removing equipment for uniform fabric processing | |
| CN220116573U (en) | An anti-cracking embossing device | |
| CN221737365U (en) | Automatic printing device | |
| CN213866949U (en) | Jeans clothing production is with pressing boiling hot device | |
| CN220450529U (en) | An ironing device for casual pants production | |
| CN221816921U (en) | A portable laser cleaning machine |
Legal Events
| Date | Code | Title | Description |
|---|---|---|---|
| GR01 | Patent grant | ||
| GR01 | Patent grant | ||
| TR01 | Transfer of patent right | ||
| TR01 | Transfer of patent right |
Effective date of registration: 20250313 Address after: Room 2570, Building 7, No. 1197 Bin'an Road, Changhe Street, Binjiang District, Hangzhou City, Zhejiang Province 310000, China (Zhejiang) Pilot Free Trade Zone Patentee after: Hangzhou Yiliyun Clothing Technology Co.,Ltd. Country or region after: China Address before: 052360 South of Anding Street East Section, Xinji City, Shijiazhuang City, Hebei Province Patentee before: Shijiazhuang Baoyuan Clothing Co.,Ltd. Country or region before: China |
