CN211640791U - 15 degree track end cap mold processing - Google Patents
15 degree track end cap mold processing Download PDFInfo
- Publication number
- CN211640791U CN211640791U CN201922398960.9U CN201922398960U CN211640791U CN 211640791 U CN211640791 U CN 211640791U CN 201922398960 U CN201922398960 U CN 201922398960U CN 211640791 U CN211640791 U CN 211640791U
- Authority
- CN
- China
- Prior art keywords
- cavity
- die
- mold
- movable
- fixed
- Prior art date
- Legal status (The legal status is an assumption and is not a legal conclusion. Google has not performed a legal analysis and makes no representation as to the accuracy of the status listed.)
- Active
Links
Images
Landscapes
- Moulds For Moulding Plastics Or The Like (AREA)
Abstract
本实用新型公开了一种15度轨道堵头加工模具,包括动模和定模,动模紧密贴合定模,动模和定模相靠近的一面开有型腔,动模的型腔内固定安装有固定型芯,定模顶部两侧开有滑槽,滑槽连通型腔,滑槽内滑动卡接滑块,滑块的一端固定安装有活动型芯,活动型芯插入型腔内,滑块与定模和动模间安装有移动机构。动模靠近定模进行合模,型腔闭合,固定型芯位于型腔顶部,合模时移动机构推动滑块滑向型腔,使得活动型芯插入型腔底部,则固定型芯、活动型芯和型腔间一体注塑形成轨道堵头,加工方便,动模脱离定模进行开模时,移动机构同步带动滑块沿滑槽滑动远离型腔,从而使得活动型芯脱离型腔,便于取出成型后的堵头,使用方便。
The utility model discloses a 15-degree track plug processing die, which comprises a movable die and a fixed die. The movable die closely fits the fixed die, and a cavity is formed on the side of the movable die that is close to the fixed die. A fixed core is fixedly installed, and there are chutes on both sides of the top of the fixed die. The chutes are connected to the cavity. The sliding grooves slide and snap the slider. One end of the slider is fixedly installed with a movable core, and the movable core is inserted into the cavity. , A moving mechanism is installed between the slider, the fixed die and the movable die. The movable mold is close to the fixed mold for mold closing, the cavity is closed, and the fixed core is located at the top of the cavity. When the mold is closed, the moving mechanism pushes the slider to slide toward the cavity, so that the movable core is inserted into the bottom of the cavity. The core and the cavity are integrally injected to form a track plug, which is easy to process. When the movable mold is released from the fixed mold to open the mold, the moving mechanism synchronously drives the slider to slide away from the cavity along the chute, so that the movable core is separated from the cavity and is easy to take out. The formed plug is easy to use.
Description
技术领域technical field
本实用新型涉及轨道堵头加工技术领域,具体为一种15度轨道堵头加工模具。The utility model relates to the technical field of rail plug processing, in particular to a 15-degree rail plug processing mold.
背景技术Background technique
在安装窗帘、门帘等滑动件时常常需要使用一些C型轨道,轨道两端需要卡接15度轨道堵头,轨道堵头成型时常常会在外壁留有内凹的卡槽,用于卡接密封圈或者与螺栓连接,这些内凹卡槽在堵头成型时加工困难,难以一体成型,为此我们提出一种15度轨道堵头加工模具用于解决上述问题。When installing sliding parts such as curtains and door curtains, it is often necessary to use some C-shaped rails. Both ends of the rails need to be clamped with 15-degree rail plugs. When the rail plugs are formed, there are often concave grooves on the outer wall for clamping. Sealing rings or connecting with bolts, these concave grooves are difficult to process when the plug is formed, and it is difficult to integrally form. For this reason, we propose a 15-degree orbital plug processing mold to solve the above problems.
实用新型内容Utility model content
本实用新型的目的在于提供一种15度轨道堵头加工模具,以解决上述背景技术中提出的问题。The purpose of this utility model is to provide a 15-degree track plug processing die to solve the problems raised in the above-mentioned background technology.
为实现上述目的,本实用新型提供如下技术方案:一种15度轨道堵头加工模具,包括动模和定模,所述动模紧密贴合定模,所述动模和定模相靠近的一面开有型腔,所述动模的型腔内固定安装有固定型芯,所述动模顶部两侧开有滑槽,所述滑槽连通型腔,所述滑槽内滑动卡接滑块,所述滑块的一端固定安装有活动型芯,所述活动型芯插入型腔内,所述滑块与定模和动模间安装有移动机构。In order to achieve the above purpose, the utility model provides the following technical solutions: a 15-degree orbital plug processing die, including a movable die and a fixed die, the movable die closely fits the fixed die, and the movable die and the fixed die are close to each other. There is a cavity on one side, a fixed core is fixedly installed in the cavity of the movable mold, and a chute is opened on both sides of the top of the movable mold, the chute communicates with the cavity, and the chute is slidably clamped and connected to the slide. One end of the slider is fixedly installed with a movable core, the movable core is inserted into the cavity, and a moving mechanism is installed between the slider, the fixed mold and the movable mold.
优选的,所述定模靠近动模的一面四角处均开有导向孔,所述动模上固定安装有与导向孔相匹配的导向柱,所述固定型芯的侧壁设有15度倾角。Preferably, guide holes are provided at four corners of the side of the fixed mold close to the movable mold, guide posts matching the guide holes are fixedly installed on the movable mold, and the side wall of the fixed core is provided with an inclination angle of 15 degrees. .
优选的,所述滑槽的两端顶部开有阶梯槽,所述阶梯槽内通过沉头螺栓固定安装有压块,所述压块的一侧伸至滑槽内,且压块的外壁底部和滑槽侧壁底部间形成限位槽,所述滑块的两侧底部固定安装有限位板,所述限位板滑动卡接在限位槽内。Preferably, stepped grooves are formed at the tops of both ends of the chute, a pressure block is fixedly installed in the stepped groove by means of countersunk bolts, one side of the pressure block extends into the chute, and the bottom of the outer wall of the pressure block is at the bottom. A limit slot is formed between the bottom of the side wall of the chute and the bottom of both sides of the slider, a limit plate is fixedly installed on the bottom of both sides of the slider, and the limit plate is slidably clamped in the limit slot.
优选的,所述移动机构包括安装槽,所述动模的型腔两侧开有安装槽,所述安装槽内滑动卡接顶块,所述动模的顶部通过沉头螺栓连接顶块的顶面,所述滑槽底部的定模外壁通过沉头螺栓安装有固定块,所述固定块顶部开有导向槽,所述滑块远离型腔的一侧固定安装连接杆,所述连接杆滑动贯穿导向槽,所述连接杆远离滑块的一端通过螺纹结构套接压环,所述压环和固定块间的连接杆上套接弹簧,且弹簧的两端紧密压在压环和固定块上,所述滑块上开有上下贯穿的斜槽,所述斜槽与顶块的底部相匹配。Preferably, the moving mechanism includes an installation groove, and installation grooves are opened on both sides of the cavity of the movable mold, the top block is slidably clamped in the installation groove, and the top of the movable mold is connected to the top block through countersunk bolts. On the top surface, a fixing block is installed on the outer wall of the fixed mold at the bottom of the chute through countersunk bolts, a guide groove is opened on the top of the fixing block, and a connecting rod is fixedly installed on the side of the sliding block away from the cavity, and the connecting rod is Slide through the guide groove, the end of the connecting rod away from the slider is sleeved with the pressure ring through the threaded structure, the connecting rod between the pressure ring and the fixed block is sleeved with a spring, and the two ends of the spring are tightly pressed against the pressure ring and the fixed block. On the block, the sliding block is provided with an up and down oblique groove, and the inclined groove is matched with the bottom of the top block.
优选的,所述顶块的顶部与安装槽为相匹配的长方体结构,所述顶块的下部为与斜槽相匹配的倾斜结构,所述滑槽的底部开有与顶块底面向卡接的插槽,所述固定块为L型结构,所述弹簧始终处于压缩状态,且弹簧的内径等于连接杆的直径。Preferably, the top of the top block is a cuboid structure that matches the installation slot, the lower part of the top block is an inclined structure that matches the chute, and the bottom of the chute is provided with a bottom surface of the top block to be snapped together The fixed block is an L-shaped structure, the spring is always in a compressed state, and the inner diameter of the spring is equal to the diameter of the connecting rod.
与现有技术相比,本实用新型的有益效果是:动模靠近定模进行合模,导向柱卡接导向孔进行导向,随着动模逐渐靠近定模,移动机构同步推动滑块滑向型腔,最终型腔闭合,固定型芯位于型腔顶部,动型芯插入型腔底部,则固定型芯、活动型芯和型腔间一体注塑形成轨道堵头,加工方便;动模脱离定模进行开模时,顶块逐渐脱离滑块,则弹簧的弹力推动压环,使得连接杆拉动滑块,从而使得活动型芯脱离型腔,则活动型芯脱离堵头,便于取出成型后的堵头,使用方便。Compared with the prior art, the beneficial effect of the present utility model is that the movable mold is close to the fixed mold for mold clamping, the guide column is clamped to the guide hole for guidance, and as the movable mold gradually approaches the fixed mold, the moving mechanism synchronously pushes the sliding block to slide toward the fixed mold. Cavity, the final cavity is closed, the fixed core is located at the top of the cavity, and the movable core is inserted into the bottom of the cavity, then the fixed core, the movable core and the cavity are integrally injected to form a track plug, which is convenient for processing; When the mold is opened, the top block is gradually separated from the slider, and the elastic force of the spring pushes the pressure ring, so that the connecting rod pulls the slider, so that the movable core is separated from the cavity, and the movable core is separated from the plug, which is convenient for taking out the formed mold. Plug, easy to use.
附图说明Description of drawings
图1为本实用新型合模结构示意图;1 is a schematic diagram of the mold clamping structure of the present utility model;
图2为本实用新型定模处局部结构示意图;Fig. 2 is the partial structure schematic diagram of the fixed mold part of the present utility model;
图3为本实用新型合模剖面剖面结构示意图。FIG. 3 is a schematic diagram of the cross-sectional structure of the mold clamping section of the utility model.
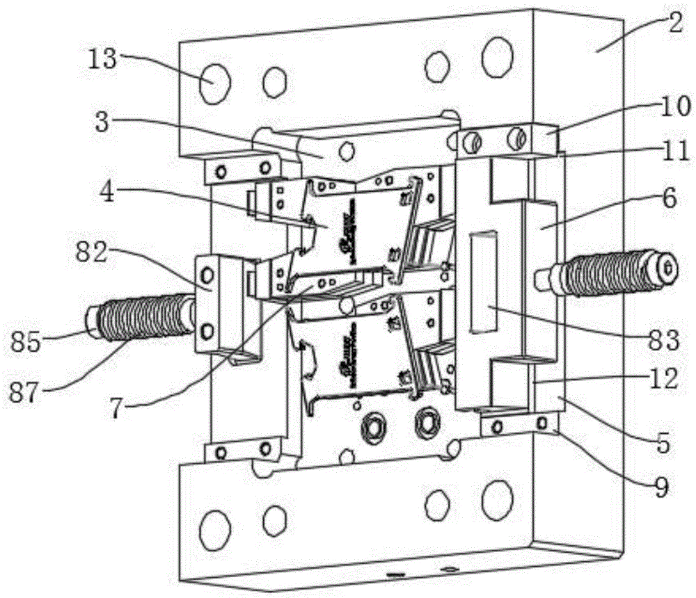
图中:1动模、2定模、3型腔、4固定型芯、5滑槽、6滑块、7活动型芯、 8移动机构、81安装槽、82顶块、83斜槽、84固定块、85压环、86连接杆、 87弹簧、88导向槽、9阶梯槽、10压块、11限位槽、12限位板、13导向孔。In the picture: 1 movable die, 2 fixed die, 3 cavity, 4 fixed core, 5 chute, 6 slider, 7 movable core, 8 moving mechanism, 81 installation slot, 82 top block, 83 inclined slot, 84 Fixed block, 85 pressure ring, 86 connecting rod, 87 spring, 88 guide groove, 9 step groove, 10 pressure block, 11 limit groove, 12 limit plate, 13 guide hole.
具体实施方式Detailed ways
下面将结合本实用新型实施例中的附图,对本实用新型实施例中的技术方案进行清楚、完整地描述,显然,所描述的实施例仅仅是本实用新型一部分实施例,而不是全部的实施例。基于本实用新型中的实施例,本领域普通技术人员在没有做出创造性劳动前提下所获得的所有其他实施例,都属于本实用新型保护的范围。The technical solutions in the embodiments of the present utility model will be clearly and completely described below with reference to the accompanying drawings in the embodiments of the present utility model. Obviously, the described embodiments are only a part of the embodiments of the present utility model, rather than all the implementations. example. Based on the embodiments of the present invention, all other embodiments obtained by those of ordinary skill in the art without creative work fall within the protection scope of the present invention.
请参阅图1-3,本实用新型提供一种技术方案:一种15度轨道堵头加工模具,包括动模1和定模2,动模1紧密贴合定模2,动模1和定模2相靠近的一面开有型腔3,动模1的型腔3内固定安装有固定型芯4,定模2顶部两侧开有滑槽5,滑槽5连通型腔3,滑槽5内滑动卡接滑块6,滑块6的一端固定安装有活动型芯7,活动型芯7插入型腔3内,滑块6与定模2和动模1间安装有移动机构8。动模1靠近定模2进行合模,型腔3闭合,固定型芯4位于型腔3顶部,合模时移动机构8推动滑块6滑向型腔3,使得活动型芯7插入型腔3底部,则固定型芯4、活动型芯7和型腔3间一体注塑形成轨道堵头,加工方便,动模 1脱离定模2进行开模时,移动机构8同步带动滑块6沿滑槽5滑动远离型腔3,从而使得活动型芯7脱离型腔3,便于取出成型后的堵头。1-3, the present utility model provides a technical solution: a 15-degree track plug processing mold, including a
定模2靠近动模1的一面四角处均开有导向孔13,动模1上固定安装有与导向孔13相匹配的导向柱,从而在合模时进行导向,固定型芯4的侧壁设有15 度倾角。There are
滑槽5的两端顶部开有阶梯槽9,阶梯槽9内通过沉头螺栓固定安装有压块 10,压块10的一侧伸至滑槽5内,且压块10的外壁底部和滑槽5侧壁底部间形成限位槽11,滑块6的两侧底部固定安装有限位板12,限位板12滑动卡接在限位槽11内,限位板12卡接限位槽11,从而使得滑块6只能沿滑槽5滑动,避免使用时滑块6脱离滑槽5,将压板10拆下即可将滑块6拆下,便于维修和更换。There are stepped
移动机构8包括安装槽81,动模1的型腔3两侧开有安装槽81,安装槽81 内滑动卡接顶块82,动模1的顶部通过沉头螺栓连接顶块82的顶面,滑槽5底部的定模2外壁通过沉头螺栓安装有固定块84,固定块84顶部开有导向槽88,滑块6远离型腔3的一侧固定安装连接杆86,连接杆86滑动贯穿导向槽88,连接杆86远离滑块6的一端通过螺纹结构套接压环85,压环85和固定块84间的连接杆86上套接弹簧87,且弹簧87的两端紧密压在压环85和固定块84上,滑块6上开有上下贯穿的斜槽83,斜槽83与顶块82的底部相匹配,顶块82的顶部与安装槽81为相匹配的长方体结构,顶块82的下部为与斜槽83相匹配的倾斜结构,滑槽5的底部开有与顶块82底面向卡接的插槽,固定块84为L型结构,弹簧87始终处于压缩状态,且弹簧87的内径等于连接杆86的直径,则顶块82顶部卡接安装槽81并通过螺栓固定,合模时,顶块82底部倾斜结构卡接斜槽83,随着动模1逐渐靠近定模2,则顶块82沿斜槽83下滑,从而推动滑块6滑向型腔3,压环85压缩弹簧87,活动型芯7插入型腔3内,从而便于轨道堵头成型,开模时,动模1脱离定模2,顶块82逐渐脱离滑块6,则弹簧 87的弹力推动压环85,使得连接杆86拉动滑块6,从而使得活动型芯7脱离型腔3,则活动型芯7脱离堵头,便于取出成型后的堵头。The
工作原理:本实用新型使用时,顶块82顶部卡接安装槽81并通过螺栓固定,动模1靠近定模2进行合模,导向柱卡接导向孔13进行导向,随着动模1 逐渐靠近定模2,则顶块82沿斜槽83下滑,从而推动滑块6滑向型腔3,压环 85压缩弹簧87,最终型腔3闭合,固定型芯4位于型腔3顶部,动型芯7插入型腔3底部,则固定型芯4、活动型芯7和型腔3间一体注塑形成轨道堵头,加工方便,动模1脱离定模2进行开模时,顶块82逐渐脱离滑块6,则弹簧87的弹力推动压环85,使得连接杆86拉动滑块6,从而使得活动型芯7脱离型腔3,则活动型芯7脱离堵头,便于取出成型后的堵头,使用方便。Working principle: When the utility model is used, the top of the
尽管已经示出和描述了本实用新型的实施例,对于本领域的普通技术人员而言,可以理解在不脱离本实用新型的原理和精神的情况下可以对这些实施例进行多种变化、修改、替换和变型,本实用新型的范围由所附权利要求及其等同物限定。Although the embodiments of the present invention have been shown and described, it will be understood by those skilled in the art that various changes and modifications can be made to these embodiments without departing from the principles and spirit of the present invention , alternatives and modifications, the scope of the present invention is defined by the appended claims and their equivalents.
Claims (5)
Priority Applications (1)
| Application Number | Priority Date | Filing Date | Title |
|---|---|---|---|
| CN201922398960.9U CN211640791U (en) | 2019-12-27 | 2019-12-27 | 15 degree track end cap mold processing |
Applications Claiming Priority (1)
| Application Number | Priority Date | Filing Date | Title |
|---|---|---|---|
| CN201922398960.9U CN211640791U (en) | 2019-12-27 | 2019-12-27 | 15 degree track end cap mold processing |
Publications (1)
| Publication Number | Publication Date |
|---|---|
| CN211640791U true CN211640791U (en) | 2020-10-09 |
Family
ID=72699864
Family Applications (1)
| Application Number | Title | Priority Date | Filing Date |
|---|---|---|---|
| CN201922398960.9U Active CN211640791U (en) | 2019-12-27 | 2019-12-27 | 15 degree track end cap mold processing |
Country Status (1)
| Country | Link |
|---|---|
| CN (1) | CN211640791U (en) |
Cited By (2)
| Publication number | Priority date | Publication date | Assignee | Title |
|---|---|---|---|---|
| CN113399646A (en) * | 2021-06-07 | 2021-09-17 | 腾创(宁波)模具制造有限公司 | Hub cover die |
| CN114166262A (en) * | 2021-11-26 | 2022-03-11 | 江苏驭芯传感器科技有限公司 | Sensor housing and die casting die thereof |
-
2019
- 2019-12-27 CN CN201922398960.9U patent/CN211640791U/en active Active
Cited By (2)
| Publication number | Priority date | Publication date | Assignee | Title |
|---|---|---|---|---|
| CN113399646A (en) * | 2021-06-07 | 2021-09-17 | 腾创(宁波)模具制造有限公司 | Hub cover die |
| CN114166262A (en) * | 2021-11-26 | 2022-03-11 | 江苏驭芯传感器科技有限公司 | Sensor housing and die casting die thereof |
Similar Documents
| Publication | Publication Date | Title |
|---|---|---|
| CN211640791U (en) | 15 degree track end cap mold processing | |
| CN110370565B (en) | A mixed oblique draw mechanism and injection mold | |
| CN203401700U (en) | Injection mold | |
| CN201140483Y (en) | Core-pulling structure of master mold slider | |
| CN201140480Y (en) | Secondary withdrawal slider structure | |
| CN110450359B (en) | Injection mold with interchangeable inserts | |
| CN209729641U (en) | insulator mold | |
| CN209350811U (en) | A single-action angled double-sided pull-out device | |
| CN209050982U (en) | A kind of mixing sliding block core-pulling mechanism and injection mold | |
| CN106738713A (en) | Core-drawing demoulding mechanism is slided outside the T-shaped piece of mechanical side of driving | |
| CN207522990U (en) | Miniature gas is cut | |
| CN106426776B (en) | A kind of injection mold of plastic elbow | |
| CN203567122U (en) | Mould ejection device | |
| CN108407226A (en) | The outside side core-pulling mechanism of diclinic and diclinic core-pulling die outward | |
| CN209748966U (en) | Novel door locking device for electrical cabinet | |
| CN103802242B (en) | Slide block drawing-out mechanism | |
| CN105773918B (en) | Mould with anticollision slider and sloping briquetting structure | |
| CN221255867U (en) | Concealed opening and closing plug-in unit for suspended ceiling position | |
| CN204799784U (en) | Angle steel open angle mold | |
| CN207723316U (en) | A rapid prototyping mold for shutters | |
| CN218111578U (en) | A kind of mold slider structure | |
| CN217944174U (en) | Side core-pulling mechanism | |
| CN218614965U (en) | Be applied to mould structure that rubber damper vulcanizes | |
| CN202952435U (en) | All-side core-pulling structure of mold | |
| CN206493529U (en) | an injection mold |
Legal Events
| Date | Code | Title | Description |
|---|---|---|---|
| GR01 | Patent grant | ||
| GR01 | Patent grant | ||
| TR01 | Transfer of patent right |
Effective date of registration: 20250606 Address after: 311300 Zhejiang Province Hangzhou City Lin'an District Banqiao Town Lingxi Village No.71 Small House (Self-declared) Patentee after: Hangzhou xiafeng Technology Co.,Ltd. Country or region after: China Address before: 215000 book collection Qianfeng, Qinfeng village, Mudu Town, Wuzhong District, Suzhou City, Jiangsu Province Patentee before: Suzhou Langyi Precision Electronic Technology Co.,Ltd. Country or region before: China |
|
| TR01 | Transfer of patent right |
