CN211584706U - Pediatric clinical transfusion protector - Google Patents
Pediatric clinical transfusion protector Download PDFInfo
- Publication number
- CN211584706U CN211584706U CN201921595941.9U CN201921595941U CN211584706U CN 211584706 U CN211584706 U CN 211584706U CN 201921595941 U CN201921595941 U CN 201921595941U CN 211584706 U CN211584706 U CN 211584706U
- Authority
- CN
- China
- Prior art keywords
- fixedly connected
- fixing plate
- pediatric clinical
- fixed plate
- protector
- Prior art date
- Legal status (The legal status is an assumption and is not a legal conclusion. Google has not performed a legal analysis and makes no representation as to the accuracy of the status listed.)
- Expired - Fee Related
Links
- 230000001012 protector Effects 0.000 title claims abstract description 17
- 238000001802 infusion Methods 0.000 claims abstract description 43
- 230000001681 protective effect Effects 0.000 abstract description 5
- 239000000243 solution Substances 0.000 description 5
- 238000000034 method Methods 0.000 description 4
- 230000000694 effects Effects 0.000 description 3
- 230000009286 beneficial effect Effects 0.000 description 2
- 208000003443 Unconsciousness Diseases 0.000 description 1
- 230000007812 deficiency Effects 0.000 description 1
- 238000010586 diagram Methods 0.000 description 1
- 201000010099 disease Diseases 0.000 description 1
- 208000037265 diseases, disorders, signs and symptoms Diseases 0.000 description 1
- 238000002347 injection Methods 0.000 description 1
- 239000007924 injection Substances 0.000 description 1
- 238000001990 intravenous administration Methods 0.000 description 1
- 238000012986 modification Methods 0.000 description 1
- 230000004048 modification Effects 0.000 description 1
- 230000000474 nursing effect Effects 0.000 description 1
- 238000002560 therapeutic procedure Methods 0.000 description 1
- XLYOFNOQVPJJNP-UHFFFAOYSA-N water Substances O XLYOFNOQVPJJNP-UHFFFAOYSA-N 0.000 description 1
Images
Landscapes
- Infusion, Injection, And Reservoir Apparatuses (AREA)
Abstract
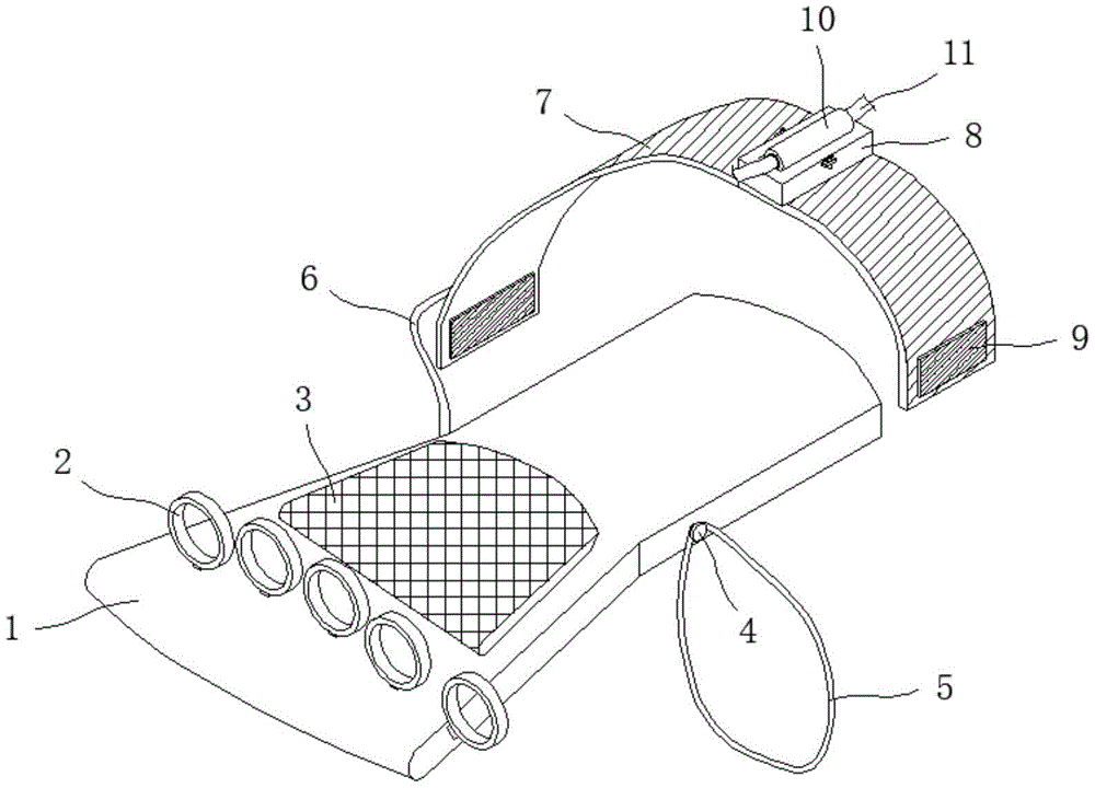
本实用新型公开了一种儿科临床输液保护器,包括固定板、指套、护垫和卡扣,所述固定板上表面的一侧固定连接有指套,所述指套的数量为五个,所述固定板上表面的另一侧固定连接有护垫,所述固定板的两侧均固定连接有卡扣,卡扣的数量为两个,其中一个所述卡扣的表面固定连接有橡皮筋,固定板的一侧固定连接有连接绳,连接绳远离固定板的一端固定连接有绑带。该儿科临床输液保护器,通过固定板、指套和护垫之间的配合设置能够将婴幼儿的手放置在固定板上面,从而便于护士进行输液扎针,同时护垫的设置,能够贴合婴幼儿的手掌,提高其使用舒适性,通过固定板、绑带和魔术贴之间的配合,能够通过绑带将固定板和手臂固定在一起。
The utility model discloses a pediatric clinical infusion protector, comprising a fixing plate, a finger cover, a protective pad and a buckle. One side of the upper surface of the fixing plate is fixedly connected with a finger cover, and the number of the finger cover is five , the other side of the upper surface of the fixing plate is fixedly connected with a protective pad, both sides of the fixing plate are fixedly connected with buckles, the number of buckles is two, and the surface of one of the buckles is fixedly connected with A rubber band, one side of the fixing plate is fixedly connected with a connecting rope, and one end of the connecting rope away from the fixing plate is fixedly connected with a strap. The pediatric clinical infusion protector can place the baby's hand on the fixing plate through the cooperation between the fixing plate, the finger cover and the protective pad, so as to facilitate the nurse to perform the infusion needle, and the pad can be set to fit the baby. The palm of the child can improve the comfort of use, and through the cooperation between the fixing plate, the strap and the Velcro, the fixing plate and the arm can be fixed together by the strap.
Description
技术领域technical field
本实用新型涉及医疗辅助器械技术领域,具体为一种儿科临床输液保护器。The utility model relates to the technical field of medical aids, in particular to a pediatric clinical infusion protector.
背景技术Background technique
输液又名打点滴或者挂水,是由静脉滴注输入体内的大剂量注射液,输液是治疗疾病的常用方法,输液治疗一股是将穿刺针头刺入患者的手部,由于手部的移动,特别是对于无意识的婴幼儿病人很容易造成针头扎偏,在输液的过程中有时会在挥动手臂时把针头直接甩掉,使输液无法进行,因此,在给婴幼儿病人输液时,医护人员或者病人家属必须进行看护,以免发生意外,如此则大大提高了护理的劳动强度,现有的一些对输液过程进行保护的措施往往是通过固定手臂来防止婴幼儿乱动,但是对手臂进行固定会使婴幼儿感到很大的不适,因此在输液过程中在不妨碍婴幼儿手臂移动的情况下,不会将针头甩掉尤为重要。Infusion, also known as drip or hanging water, is a large-dose injection injected into the body by intravenous drip. Infusion is a common method for treating diseases. Infusion therapy generally involves piercing the puncture needle into the patient's hand. Due to the movement of the hand, Especially for unconscious infant patients, it is easy to cause the needle to stick. In the process of infusion, the needle is sometimes thrown away when the arm is waved, so that the infusion cannot be carried out. Therefore, when giving infusion to infant patients, medical staff or The patient's family members must take care to avoid accidents, which greatly increases the labor intensity of nursing. Some existing measures to protect the infusion process are often to prevent the infant from tampering by fixing the arm. Infants and young children experience a great deal of discomfort, so it is especially important that the needle is not thrown off during the infusion without impeding the movement of the infant's arm.
实用新型内容Utility model content
(一)解决的技术问题(1) Technical problems solved
针对现有技术的不足,本实用新型提供了一种儿科临床输液保护器,解决了上述背景技术中提出的问题。In view of the deficiencies of the prior art, the utility model provides a pediatric clinical infusion protector, which solves the problems raised in the above-mentioned background technology.
(二)技术方案(2) Technical solutions
为实现以上目的,本实用新型通过以下技术方案予以实现:一种儿科临床输液保护器,包括固定板,所述固定板上表面的一侧固定连接有指套,所述指套的数量为五个,所述固定板上表面的另一侧固定连接有护垫,所述固定板的两侧均固定连接有卡扣,所述卡扣的数量为两个,其中一个所述卡扣的表面固定连接有橡皮筋,所述固定板的一侧固定连接有连接绳,所述连接绳远离固定板的一端固定连接有绑带。In order to achieve the above purpose, the present invention is achieved through the following technical solutions: a pediatric clinical infusion protector, comprising a fixing plate, one side of the upper surface of the fixing plate is fixedly connected with a finger cover, and the number of the finger cover is five. The other side of the upper surface of the fixing plate is fixedly connected with a pad, and both sides of the fixing plate are fixedly connected with buckles, the number of the buckles is two, and one of the surface of the buckles A rubber band is fixedly connected, a connecting rope is fixedly connected to one side of the fixing plate, and a binding band is fixedly connected to one end of the connecting rope away from the fixing plate.
可选的,所述绑带的表面固定连接有固定盒。Optionally, a fixing box is fixedly connected to the surface of the strap.
可选的,所述绑带的两端均固定连接有魔术贴。Optionally, both ends of the strap are fixedly connected with Velcro.
可选的,所述固定盒的内壁卡接有固定筒,所述固定筒的内壁固定连接有输液管。Optionally, a fixing cylinder is clamped on the inner wall of the fixing box, and an infusion tube is fixedly connected to the inner wall of the fixing cylinder.
可选的,所述固定盒的内侧壁活动连接有卡块。Optionally, a clamping block is movably connected to the inner side wall of the fixed box.
可选的,所述卡块的一侧固定连接有弹簧和拉动块。Optionally, a spring and a pulling block are fixedly connected to one side of the clamping block.
(三)有益效果(3) Beneficial effects
本实用新型提供了一种儿科临床输液保护器,具备以下有益效果:The utility model provides a pediatric clinical infusion protector, which has the following beneficial effects:
1、该儿科临床输液保护器,通过固定板、指套和护垫之间的配合设置能够将婴幼儿的手放置在固定板上面,从而便于护士进行输液扎针,同时护垫的设置,能够贴合婴幼儿的手掌,提高其使用舒适性。1. The pediatric clinical infusion protector can place the baby's hand on the fixed plate through the cooperation between the fixed plate, the finger cover and the protective pad, so as to facilitate the nurse to puncture the infusion needle. At the same time, the protective pad can be attached Fits the baby's palm to improve the comfort of use.
2、该儿科临床输液保护器,通过固定板、绑带和魔术贴之间的配合,能够通过绑带将固定板和手臂固定在一起,通过固定盒、卡块、弹簧、拉动块和固定筒之间的配合设置,能够通过卡块将固定筒进行卡接,从而固定输液管的位置,该装置通过固定输液管和手掌之间的相对位置,可以使婴幼儿能够对手臂进行小幅度的挥动,也不会影响输液的效果。2. The pediatric clinical infusion protector, through the cooperation between the fixing plate, the strap and the Velcro, can fix the fixing plate and the arm together through the strap, and can use the fixing box, the clamping block, the spring, the pulling block and the fixing cylinder. The cooperating arrangement between them can clamp the fixing cylinder through the clamping block, so as to fix the position of the infusion tube. By fixing the relative position between the infusion tube and the palm, the device can enable infants and young children to wave their arms in small amplitudes. , it will not affect the effect of infusion.
附图说明Description of drawings
图1为本实用新型结构示意图;Fig. 1 is the structural representation of the utility model;
图2为本实用新型固定筒的结构示意图;Fig. 2 is the structural representation of the utility model fixed cylinder;
图3为本实用新型固定盒的结构示意图;Fig. 3 is the structural representation of the utility model fixing box;
图4为本实用新型卡块的结构示意图。FIG. 4 is a schematic structural diagram of a clamping block of the present invention.
图中:1、固定板;2、指套;3、护垫;4、卡扣;5、橡皮筋;6、连接绳;7、绑带;8、固定盒;9、魔术贴;10、固定筒;11、输液管;12、卡块; 13、弹簧;14、拉动块。In the picture: 1. Fixing plate; 2. Finger cover; 3. Pad; 4. Buckle; 5. Rubber band; 6. Connecting rope; 7. Strap; 8. Fixing box; 9. Velcro; 10. Fixed cylinder; 11. Infusion tube; 12. Block; 13. Spring; 14. Pulling block.
具体实施方式Detailed ways
下面将结合本实用新型实施例中的附图,对本实用新型实施例中的技术方案进行清楚、完整地描述,显然,所描述的实施例仅仅是本实用新型一部分实施例,而不是全部的实施例。The technical solutions in the embodiments of the present utility model will be clearly and completely described below with reference to the accompanying drawings in the embodiments of the present utility model. Obviously, the described embodiments are only a part of the embodiments of the present utility model, rather than all the implementations. example.
请参阅图1至图4,本实用新型提供一种技术方案:一种儿科临床输液保护器,包括固定板1,固定板1上表面的一侧固定连接有指套2,指套2的数量为五个;Please refer to FIG. 1 to FIG. 4 , the present utility model provides a technical solution: a pediatric clinical infusion protector, comprising a
为了使该装置能够便于护士进行扎针,因此在固定板1上表面的另一侧固定连接有护垫3,通过固定板1、指套2和护垫3之间的配合设置能够将婴幼儿的手放置在固定板1上面,从而便于护士进行输液扎针,同时护垫3的设置,能够贴合婴幼儿的手掌,提高其使用舒适性,固定板1的两侧均固定连接有卡扣4,卡扣4的数量为两个,其中一个卡扣4的表面固定连接有橡皮筋5,固定板1的一侧固定连接有连接绳6,连接绳6远离固定板1的一端固定连接有绑带7,绑带7的表面固定连接有固定盒8,绑带7的两端均固定连接有魔术贴9,通过固定板1、绑带7和魔术贴9之间的配合,能够通过绑带 7将固定板1和手臂固定在一起;In order to make the device easy for nurses to puncture the needle, a
为了使该装置能够固定输液管11和手掌之间的相对位置,进而使婴幼儿能够移动手臂,且不影响输液的进行,因此在固定盒8的内壁卡接有固定筒 10,固定筒10的内壁固定连接有输液管11,固定盒8的内侧壁活动连接有卡块12,卡块12的一侧固定连接有弹簧13和拉动块14,通过固定盒8、卡块 12、弹簧13、拉动块14和固定筒10之间的配合设置,能够通过卡块12将固定筒10进行卡接,从而固定输液管11的位置,该装置通过固定输液管11和手掌之间的相对位置,可以使婴幼儿能够对手臂进行小幅度的挥动,也不会影响输液的效果。In order to enable the device to fix the relative position between the
综上所述,该儿科临床输液保护器,使用时,通过固定板1、指套2和护垫3之间的配合设置能够将婴幼儿的手放置在固定板1上面,从而便于护士进行输液扎针,同时护垫3的设置,能够贴合婴幼儿的手掌,提高其使用舒适性,通过固定板1、绑带7和魔术贴9之间的配合,能够通过绑带7将固定板1和手臂固定在一起,通过固定盒8、卡块12、弹簧13、拉动块14和固定筒10之间的配合设置,能够通过卡块12将固定筒10进行卡接,从而固定输液管11的位置,该装置通过固定输液管11和手掌之间的相对位置,可以使婴幼儿能够对手臂进行小幅度的挥动,也不会影响输液的效果。To sum up, the pediatric clinical infusion protector, when in use, can place the baby's hand on the fixing
以上所述,仅为本实用新型较佳的具体实施方式,但本实用新型的保护范围并不局限于此,任何熟悉本技术领域的技术人员在本实用新型揭露的技术范围内,根据本实用新型的技术方案及其实用新型构思加以等同替换或改变,都应涵盖在本实用新型的保护范围之内。The above description is only a preferred embodiment of the present invention, but the protection scope of the present invention is not limited to this. Equivalent replacement or modification of the new technical solution and its utility model concept shall be included within the protection scope of the present utility model.
Claims (6)
Priority Applications (1)
| Application Number | Priority Date | Filing Date | Title |
|---|---|---|---|
| CN201921595941.9U CN211584706U (en) | 2019-09-24 | 2019-09-24 | Pediatric clinical transfusion protector |
Applications Claiming Priority (1)
| Application Number | Priority Date | Filing Date | Title |
|---|---|---|---|
| CN201921595941.9U CN211584706U (en) | 2019-09-24 | 2019-09-24 | Pediatric clinical transfusion protector |
Publications (1)
| Publication Number | Publication Date |
|---|---|
| CN211584706U true CN211584706U (en) | 2020-09-29 |
Family
ID=72575954
Family Applications (1)
| Application Number | Title | Priority Date | Filing Date |
|---|---|---|---|
| CN201921595941.9U Expired - Fee Related CN211584706U (en) | 2019-09-24 | 2019-09-24 | Pediatric clinical transfusion protector |
Country Status (1)
| Country | Link |
|---|---|
| CN (1) | CN211584706U (en) |
Cited By (1)
| Publication number | Priority date | Publication date | Assignee | Title |
|---|---|---|---|---|
| CN115252960A (en) * | 2022-07-28 | 2022-11-01 | 黄石市中心医院 | Infusion pulling-prevention assembly for internal medicine |
-
2019
- 2019-09-24 CN CN201921595941.9U patent/CN211584706U/en not_active Expired - Fee Related
Cited By (1)
| Publication number | Priority date | Publication date | Assignee | Title |
|---|---|---|---|---|
| CN115252960A (en) * | 2022-07-28 | 2022-11-01 | 黄石市中心医院 | Infusion pulling-prevention assembly for internal medicine |
Similar Documents
| Publication | Publication Date | Title |
|---|---|---|
| CN211584706U (en) | Pediatric clinical transfusion protector | |
| CN206777584U (en) | For the indwelling needle device of child infusion | |
| CN206745692U (en) | A kind of pediatric transfusion device being easy to be fixed on arm | |
| CN204972514U (en) | Children keep somewhere needle fixing device | |
| CN205867220U (en) | Needle is kept somewhere to vein that can fix by oneself | |
| CN211934187U (en) | Auxiliary hemostatic clamp for transfusion | |
| CN211096646U (en) | A new type of infusion puncture device for infectious diseases | |
| CN107320814A (en) | A kind of remaining needle fixes protection bandage | |
| CN209630343U (en) | A kind of paediatrics head indwelling drug administration device | |
| CN205964607U (en) | Medical catheter fixing device | |
| CN206045077U (en) | A kind of anti-slip visual glove of infantile infusion | |
| CN205994806U (en) | The disposable portable fixing bag of analgesia pump | |
| CN203196096U (en) | Infant infusion fixator | |
| CN216496845U (en) | Paediatrics is with keeping somewhere needle auxiliary fixation structure | |
| CN217244621U (en) | Special tourniquet of neonate | |
| CN203075382U (en) | Intravenous infusion fixation protection device | |
| CN216258571U (en) | Retaining needle fixing sleeve | |
| CN217793971U (en) | Novel remaining needle fixing device | |
| CN210057015U (en) | Hand fixing device for indwelling needle of child | |
| CN202236799U (en) | External fixator for internal jugular vein catheter | |
| CN210750587U (en) | Head Intravenous Fixation Device for Pediatric Nursing | |
| CN211485995U (en) | Sock-type indwelling needle protector | |
| CN202478303U (en) | Venous indwelling needle protection sleeve | |
| CN212940870U (en) | A Novel Fixing Device for Pediatric Scalp Indwelling Needle | |
| CN210096418U (en) | Clip-on Nasal Feeding Tube Holder |
Legal Events
| Date | Code | Title | Description |
|---|---|---|---|
| GR01 | Patent grant | ||
| GR01 | Patent grant | ||
| CF01 | Termination of patent right due to non-payment of annual fee |
Granted publication date: 20200929 Termination date: 20210924 |
|
| CF01 | Termination of patent right due to non-payment of annual fee |
