CN211584425U - Degassing unit for internal medicine - Google Patents
Degassing unit for internal medicine Download PDFInfo
- Publication number
- CN211584425U CN211584425U CN201920847933.2U CN201920847933U CN211584425U CN 211584425 U CN211584425 U CN 211584425U CN 201920847933 U CN201920847933 U CN 201920847933U CN 211584425 U CN211584425 U CN 211584425U
- Authority
- CN
- China
- Prior art keywords
- box
- ozone generator
- vacuum pump
- outlet pipe
- liquid storage
- Prior art date
- Legal status (The legal status is an assumption and is not a legal conclusion. Google has not performed a legal analysis and makes no representation as to the accuracy of the status listed.)
- Expired - Fee Related
Links
- 239000003814 drug Substances 0.000 title claims abstract description 12
- 238000007872 degassing Methods 0.000 title 1
- CBENFWSGALASAD-UHFFFAOYSA-N Ozone Chemical compound [O-][O+]=O CBENFWSGALASAD-UHFFFAOYSA-N 0.000 claims abstract description 47
- 239000007788 liquid Substances 0.000 claims abstract description 28
- 238000004659 sterilization and disinfection Methods 0.000 claims abstract description 27
- 239000007921 spray Substances 0.000 claims abstract description 9
- 230000001954 sterilising effect Effects 0.000 claims abstract description 8
- XLYOFNOQVPJJNP-UHFFFAOYSA-N water Substances O XLYOFNOQVPJJNP-UHFFFAOYSA-N 0.000 claims description 12
- 238000004891 communication Methods 0.000 claims description 3
- 238000004140 cleaning Methods 0.000 abstract description 5
- 244000052616 bacterial pathogen Species 0.000 abstract description 4
- MHAJPDPJQMAIIY-UHFFFAOYSA-N Hydrogen peroxide Chemical compound OO MHAJPDPJQMAIIY-UHFFFAOYSA-N 0.000 description 8
- 239000007789 gas Substances 0.000 description 8
- 238000001356 surgical procedure Methods 0.000 description 3
- 239000011148 porous material Substances 0.000 description 2
- 238000007789 sealing Methods 0.000 description 2
- 230000009385 viral infection Effects 0.000 description 2
- QVGXLLKOCUKJST-UHFFFAOYSA-N atomic oxygen Chemical compound [O] QVGXLLKOCUKJST-UHFFFAOYSA-N 0.000 description 1
- 230000003796 beauty Effects 0.000 description 1
- 230000009286 beneficial effect Effects 0.000 description 1
- 230000000903 blocking effect Effects 0.000 description 1
- 239000000919 ceramic Substances 0.000 description 1
- 238000011109 contamination Methods 0.000 description 1
- 239000000645 desinfectant Substances 0.000 description 1
- 238000010586 diagram Methods 0.000 description 1
- 238000007599 discharging Methods 0.000 description 1
- 230000000694 effects Effects 0.000 description 1
- 230000007774 longterm Effects 0.000 description 1
- 238000012423 maintenance Methods 0.000 description 1
- 238000000034 method Methods 0.000 description 1
- 239000001301 oxygen Substances 0.000 description 1
- 229910052760 oxygen Inorganic materials 0.000 description 1
- 229910001220 stainless steel Inorganic materials 0.000 description 1
- 239000010935 stainless steel Substances 0.000 description 1
Images
Landscapes
- Apparatus For Disinfection Or Sterilisation (AREA)
Abstract
本实用新型提供的一种内科用消毒装置,包括箱体和臭氧发生器,箱体上面设置臭氧发生室,臭氧发生室内设有臭氧发生器,臭氧发生器出气管和箱体内部连接,臭氧发生器旁边设置真空泵,真空泵出气管和箱体外连接,真空泵进气管和箱体内连接,箱体下部设置储液室。本实用新型内科用消毒装置,能够利用几轮抽真空实现衣服内部吸附气体交换,从而带出衣服内部的病菌被彻底消毒,利用臭氧发生器实施适时消毒,保证了手术服装安全卫生,而且利用喷淋机构对装置内部彻底清洗,方便了对装置本身的清洁,解决了装置本身容易脏污的问题,在医疗领域具有广泛的适用性。
The utility model provides a sterilizing device for internal medicine, comprising a box body and an ozone generator, an ozone generating chamber is arranged on the box body, an ozone generator is arranged in the ozone generating chamber, an outlet pipe of the ozone generator is connected with the inside of the box body, and an ozone generating chamber is provided. A vacuum pump is arranged beside the device, the outlet pipe of the vacuum pump is connected with the outside of the box, the inlet pipe of the vacuum pump is connected with the inside of the box, and a liquid storage chamber is arranged at the lower part of the box. The disinfection device for internal medicine of the utility model can realize the exchange of adsorbed gas inside the clothes by several rounds of vacuuming, so that the germs brought out of the clothes are thoroughly disinfected, and the ozone generator is used to carry out timely disinfection, which ensures the safety and hygiene of the surgical clothes, and the use of spray The shower mechanism thoroughly cleans the inside of the device, which facilitates the cleaning of the device itself, solves the problem that the device itself is easily dirty, and has wide applicability in the medical field.
Description
技术领域technical field
本实用新型涉及医疗器械领域,具体的,本实用新型涉及一种消毒装置。The utility model relates to the field of medical instruments, in particular to a sterilizing device.
背景技术Background technique
内科手术较多,手术服都需要经过专门消毒才能使用。现在所用的消毒工具大多是衣服消毒柜,为手术时刻准备着消毒好使用的衣物,目前的衣物消毒柜是指通过紫外线、臭氧低温消毒等方式,给内衣、内裤等贴身衣物以及外衣外套、床单被褥、医生工作服、美容美发用具、医疗器械等物品进行杀菌消毒、的工具。外形一般为柜箱状,柜身大部分材质为不锈钢。消毒柜为中国发明首创的电器产品,广泛用于家庭、酒店宾馆、学校、部队等场所。There are many medical operations, and surgical gowns need to be specially sterilized before they can be used. Most of the disinfection tools used now are clothes disinfection cabinets. Clothes that are ready to be sterilized at the moment of surgery are prepared. The current clothes disinfection cabinet refers to the disinfection of underwear, underwear and other intimate clothing, as well as outer coats, bed sheets, etc. through ultraviolet and ozone low-temperature disinfection. It is a tool for sterilization and disinfection of bedding, doctor's work clothes, beauty salon appliances, medical equipment and other items. The shape is generally cabinet box-like, and most of the cabinet body is made of stainless steel. Sterilizers are the first electrical products invented in China and are widely used in homes, hotels, schools, troops and other places.
但是现有的消毒柜不能进行气体交换,对衣物毛孔中的病菌不能有效杀死,而且也没有对柜体内部进行清洁的结构,使得消毒结束后长期悬挂衣物还会造成病毒侵染,对安全手术造成隐患。However, the existing disinfection cabinet cannot perform gas exchange, and cannot effectively kill the germs in the pores of the clothes, and there is no structure for cleaning the inside of the cabinet, so that hanging clothes for a long time after disinfection will cause virus infection, which is not safe for safety. Surgery creates hidden dangers.
实用新型内容Utility model content
本实用新型针对现有的消毒柜不能进行气体交换,对衣物毛孔中的病菌不能有效杀死,而且也没有对柜体里面清洁的结构,使得消毒结束后长期悬挂衣物还会造成病毒侵染,为手术造成隐患的技术问题,本实用新型提供了一种内科用消毒装置,利用臭氧发生器提供臭氧为衣物进行消毒清洁,利用抽真空的机构通过几次抽真空循环保证衣物内外都被彻底消毒,而且能够对消毒装置内部本身进行消毒,在医疗领域具有广泛的适用性。Aiming at the existing disinfection cabinet, the utility model cannot perform gas exchange, cannot effectively kill germs in the pores of clothes, and has no structure for cleaning the inside of the cabinet, so that long-term hanging of clothes after disinfection will cause virus infection. For the technical problem of hidden dangers caused by surgery, the utility model provides a disinfection device for internal medicine, which uses an ozone generator to provide ozone to disinfect and clean clothes, and uses a vacuuming mechanism to ensure that the clothes are thoroughly disinfected inside and outside through several vacuuming cycles. , and can sterilize the interior of the sterilization device itself, which has wide applicability in the medical field.
为实现上述目的,本实用新型提供以下技术方案:For achieving the above object, the utility model provides the following technical solutions:
本实用新型提供的一种内科用消毒装置,包括箱体和臭氧发生器,箱体上面设置臭氧发生室,臭氧发生室内设有臭氧发生器,臭氧发生器出气管和箱体内部连接,臭氧发生器旁边设置真空泵,真空泵出气管和箱体外连接,真空泵进气管和箱体内连接,箱体下部设置储液室。The utility model provides a disinfection device for internal medicine, comprising a box body and an ozone generator, an ozone generation chamber is arranged on the box body, an ozone generator is arranged in the ozone generation chamber, an outlet pipe of the ozone generator is connected with the inside of the box body, and an ozone generation chamber is provided. A vacuum pump is arranged beside the device, the outlet pipe of the vacuum pump is connected with the outside of the box, the inlet pipe of the vacuum pump is connected with the inside of the box, and a liquid storage chamber is arranged at the lower part of the box.
本实用新型中,储液室设有和储液室外侧连通的进入管,进入管伸入储液室底部。In the utility model, the liquid storage chamber is provided with an inlet pipe communicating with the outside of the liquid storage chamber, and the inlet pipe extends into the bottom of the liquid storage chamber.
本实用新型中,储液室和箱体之间设有连通孔。In the utility model, a communication hole is arranged between the liquid storage chamber and the box body.
本实用新型中,箱体上部设有喷头,储液室内设有水泵,水泵和喷头通过水管连接。In the utility model, the upper part of the box body is provided with a spray head, the liquid storage chamber is provided with a water pump, and the water pump and the spray head are connected by a water pipe.
本实用新型中,臭氧发生器上设有出气管,出气管伸入到箱体底部,出气管口设有出气网。In the utility model, an air outlet pipe is arranged on the ozone generator, the air outlet pipe extends into the bottom of the box body, and an air outlet net is arranged at the outlet of the air outlet pipe.
本实用新型中,箱体上部设有衣服架。In the utility model, the upper part of the box body is provided with a clothes rack.
本实用新型中,储液室侧壁设有瞭望窗。In the utility model, the side wall of the liquid storage chamber is provided with a lookout window.
本实用新型中,衣服架和箱体上部活动连接。In the utility model, the clothes hanger is movably connected with the upper part of the box body.
本实用新型中,真空泵进气管上设有第一电磁阀,出气管上设有第二电磁阀。In the utility model, the air inlet pipe of the vacuum pump is provided with a first solenoid valve, and the air outlet pipe is provided with a second solenoid valve.
本实用新型中,臭氧发生室侧壁设有排气扇。In the utility model, the side wall of the ozone generating chamber is provided with an exhaust fan.
本实用新型的具有如下有益效果:The utility model has the following beneficial effects:
本实用新型内科用消毒装置,能够利用几轮抽真空实现衣服内部吸附气体交换,从而带出衣服内部的病菌被彻底消毒,利用臭氧发生器实施适时消毒,保证了手术服装安全卫生,而且利用喷淋机构对装置内部彻底清洗,方便了对装置本身的清洁,解决了装置本身容易脏污的问题,在医疗领域具有广泛的适用性。The sterilizing device for internal medicine of the utility model can utilize several rounds of vacuuming to realize the exchange of adsorbed gas inside the clothes, so that the germs brought out inside the clothes are thoroughly sterilized, and the ozone generator is used for timely sterilization, which ensures the safety and hygiene of the surgical clothing, and the use of spray The shower mechanism thoroughly cleans the inside of the device, which facilitates the cleaning of the device itself, solves the problem that the device itself is easily dirty, and has wide applicability in the medical field.
附图说明Description of drawings
为了更清楚地说明本实用新型实施例或现有技术中的技术方案,下面将对实施例或现有技术描述中所需要使用的附图作一简单地介绍,显而易见地,下面描述中的附图是本实用新型的一些实施例,对于本领域普通技术人员来讲,在不付出创造性劳动性的前提下,还可以根据这些附图获得其他的附图。In order to illustrate the embodiments of the present invention or the technical solutions in the prior art more clearly, the following briefly introduces the accompanying drawings used in the description of the embodiments or the prior art. Obviously, the accompanying drawings in the following description The drawings are some embodiments of the present invention. For those of ordinary skill in the art, other drawings can also be obtained from these drawings without creative labor.
图1显示为本实用新型立体结构示意图。FIG. 1 is a schematic diagram of the three-dimensional structure of the present invention.
图2显示为本实用新型剖视结构示意图。FIG. 2 is a schematic sectional view of the utility model.
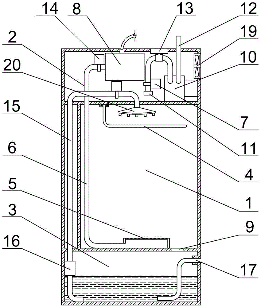
图1-2中:1-箱体、2-臭氧发生室、3-储液室、4-衣服架、5-出气网、6-出气管、7-第一电磁阀、8-臭氧发生器、9-连通孔、10-真空泵、11-真空泵进气管、12-真空泵出气管、13-气压表、14-第二电磁阀、15-水管、16-水泵、17-进入管、18-瞭望窗、19-排气扇、20-喷头、21-密封条。In Figure 1-2: 1-box, 2-ozone generating chamber, 3-liquid storage chamber, 4-clothing rack, 5-air outlet, 6-air outlet, 7-first solenoid valve, 8-ozone generator , 9-connecting hole, 10-vacuum pump, 11-vacuum pump inlet pipe, 12-vacuum pump outlet pipe, 13-barometer, 14-second solenoid valve, 15-water pipe, 16-water pump, 17-inlet pipe, 18-lookout Window, 19-exhaust fan, 20-sprinkler, 21-seal.
具体实施方式Detailed ways
下面结合附图1-2和实施例,对本实用新型的具体实施方式作进一步详细描述,但本实用新型装置不限于下述实施例。The specific embodiments of the present utility model will be described in further detail below with reference to the accompanying drawings 1-2 and the embodiments, but the device of the present utility model is not limited to the following embodiments.
本实用新型中,为了便于描述,将一种内科用消毒装置中个部件的相对位置关系的描述是根据附图2的布图方式来进行描述的,如:上、下、左、右等位置关系是根据附图2的布图方向来确定的。In this utility model, in order to facilitate the description, the description of the relative positional relationship of the components in a medical sterilization device is described according to the layout of the accompanying
本实用新型中所用的箱体1、臭氧发生室2、储液室3、衣服架4、出气网5、出气管6、第一电磁阀7、臭氧发生器8、真空泵10、真空泵进气管11、真空泵出气管12、气压表13、第二电磁阀14、出气管6、水泵16、进入管17、瞭望窗18、排气扇19、喷头20、密封条21等都能通过市场途径采购获得。所用臭氧发生器型号为创普TCB66100CLL陶瓷片式臭氧发生器。The
本实用新型提供的一种内科用消毒装置,包括箱体1和臭氧发生器8,箱体1上面设置臭氧发生室2,臭氧发生室2内设有臭氧发生器8,臭氧发生器8的出气管6和箱体1内部连接,臭氧发生器8旁边设置真空泵10,真空泵出气管12和箱体1外连接,真空泵进气管11和箱体1内连接,箱体1下部设置储液室3。The utility model provides a disinfection device for internal medicine, comprising a
本实用新型中,真空泵出气管12上设有气压表13,便于直观了解箱体1内部气压,避免发生意外。In the present invention, the
本实用新型中,储液室3设有和储液室3外侧连通的进入管17,进入管17伸入储液室3底部,实现衣服内部吸附气体交换In the present invention, the
本实用新型中,储液室3和箱体1之间设有连通孔9,可用于清洗后渗液及维持气压。In the present invention, a
本实用新型中,箱体1上部设有喷头20,储液室3内设有水泵16,水泵16和喷头20通过水管15连接,使用喷头20可对箱体1内部进行消毒。In the utility model, the upper part of the
本实用新型中,臭氧发生器8上设有出气管6,出气管6伸入到箱体1底部,出气管6口设有出气网5,在排臭氧的同时能够防止异物阻塞出气管6。In the utility model, the
本实用新型中,箱体1上部设有衣服架4,便于悬挂衣物,防止堆叠,提升消毒效果。In the utility model, the upper part of the
本实用新型中,储液室3侧壁设有瞭望窗18,瞭望创8旁设置刻度,可及时了解双氧水消毒液的剩余容量,便于及时补充。In the utility model, the side wall of the
本实用新型中,衣服架4和箱体1上部活动连接,通过旋转衣服架,便于悬挂衣物。In the utility model, the
本实用新型中,真空泵进气管11上设有第一电磁阀7,出气管6上设有第二电磁阀14,防止抽真空时进气管11与出气管6漏气。In the present invention, the
本实用新型中,臭氧发生室2侧壁设有排气扇19。In the present invention, an
本实用新型中,真空泵10和臭氧发生器8外部设有时间继电器,时间继电器和外部电源连接。In the utility model, a time relay is provided outside the
本实用新型中,箱体1侧壁设有箱门,箱门和箱体1之间设有密封条21,时消毒区域形成密封环境,防止漏气,便于实现衣服内部吸附气体交换。In the utility model, the side wall of the
在适用本实用新型装置时,在箱体1内挂上要消毒的衣服,从储液室3进入管17加入低浓度双氧水,臭氧发生器8电源打开不断制造臭氧,输入臭氧到箱体1内,箱体1内衣服被消毒,消毒一会后,真空泵10开启,对箱体1内抽气,由于液体封闭,衣服内夹杂的气体会被抽出,抽到一定时间外界空气会被从双氧水池底部冒出,空气经过消毒而且能不提高箱体1内氧气浓度,减少衣服被霉菌沾染,臭氧发生室2上面的排气扇19持续对臭氧发生器8和真空泵10冷却。When applying the device of the present invention, hang the clothes to be sterilized in the
本实用新型能够利用臭氧对箱体内衣服进行杀菌,还能利用双氧水对箱体1内侧进行杀菌消毒并且清洗,而且能够利用储液室3对空气进行过滤杀菌,保证箱体1内衣物的干净无菌环境,在医疗领域具有广泛的适用性。The utility model can use ozone to sterilize the clothes in the box, and can also use hydrogen peroxide to sterilize and clean the inside of the
以上对本实用新型实施例所提供的技术方案进行了详细介绍,本文中应用了具体个例对本实用新型实施例的原理以及实施方式进行了阐述,以上实施例的说明只适用于帮助理解本实用新型实施例的原理;同时,对于本领域的一般技术人员,依据本实用新型实施例,在具体实施方式以及应用范围上均会有改变之处,综上所述,本说明书内容不应理解为对本实用新型的限制。The technical solutions provided by the embodiments of the present utility model have been described in detail above. The principles and implementations of the embodiments of the present utility model are described in this paper by using specific examples. The descriptions of the above embodiments are only suitable for helping the understanding of the present utility model. The principle of the embodiment; at the same time, for those skilled in the art, according to the embodiment of the present utility model, there will be changes in the specific implementation and application scope. Utility Model Restrictions.
Claims (8)
Priority Applications (1)
| Application Number | Priority Date | Filing Date | Title |
|---|---|---|---|
| CN201920847933.2U CN211584425U (en) | 2019-06-06 | 2019-06-06 | Degassing unit for internal medicine |
Applications Claiming Priority (1)
| Application Number | Priority Date | Filing Date | Title |
|---|---|---|---|
| CN201920847933.2U CN211584425U (en) | 2019-06-06 | 2019-06-06 | Degassing unit for internal medicine |
Publications (1)
| Publication Number | Publication Date |
|---|---|
| CN211584425U true CN211584425U (en) | 2020-09-29 |
Family
ID=72576222
Family Applications (1)
| Application Number | Title | Priority Date | Filing Date |
|---|---|---|---|
| CN201920847933.2U Expired - Fee Related CN211584425U (en) | 2019-06-06 | 2019-06-06 | Degassing unit for internal medicine |
Country Status (1)
| Country | Link |
|---|---|
| CN (1) | CN211584425U (en) |
Cited By (1)
| Publication number | Priority date | Publication date | Assignee | Title |
|---|---|---|---|---|
| CN112245624A (en) * | 2020-10-16 | 2021-01-22 | 高梵(浙江)信息技术有限公司 | Fabric antibacterial method based on photohydrogen ion technology |
-
2019
- 2019-06-06 CN CN201920847933.2U patent/CN211584425U/en not_active Expired - Fee Related
Cited By (1)
| Publication number | Priority date | Publication date | Assignee | Title |
|---|---|---|---|---|
| CN112245624A (en) * | 2020-10-16 | 2021-01-22 | 高梵(浙江)信息技术有限公司 | Fabric antibacterial method based on photohydrogen ion technology |
Similar Documents
| Publication | Publication Date | Title |
|---|---|---|
| CN108355149B (en) | Medical bedding and clothing ozone ultraviolet disinfection cabinet | |
| CN207445236U (en) | A kind of novel mouth Medical appliance decontaminating apparatus | |
| CN204618913U (en) | A kind of high-temperature sterilization case | |
| CN1951507A (en) | Clothes disinfection cabinet | |
| JP3242833U (en) | Tent-type vaporized hydrogen peroxide sterilizer/disinfector | |
| CN211584425U (en) | Degassing unit for internal medicine | |
| CN206548610U (en) | A kind of Respiratory Medicine doctor and patient isolation device | |
| CN210409064U (en) | Emergency department is with disinfection case for apparatus | |
| CN216536193U (en) | Disinfection and sterilization instrument cabinet | |
| CN204275096U (en) | A kind of Medical sterilizing cabinet | |
| CN212913971U (en) | Medical towel sterilizing device | |
| CN209004535U (en) | A kind of nursing device for infection prevention and disinfection | |
| CN201061624Y (en) | Combined ozone sterilizer | |
| CN214074364U (en) | Sterilization instrument for operating room nursing | |
| CN201410124Y (en) | Medical ozone disinfecting cabinet | |
| CN209847891U (en) | Medical nursing degassing unit | |
| CN216496651U (en) | Medical instrument disinfection device | |
| CN214807044U (en) | A kind of disinfection device for oral workbench waterway system | |
| CN214908534U (en) | A oral cavity apparatus inspection package for children patient | |
| CN213884330U (en) | Operating room nursing apparatus disinfection storage device | |
| CN210750420U (en) | Sterilizer for ozone sterilization of clothes | |
| CN209847882U (en) | A steam type cupping disinfection vehicle | |
| CN211244705U (en) | Surgical equipment degassing unit | |
| CN209450999U (en) | Ozone disinfection machine | |
| CN205268664U (en) | Double -purpose medical instrument disinfecting cabinet |
Legal Events
| Date | Code | Title | Description |
|---|---|---|---|
| GR01 | Patent grant | ||
| GR01 | Patent grant | ||
| CF01 | Termination of patent right due to non-payment of annual fee |
Granted publication date: 20200929 Termination date: 20210606 |
|
| CF01 | Termination of patent right due to non-payment of annual fee |
