CN211546292U - A sludge homogenization discharge device in a sludge drying tower - Google Patents

A sludge homogenization discharge device in a sludge drying tower Download PDF

Info

Publication number
CN211546292U
CN211546292U CN201922214087.3U CN201922214087U CN211546292U CN 211546292 U CN211546292 U CN 211546292U CN 201922214087 U CN201922214087 U CN 201922214087U CN 211546292 U CN211546292 U CN 211546292U
Authority
CN
China
Prior art keywords
sludge
welded
hydraulic cylinder
vertical plate
homogenization
Prior art date
Legal status (The legal status is an assumption and is not a legal conclusion. Google has not performed a legal analysis and makes no representation as to the accuracy of the status listed.)
Expired - Fee Related
Application number
CN201922214087.3U
Other languages
Chinese (zh)
Inventor
戴路明
雷勇
耿永芹
张馨予
Current Assignee (The listed assignees may be inaccurate. Google has not performed a legal analysis and makes no representation or warranty as to the accuracy of the list.)
Suzhou Hangming Environmental Protection And Energy Saving Technology Co ltd
Original Assignee
Suzhou Hangming Environmental Protection And Energy Saving Technology Co ltd
Priority date (The priority date is an assumption and is not a legal conclusion. Google has not performed a legal analysis and makes no representation as to the accuracy of the date listed.)
Filing date
Publication date
Application filed by Suzhou Hangming Environmental Protection And Energy Saving Technology Co ltd filed Critical Suzhou Hangming Environmental Protection And Energy Saving Technology Co ltd
Priority to CN201922214087.3U priority Critical patent/CN211546292U/en
Application granted granted Critical
Publication of CN211546292U publication Critical patent/CN211546292U/en
Expired - Fee Related legal-status Critical Current
Anticipated expiration legal-status Critical

Links

Images

Landscapes

  • Treatment Of Sludge (AREA)

Abstract

本实用新型公开了一种污泥干燥塔中的污泥均化卸料装置,包括底座、第一液压缸和第二液压缸,所述底座顶部通过安装座和螺钉安装有第二液压缸,所述底座顶部另一端通过固定槽安装有立板,所述立板一端焊接有竖板且竖板顶部焊接有环形限位块,所述环形限位块内侧套设有限位导轮,所述限位导轮一端焊接有T型安装板,所述T型安装板顶部一端通过安装槽安装有套筒。本实用新型能方便对污泥进行快速压平,能方便对压辊的高度进行调节,还能方便对均化槽进行角度倾斜,从而方便在压辊对污泥进行压平前利用重力使污泥预铺平,利于节省能源,可以方便对污泥进行定时下料,从而减小人员管理的劳动强度,适合被广泛推广和使用。

Figure 201922214087

The utility model discloses a sludge homogenization and discharging device in a sludge drying tower, which comprises a base, a first hydraulic cylinder and a second hydraulic cylinder. The top of the base is provided with a second hydraulic cylinder through a mounting seat and screws. A vertical plate is installed on the other end of the top of the base through a fixing slot, a vertical plate is welded on one end of the vertical plate, and a ring-shaped limit block is welded on the top of the vertical plate. One end of the limit guide wheel is welded with a T-shaped installation plate, and one end of the top of the T-shaped installation plate is installed with a sleeve through the installation groove. The utility model can facilitate the rapid flattening of the sludge, the height of the pressing roller can be adjusted conveniently, and the angle of the homogenizing tank can be tilted conveniently, so that it is convenient to use gravity to make the sludge before the pressing roller flattens the sludge. The mud is pre-paved, which is conducive to saving energy, and can facilitate the timing of sludge removal, thereby reducing the labor intensity of personnel management, and is suitable for widespread promotion and use.

Figure 201922214087

Description

Sludge homogenization discharge apparatus in sludge drying tower
Technical Field
The utility model relates to a sludge drying technical field, in particular to mud homogenization discharge apparatus in sludge drying tower.
Background
In order to dry the sludge in the sludge drying tower quickly and increase the contact area with the sunlight, thereby drying the sludge quickly, the homogenizing discharging device is necessary.
Patent No. CN201521000317.1 discloses a sludge homogenizing discharging device in a sludge drying tower, wherein an umbrella-shaped mesh plate with meshes and an inverted umbrella-shaped mesh plate with meshes are arranged at intervals in a shell, the umbrella-shaped mesh plate is positioned above the inverted umbrella-shaped mesh plate, and the edge of the umbrella-shaped mesh plate and the edge of the inverted umbrella-shaped mesh plate are respectively fixedly arranged on the inner cavity wall of the shell. The device can reduce the downward falling speed of the sludge and increase the contact area of the sludge.
Although the device can reduce the downward falling speed of the sludge and increase the contact area of the sludge, the device has the following defects: 1. the sludge cannot be conveniently and rapidly flattened; 2. the height of the press roller cannot be conveniently adjusted; 3. the homogenization groove cannot be inclined at an angle conveniently, so that the sludge can be paved by utilizing gravity conveniently before the sludge is flattened by the compression roller, and the energy is not saved; 4. the timed blanking of the sludge can not be conveniently carried out, thereby reducing the labor intensity of personnel management.
SUMMERY OF THE UTILITY MODEL
The utility model discloses a main aim at provides a mud homogenization discharge apparatus in sludge drying tower can effectively solve the problem in the technical background.
In order to achieve the above purpose, the utility model adopts the following technical scheme:
a sludge homogenizing discharging device in a sludge drying tower comprises a base, a first hydraulic cylinder and a second hydraulic cylinder, wherein the second hydraulic cylinder is installed on the top of the base through an installation seat and a screw, a vertical plate is installed on the other end of the top of the base through a fixing groove, a vertical plate is welded at one end of the vertical plate, an annular limiting block is welded on the top of the vertical plate, a limiting guide wheel is sleeved on the inner side of the annular limiting block, a T-shaped installation plate is welded at one end of the limiting guide wheel, a sleeve is installed at one end of the top of the T-shaped installation plate through an installation groove, the first hydraulic cylinder is installed at the other end of the top of the T-shaped installation plate through a screw, a transverse plate is connected with the power output end of the first hydraulic cylinder, a fixed table is fixed on one side of the top end of the T-, the automatic leveling device is characterized in that a driving motor is arranged on one side of the transverse plate, a power output end of the driving motor is connected with a roller and the roller is located in a rolling groove formed in the top of the transverse plate, one end of the roller is connected with a compression roller through a connecting rod and the compression roller is located at the upper end of an equalizing groove, an electronic timing switch is installed on one end of the vertical plate through the connecting rod, and a blanking pump is installed on one side of the top end.
Furthermore, the sleeve is internally sleeved with a sleeve rod, and the top of the sleeve rod is welded at one end of the bottom of the transverse plate.
Furthermore, a limiting block is welded on one side of the bottom end of the driving motor and is sleeved in a limiting groove formed in the bottom end of the transverse plate.
Furthermore, the universal wheels capable of braking are mounted at two ends of the bottom of the base through screws.
Furthermore, the output end of the electronic timing switch is electrically connected with the input end of the blanking pump through a lead.
Compared with the prior art, the utility model discloses following beneficial effect has:
1. through setting up driving motor, stopper, diaphragm and compression roller, the personnel open driving motor, and the during operation power take off end conveniently drives the gyro wheel and rolls at the rolling groove at diaphragm top, recycles the removal of stopper in the spacing inslot of diaphragm bottom, conveniently carries on spacingly to driving motor, and the gyro wheel drives the compression roller and rotates when rotating to conveniently carry out the rapid flattening to the mud that gets into the homogenization inslot.
2. Through setting up first pneumatic cylinder, open first pneumatic cylinder, the during operation power take off end conveniently drives the diaphragm and reciprocates to the height of compression roller is adjusted according to mud thickness to the convenience, is favorable to carrying out better flattening to mud.
3. Through setting up the second pneumatic cylinder, open the second pneumatic cylinder, the during operation power take off end conveniently drives fixed station one end and reciprocates to the convenience carries out the angle slope to the homogenization groove, thereby conveniently utilizes gravity to make mud pave in advance before the compression roller flattens mud, does benefit to the energy can be saved.
4. Through setting up electron time switch and unloading pump, personnel set for the setting value of electron time switch, conveniently regularly switch on the circuit of unloading pump and external power source to conveniently carry out regularly unloading to mud, and then reduce personnel's management's intensity of labour.
Drawings
Fig. 1 is a schematic view of the overall structure of a sludge homogenizing discharging device in a sludge drying tower.
FIG. 2 is a schematic side view of the connection between the driving motor and the transverse plate of the sludge homogenizing discharging device in the sludge drying tower.
FIG. 3 is a schematic diagram of the electrical connection of the electrical equipment of the sludge homogenizing discharging device in the sludge drying tower.
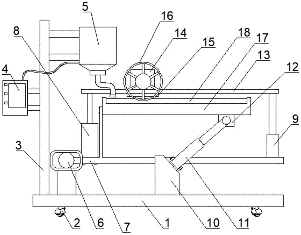
In the figure: 1. a base; 2. the universal wheel can be braked; 3. a vertical plate; 4. an electronic time switch; 5. a discharge pump; 6. a limiting guide wheel; 7. an L-shaped mounting plate; 8. a first hydraulic cylinder; 9. a sleeve; 10. a mounting seat; 11. a second hydraulic cylinder; 12. a fixed block; 13. a transverse plate; 14. a drive motor; 15. a limiting block; 16. a compression roller; 17. a fixed table; 18. and (4) an equalizing groove.
Detailed Description
In order to make the technical means, creation features, achievement purposes and functions of the present invention easy to understand, the present invention is further described below with reference to the following embodiments.
As shown in figures 1-3, a sludge homogenizing discharging device in a sludge drying tower comprises a base 1, a first hydraulic cylinder 8 and a second hydraulic cylinder 11, wherein the second hydraulic cylinder 11 is installed on the top of the base 1 through an installation seat 10 and a screw, a vertical plate 3 is installed on the other end of the top of the base 1 through a fixing groove, a vertical plate is welded at one end of the vertical plate 3, an annular limiting block is welded at the top of the vertical plate, a limiting guide wheel 6 is sleeved on the inner side of the annular limiting block, a T-shaped installation plate 7 is welded at one end of the limiting guide wheel 6, a sleeve 9 is installed at one end of the top of the T-shaped installation plate 7 through an installation groove, the first hydraulic cylinder 8 is installed at the other end of the top of the T-shaped installation plate 7 through a screw, a transverse plate 13 is connected with the power output end of the first hydraulic, fixed block 12 is welded to fixed station 17 bottom one end, power take off end one side of second pneumatic cylinder 11 is in fixed block 12 one side through axis of rotation, diaphragm 13 one side is provided with driving motor 14, driving motor 14's power take off end is connected with gyro wheel and the gyro wheel is located the rolling slot that diaphragm 13 top was seted up, gyro wheel one end is connected with compression roller 16 and compression roller 16 through the connecting rod and is located homogenization groove 18 upper end, electronic time switch 4 is installed through the connecting rod to 3 one end of riser, unloading pump 5 is installed through the dead lever in 3 top one side of riser.
Wherein, the sleeve 9 is internally sleeved with a loop bar, and the top of the loop bar is welded at one end of the bottom of the transverse plate 13.
In this embodiment, as shown in fig. 2, the sleeve rod sleeved in the sleeve 9 is convenient to move synchronously when the power output end of the first hydraulic cylinder 8 drives the transverse plate 13 to move.
A limiting block 15 is welded on one side of the bottom end of the driving motor 14, and the limiting block 15 is sleeved in a limiting groove formed in the bottom end of the transverse plate 13.
In this embodiment, as shown in fig. 1, the driving motor 14 is conveniently limited by the movement of the limiting block 15 in the limiting groove at the bottom of the transverse plate 13.
Wherein, the universal wheel 2 that can brake is all installed through the screw at base 1 bottom both ends.
In the embodiment, as shown in fig. 1, the universal wheels 2 capable of braking are utilized, so that a person can conveniently drive the discharging device to move to a proper position for working.
The output end of the electronic timing switch 4 is electrically connected with the input end of the blanking pump 5 through a lead.
In this embodiment, as shown in fig. 1, a person sets a setting value of the electronic time switch 4, and the blanking pump 5 and a circuit of an external power supply are conveniently connected in a timed manner, so that sludge is conveniently blanked in a timed manner, and the labor intensity of personnel management is reduced.
It should be noted that the utility model relates to a sludge homogenizing unloading device in a sludge drying tower, during operation, an external pipeline is used for introducing sludge into a feed inlet of a blanking pump 5, the blanking pump 5 is used for conveniently unloading the sludge into a homogenizing groove 18 at the top of a fixed platform 17, the sludge is unloaded into the homogenizing groove 18, personnel set a set value of an electronic timing switch 4, the circuit of the blanking pump 5 and an external power supply is conveniently and timely connected, thereby the sludge is conveniently and timely unloaded, the labor intensity of personnel management is reduced, a second hydraulic cylinder 11 is opened, a power output end conveniently drives one end of the fixed platform 17 to move up and down during operation, thereby the homogenizing groove 18 is conveniently subjected to angle inclination, thereby the sludge is conveniently pre-flattened by gravity before a compression roller 16 flattens the sludge, energy is saved, the parts connected with the fixed platform 17 are synchronously adjusted by the movement and rotation convenience of a limiting block 6 in an annular limiting block when the angle of the fixed platform 17 is changed, the personnel open driving motor 14, the during operation power take off end conveniently drives the gyro wheel and rolls in the rolling groove at diaphragm 13 top, recycle the removal of stopper 15 in the spacing inslot of diaphragm 13 bottom, it is convenient spacing to carry on driving motor 14, drive pressure roller 16 and rotate when the gyro wheel rotates, thereby conveniently carry out the rapid flattening to the mud that gets into in homogenization groove 18, open first pneumatic cylinder 8, the during operation power take off end conveniently drives diaphragm 13 and reciprocates, thereby the height of compression roller 16 is adjusted according to mud thickness to the convenience, be favorable to carrying out better flattening to mud.
The basic principles and the main features of the invention and the advantages of the invention have been shown and described above. It will be understood by those skilled in the art that the present invention is not limited to the above embodiments, and that the foregoing embodiments and descriptions are provided only to illustrate the principles of the present invention without departing from the spirit and scope of the present invention. The scope of the invention is defined by the appended claims and equivalents thereof.

Claims (5)

1.一种污泥干燥塔中的污泥均化卸料装置,包括底座(1)、第一液压缸(8)和第二液压缸(11),其特征在于:所述底座(1)顶部通过安装座(10)和螺钉安装有第二液压缸(11),所述底座(1)顶部另一端通过固定槽安装有立板(3),所述立板(3)一端焊接有竖板且竖板顶部焊接有环形限位块,所述环形限位块内侧套设有限位导轮(6),所述限位导轮(6)一端焊接有T型安装板(7),所述T型安装板(7)顶部一端通过安装槽安装有套筒(9),所述T型安装板(7)顶部另一端通过螺钉安装有第一液压缸(8),所述第一液压缸(8)的动力输出端连接有横板(13),所述T型安装板(7)顶端一侧通过螺栓固定有固定台(17),所述固定台(17)顶端开设有均化槽(18),所述固定台(17)底部一端焊接有固定块(12),所述第二液压缸(11)的动力输出端一侧通过转动轴连接于固定块(12)一侧,所述横板(13)一侧设置有驱动电机(14),所述驱动电机(14)的动力输出端连接有滚轮且滚轮位于横板(13)顶部开设的滚槽内,所述滚轮一端通过连接杆连接有压辊(16)且压辊(16)位于均化槽(18)上端,所述立板(3)一端通过连接杆安装有电子计时开关(4),所述立板(3)顶端一侧通过固定杆安装有下料泵(5)。1. A sludge homogenization discharge device in a sludge drying tower, comprising a base (1), a first hydraulic cylinder (8) and a second hydraulic cylinder (11), characterized in that: the base (1) A second hydraulic cylinder (11) is installed on the top through a mounting seat (10) and screws, a vertical plate (3) is installed on the other end of the top of the base (1) through a fixing groove, and one end of the vertical plate (3) is welded with a vertical plate (3). An annular limit block is welded on the top of the vertical plate, a limit guide wheel (6) is sleeved on the inner side of the annular limit block, and a T-shaped mounting plate (7) is welded on one end of the limit guide wheel (6). One end of the top of the T-shaped mounting plate (7) is installed with a sleeve (9) through the installation groove, and the other end of the top of the T-shaped mounting plate (7) is mounted with a first hydraulic cylinder (8) through screws. The power output end of the cylinder (8) is connected with a horizontal plate (13), a fixing table (17) is fixed on the top side of the T-shaped mounting plate (7) by bolts, and a homogenizing table (17) is provided on the top of the fixing table (17). a groove (18), a fixing block (12) is welded on one end of the bottom of the fixing table (17), and the power output side of the second hydraulic cylinder (11) is connected to the side of the fixing block (12) through a rotating shaft, A drive motor (14) is provided on one side of the horizontal plate (13), the power output end of the drive motor (14) is connected with a roller, and the roller is located in the rolling groove opened on the top of the horizontal plate (13), and one end of the roller is A pressure roller (16) is connected through a connecting rod, and the pressure roller (16) is located at the upper end of the homogenization tank (18). One end of the vertical plate (3) is installed with an electronic timing switch (4) through the connecting rod. 3) A feeding pump (5) is installed on the top side through a fixed rod. 2.根据权利要求1所述的一种污泥干燥塔中的污泥均化卸料装置,其特征在于:所述套筒(9)内套设有套杆且套杆顶部焊接于横板(13)底部一端。2. The sludge homogenization discharge device in a sludge drying tower according to claim 1, characterized in that: the sleeve (9) is sleeved with a sleeve rod and the top of the sleeve rod is welded to the horizontal plate (13) Bottom end. 3.根据权利要求1所述的一种污泥干燥塔中的污泥均化卸料装置,其特征在于:所述驱动电机(14)底端一侧焊接有限位块(15),所述限位块(15)套设于横板(13)底端开设的限位槽内。3. The sludge homogenization discharge device in a sludge drying tower according to claim 1, characterized in that: a limit block (15) is welded on one side of the bottom end of the drive motor (14), and the The limit block (15) is sleeved in the limit groove opened at the bottom end of the horizontal plate (13). 4.根据权利要求1所述的一种污泥干燥塔中的污泥均化卸料装置,其特征在于:所述底座(1)底部两端均通过螺钉安装有可制动万向轮(2)。4. The sludge homogenization discharge device in a sludge drying tower according to claim 1, characterized in that: both ends of the bottom of the base (1) are provided with braked universal wheels ( 2). 5.根据权利要求1所述的一种污泥干燥塔中的污泥均化卸料装置,其特征在于:所述电子计时开关(4)的输出端与下料泵(5)的输入端通过导线构成电连接。5. The sludge homogenization discharge device in a sludge drying tower according to claim 1, characterized in that: the output end of the electronic timing switch (4) and the input end of the feeding pump (5) Electrical connections are made through wires.
CN201922214087.3U 2019-12-11 2019-12-11 A sludge homogenization discharge device in a sludge drying tower Expired - Fee Related CN211546292U (en)

Priority Applications (1)

Application Number Priority Date Filing Date Title
CN201922214087.3U CN211546292U (en) 2019-12-11 2019-12-11 A sludge homogenization discharge device in a sludge drying tower

Applications Claiming Priority (1)

Application Number Priority Date Filing Date Title
CN201922214087.3U CN211546292U (en) 2019-12-11 2019-12-11 A sludge homogenization discharge device in a sludge drying tower

Publications (1)

Publication Number Publication Date
CN211546292U true CN211546292U (en) 2020-09-22

Family

ID=72505546

Family Applications (1)

Application Number Title Priority Date Filing Date
CN201922214087.3U Expired - Fee Related CN211546292U (en) 2019-12-11 2019-12-11 A sludge homogenization discharge device in a sludge drying tower

Country Status (1)

Country Link
CN (1) CN211546292U (en)

Cited By (1)

* Cited by examiner, † Cited by third party
Publication number Priority date Publication date Assignee Title
CN116986786A (en) * 2023-08-03 2023-11-03 江苏博一环保科技有限公司 Sludge treatment drying device capable of uniformly spreading

Cited By (1)

* Cited by examiner, † Cited by third party
Publication number Priority date Publication date Assignee Title
CN116986786A (en) * 2023-08-03 2023-11-03 江苏博一环保科技有限公司 Sludge treatment drying device capable of uniformly spreading

Similar Documents

Publication Publication Date Title
CN204382328U (en) A kind of tyre production cuts coil apparatus
CN206373607U (en) A new type of single pulley automatic assembly machine
CN211546292U (en) A sludge homogenization discharge device in a sludge drying tower
CN107186028A (en) A kind of pressing equipment for punching press auto parts
CN202448120U (en) Lifting and manual rotary operating platform
CN201302897Y (en) Replacement device of transformer oil pump
CN205763337U (en) A kind of diel of automobile glass lifter
CN201880754U (en) Horizontal shaping device for open drums
CN203284474U (en) Lead-electrolysis anode plate lug portion shaping device
CN206912169U (en) A kind of hot pressing automatic charging & discharging machine
CN206403169U (en) A kind of efficient pig feed process equipment
CN221133992U (en) Upward continuous casting machine capable of automatically feeding copper materials
CN207686163U (en) A kind of disjunctor roofing tile tile press modelled after an antique
CN207464150U (en) A distance block used for adjusting the roll gap of the sector section of the slab continuous casting machine
CN207431147U (en) Spring compressive setting machine
CN207167636U (en) Novel tea kneading machine
CN211331064U (en) A new type of automatic punching device
CN217029055U (en) Trench Cart Pretreatment Pumping Unit
CN109647955B (en) Sodium ion battery pole piece tabletting equipment
CN208663249U (en) It is a kind of for producing the automatic material blanking mechanism of plate
CN202029426U (en) Correcting and leveling device for screw of press
CN204917170U (en) Flat -bulb steel discharge apparatus
CN219855180U (en) Efficient filling equipment for cement electric pole mold
CN210952335U (en) An energy-saving silicon-manganese alloy microwave smelting furnace
CN216765522U (en) Road construction equipment that road was repaired and is flattened

Legal Events

Date Code Title Description
GR01 Patent grant
GR01 Patent grant
CF01 Termination of patent right due to non-payment of annual fee
CF01 Termination of patent right due to non-payment of annual fee

Granted publication date: 20200922