CN211535271U - Auxiliary getting-on and getting-off bed at bed tail - Google Patents
Auxiliary getting-on and getting-off bed at bed tail Download PDFInfo
- Publication number
- CN211535271U CN211535271U CN202020133281.9U CN202020133281U CN211535271U CN 211535271 U CN211535271 U CN 211535271U CN 202020133281 U CN202020133281 U CN 202020133281U CN 211535271 U CN211535271 U CN 211535271U
- Authority
- CN
- China
- Prior art keywords
- bed
- board
- sliding table
- thigh
- calf
- Prior art date
- Legal status (The legal status is an assumption and is not a legal conclusion. Google has not performed a legal analysis and makes no representation as to the accuracy of the status listed.)
- Withdrawn - After Issue
Links
- 210000000689 upper leg Anatomy 0.000 claims abstract description 67
- 244000309466 calf Species 0.000 claims abstract description 49
- 210000002414 leg Anatomy 0.000 claims abstract description 42
- 230000007306 turnover Effects 0.000 abstract description 6
- 210000001364 upper extremity Anatomy 0.000 abstract description 2
- 210000003127 knee Anatomy 0.000 description 16
- 230000009471 action Effects 0.000 description 9
- 230000006872 improvement Effects 0.000 description 9
- 238000005452 bending Methods 0.000 description 7
- 230000032683 aging Effects 0.000 description 4
- 230000005484 gravity Effects 0.000 description 4
- 238000000034 method Methods 0.000 description 3
- 230000008859 change Effects 0.000 description 2
- 230000008602 contraction Effects 0.000 description 2
- 206010024453 Ligament sprain Diseases 0.000 description 1
- 208000010040 Sprains and Strains Diseases 0.000 description 1
- 230000003139 buffering effect Effects 0.000 description 1
- 238000004891 communication Methods 0.000 description 1
- 238000007796 conventional method Methods 0.000 description 1
- 230000000694 effects Effects 0.000 description 1
- 238000009434 installation Methods 0.000 description 1
- 230000010354 integration Effects 0.000 description 1
- 230000003993 interaction Effects 0.000 description 1
- 210000000629 knee joint Anatomy 0.000 description 1
- 239000000463 material Substances 0.000 description 1
- 230000007246 mechanism Effects 0.000 description 1
- 210000003205 muscle Anatomy 0.000 description 1
- 230000000149 penetrating effect Effects 0.000 description 1
- 230000000284 resting effect Effects 0.000 description 1
- 238000007789 sealing Methods 0.000 description 1
- 210000000323 shoulder joint Anatomy 0.000 description 1
- 230000003068 static effect Effects 0.000 description 1
- 230000035882 stress Effects 0.000 description 1
Images
Landscapes
- Invalid Beds And Related Equipment (AREA)
Abstract
本实用新型提供了一种床尾辅助上下床,包括前床腿、后床腿、连接支撑前床腿和后床腿的床架、置于床架上的床板,所述床架上套接有滑动台,所述前床腿上设有第一推杆,所述第一推杆与所述滑动台相连接且推动所述滑动台沿所述床架作往复运动,所述床板分为上身板、大腿板和小腿板,所述上身板与大腿板、大腿板与小腿板之间通过铰链连接,所述大腿板连接于小腿板的一端端部设有铰接于所述滑动台的转轴,所述滑动台上铰接有推动所述上身板和大腿板翻转的气动弹簧和第二推杆。本实用新型床尾辅助上下床的方式,省去了在床上转身的步骤,从根本上解决了由于上身翻转可能导致老年人腰部受伤的情况。
The utility model provides an auxiliary bed at the end of the bed, which comprises a front bed leg, a back bed leg, a bed frame connecting and supporting the front bed leg and the back bed leg, and a bed board placed on the bed frame, and the bed frame is sleeved with a bed frame. A sliding table, the front leg is provided with a first push rod, the first push rod is connected with the sliding table and pushes the sliding table to reciprocate along the bed frame, and the bed board is divided into an upper body board, thigh board and calf board, the upper body board and the thigh board, the thigh board and the calf board are connected by hinges, and the one end of the thigh board connected to the calf board is provided with a rotating shaft hinged on the sliding table, The sliding table is hinged with a pneumatic spring and a second push rod that push the upper body board and the thigh board to turn over. The bed end of the utility model assists in getting on and off the bed, which saves the step of turning around on the bed, and fundamentally solves the situation that the waist of the elderly may be injured due to the overturning of the upper body.
Description
技术领域technical field
本实用新型涉及机械设备技术领域,具体而言,涉及一种床尾辅助上下床。The utility model relates to the technical field of mechanical equipment, in particular to a bed end assisting getting up and down a bed.
背景技术Background technique
2008年,国家统计局发布一项数据,我国65岁及以上人口比重达到 11.9%,0—14岁人口占比降至16.9%,人口老龄化程度持续加深。随着老龄化程度的逐渐加深,以及社会压力逐渐加大的现代社会,年轻人不得不背负更多的负担,此现象导致年轻人对老年的陪伴时间有限,老年人更多时间为独身一人。由于年龄的原理,老年人身体机能出现明显下降,长年累月的日常生活中,诸多关节由于磨损造成一定疼痛,如肩关节、膝关节等,并且腰部肌肉弱化,容易发生拉伤等现象,脊柱等人体重要结构也出现一定的老化,所以,针对老年人独自在家时的起居已成为一个不可忽视问题,减轻老年人在上下床或其他时候的病痛也显得越来越重要。In 2008, the National Bureau of Statistics released a data that the proportion of my country's population aged 65 and above reached 11.9%, and the proportion of the population aged 0-14 dropped to 16.9%, and the aging of the population continued to deepen. With the gradual deepening of the aging degree and the increasing social pressure in the modern society, young people have to bear more burdens. This phenomenon leads to limited time for young people to accompany the elderly, and the elderly spend more time alone. Due to the principle of age, the physical function of the elderly has declined significantly. In daily life for many years, many joints have certain pain due to wear and tear, such as shoulder joints, knee joints, etc., and the waist muscles are weakened and prone to strains. Important structures are also aging to a certain extent. Therefore, the daily living of the elderly when they are alone at home has become a problem that cannot be ignored, and it is more and more important to alleviate the pain of the elderly when they get out of bed or at other times.
目前市场上已有的折叠床主要采用的是于床体侧边上下床的方式,老年人于床上起身之后仍需进行转身,起身时膝盖老化导致的关节无力和疼痛依旧无法解决。有鉴于此,申请人提出本申请。At present, the existing folding beds on the market mainly use the method of getting on and off the bed on the side of the bed. The elderly still need to turn around after getting up from the bed. When getting up, the joint weakness and pain caused by aging knees still cannot be solved. In view of this, the applicant files this application.
实用新型内容Utility model content
本实用新型公开了一种床尾辅助上下床,结构简单,操作便利,旨在解决老年人上下床翻身容易导致腰部扭伤的问题。The utility model discloses a bed end assisting getting in and out of bed, which is simple in structure and convenient in operation, and aims to solve the problem that the elderly people turn over when getting out of bed and easily causing waist sprain.
本实用新型采用了如下方案:The utility model adopts the following scheme:
一种床尾辅助上下床,包括前床腿、后床腿、连接支撑前床腿和后床腿的床架、置于床架上的床板,所述床架上套接有滑动台,所述前床腿上设有第一推杆,所述第一推杆与所述滑动台相连接且推动所述滑动台沿所述床架作往复运动,所述床板分为上身板、大腿板和小腿板,所述上身板与大腿板、大腿板与小腿板之间通过铰链连接,所述大腿板连接于小腿板的一端端部设有铰接于所述滑动台的转轴,所述滑动台上铰接有推动所述上身板和大腿板翻转的气动弹簧和第二推杆。A bed end assisting getting in and out of bed, comprising a front bed leg, a back bed leg, a bed frame connecting and supporting the front bed leg and the back bed leg, a bed board placed on the bed frame, a sliding table is sleeved on the bed frame, and the A first push rod is arranged on the front leg of the bed, the first push rod is connected with the sliding table and pushes the sliding table to reciprocate along the bed frame, and the bed board is divided into an upper body board, a thigh board and a The calf board, the upper body board and the thigh board, the thigh board and the calf board are connected by hinges, and one end of the thigh board connected to the calf board is provided with a rotating shaft hinged on the sliding table, on the sliding table A pneumatic spring and a second push rod are hinged to push the upper body board and the thigh board to turn over.
作为进一步改进,所述滑动台顶部设有向床尾延伸的支撑面,所述支撑面的长度大于所述后床腿的厚度,所述大腿板与所述滑动台的铰接点位于所述支撑面上且距离所述滑动台的长度大于所述后床腿的厚度。As a further improvement, the top of the sliding table is provided with a supporting surface extending toward the end of the bed, the length of the supporting surface is greater than the thickness of the rear leg, and the hinge point between the thigh board and the sliding table is located on the supporting surface The length above and away from the sliding table is greater than the thickness of the rear leg.
作为进一步改进,所述后床腿的高度与所述床架高度平齐且顶部外侧具有弧形倒角。As a further improvement, the height of the rear bed legs is the same as the height of the bed frame and the outer side of the top has an arc-shaped chamfer.
作为进一步改进,所述滑动台内还设有滑动轮,所述滑动轮与所述床架相抵接以支撑所述滑动台在所述床架上作往复运动。As a further improvement, the sliding table is further provided with a sliding wheel, and the sliding wheel is in contact with the bed frame to support the sliding table to reciprocate on the bed frame.
作为进一步改进,所述第一推杆和第二推杆为带有自锁装置的电动推杆。As a further improvement, the first push rod and the second push rod are electric push rods with self-locking devices.
作为进一步改进,所述小腿板可分为上小腿板和下小腿板,所述上小腿板和下小腿板采用铰链连接。As a further improvement, the calf board can be divided into an upper calf board and a lower calf board, and the upper calf board and the lower calf board are connected by a hinge.
作为进一步改进,所述转轴与所述大腿板一体设置且通过固定件固定在所述滑动台上,所述固定件内设有套接所述转轴的轴承。As a further improvement, the rotating shaft and the thigh plate are integrally arranged and fixed on the sliding table through a fixing member, and a bearing sleeved over the rotating shaft is arranged in the fixing member.
作为进一步改进,所述转轴贯穿所述大腿板且与贯穿所述大腿板的通孔之间具有间隙,所述转轴通过固定件固定在所述滑动台上。As a further improvement, the rotating shaft passes through the thigh plate and has a gap with the through hole passing through the thigh plate, and the rotating shaft is fixed on the sliding table by a fixing member.
作为进一步改进,所述大腿板两侧设有扶手。As a further improvement, armrests are provided on both sides of the thigh plate.
作为进一步改进,所述床架的水平跳动应小于2mm。As a further improvement, the horizontal runout of the bed frame should be less than 2mm.
通过采用上述技术方案,本实用新型可以取得以下技术效果:By adopting the above-mentioned technical scheme, the utility model can obtain the following technical effects:
1、通过床尾辅助上下床的方式,省去了在床上转身的步骤,从根本上解决了由于上身翻转可能导致老年人腰部受伤的情况。1. By assisting in getting on and off the bed at the end of the bed, the step of turning around on the bed is omitted, which fundamentally solves the situation that the waist of the elderly may be injured due to the overturning of the upper body.
2、通过后床腿的弧形倒角,可以对小腿板下放进行缓冲,将小腿板分割成多块,可以最大程度减轻老年人膝盖弯曲导致的疼痛,通过气动弹簧和第二推杆对上身板和大腿板的缓慢托举,使得老年人在站立过程中不会因为膝盖过多压力而导致疼痛。2. Through the arc-shaped chamfering of the back legs, the lower leg board can be buffered, and the calf board can be divided into multiple pieces, which can minimize the pain caused by the bending of the knee of the elderly. The upper body is adjusted by the pneumatic spring and the second push rod The slow lift of the plank and thigh plank allows the elderly to stand without causing pain due to excessive pressure on the knee.
3、通过两侧扶手可以作为起身时的依托,减轻老年人的膝盖受力,并且可以在入睡时作为护栏,防止出现意外摔落情况,提高了使用时的安全性和起身站立的稳定性。3. The armrests on both sides can be used as a support when getting up, reduce the stress on the knees of the elderly, and can be used as a guardrail when falling asleep to prevent accidental falls, and improve the safety when using and the stability of getting up and standing.
附图说明Description of drawings
为了更清楚地说明本实用新型实施方式的技术方案,下面将对实施方式中所需要使用的附图作简单地介绍,应当理解,以下附图仅示出了本实用新型的某些实施例,因此不应被看作是对范围的限定,对于本领域普通技术人员来讲,在不付出创造性劳动的前提下,还可以根据这些附图获得其他相关的附图。In order to illustrate the technical solutions of the embodiments of the present invention more clearly, the accompanying drawings required in the embodiments will be briefly introduced below. It should be understood that the following drawings only show some embodiments of the present invention. Therefore, it should not be regarded as a limitation of the scope. For those of ordinary skill in the art, other related drawings can also be obtained from these drawings without creative effort.
图1是本实用新型平躺初始状态的结构示意图;Fig. 1 is the structural representation of the utility model in the initial state of lying flat;
图2是本实用新型运动状态的结构示意图;Fig. 2 is the structural representation of the motion state of the present utility model;
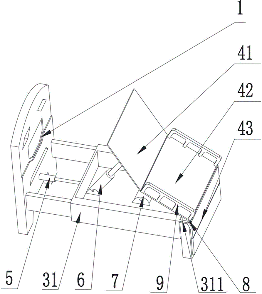
图标:1、前床腿;2、后床腿;3、床架;4床板;5、第一推杆;6、气动弹簧;7、第二推杆;8、扶手;9、固定件;31、滑动台;41上身板; 42、大腿板;43、小腿板;311、支撑面;431、上小腿板;432、下小腿板。Icons: 1. Front bed leg; 2. Back bed leg; 3. Bed frame; 4. Bed board; 5. First push rod; 6. Pneumatic spring; 7. Second push rod; 8. Armrest; 9. Fixing part; 31, sliding table; 41 upper body board; 42, thigh board; 43, calf board; 311, supporting surface; 431, upper calf board; 432, lower calf board.
具体实施方式Detailed ways
为使本实用新型实施方式的目的、技术方案和优点更加清楚,下面将结合本实用新型实施方式中的附图,对本实用新型实施方式中的技术方案进行清楚、完整地描述,显然,所描述的实施方式是本实用新型一部分实施方式,而不是全部的实施方式。基于本实用新型中的实施方式,本领域普通技术人员在没有作出创造性劳动前提下所获得的所有其他实施方式,都属于本实用新型保护的范围。因此,以下对在附图中提供的本实用新型的实施方式的详细描述并非旨在限制要求保护的本实用新型的范围,而是仅仅表示本实用新型的选定实施方式。基于本实用新型中的实施方式,本领域普通技术人员在没有作出创造性劳动前提下所获得的所有其他实施方式,都属于本实用新型保护的范围。In order to make the purposes, technical solutions and advantages of the embodiments of the present invention more clear, the technical solutions in the embodiments of the present invention will be clearly and completely described below with reference to the accompanying drawings in the embodiments of the present invention. Obviously, the described The embodiments of the present invention are a part of the embodiments of the present invention, but not all of the embodiments. Based on the embodiments of the present invention, all other embodiments obtained by those of ordinary skill in the art without creative work fall within the protection scope of the present invention. Accordingly, the following detailed description of the embodiments of the invention provided in the accompanying drawings is not intended to limit the scope of the invention as claimed, but is merely representative of selected embodiments of the invention. Based on the embodiments of the present invention, all other embodiments obtained by those of ordinary skill in the art without creative work fall within the protection scope of the present invention.
在本实用新型的描述中,需要理解的是,术语“中心”、“纵向”、“横向”、“长度”、“宽度”、“厚度”、“上”、“下”、“前”、“后”、“左”、“右”、“竖直”、“水平”、“顶”、“底”、“内”、“外”、“顺时针”、“逆时针”等指示的方位或位置关系为基于附图所示的方位或位置关系,仅是为了便于描述本实用新型和简化描述,而不是指示或暗示所指的设备或元件必须具有特定的方位、以特定的方位构造和操作,因此不能理解为对本实用新型的限制。In the description of the present invention, it should be understood that the terms "center", "longitudinal", "lateral", "length", "width", "thickness", "upper", "lower", "front", "Back", "Left", "Right", "Vertical", "Horizontal", "Top", "Bottom", "Inner", "Outer", "Clockwise", "Counterclockwise" etc. Or the positional relationship is based on the orientation or positional relationship shown in the accompanying drawings, which is only for the convenience of describing the present invention and simplifying the description, rather than indicating or implying that the referred device or element must have a specific orientation, be constructed in a specific orientation and operation, so it cannot be construed as a limitation to the present invention.
此外,术语“第一”、“第二”仅用于描述目的,而不能理解为指示或暗示相对重要性或者隐含指明所指示的技术特征的数量。由此,限定有“第一”、“第二”的特征可以明示或者隐含地包括一个或者更多个该特征。在本实用新型的描述中,“多个”的含义是两个或两个以上,除非另有明确具体的限定。In addition, the terms "first" and "second" are only used for descriptive purposes, and should not be construed as indicating or implying relative importance or implying the number of indicated technical features. Thus, a feature defined as "first" or "second" may expressly or implicitly include one or more of that feature. In the description of the present invention, "plurality" means two or more, unless otherwise expressly and specifically defined.
在本实用新型中,除非另有明确的规定和限定,术语“安装”、“相连”、“连接”、“固定”等术语应做广义理解,例如,可以是固定连接,也可以是可拆卸连接,或成一体;可以是机械连接,也可以是电连接;可以是直接相连,也可以通过中间媒介间接相连,可以是两个元件内部的连通或两个元件的相互作用关系。对于本领域的普通技术人员而言,可以根据具体情况理解上述术语在本实用新型中的具体含义。In the present utility model, unless otherwise expressly specified and limited, the terms "installation", "connection", "connection", "fixed" and other terms should be understood in a broad sense, for example, it may be a fixed connection or a detachable connection Connection, or integration; it can be a mechanical connection or an electrical connection; it can be a direct connection or an indirect connection through an intermediate medium, and it can be the internal communication between the two elements or the interaction relationship between the two elements. For those of ordinary skill in the art, the specific meanings of the above terms in the present invention can be understood according to specific situations.
在本实用新型中,除非另有明确的规定和限定,第一特征在第二特征之“上”或之“下”可以包括第一和第二特征直接接触,也可以包括第一和第二特征不是直接接触而是通过它们之间的另外的特征接触。而且,第一特征在第二特征“之上”、“上方”和“上面”包括第一特征在第二特征正上方和斜上方,或仅仅表示第一特征水平高度高于第二特征。第一特征在第二特征“之下”、“下方”和“下面”包括第一特征在第二特征正下方和斜下方,或仅仅表示第一特征水平高度小于第二特征。In the present invention, unless otherwise expressly specified and limited, a first feature "on" or "under" a second feature may include the first and second features in direct contact, or may include the first and second features The features are not in direct contact but through additional features between them. Also, the first feature being "above", "over" and "above" the second feature includes the first feature being directly above and obliquely above the second feature, or simply means that the first feature is level higher than the second feature. The first feature is "below", "below" and "below" the second feature includes the first feature being directly below and diagonally below the second feature, or simply means that the first feature has a lower level than the second feature.
实施例Example
结合图1和图2,本实施例提供了一种床尾辅助上下床,包括前床腿1、后床腿2、床架3和床板4,前床腿1和后床腿2通过床架3连接在一起,优选的,床架3为两根平行相对的分别连接于前床腿1和后床腿2的两侧,通过床架3的连接支撑,使前床腿1和后床腿2能竖直的支撑,将床板4 置于床架3上,形成一个稳定能用于休息的床。在本实施例中,为了能省去了老年人在床上转身的步骤,从根本上解决了由于上身翻转可能导致老年人腰部受伤的情况,在床架3上套接有滑动台31,滑动台31两侧设有套接床架3的滑动槽,滑动台31的长度小于床架3的长度,使滑动台31能沿床架3作往复运动。在前床腿1的中间设有第一推杆5,第一推杆5与滑动台31相连接且提供动力以推动滑动台31沿床架3作往复运动。床板4 分为上身板41、大腿板42和小腿板43,上身板41与大腿板42、大腿板 42与小腿板43之间通过铰链连接,滑动台31上铰接有推动上身板41和大腿板42翻转的气动弹簧6和第二推杆7,从而使上身板41、大腿板42和小腿板43分开,能根据需要进行不同程度的弯曲,减少对老年膝盖的损伤。而为了防止在气动弹簧6和第二推杆7推动上身板41和大腿板42时产生偏移,使床板4离开滑动台31,在大腿板42连接于小腿板43的一端端部设有铰接于滑动台31的转轴,使大腿板42固定在滑动台31上且能在外力驱动下转动。通过第一推杆5、气动弹簧6和第二推杆7的伸缩运动的配合使床板4从水平状态到上部微屈膝的状态,从而让老年人从平躺到微屈膝站立,完成下床动作,或者使床板4从上部微屈膝的状态到水平状态,从而让老年人从微屈膝站立到平躺,从而完成上床动作。1 and 2 , the present embodiment provides an auxiliary bed at the end of the bed, including a
参照图2,优选的,第一推杆5可通过铆接方式固定在前床腿1上,当第一推杆5收缩到最小时,滑动台31距离前床腿1也有一定的间隙,这样需要将上身板41的长度向前延伸,从上表面看使上身板41能覆盖两者的间隙,使整体更加美观。当然,也可以通过螺栓连接固定。在另一种实施例中,第一推杆5也可固定在滑动台31上,第一推杆5的另一端固定连接在前床腿1上,这样在第一推杆5伸缩的同时也能带动滑动台31作往复运动。Referring to FIG. 2 , preferably, the
进一步的,气动弹簧6和第二推杆7铰接在滑动台31的中间平台上,优选的,将气动弹簧6和第二推杆7铰接在滑动台31中间对中的位置上,能使翻转的受力更好。气动弹簧6连接上身板41,第二推杆7连接大腿板42,当上身板41和大腿板42处于水平状态时,气动弹簧6和第二推杆7 都处于竖直状态,当然,气动弹簧6和第二推杆7在收缩到最小状态下,其高度不大于其置于滑动台31内的高度,以使上身板41和大腿板42能水平地抵接于滑动台31上,而不是气动弹簧6和第二推杆7支撑成水平状,这样能保证老年人平躺时的安全。当和第二推杆7推动大腿板42翻转时会带动气动弹簧6推动上身板41翻转,气动弹簧6和第二推杆7会随其固定在上身板41和大腿板42的连接点而倾斜,使两者处于一种平衡状态。优选的,气动弹簧6与上身板41的连接点应靠近上身板41的前端,同样的第二推杆7与大腿板42的连接点应靠近大腿板42的前端,这样会使气动弹簧6和第二推杆7在伸缩时上身板41和大腿板42的翻转较为缓慢,不会一下翻转过大而对老年人的腰部造成损伤。Further, the
参照图2,由第一推杆5推动滑动台31向床尾滑动,滑动台31的滑动槽碰到后床腿2后将不能在滑动,而如果大腿板42与小腿板43的连接处在滑动台31上,那么小腿板43必定不能处于竖直方向,将会影响小腿的站立,使老年人的膝盖还需要一些弯曲,会使膝盖产生过多压力而疼痛,因此,在滑动台31顶部设有向床尾延伸的支撑面311,支撑面311的长度大于后床腿2的厚度,大腿板42与滑动台31的铰接点位于支撑面311上且距离滑动台31的长度大于后床腿2的厚度,使滑动台31抵接后床腿2 时,铰接点的位置位于后床腿2的外侧,此时的小腿板43在重力的作用下能完全竖直向下,从而能使小腿完全踩踏地板。2, the sliding table 31 is pushed by the
需要说明的是,第一推杆5推动滑动台31向床尾滑动时,滑动台31 带动通过大腿板42铰接在滑动台31上的床板4一起滑动至床尾处,因为大腿板42的尾部铰接在滑动台31尾部延伸的支撑面311上,因此小腿板 43只能支撑在床架3上,可以看出如果小腿板43厚度的大腿板42一样,就会在大腿板42处于水平位置时向下倾斜至床架3来支撑,使老年人在休息的时候膝盖还会弯曲,长期会造成压力,为此,在小腿板43的厚度应设为大腿板42的厚度加滑动台31顶部的厚度之和才能使小腿板43支撑在床架3上呈水平状态,在小腿板43的前端需要设有滑动台31支撑面311的避让部,使支撑面311有足够的强度以支撑大腿板42和上身板41的翻转。为了能使床板4向外移动,后床腿2的高度不能超过滑动台31离地的高度,在本实施例中,后床腿2的高度与床架3高度平齐,能使床板4的小腿板 43向外移动时没有障碍,在第一推杆5推动滑动台31向床尾滑动时,小腿板43会伸出床架3与后床腿2,在重力的作用下会向下倾斜,当小腿板43 完全伸出后床腿2后在重力作用下呈垂直状态,为了缓冲小腿板43的下落,最大程度减轻老年人膝盖弯曲导致的疼痛,在后床腿2的外侧设有弧形倒角,可以以其轴心做下放运动,使位于其上的小腿逐渐弯曲,从而达到小腿缓慢弯曲踩地的目的。优选的,小腿板43可分为上小腿板431和下小腿板432,两者通过铰链连接,这样可以分段进行缓冲,更有利于减少膝盖弯曲承受的更多压力。当然,小腿板43也可分成更多铰接在一起的小板。It should be noted that when the
在本实施例中,为了减少第一推杆5推动滑动台31的摩擦力,可以在滑动台31内设置有滑动轮,滑动轮与床架3相抵接,滑动台31通过滑动轮支撑使其在床架3上作往复运动,在推动滑动台31时,滑动轮可实现自转,从而降低推动滑动台31的推力。In this embodiment, in order to reduce the frictional force of the
在本实施例中,气动弹簧6依靠自身性质对上身板41进行支撑,并不做为电控动力源对上身板41进行完全的推力支撑,仅依靠使用者自身重量与气动弹簧6工作力之间的大小关系,辅助第二推杆7进而实现托举以及下放上身板41。由于气动弹簧6内设有阻尼器,其阻力随着运行速度而改变,可以明显的对连接的机构的速度起到缓冲的作用,刚好符合老年人需要缓慢起身的要求。为此防止气动弹簧6出现干涉、卡滞现象,从而影响正常的转动,使无法达到预定的位置,需要选择精度高、密封性好的材料。In this embodiment, the
在本实施例中,第一推杆5和第二推杆7为带有自锁装置的电动推杆,通过自锁使推杆在没有工作时保持上身板41、大腿板42和小腿板43的静态稳定性,增加使用的安全。需要说明的是,第一推杆5和第二推杆7都是通过电连接在一个控制系统上,通过控制系统控制第一推杆5和第二推杆7的伸缩运动以实现床尾辅助上下床,其如何连接及控制方式为常规手段,此处不再赘述。In this embodiment, the
在本实施例中,设于大腿板42上的转轴可以与大腿板42一体设置,通过固定件9将转轴固定在滑动台31上,固定件9内设有套接转轴的轴承,使第二推杆7施加推力使大腿板42翻转时,能以转轴的轴心作为旋转轴进行旋转,这样转轴与大腿板42一起进行翻转。在另一实施例中,设于大腿板42上的转轴可以是横向贯穿大腿板42,且与用于贯穿大腿板42的通孔之间具有缝隙,转轴通过固定件9固定在滑动台31上,当第二推杆7施加推力使大腿板42翻转时,大腿板42将以转轴的轴心进行翻转,此时的转轴是固定的,不会随大腿板42一起翻转。In this embodiment, the rotating shaft provided on the
在本实施例中,还可以在床板4的两侧设置扶手8,优选的,在大腿板 42两侧设有扶手8,通过两侧扶手8可以作为起身时的依托,减轻老年人的膝盖受力,并且可以在入睡时作为护栏,防止出现意外摔落情况,提高了使用时的安全性和起身站立的稳定性。In this embodiment,
在本实施例中,床架3的水平跳动应小于1mm,能保持滑动台31滑动的平稳性。In this embodiment, the horizontal runout of the
本实用新型实现床尾辅助下床的方法是这样的:The utility model realizes the method for assisting getting out of bed at the end of the bed as follows:
1)控制第一推杆5工作,推动滑动台31向床尾滑动,铰接于其上的大腿板42随之移动至床尾,其带动上身板41以及小腿板43进行运动,在运动过程中,小腿板43在重力的作用下会沿后床腿2的弧形倒角缓慢下放至竖直位置;1) Control the
2)在控制第一推杆5工作时,也会控制第二推杆7同时启动,以一定的速度对大腿板42进行托举,使的大腿板42翻转一定角度;2) when controlling the
3)在第二推杆7对大腿板42进行推举工作时,由于角度的变化,人体对于气动弹簧6的压力发生改变,进而在此同时对上身板41进行推举,直至上身板41翻转达到所设定的位置。3) When the
4)气动弹簧6推动与第二推杆7同时缓慢推动至老年人微屈膝站立状态,完成托举工作,可以通过扶手8进行支撑后站立。4) The
在完成动作后,第一推杆5、气动弹簧6和第二推杆7会进行自锁,以稳定各部件,防止出现下落或滑动的情况。上床动作以上述步骤反运动进行。After the action is completed, the
综上,对于下床动作,通过第一推杆5的伸长运动,第二推杆7对老年人臀部进行向上推举一定角度,然后通过气动弹簧6和第二推杆7的推举,使坐立在床尾的老年人已经在床尾的底面上实现了微屈膝的站立动作,再由通过扶手8进行支撑后站立,即实现了于床尾下床的要求。To sum up, for getting out of bed, through the elongation of the
对于上床动作,老年人坐于倾斜的大腿板42上,背靠上身板41,两手握紧扶手8,首先,第二推杆7进行收缩运动,角度的变化和身体的重量一起带动气动弹簧6的收缩,由站姿转变为坐姿,再由气动弹簧6收缩变成小腿下放的躺姿,最后第一推杆5收缩,小腿板43慢慢变成水平状态,带动小腿直到老年人平躺于床板4之上,实现了由床尾站立至平躺的上床动作。For going to bed, the elderly sit on the
基于上述,本实用新型用于老年人的独立床尾辅助上下床,可将控制系统(图中未示意)设于扶手8上,或者在各种状态下手都能触碰的地方,这些都是常规手段,此处不再赘述。Based on the above, the present invention is used for the independent bed end assisting getting in and out of bed for the elderly, and the control system (not shown in the figure) can be arranged on the
以上仅是本实用新型的优选实施方式,本实用新型的保护范围并不仅局限于上述实施例,凡属于本实用新型思路下的技术方案均属于本实用新型的保护范围。The above are only the preferred embodiments of the present utility model, and the protection scope of the present utility model is not limited to the above-mentioned embodiments, and all technical solutions under the idea of the present utility model belong to the protection scope of the present utility model.
Claims (10)
Priority Applications (1)
| Application Number | Priority Date | Filing Date | Title |
|---|---|---|---|
| CN202020133281.9U CN211535271U (en) | 2020-01-20 | 2020-01-20 | Auxiliary getting-on and getting-off bed at bed tail |
Applications Claiming Priority (1)
| Application Number | Priority Date | Filing Date | Title |
|---|---|---|---|
| CN202020133281.9U CN211535271U (en) | 2020-01-20 | 2020-01-20 | Auxiliary getting-on and getting-off bed at bed tail |
Publications (1)
| Publication Number | Publication Date |
|---|---|
| CN211535271U true CN211535271U (en) | 2020-09-22 |
Family
ID=72493400
Family Applications (1)
| Application Number | Title | Priority Date | Filing Date |
|---|---|---|---|
| CN202020133281.9U Withdrawn - After Issue CN211535271U (en) | 2020-01-20 | 2020-01-20 | Auxiliary getting-on and getting-off bed at bed tail |
Country Status (1)
| Country | Link |
|---|---|
| CN (1) | CN211535271U (en) |
Cited By (3)
| Publication number | Priority date | Publication date | Assignee | Title |
|---|---|---|---|---|
| CN111134982A (en) * | 2020-01-20 | 2020-05-12 | 华侨大学 | Auxiliary getting-on and getting-off bed at bed tail |
| CN112168544A (en) * | 2020-10-10 | 2021-01-05 | 台州学院 | Intelligent power-assisted pedestal pan device on bed for old people |
| CN112998987A (en) * | 2021-04-19 | 2021-06-22 | 陕西省人民医院 | Be applicable to multi-functional device of taking exercise of postoperative patient limbs that need not to get out of bed |
-
2020
- 2020-01-20 CN CN202020133281.9U patent/CN211535271U/en not_active Withdrawn - After Issue
Cited By (4)
| Publication number | Priority date | Publication date | Assignee | Title |
|---|---|---|---|---|
| CN111134982A (en) * | 2020-01-20 | 2020-05-12 | 华侨大学 | Auxiliary getting-on and getting-off bed at bed tail |
| CN111134982B (en) * | 2020-01-20 | 2024-05-14 | 华侨大学 | Bed tail assists bunk bed |
| CN112168544A (en) * | 2020-10-10 | 2021-01-05 | 台州学院 | Intelligent power-assisted pedestal pan device on bed for old people |
| CN112998987A (en) * | 2021-04-19 | 2021-06-22 | 陕西省人民医院 | Be applicable to multi-functional device of taking exercise of postoperative patient limbs that need not to get out of bed |
Similar Documents
| Publication | Publication Date | Title |
|---|---|---|
| CN211535271U (en) | Auxiliary getting-on and getting-off bed at bed tail | |
| CN111134982B (en) | Bed tail assists bunk bed | |
| CN102283750B (en) | Multifunctional leisure wheelchair | |
| CN206700330U (en) | A kind of medical treatment auxiliary is with having helped seat | |
| CN220370151U (en) | A length-adjustable surgical operating table | |
| CN117159306B (en) | Length-adjustable operating table | |
| CN112587320A (en) | Automatic adjustable old man helping hand platform of riding | |
| CN219022007U (en) | Nursing bed with play back of body safeguard function | |
| CN218129009U (en) | Electric nursing bed | |
| CN113288605B (en) | Sitting and sleeping chair based on metamorphic mechanism and parallel four-bar mechanism | |
| CN213964038U (en) | Modular nephrology dept dialysis nursing bed | |
| CN211610437U (en) | Multifunctional sickbed with leg support | |
| CN211748289U (en) | Electric sofa support capable of being vertically lifted | |
| CN210810121U (en) | A folding bed with wheelchair function | |
| CN211408319U (en) | A medical multifunctional storage bed | |
| JP3247913U (en) | Electric bed | |
| CN213247468U (en) | Folding table with electrically adjustable height | |
| CN208481624U (en) | A kind of nursing bed with head fold safeguard function | |
| CN111759690A (en) | Massage chair with link gear | |
| CN220423568U (en) | Three-functional intelligent bed | |
| CN211862348U (en) | Intelligent bed for helping old people | |
| CN221635363U (en) | Sitting station adjusting mechanism and seat thereof | |
| CN2633107Y (en) | seat lifter | |
| CN216725002U (en) | Movable cart | |
| CN115153247B (en) | High lifting stability's electric bed transmission structure and electric bed |
Legal Events
| Date | Code | Title | Description |
|---|---|---|---|
| GR01 | Patent grant | ||
| GR01 | Patent grant | ||
| AV01 | Patent right actively abandoned | ||
| AV01 | Patent right actively abandoned | ||
| AV01 | Patent right actively abandoned |
Granted publication date: 20200922 Effective date of abandoning: 20240514 |
|
| AV01 | Patent right actively abandoned |
Granted publication date: 20200922 Effective date of abandoning: 20240514 |
