CN211521878U - Combined high-efficiency reaction clarification filter - Google Patents
Combined high-efficiency reaction clarification filter Download PDFInfo
- Publication number
- CN211521878U CN211521878U CN201922419650.0U CN201922419650U CN211521878U CN 211521878 U CN211521878 U CN 211521878U CN 201922419650 U CN201922419650 U CN 201922419650U CN 211521878 U CN211521878 U CN 211521878U
- Authority
- CN
- China
- Prior art keywords
- reaction chamber
- filter
- clarification
- backwashing
- water outlet
- Prior art date
- Legal status (The legal status is an assumption and is not a legal conclusion. Google has not performed a legal analysis and makes no representation as to the accuracy of the status listed.)
- Active
Links
Images
Landscapes
- Filtration Of Liquid (AREA)
Abstract
本实用新型公开了一种组合式高效反应澄清过滤机,包括机体,在机体内从底部到顶部依次设置有泥斗、澄清层、过滤层和出水堰,在机体底部设置有喷射器,在机体内还设置有第一反应室和第二反应室,过滤层为漂浮在水面上的轻质滤料,在出水堰下方设置有滤板,滤板上设置有喷头,第二反应室的顶端伸到澄清层和过滤层之间,在第二反应室和过滤层之间设置有反冲洗装置,反冲洗装置包括依次相连的进水管、反冲洗主管和若干反冲洗支管,在反冲洗支管上设置有冲洗喷头,在机体上设置有反冲洗进水口和反冲洗排水口,进水管与反冲洗进水口相连,反冲洗排水口位于反冲洗支管和澄清层之间。本实用新型增大了过滤面积,提高了过滤速度,反冲洗更为彻底。
The utility model discloses a combined high-efficiency reaction clarification filter, which comprises a body. A mud hopper, a clarification layer, a filter layer and a water outlet weir are sequentially arranged in the body from the bottom to the top, an ejector is arranged at the bottom of the body, and a There are also a first reaction chamber and a second reaction chamber inside, the filter layer is a light filter material floating on the water surface, a filter plate is arranged under the water outlet weir, a nozzle is arranged on the filter plate, and the top of the second reaction chamber is extended. Between the clarification layer and the filter layer, a backwashing device is arranged between the second reaction chamber and the filter layer. The backwashing device includes a water inlet pipe, a backwashing main pipe and a number of backwashing branch pipes that are connected in sequence. There is a flushing nozzle, a backwashing water inlet and a backwashing water outlet are arranged on the body, the water inlet pipe is connected with the backwashing water inlet, and the backwashing water outlet is located between the backwashing branch pipe and the clarification layer. The utility model increases the filtering area, increases the filtering speed, and makes the backwashing more thorough.
Description
技术领域technical field
本实用新型属于澄清净化设备领域,具体涉及一种组合式高效反应澄清过滤机。The utility model belongs to the field of clarification and purification equipment, in particular to a combined high-efficiency reaction clarification filter.
背景技术Background technique
在进行污水处理时常常会采用澄清设备以实现固液分离,现有的一体化水动力澄清设备能够同时实现澄清和过滤,并利用喷射器喷射时的动力带动内部混合液循环,出水水质较好,但现有的一体化水动力澄清设备存在以下问题:1、过滤层面积较小,过滤速度慢,同时过滤层位置固定,无法分散,导致反冲洗时过滤层清洗不彻底,过滤效果降低;2、出水堰为环形,距离出水堰较近的喷头出水快,而中部距离出水堰较远的喷头出水慢,过滤层使用不均,影响过滤效果;3、喷射器设置在泥斗底部,喷射器附近的污泥会在水力喷射的动力下不断循环,导致从泥斗排泥口排出的污泥含水率过高。In sewage treatment, clarification equipment is often used to achieve solid-liquid separation. The existing integrated hydrodynamic clarification equipment can realize clarification and filtration at the same time, and use the power of the ejector to drive the internal mixed liquid circulation, and the quality of the effluent is better. However, the existing integrated hydrodynamic clarification equipment has the following problems: 1. The area of the filter layer is small, the filtration speed is slow, and the position of the filter layer is fixed and cannot be dispersed, resulting in incomplete cleaning of the filter layer during backwashing and reduced filtering effect; 2. The outlet weir is annular, the nozzle closer to the outlet weir emits water faster, while the nozzle that is farther away from the outlet weir in the middle emits slower water, and the filter layer is used unevenly, which affects the filtering effect; The sludge near the hopper will be continuously circulated under the power of hydraulic jet, resulting in excessive moisture content of the sludge discharged from the sludge discharge port of the mud hopper.
实用新型内容Utility model content
针对上述技术问题,本实用新型旨在提供一种能够有效清洗过滤层,提高过滤效果的组合式高效反应澄清过滤机。In view of the above technical problems, the utility model aims to provide a combined high-efficiency reaction clarification filter that can effectively clean the filter layer and improve the filtering effect.
为此,本实用新型所采用的技术方案为:一种组合式高效反应澄清过滤机,包括机体,在所述机体内从底部到顶部依次设置有泥斗、澄清层、过滤层和出水堰,在所述机体底部设置有喷射器,在所述机体内还设置有第一反应室和第二反应室,所述喷射器的出水口伸入第一反应室的底部进水口内,所述第一反应室的顶端伸到第二反应室内靠顶部的位置,污水从第一反应室底部进入后,从顶部溢流到第二反应室,所述第二反应室的出水口位于其底部,且第二反应室的出水口位于澄清层下方,污水从第二反应室出来后依次经过澄清层、过滤层后从出水堰排出,所述过滤层为漂浮在水面上的轻质滤料,在所述出水堰下方设置有阻挡轻质滤料的滤板,所述滤板上设置有若干均匀分布的喷头,所述第二反应室的顶端伸到澄清层和过滤层之间,在所述第二反应室和过滤层之间设置有反冲洗装置,所述反冲洗装置包括依次相连的进水管、反冲洗主管和若干均匀分布的反冲洗支管,所述反冲洗支管的一端与反冲洗主管连通,另一端水平延伸并固定在机体内壁上,在所述反冲洗支管上设置有若干朝向过滤层的冲洗喷头,在所述机体上设置有反冲洗进水口和反冲洗排水口,所述进水管与反冲洗进水口相连,所述反冲洗排水口位于反冲洗支管和澄清层之间。Therefore, the technical scheme adopted by the present invention is as follows: a combined high-efficiency reaction clarification filter includes a body, and a mud bucket, a clarification layer, a filter layer and a water outlet weir are sequentially arranged in the body from the bottom to the top, An ejector is arranged at the bottom of the body, a first reaction chamber and a second reaction chamber are also arranged in the body, the water outlet of the ejector extends into the bottom water inlet of the first reaction chamber, the first reaction chamber The top of a reaction chamber extends to a position near the top of the second reaction chamber, the sewage enters from the bottom of the first reaction chamber, and overflows from the top to the second reaction chamber, and the water outlet of the second reaction chamber is located at the bottom thereof, and The water outlet of the second reaction chamber is located below the clarification layer. After the sewage comes out of the second reaction chamber, it passes through the clarification layer and the filter layer in sequence and then is discharged from the outlet weir. The filter layer is a light filter material floating on the water surface. A filter plate for blocking the light filter material is arranged below the outlet weir, a number of evenly distributed nozzles are arranged on the filter plate, and the top of the second reaction chamber extends between the clarification layer and the filter layer. A backwashing device is arranged between the second reaction chamber and the filter layer. The backwashing device includes a water inlet pipe, a backwashing main pipe and several backwashing branch pipes that are connected in sequence, and one end of the backwashing branch pipe is connected to the backwashing main pipe. , the other end extends horizontally and is fixed on the inner wall of the body, the backwash branch pipe is provided with a number of flushing nozzles facing the filter layer, the body is provided with a backwash water inlet and a backwash drain, the water inlet pipe It is connected with the backwash water inlet, and the backwash water outlet is located between the backwash branch pipe and the clarification layer.
作为优选,所述机体为圆筒形,所述反冲洗主管安装在第二反应室上方,并与机体同轴设置,所述反冲洗支管均径向延伸,所述进水管水平延伸并位于反冲洗支管上方。采用以上结构,反冲洗支管布置合理,进一步提高反冲洗效果,进水管位于反冲洗支管上方,更为节能。Preferably, the body is cylindrical, the backwash main pipe is installed above the second reaction chamber, and is coaxially arranged with the body, the backwash branch pipes all extend radially, and the water inlet pipe extends horizontally and is located in the opposite direction. Flush the top of the branch. With the above structure, the arrangement of the backwashing branch pipes is reasonable, which further improves the backwashing effect, and the water inlet pipe is located above the backwashing branch pipe, which is more energy-saving.
作为优选,所述出水堰呈十字形,且其十字交叉中心与机体中心重合。采用以上结构,出水从出水堰的两侧进入出水堰,缩短了各喷头与出水堰之间的平均距离,各喷头的出水速度更为均匀。Preferably, the outlet weir is in the shape of a cross, and the cross center of the water outlet weir coincides with the center of the body. With the above structure, the outlet water enters the outlet weir from both sides of the outlet weir, which shortens the average distance between each nozzle and the outlet weir, and the water outlet speed of each nozzle is more uniform.
作为优选,所述机体为圆筒形,其下部直径从上到下逐渐缩小形成圆台形的沉淀区,所述泥斗的顶部开口与沉淀区的上部连通,在所述泥斗下部设置有排泥口。采用以上结构,泥斗与沉淀区的上部连通,使得进入泥斗的污泥不会在水力喷射的作用下再次循环,降低了泥斗内污泥的含水率,提高了沉淀效果。Preferably, the body is cylindrical, the diameter of the lower part of which is gradually reduced from top to bottom to form a truncated precipitation area, the top opening of the mud hopper is communicated with the upper part of the precipitation area, and a drain is arranged at the lower part of the mud hopper. mud mouth. With the above structure, the mud hopper is communicated with the upper part of the sedimentation area, so that the sludge entering the mud hopper will not be recirculated under the action of hydraulic jet, which reduces the moisture content of the sludge in the mud hopper and improves the sedimentation effect.
作为优选,所述机体通过四个呈矩形布置的支腿支撑,所述泥斗的尺寸从上到下逐渐缩小,且其底部形成与支腿底面齐平的支撑面。采用以上结构,利于污泥进入泥斗,同时泥斗能够作为机体的辅助支撑,使机体的安装结构更为稳定。Preferably, the body is supported by four outriggers arranged in a rectangular shape, the size of the mud bucket is gradually reduced from top to bottom, and the bottom thereof forms a supporting surface flush with the bottom surface of the outriggers. The above structure is used to facilitate the entry of sludge into the mud bucket, and at the same time, the mud bucket can be used as an auxiliary support for the body, so that the installation structure of the body is more stable.
本实用新型的有益效果是:过滤层漂浮在整个水面上,增大了过滤面积,提高了过滤速度;过滤层的位置能够通过水面高度进行调节,因此在进行反冲洗时可以通过降低过滤层高度,从而缩短过滤层与反冲洗支管的距离,提高反冲洗效果,同时在反冲洗时轻质滤料更为分散,使反冲洗更为彻底。The beneficial effects of the utility model are: the filter layer floats on the entire water surface, which increases the filtering area and improves the filtering speed; the position of the filter layer can be adjusted by the height of the water surface, so when backwashing, the height of the filter layer can be reduced by reducing the height of the filter layer. , thereby shortening the distance between the filter layer and the backwashing branch pipe, improving the backwashing effect, and at the same time, the light filter material is more dispersed during backwashing, making the backwashing more thorough.
附图说明Description of drawings
图1为本实用新型的结构示意图;Fig. 1 is the structural representation of the utility model;
图2为出水堰的结构示意图;Fig. 2 is the structural representation of weir;
图3为反冲洗装置的结构示意图。Figure 3 is a schematic diagram of the structure of the backwashing device.
具体实施方式Detailed ways
下面通过实施例并结合附图,对本实用新型作进一步说明:Below by embodiment and in conjunction with accompanying drawing, the utility model is further described:
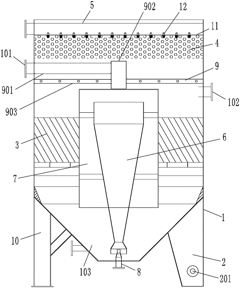
如图1所示,一种组合式高效反应澄清过滤机,主要由机体1、泥斗2、澄清层3、过滤层4、出水堰5、第一反应室6、第二反应室7、喷射器8、反冲洗装置9、支腿10、滤板11和喷头12组成,机体1通过支腿10支撑,在机体1内从底部到顶部依次设置泥斗2、澄清层3、过滤层4和出水堰5,澄清层3为斜管层,喷射器8设置在机体1底部,第一反应室6和第二反应室7位于机体1内,第一反应室6为从上到下直径逐渐缩小的锥形结构,第二反应室7为圆筒形,且第二反应室7的下端出水口位于泥斗2和澄清层3之间,第一反应室6的下端进水口位于第二反应室7下方,上端出水口伸入第二反应室7内并靠近第二反应室7顶部,喷射器8的出水口伸入第一反应室6的进水口内,矿井水从喷射器8进入后依次经过第一反应室6、第二反应室7、澄清层3、过滤层4后从出水堰5排出。As shown in Figure 1, a combined high-efficiency reaction clarification filter is mainly composed of a body 1, a
如图1和图3所示,机体1为圆筒形,过滤层4为漂浮在水面上的轻质滤料,并位于第二反应室7上方,过滤层4可以为陶粒或其他轻质滤料,在出水堰5下方设置有滤板11,滤板11用于阻挡轻质滤料,防止轻质滤料从出水堰5溢出,滤板11水平设置并固定在机体1的内壁上,滤板11上设置有若干均匀分布的喷头12,出水经过滤层4过滤后从各喷头12喷出。在第二反应室7和过滤层4之间设置有反冲洗装置9,反冲洗装置9包括依次相连的进水管901、反冲洗主管902和若干均匀分布的反冲洗支管903,反冲洗主管902安装在第二反应室7上方,并与机体1同轴设置,反冲洗支管903的一端与反冲洗主管902连通,另一端水平径向延伸并固定在机体1的内壁上,在反冲洗支管903上设置有若干朝向过滤层4的冲洗喷头,进水管901水平径向延伸并位于反冲洗支管903上方,在机体1上设置有反冲洗进水口101和反冲洗排水口102,进水管901与反冲洗进水口101相连,反冲洗排水口102位于反冲洗支管903和澄清层3之间,能够防止从反冲洗支管903喷出的水直接从反冲洗排水口102排出。在进行反冲洗时,先将反冲洗排水口102打开,降低水位,使过滤层4更为接近反冲洗支管903,然后打开反冲洗进水口101,水从反冲洗进水口101进入,依次流经进水管901、反冲洗主管902、反冲洗支管903后从冲洗喷头喷出,对过滤层4进行反冲洗,反冲洗排水从反冲洗排水口102排出,在反冲洗过程中始终保持过滤层4位于反冲洗支管903上方,过滤层4距离反冲洗支管903较近,同时轻质滤料在反冲洗过程中水流的冲击下反复翻滚、冲散再聚拢,有效提高反冲洗效果。As shown in Figures 1 and 3, the body 1 is cylindrical, the
如图1和图2所示,出水堰5呈十字形,且其十字交叉中心与机体1中心重合,喷头12喷出的水从出水堰5的两侧流入出水堰5,与现有的环形出水堰相比,缩短了各喷头12与出水堰5的平均距离,使得出水效率更高,同时各喷头12的出水更为均匀。As shown in FIGS. 1 and 2 , the
如图1所示,机体1通过四个呈矩形布置的支腿10支撑,机体1的下部直径从上到下逐渐缩小形成圆台形的沉淀区103,在机体1底部的相对两侧分别设置有一个泥斗2,且泥斗2的顶部开口与沉淀区103的上部连通,在泥斗2下部设置有排泥口201,泥斗2的尺寸从上到下逐渐缩小,泥斗2的底部形成与支腿10底面齐平的支撑面,使得泥斗2对机体1起到辅助支撑的作用。As shown in FIG. 1 , the body 1 is supported by four
Claims (5)
Priority Applications (1)
| Application Number | Priority Date | Filing Date | Title |
|---|---|---|---|
| CN201922419650.0U CN211521878U (en) | 2019-12-27 | 2019-12-27 | Combined high-efficiency reaction clarification filter |
Applications Claiming Priority (1)
| Application Number | Priority Date | Filing Date | Title |
|---|---|---|---|
| CN201922419650.0U CN211521878U (en) | 2019-12-27 | 2019-12-27 | Combined high-efficiency reaction clarification filter |
Publications (1)
| Publication Number | Publication Date |
|---|---|
| CN211521878U true CN211521878U (en) | 2020-09-18 |
Family
ID=72467401
Family Applications (1)
| Application Number | Title | Priority Date | Filing Date |
|---|---|---|---|
| CN201922419650.0U Active CN211521878U (en) | 2019-12-27 | 2019-12-27 | Combined high-efficiency reaction clarification filter |
Country Status (1)
| Country | Link |
|---|---|
| CN (1) | CN211521878U (en) |
Cited By (1)
| Publication number | Priority date | Publication date | Assignee | Title |
|---|---|---|---|---|
| CN115414727A (en) * | 2022-08-15 | 2022-12-02 | 安徽工业大学 | A device and method for filtering and purifying sewage with a hydraulically driven self-cleaning biological turntable |
-
2019
- 2019-12-27 CN CN201922419650.0U patent/CN211521878U/en active Active
Cited By (1)
| Publication number | Priority date | Publication date | Assignee | Title |
|---|---|---|---|---|
| CN115414727A (en) * | 2022-08-15 | 2022-12-02 | 安徽工业大学 | A device and method for filtering and purifying sewage with a hydraulically driven self-cleaning biological turntable |
Similar Documents
| Publication | Publication Date | Title |
|---|---|---|
| CN110917679B (en) | A kind of micro water recoil variable speed upward flow lightweight filter material filter and method thereof | |
| CN202015528U (en) | Reverse flow continuous sand filter | |
| CN203017830U (en) | Continuous type sand filter | |
| CN112657241B (en) | Upward flow filter pool with heterogeneous filter material | |
| CN201253505Y (en) | Gas-stripping type continuous sand filtering device | |
| CN206045510U (en) | Water process filtering ponds | |
| CN211521878U (en) | Combined high-efficiency reaction clarification filter | |
| CN216191747U (en) | An up-flow self-cleaning aerated biological filter domestic sewage treatment device | |
| CN104524829A (en) | Active quicksand filter | |
| CN206676107U (en) | A kind of High-rate sedimentation filter | |
| CN106746376A (en) | A valveless rapid sand filter deep treatment buried integrated sewage treatment method | |
| CN102923842B (en) | Aerated biological filtration tank | |
| CN201890787U (en) | Double-layered pressure type integrated deoiler | |
| CN100556830C (en) | Integrated oil-containing waste water treating device | |
| CN106915871A (en) | Treated sewage reusing sewage-treatment plant | |
| CN104402137B (en) | Upflow coagulation cloth filter device and method | |
| CN201988234U (en) | Vertical-flow sedimentation basin | |
| CN219290858U (en) | An integrated coal water treatment equipment | |
| CN219333473U (en) | Air-water back flushing filter tank | |
| CN111704240B (en) | A kind of negative pressure backwashing denitrification biological filter and cleaning method | |
| CN205461187U (en) | Gravity type valveless filter | |
| CN211035497U (en) | Sedimentation device for sewage treatment | |
| CN211170156U (en) | Sewage treatment device capable of removing fine silt | |
| CN108553957A (en) | A kind of water treatment facilities with float-type plumbing mechanism | |
| CN207877378U (en) | A kind of novel cloth hydrophone |
Legal Events
| Date | Code | Title | Description |
|---|---|---|---|
| GR01 | Patent grant | ||
| GR01 | Patent grant | ||
| TR01 | Transfer of patent right | ||
| TR01 | Transfer of patent right |
Effective date of registration: 20250428 Address after: 401220 office building, no.6, Xinmin Road, Xinshi street, Changshou District, Chongqing Patentee after: Chongqing Yuchang Environmental Protection Technology Co.,Ltd. Country or region after: China Address before: 400042 1-6, 88 Huju Road, Yuzhong District, Chongqing Patentee before: CHONGQING GANGLI ENVIRONMENTAL PROTECTION CO.,LTD. Country or region before: China |
