CN211426497U - Portable concrete slump tester - Google Patents
Portable concrete slump tester Download PDFInfo
- Publication number
- CN211426497U CN211426497U CN201921771861.4U CN201921771861U CN211426497U CN 211426497 U CN211426497 U CN 211426497U CN 201921771861 U CN201921771861 U CN 201921771861U CN 211426497 U CN211426497 U CN 211426497U
- Authority
- CN
- China
- Prior art keywords
- measuring cylinder
- concrete slump
- base
- handle
- concrete
- Prior art date
- Legal status (The legal status is an assumption and is not a legal conclusion. Google has not performed a legal analysis and makes no representation as to the accuracy of the status listed.)
- Expired - Fee Related
Links
Images
Landscapes
- Investigating Strength Of Materials By Application Of Mechanical Stress (AREA)
Abstract
本实用新型提供了一种便携式混凝土坍落度测试仪,包括底座和混凝土坍落度量筒,底板上还设有活动压板,混凝土坍落度量筒外侧壁设有量筒固定卡板;当混凝土坍落度量筒位于底座上时,量筒固定卡板被活动压板固定。本实用新型一方面将底座和混凝土坍落度量筒组合在一起,并组合捣棒、量尺和铲勺,方便提拿,同时改变了传统的现场采用不固定材料或地面临时做为底板的不规范性。另一方面是将混凝土坍落度量筒通过活动压板固定住,不会移位,方便试验人员灌装混凝土,一个人就可以操作,减少劳动力投入。第三是将提手作为测量混凝土坍落度数值的标记线,不用额外增加辅助工具即可测量,能准确、快速达到测量目的,减少不同操作试验员的操作误差。
The utility model provides a portable concrete slump tester, which comprises a base and a concrete slump measuring cylinder, a movable pressing plate is arranged on the bottom plate, and a measuring cylinder fixing card is arranged on the outer side wall of the concrete slump measuring cylinder; When the measuring cylinder is on the base, the measuring cylinder fixing card is fixed by the movable pressing plate. On the one hand, the utility model combines the base and the concrete slump measuring cylinder, and combines the tamper, the measuring ruler and the shovel, which is convenient for handling, and at the same time changes the traditional method of using unfixed materials or the ground temporarily as the bottom plate. normative. On the other hand, the concrete slump measuring cylinder is fixed by the movable platen and will not shift, which is convenient for the test personnel to fill the concrete, and can be operated by one person, reducing labor input. The third is to use the handle as a marking line for measuring the slump value of concrete, which can be measured without additional auxiliary tools, which can achieve the purpose of measurement accurately and quickly, and reduce the operation error of different operators and testers.
Description
技术领域technical field
本实用新型属于建筑工程领域,涉及用于检测混凝土坍落度的一种便携式混凝土坍落度测试仪。The utility model belongs to the field of construction engineering, and relates to a portable concrete slump tester for detecting concrete slump.
背景技术Background technique
混凝土坍落度主要是指混凝土的塑化性能和可泵性能,影响混凝土坍落度主要有级配变化、含水量、衡器的称量偏差,外加剂的用量容易被忽视的还有水泥的温度几个方面。坍落度是指混凝土的和易性,具体来说就是保证施工的正常进行,其中包括混凝土的保水性,流动性和粘聚性Concrete slump mainly refers to the plasticizing performance and pumpability of concrete. The main factors that affect concrete slump are gradation changes, water content, weighing deviation of weighing instruments, and the amount of admixtures that is easily overlooked is the temperature of cement. several aspects. Slump refers to the workability of concrete, specifically to ensure the normal progress of construction, including the water retention, fluidity and cohesion of concrete
坍落度的测试方法:用一个上口100mm、下口200mm、高300mm喇叭状的坍落度量筒,灌入混凝土分三次填装,每次填装后用捣棒沿筒壁均匀由外向内击打,捣实后,抹平。然后拔起量筒,混凝土因自重产生坍落现象,用量筒高(300mm)减去坍落后混凝土最高点的高度,称为坍落度。Test method for slump: use a slump measuring cylinder with an upper mouth of 100mm, a lower mouth of 200mm and a height of 300mm, pour concrete into it and fill it in three times. Beat, tamped, and smoothed. Then pull up the measuring cylinder, and the concrete will slump due to its own weight. The height of the measuring cylinder (300mm) minus the height of the highest point of the concrete after the slump is called slump.
传统的作业中,现场采用不固定材料或平整地面临时作为坍落度量筒的底板,属于不规范性作业。并且,做坍落度的测试时,通常需要一人负责稳定坍落度量筒,另一人进行混凝土填装,在做混凝土坍落度测量时也需要有人在旁边配合,先在混凝土旁边垂直于坍落度量筒的底板立一根杆子,再在混凝土上方距坍落度量筒的底板300mm(即坍落度量筒的高度) 处平行设置一根横杆,将横杆底面至混凝土顶面的距离用尺子测量,所得数据为坍落度数值,这样需要两人作业,不省时省力。In traditional operations, unfixed materials or flat ground are temporarily used as the bottom plate of the slump measuring cylinder on site, which is an irregular operation. In addition, when the slump test is performed, one person is usually required to stabilize the slump measuring cylinder, and another person is required to fill the concrete. A pole is erected on the bottom of the measuring cylinder, and then a horizontal bar is set parallel to the bottom of the slump measuring cylinder 300mm above the concrete (that is, the height of the slumping measuring cylinder). Measurement, the obtained data is the slump value, which requires two people to work, saving time and effort.
为了解决上述问题,本实用新型设计开发了一种便携式混凝土坍落度测试仪,在规范作业的同时,携带方便,快速测量,效果十分显著。In order to solve the above problems, the utility model designs and develops a portable concrete slump tester, which is convenient to carry and quick to measure while standardizing the operation, and has a very significant effect.
实用新型内容Utility model content
为了解决上述技术问题,本实用新型提供了一种便携式混凝土坍落度测试仪,包括底座和混凝土坍落度量筒,底板上还设有活动压板,混凝土坍落度量筒外侧壁设有量筒固定卡板;当混凝土坍落度量筒位于底座上时,量筒固定卡板被活动压板固定。In order to solve the above technical problems, the utility model provides a portable concrete slump tester, which includes a base and a concrete slump measuring cylinder, a movable pressing plate is also provided on the bottom plate, and a measuring cylinder fixing card is arranged on the outer side wall of the concrete slump measuring cylinder. plate; when the concrete slump measuring cylinder is located on the base, the measuring cylinder fixing card is fixed by the movable pressing plate.
作为本实用新型的进一步改进:底座上还设有提手,所述提手与底座两侧活动连接。As a further improvement of the present invention, the base is also provided with a handle, and the handle is movably connected with both sides of the base.
作为本实用新型的进一步改进:提手通过底板两侧的固定螺栓连接在底座两侧;提手可沿固定螺栓左右转动。提手可沿固定螺栓左右转动至与底板放平。As a further improvement of the present invention, the handle is connected to both sides of the base through the fixing bolts on both sides of the bottom plate; the handle can be rotated left and right along the fixing bolt. The handle can be turned left and right along the fixing bolt until it is level with the bottom plate.
作为本实用新型的进一步改进:提手的形状为多个直线段连接组成的弯曲结构,顶部握手处设计为平直段,该平直段平行于底板平面。As a further improvement of the present invention, the shape of the handle is a curved structure formed by connecting a plurality of straight segments, and the top handle is designed as a straight segment, and the straight segment is parallel to the plane of the bottom plate.
作为本实用新型的进一步改进:平直段长度为150-250mm。As a further improvement of the utility model: the length of the straight section is 150-250mm.
作为本实用新型的进一步改进:当提手垂直竖立时,提手的平直段底平面距底座的距离与混凝土坍落度量筒的高度相同。这样的提手设计,当提手垂直竖立时,混凝土坍落度量筒刚好能平放进去,即提手的平直段底面距底座平面距离为300mm。As a further improvement of the utility model: when the handle is erected vertically, the distance between the bottom plane of the straight section of the handle and the base is the same as the height of the concrete slump measuring cylinder. With such a handle design, when the handle is erected vertically, the concrete slump measuring cylinder can just be placed flat, that is, the distance between the bottom surface of the straight section of the handle and the plane of the base is 300mm.
作为本实用新型的进一步改进:所述活动压板为两个,对称的位于底座上。As a further improvement of the present invention, there are two movable pressing plates, which are symmetrically located on the base.
作为本实用新型的进一步改进:所述活动压板通过螺栓连接在底座上,活动压板在底座上可以左右旋转。As a further improvement of the present invention, the movable pressing plate is connected to the base through bolts, and the movable pressing plate can rotate left and right on the base.
作为本实用新型的进一步改进:量筒固定卡板为两个,对称设置在混凝土坍落度量筒外侧壁底部。As a further improvement of the utility model, there are two measuring cylinder fixing cards, which are symmetrically arranged at the bottom of the outer side wall of the concrete slump measuring cylinder.
作为本实用新型的进一步改进:还包括捣棒、量尺和铲勺。As a further improvement of the utility model: it also includes a tamper, a measuring ruler and a scoop.
有益效果beneficial effect
本实用新型的便携式混凝土坍落度测试仪一方面将底座和混凝土坍落度量筒组合在一起,并组合捣棒、量尺和铲勺,方便提拿,同时改变了传统的现场采用不固定材料或地面临时做为底板的不规范性。另一方面是将混凝土坍落度量筒通过活动压板固定住,不会移位,方便试验人员灌装混凝土,一个人就可以操作,减少劳动力投入,而且不会污染试验员鞋子。第三是将提手作为测量混凝土坍落度数值的标记线,不用额外增加辅助工具即可测量,能准确、快速达到测量目的,减少不同操作试验员的操作误差。On the one hand, the portable concrete slump tester of the utility model combines the base and the concrete slump measuring cylinder, and combines the tamping rod, the measuring ruler and the scoop, which is convenient to carry, and at the same time changes the traditional on-site use of non-fixed materials Or the irregularity of the ground temporarily serving as the bottom plate. On the other hand, the concrete slump measuring cylinder is fixed by the movable platen and will not be displaced, which is convenient for the tester to fill the concrete, which can be operated by one person, reduces labor input, and does not contaminate the tester's shoes. The third is to use the handle as a marking line for measuring the slump value of concrete, which can be measured without additional auxiliary tools, which can achieve the purpose of measurement accurately and quickly, and reduce the operation error of different operators and testers.
附图说明Description of drawings
图1是本实用新型便携式混凝土坍落度测试仪的结构示意图。FIG. 1 is a schematic structural diagram of the portable concrete slump tester of the present invention.
图2是本实用新型便携式混凝土坍落度测试仪的另一结构示意图。Fig. 2 is another structural schematic diagram of the portable concrete slump tester of the present invention.
图3是本实用新型便携式混凝土坍落度测试仪的一个测量状态示意图。3 is a schematic diagram of a measurement state of the portable concrete slump tester of the present invention.
附图标记reference number
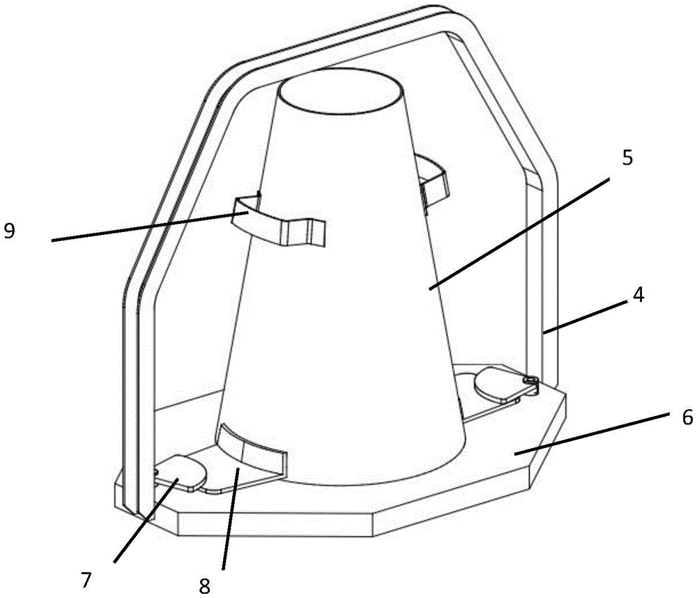
1-捣棒;2-量尺;3-铲勺;4--提手;41-提手连接螺栓;42-提手的平直段;5- 混凝土坍落度量筒;6-底座;7-活动压板;71-活动压板与底座连接螺栓;8-量筒固定卡板;9-量筒手把;10-自然坍落状态混凝土。1- tamping stick; 2- measuring ruler; 3- scoop; 4- handle; 41- handle connecting bolt; 42- straight section of handle; 5- concrete slump measuring cylinder; 6- base; 7 - movable pressure plate; 71- connecting bolts between movable pressure plate and base; 8- measuring cylinder fixed card; 9- measuring cylinder handle; 10- natural slump state concrete.
具体实施方式Detailed ways
下面通过具体实施例,并结合附图,对本实用新型的技术方案作进一步具体的说明。The technical solutions of the present utility model will be further described in detail below through specific embodiments and in conjunction with the accompanying drawings.
如图1-3所示,本实用新型的便携式混凝土坍落度测试仪主要是将混凝土坍落度量筒(5)可拆卸式的连接到底座(6)上,方便装填混凝土到混凝土坍落度量筒(5)内,另外,在测试完成后,可以将其余量测部件放(比如:捣棒(1)、量尺(2)和铲勺(3))置在混凝土坍落度量筒(5)内,可以方便携带。具体的,底座(6)上设有两个对称的活动压板(7),制作时,在底座(6)的上平面上左右对称安装两块可左右旋转的活动压板(7)。与之对应的,在混凝土坍落度量筒(5)的外侧壁底部设有对称的量筒固定卡板(8),一个具体的实施例中,混凝土坍落度量筒(5)的下方左右对称焊接二块量筒固定卡板(8)。当混凝土坍落度量筒(5)置于底座(6)上后,活动压板(7)压住并卡紧量筒固定卡板(8),使混凝土坍落度量筒(5)被固定在底座(6)上。当混凝土坍落度量筒(5)需要离开底座(6)时,将活动压板(7)移离量筒固定卡板(8)即可。其中,混凝土坍落度量筒(5)规格按国家标准尺寸定制,为上口100mm、下口200mm、高300mm喇叭状的中空筒体。一些具体的实施例中,活动压板(7)通过螺栓(71)连接在底座(6)的上表面,活动压板(7)可以在底座(6)上表面沿螺栓(71)旋转。当混凝土坍落度量筒(5)位于底座(6) 上时,位于混凝土坍落度量筒(5)底部的固定卡板(8)也位于底座(6)上表面,转动混凝土坍落度量筒(5),使混凝土坍落度量筒(5)上的量筒固定卡板(8)接近活动压板(7)处,然后转动活动压板(7),使活动压板(7)盖合到量筒固定卡板(8)上,从而使量筒固定卡板(8)被固定在底座(6)上,进而使混凝土坍落度量筒(5)被固定在底座(6)上。当活动压板(7)旋转离开量筒固定卡板(8)后,量筒固定卡板(8)和混凝土坍落度量筒(5)与底座(6)之间脱离固定,可以将混凝土坍落度量筒(5) 取开。As shown in Figures 1-3, the portable concrete slump tester of the present utility model mainly connects the concrete slump measuring cylinder (5) to the base (6) in a detachable manner, which is convenient for filling concrete to the concrete slump. In the measuring cylinder (5), in addition, after the test is completed, the remaining measuring components (such as: tamper (1), measuring ruler (2) and scoop (3)) can be placed in the concrete slump measuring cylinder (5). ) for easy portability. Specifically, the base (6) is provided with two symmetrical movable pressure plates (7). During manufacture, two movable pressure plates (7) that can be rotated left and right are symmetrically installed on the upper plane of the base (6). Correspondingly, a symmetrical measuring cylinder fixing clip (8) is provided at the bottom of the outer side wall of the concrete slump measuring cylinder (5). Two measuring cylinders fix the card plate (8). When the concrete slump measuring cylinder (5) is placed on the base (6), the movable pressing plate (7) presses and clamps the measuring cylinder fixing plate (8), so that the concrete slump measuring cylinder (5) is fixed on the base (6). 6) on. When the concrete slump measuring cylinder (5) needs to leave the base (6), the movable pressing plate (7) can be moved away from the measuring cylinder fixed clamping plate (8). Among them, the specification of the concrete slump measuring cylinder (5) is customized according to the national standard size, and is a trumpet-shaped hollow cylinder with an upper opening of 100 mm, a lower opening of 200 mm, and a height of 300 mm. In some specific embodiments, the movable pressure plate (7) is connected to the upper surface of the base (6) through bolts (71), and the movable pressure plate (7) can rotate along the bolts (71) on the upper surface of the base (6). When the concrete slump measuring cylinder (5) is located on the base (6), the fixed clamping plate (8) at the bottom of the concrete slump measuring cylinder (5) is also located on the upper surface of the base (6), and the concrete slump measuring cylinder (6) is rotated. 5), make the measuring cylinder fixed clamp plate (8) on the concrete slump measuring cylinder (5) close to the movable pressure plate (7), and then rotate the movable pressure plate (7) to cover the movable pressure plate (7) to the measuring cylinder fixed clamp plate (8), so that the measuring cylinder fixing card (8) is fixed on the base (6), and then the concrete slump measuring cylinder (5) is fixed on the base (6). When the movable pressing plate (7) rotates away from the fixed clamping plate (8) of the measuring cylinder, the fixed clamping plate (8) of the measuring cylinder, the concrete slump measuring cylinder (5) and the base (6) are released from the fixing, so that the concrete slumping measuring cylinder can be fixed. (5) Remove.
本实用新型中,在底座(6)上还连接有提手(4),方便将底座(6) 连同混凝土坍落度量筒(5)一起提起携带。一些实施例中,提手(4)相对底座(6)可转动。提手(4)的两端通过螺栓(41)连接在底座(6)的两个侧壁,提手(4)的两端相对螺栓(41)可以转动,从而,提手(4) 可以相对底座(6)转动。提手(4)的结构为多个直线段连接组成的弯曲结构,顶部握手处设计为平直段,该平直段平行于底板平面。如图1所示,顶部平直段的两个端部分别连接一个倾斜的直线段,这两个直线段底部连接有竖立的直线段,该竖立的直线段底部连接底座的两侧边,形成一个提手 (4)。此外,提手(4)的平直段(42)的下平面距离底座(6)的距离与混凝土坍落度量筒(5)的高度相同,即混凝土坍落度量筒(5)刚好能放进提手(4) 中,这样,提手(4)就可作为测量混凝土坍落度时的基准线。In the utility model, the base (6) is also connected with a handle (4), which is convenient to lift and carry the base (6) together with the concrete slump measuring cylinder (5). In some embodiments, the handle (4) is rotatable relative to the base (6). Both ends of the handle (4) are connected to the two side walls of the base (6) by bolts (41), and the two ends of the handle (4) can be rotated relative to the bolts (41), so that the handle (4) can be rotated relative to the bolt (41). The base (6) rotates. The structure of the handle (4) is a curved structure formed by connecting a plurality of straight segments, the top handle part is designed as a straight segment, and the straight segment is parallel to the plane of the bottom plate. As shown in Figure 1, the two ends of the top straight section are respectively connected with an inclined straight section, the bottom of the two straight sections is connected with an upright straight section, and the bottom of the vertical straight section is connected with both sides of the base to form A carrying handle (4). In addition, the distance between the lower plane of the straight section (42) of the handle (4) and the base (6) is the same as the height of the concrete slump measuring cylinder (5), that is, the concrete slumping measuring cylinder (5) can just be put into in the handle (4), so that the handle (4) can be used as a reference line when measuring the slump of concrete.
为了方便混凝土坍落度量筒(5)的提取,在混凝土坍落度量筒(5)上还设有把手(9),一个实施例中,把手(9)为两个,对称的固定在混凝土坍落度量筒(5)外壁中上部。In order to facilitate the extraction of the concrete slump measuring cylinder (5), a handle (9) is also provided on the concrete slump measuring cylinder (5). Drop the middle and upper part of the outer wall of the measuring cylinder (5).
此外,便携式混凝土坍落度测试仪还包括捣棒(1)、量尺(2)和铲勺(3),其中,铲勺(3)用于铲舀混凝土(10)至混凝土坍落度量筒(5)内,捣棒(1) 用于将混凝土坍落度量筒(5)内的混凝土捣实,量尺(2)用于量测混凝土(10) 坍塌的高度。In addition, the portable concrete slump tester further comprises a tamper (1), a measuring stick (2) and a scoop (3), wherein the scoop (3) is used for scooping the concrete (10) to the concrete slump measuring cylinder In (5), the tamping rod (1) is used for tamping the concrete in the concrete slump measuring cylinder (5), and the measuring rod (2) is used for measuring the slump height of the concrete (10).
使用时,首先将底座(6)平放于地面,再翻倒放平提手(4),将混凝土坍落度量筒(5)安置于底座(6)的中央,使量筒固定卡板(8)对准活动压板(7),并将活动压板(7)旋转至量筒固定卡板上并卡紧量筒固定卡板(8),一个实施例中,活动压板(7)旋转90°到达量筒固定卡板上并卡紧量筒固定卡板(8),此时混凝土坍落度量筒(5)被固定在底座(6)上。When in use, first place the base (6) flat on the ground, then turn over and place the flat handle (4), and place the concrete slump measuring cylinder (5) in the center of the base (6), so that the measuring cylinder is fixed to the clamping plate (8). ) align the movable pressure plate (7), and rotate the movable pressure plate (7) to the measuring cylinder fixing card plate and clamp the measuring cylinder fixing card plate (8). The measuring cylinder is fastened on the clamping plate and the clamping plate (8) is fastened, and at this time, the concrete slump measuring cylinder (5) is fixed on the base (6).
用铲勺(3)往混凝土坍落度量筒(5)上口装入混凝土,用捣棒(1)捣实、刮平后马上旋转底座(6)上左右两边的活动压板(7),使活动压板(7)离开量筒固定卡板(8),迅速手握量筒手把(9)往上快速拔出混凝土坍落度量筒(5),此时失去支撑的混凝土(10)会往下局部坍塌,然后,扶正提手(4),将量尺 (2)下端部对准坍塌后的混凝土(10)的顶部中央,上端靠紧提手(4),读取提手(4)下平面至混凝土(10)顶中央之间量尺(2)尺寸,即为混凝土坍落度数值。Use a shovel (3) to put concrete into the top of the concrete slump measuring cylinder (5), and use a tamper (1) to tamper and level it, and immediately rotate the movable pressure plates (7) on the left and right sides of the base (6) to make the concrete slump (5). The movable pressure plate (7) leaves the fixed clamping plate (8) of the measuring cylinder, and quickly pulls out the concrete slump measuring cylinder (5) by holding the handle (9) of the measuring cylinder. Collapse, then, straighten the handle (4), align the lower end of the measuring ruler (2) with the top center of the collapsed concrete (10), the upper end is close to the handle (4), and read the lower plane of the handle (4). The size of the measuring ruler (2) between the top center of the concrete (10) is the concrete slump value.
以上所述仅为本实用新型的实施例,并非因此限制本实用新型的专利范围,凡是利用本实用新型说明书及附图内容所作的等效结构或等效流程变换,或直接或间接运用在其它相关的技术领域,均同理包括在本实用新型的专利保护范围内。The above are only the embodiments of the present invention, and are not intended to limit the patent scope of the present invention. Any equivalent structure or equivalent process transformation made by using the contents of the description and accompanying drawings of the present invention, or directly or indirectly applied to other Relevant technical fields are similarly included in the scope of patent protection of the present invention.
Claims (8)
Priority Applications (1)
| Application Number | Priority Date | Filing Date | Title |
|---|---|---|---|
| CN201921771861.4U CN211426497U (en) | 2019-10-22 | 2019-10-22 | Portable concrete slump tester |
Applications Claiming Priority (1)
| Application Number | Priority Date | Filing Date | Title |
|---|---|---|---|
| CN201921771861.4U CN211426497U (en) | 2019-10-22 | 2019-10-22 | Portable concrete slump tester |
Publications (1)
| Publication Number | Publication Date |
|---|---|
| CN211426497U true CN211426497U (en) | 2020-09-04 |
Family
ID=72249998
Family Applications (1)
| Application Number | Title | Priority Date | Filing Date |
|---|---|---|---|
| CN201921771861.4U Expired - Fee Related CN211426497U (en) | 2019-10-22 | 2019-10-22 | Portable concrete slump tester |
Country Status (1)
| Country | Link |
|---|---|
| CN (1) | CN211426497U (en) |
-
2019
- 2019-10-22 CN CN201921771861.4U patent/CN211426497U/en not_active Expired - Fee Related
Similar Documents
| Publication | Publication Date | Title |
|---|---|---|
| CN110426344A (en) | A kind of self-balancing type reinforcing bar and concrete binding sliding test device and test method | |
| CN102323396A (en) | Solid simulation test device for mass concrete and test construction method thereof | |
| CN105759017A (en) | Device and method for evaluating anti-crack performance of external squares and internal circles of cement-based materials | |
| CN206479122U (en) | Concrete slab pours the detection means of thickness and flatness | |
| CN217605575U (en) | A concrete slump tester | |
| CN205958576U (en) | Concrete slump test device | |
| CN211426497U (en) | Portable concrete slump tester | |
| CN207923064U (en) | A kind of easy device detecting concrete floor slab construction thickness and flatness | |
| CN103278388B (en) | Method and device for testing initial setting time of pavement concrete | |
| CN202119771U (en) | Mass concrete entity simulation test device | |
| CN104865158A (en) | Concrete mixture workability apparatus | |
| CN202330250U (en) | Testing device for directly measuring bonding performance of early-stage concrete and steel bars | |
| CN104614286A (en) | Method for researching measured value of concrete slump cone based on critical value comparison method | |
| CN108828198A (en) | Early concrete crack-induced test device | |
| CN219266293U (en) | Concrete shrinkage test device | |
| CN207440100U (en) | A kind of device for being used to test slump | |
| CN207882027U (en) | A kind of electric double-way remoulded sample sample-pressing device | |
| CN204594834U (en) | Integral type slump tester | |
| CN212180800U (en) | Integral type concrete slump measuring device | |
| CN212082212U (en) | A tool for measuring the size of a rectangular beam section | |
| CN210015016U (en) | Device for testing concrete vibrating fluidity | |
| CN214895303U (en) | Beating simulation platform for concrete slump experiment | |
| CN207148110U (en) | A kind of fixing device of slump cone | |
| CN206193000U (en) | A slump degree test section of thick bamboo | |
| CN207215818U (en) | A kind of concrete slump analyzer |
Legal Events
| Date | Code | Title | Description |
|---|---|---|---|
| GR01 | Patent grant | ||
| GR01 | Patent grant | ||
| CF01 | Termination of patent right due to non-payment of annual fee |
Granted publication date: 20200904 |
