CN211421008U - A water spray device for an electric cleaning vehicle - Google Patents
A water spray device for an electric cleaning vehicle Download PDFInfo
- Publication number
- CN211421008U CN211421008U CN201921871077.0U CN201921871077U CN211421008U CN 211421008 U CN211421008 U CN 211421008U CN 201921871077 U CN201921871077 U CN 201921871077U CN 211421008 U CN211421008 U CN 211421008U
- Authority
- CN
- China
- Prior art keywords
- fixedly connected
- support frame
- cleaning vehicle
- water
- protective box
- Prior art date
- Legal status (The legal status is an assumption and is not a legal conclusion. Google has not performed a legal analysis and makes no representation as to the accuracy of the status listed.)
- Expired - Fee Related
Links
Images
Landscapes
- Cleaning By Liquid Or Steam (AREA)
Abstract
本实用新型涉及道路清洁技术领域,且公开了一种电动清洗车的喷水装置,包括支撑架,所述支撑架的顶部固定连接有安装板,所述安装板的内部螺纹连接有固定螺丝,所述支撑架的底部固定连接有旋转轴承,所述旋转轴承的内部活动安装有导水管,所述导水管的底部固定安装有喷头。该电动清洗车的喷水装置,通过支撑架的底部设置有旋转轴承,旋转轴承的内部设置有导水管和喷头,便于导水管通过旋转轴承在支撑架的底部进行旋转,从而带动喷头进行旋转,通过支撑架的正面设置有防护箱,防护箱上设置有电机箱、旋转电机、连接轴承、旋转杆和传动齿轮,便于旋转杆通过连接轴承和旋转电机在防护箱的内部进行旋转,从而带动传动齿轮进行旋转。
The utility model relates to the technical field of road cleaning, and discloses a water spray device for an electric cleaning vehicle, comprising a support frame, a mounting plate is fixedly connected to the top of the support frame, and a fixing screw is threadedly connected to the interior of the mounting plate, A rotating bearing is fixedly connected to the bottom of the support frame, a water guide pipe is movably installed inside the rotating bearing, and a spray head is fixedly installed on the bottom of the water guide pipe. The water spraying device of the electric cleaning vehicle is provided with a rotating bearing at the bottom of the support frame, and a water conduit and a spray head are arranged inside the rotating bearing, so that the water conduit can rotate at the bottom of the support frame through the rotating bearing, thereby driving the spray head to rotate. A protective box is arranged on the front of the support frame, and the protective box is provided with a motor box, a rotating motor, a connecting bearing, a rotating rod and a transmission gear, so that the rotating rod can rotate inside the protective box through the connecting bearing and the rotating motor, thereby driving the transmission The gear rotates.
Description
技术领域technical field
本实用新型涉及道路清洁技术领域,具体为一种电动清洗车的喷水装置。The utility model relates to the technical field of road cleaning, in particular to a water spray device for an electric cleaning vehicle.
背景技术Background technique
地面牛癣小广告的顽固让城市清洁工叫苦连连不,高压冲洗车的发明让它有所缓解,但传统高压冲洗车不仅体积大难实现小面积地段的清洁工作,并且它燃油成本相对较高对之各中小型城市环卫部配备有限,新一代的电动高压冲冼车便应运而生,它小巧轻便操作简单最主要的是使用成本能适应市场。The stubbornness of the small advertisements for psoriasis on the ground makes the city cleaners complain continuously. The invention of the high-pressure washing vehicle makes it easier, but the traditional high-pressure washing vehicle is not only large and difficult to clean small areas, but also its fuel cost is relatively high. For the small and medium-sized urban sanitation departments with limited equipment, a new generation of electric high-voltage scooters came into being. It is small, light, and easy to operate. The most important thing is that the cost of use can adapt to the market.
目前,电动清洗车具有小巧灵活和机动性强的特点,广泛应用于城市道路的清洁工作中,然而,现有电动清洗车的喷水装置结构固定,无法调节其冲洗角度,使其喷射范围受到一定的局限性,在小范围清理时经常需要电动清洗车来回开动,给清理工作带来不便,故而提出一种电动清洗车的喷水装置解决上述问题。At present, electric cleaning vehicles have the characteristics of small size, flexibility and high mobility, and are widely used in the cleaning work of urban roads. However, the structure of the water spraying device of the existing electric cleaning vehicles is fixed, and the washing angle cannot be adjusted, so that the spraying range is limited by Due to certain limitations, the electric cleaning vehicle often needs to be driven back and forth when cleaning in a small area, which brings inconvenience to the cleaning work. Therefore, a water spray device for an electric cleaning vehicle is proposed to solve the above problems.
实用新型内容Utility model content
(一)解决的技术问题(1) Technical problems solved
针对现有技术的不足,本实用新型提供了一种电动清洗车的喷水装置,具备便于调节清理角度等优点,解决了现有电动清洗车的喷水装置结构固定,无法调节其冲洗角度,使其喷射范围受到一定的局限性,在小范围清理时经常需要电动清洗车来回开动,给清理工作带来不便的问题。In view of the deficiencies of the prior art, the utility model provides a water spray device for an electric cleaning vehicle, which has the advantages of being easy to adjust the cleaning angle, etc., and solves the problem that the structure of the water spray device of the existing electric cleaning vehicle is fixed and cannot be adjusted. The spray range is limited to a certain extent, and the electric cleaning vehicle is often required to be driven back and forth when cleaning a small area, which brings inconvenience to the cleaning work.
(二)技术方案(2) Technical solutions
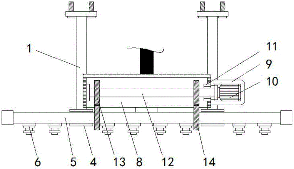
为实现上述调节清理角度的目的,本实用新型提供如下技术方案:一种电动清洗车的喷水装置,包括支撑架,所述支撑架的顶部固定连接有安装板,所述安装板的内部螺纹连接有固定螺丝,所述支撑架的底部固定连接有旋转轴承,所述旋转轴承的内部活动安装有导水管,所述导水管的底部固定安装有喷头,所述导水管的顶部固定连接有输水软管,所述支撑架的正面固定安装有防护箱,所述防护箱的右侧固定连接有电机箱,所述电机箱的内部固定安装有旋转电机,所述防护箱的内壁固定安装有连接轴承,所述连接轴承的内部活动安装有旋转杆,所述旋转杆的外部固定连接有传动齿轮,所述导水管的外部固定连接有从动齿轮。In order to achieve the above purpose of adjusting the cleaning angle, the utility model provides the following technical solutions: a water spray device for an electric cleaning vehicle, comprising a support frame, the top of the support frame is fixedly connected with a mounting plate, and the internal thread of the mounting plate is A fixing screw is connected, a rotating bearing is fixedly connected to the bottom of the support frame, a water conduit is movably installed inside the rotating bearing, a sprinkler is fixedly installed at the bottom of the water conduit, and a conveying pipe is fixedly connected to the top of the water conduit. A water hose, a protective box is fixedly installed on the front of the support frame, a motor box is fixedly connected to the right side of the protective box, a rotating motor is fixedly installed inside the motor box, and an inner wall of the protective box is fixedly installed with A connecting bearing, a rotating rod is movably installed inside the connecting bearing, a transmission gear is fixedly connected to the outside of the rotating rod, and a driven gear is fixedly connected to the outside of the water conduit.
优选的,所述防护箱的左右内壁均固定安装有连接轴承,两个所述连接轴承的内部均与旋转杆活动连接。Preferably, connecting bearings are fixedly installed on the left and right inner walls of the protective box, and the interiors of the two connecting bearings are movably connected with the rotating rod.
优选的,所述旋转杆通过连接轴承延伸至电机箱的内部,所述旋转电机的输出轴上固定连接有旋转杆。Preferably, the rotating rod extends into the interior of the motor box through a connecting bearing, and the rotating rod is fixedly connected to the output shaft of the rotating electrical machine.
优选的,所述防护箱的底部开设有贯穿口,从动齿轮通过贯穿口延伸至防护箱的内部。Preferably, the bottom of the protective box is provided with a through opening, and the driven gear extends to the inside of the protective box through the through opening.
优选的,所述旋转杆的外部固定连接有数量为两个的传动齿轮,所述导水管的外部固定连接有数量为两个的从动齿轮。Preferably, the outside of the rotating rod is fixedly connected with two transmission gears, and the outside of the water conduit is fixedly connected with two driven gears.
优选的,所述传动齿轮与从动齿轮的尺寸相适配,所述传动齿轮的底部啮合有从动齿轮。Preferably, the transmission gear is adapted to the size of the driven gear, and the driven gear is engaged with the bottom of the transmission gear.
(三)有益效果(3) Beneficial effects
与现有技术相比,本实用新型提供了一种电动清洗车的喷水装置,具备以下有益效果:Compared with the prior art, the utility model provides a water spray device for an electric cleaning vehicle, which has the following beneficial effects:
该电动清洗车的喷水装置,通过支撑架的底部设置有旋转轴承,旋转轴承的内部设置有导水管和喷头,便于导水管通过旋转轴承在支撑架的底部进行旋转,从而带动喷头进行旋转,通过支撑架的正面设置有防护箱,防护箱上设置有电机箱、旋转电机、连接轴承、旋转杆和传动齿轮,便于旋转杆通过连接轴承和旋转电机在防护箱的内部进行旋转,从而带动传动齿轮进行旋转,通过导水管的外部设置有从动齿轮,从动齿轮与传动齿轮相啮合,便于从动齿轮通过传动齿轮的旋转而旋转,从而带动导水管和喷头调节喷水角度,达到了调节清理角度的目的。The water spraying device of the electric cleaning vehicle is provided with a rotating bearing at the bottom of the support frame, and a water conduit and a spray head are arranged inside the rotating bearing, so that the water conduit can rotate at the bottom of the support frame through the rotating bearing, thereby driving the spray head to rotate. A protective box is arranged on the front of the support frame, and the protective box is provided with a motor box, a rotating motor, a connecting bearing, a rotating rod and a transmission gear, so that the rotating rod can rotate inside the protective box through the connecting bearing and the rotating motor, thereby driving the transmission The gear rotates, and a driven gear is arranged on the outside of the aqueduct, and the driven gear meshes with the transmission gear, so that the driven gear can rotate through the rotation of the transmission gear, thereby driving the aqueduct and the nozzle to adjust the water spraying angle, achieving the adjustment The purpose of cleaning up the angle.
附图说明Description of drawings
图1为本实用新型结构示意图;Fig. 1 is the structural representation of the utility model;
图2为本实用新型结构剖视图。FIG. 2 is a sectional view of the structure of the utility model.
图中:1支撑架、2安装板、3固定螺丝、4旋转轴承、5导水管、6喷头、7输水软管、8防护箱、9电机箱、10旋转电机、11连接轴承、12旋转杆、13传动齿轮、14从动齿轮。In the picture: 1 supporting frame, 2 mounting plate, 3 fixing screws, 4 rotating bearing, 5 water conduit, 6 nozzle, 7 water delivery hose, 8 protective box, 9 motor box, 10 rotating motor, 11 connecting bearing, 12 rotating Rod, 13 transmission gear, 14 driven gear.
具体实施方式Detailed ways
下面将结合本实用新型实施例中的附图,对本实用新型实施例中的技术方案进行清楚、完整地描述,显然,所描述的实施例仅仅是本实用新型一部分实施例,而不是全部的实施例。基于本实用新型中的实施例,本领域普通技术人员在没有做出创造性劳动前提下所获得的所有其他实施例,都属于本实用新型保护的范围。The technical solutions in the embodiments of the present utility model will be clearly and completely described below with reference to the accompanying drawings in the embodiments of the present utility model. Obviously, the described embodiments are only a part of the embodiments of the present utility model, rather than all the implementations. example. Based on the embodiments of the present invention, all other embodiments obtained by those of ordinary skill in the art without creative work fall within the protection scope of the present invention.
请参阅图1-2,一种电动清洗车的喷水装置,包括支撑架1,支撑架1的顶部固定连接有安装板2,安装板2的内部螺纹连接有固定螺丝3,支撑架1的底部固定连接有旋转轴承4,旋转轴承4的内部活动安装有导水管5,导水管5的底部固定安装有喷头6,导水管5的顶部固定连接有输水软管7,支撑架1的正面固定安装有防护箱8,防护箱8的右侧固定连接有电机箱9,电机箱9的内部固定安装有旋转电机10,防护箱8的内壁固定安装有连接轴承11,连接轴承11的内部活动安装有旋转杆12,防护箱8的左右内壁均固定安装有连接轴承11,两个连接轴承11的内部均与旋转杆12活动连接,旋转杆12通过连接轴承11延伸至电机箱9的内部,旋转电机10的输出轴上固定连接有旋转杆12,旋转杆12的外部固定连接有传动齿轮13,导水管5的外部固定连接有从动齿轮14,防护箱8的底部开设有贯穿口,从动齿轮14通过贯穿口延伸至防护箱8的内部,旋转杆12的外部固定连接有数量为两个的传动齿轮13,导水管5的外部固定连接有数量为两个的从动齿轮14,传动齿轮13与从动齿轮14的尺寸相适配,传动齿轮13的底部啮合有从动齿轮14。Please refer to Figure 1-2, a water spraying device for an electric cleaning vehicle, including a
综上所述,该电动清洗车的喷水装置,通过支撑架1的底部设置有旋转轴承4,旋转轴承4的内部设置有导水管5和喷头6,便于导水管5通过旋转轴承4在支撑架1的底部进行旋转,从而带动喷头6进行旋转,通过支撑架1的正面设置有防护箱8,防护箱8上设置有电机箱9、旋转电机10、连接轴承11、旋转杆12和传动齿轮13,便于旋转杆12通过连接轴承11和旋转电机10在防护箱8的内部进行旋转,从而带动传动齿轮13进行旋转,通过导水管5的外部设置有从动齿轮14,从动齿轮14与传动齿轮13相啮合,便于从动齿轮14通过传动齿轮13的旋转而旋转,从而带动导水管5和喷头6调节喷水角度,达到了调节清理角度的目的,解决了现有电动清洗车的喷水装置结构固定,无法调节其冲洗角度,使其喷射范围受到一定的局限性,在小范围清理时经常需要电动清洗车来回开动,给清理工作带来不便的问题。To sum up, the water spraying device of the electric cleaning vehicle is provided with a rotary bearing 4 at the bottom of the
需要说明的是,在本文中,诸如第一和第二等之类的关系术语仅仅用来将一个实体或者操作与另一个实体或操作区分开来,而不一定要求或者暗示这些实体或操作之间存在任何这种实际的关系或者顺序。而且,术语“包括”、“包含”或者其任何其他变体意在涵盖非排他性的包含,从而使得包括一系列要素的过程、方法、物品或者设备不仅包括那些要素,而且还包括没有明确列出的其他要素,或者是还包括为这种过程、方法、物品或者设备所固有的要素。在没有更多限制的情况下,由语句“包括一个……”限定的要素,并不排除在包括所述要素的过程、方法、物品或者设备中还存在另外的相同要素。It should be noted that, in this document, relational terms such as first and second are only used to distinguish one entity or operation from another entity or operation, and do not necessarily require or imply any relationship between these entities or operations. any such actual relationship or sequence exists. Moreover, the terms "comprising", "comprising" or any other variation thereof are intended to encompass a non-exclusive inclusion such that a process, method, article or device that includes a list of elements includes not only those elements, but also includes not explicitly listed or other elements inherent to such a process, method, article or apparatus. Without further limitation, an element qualified by the phrase "comprising a..." does not preclude the presence of additional identical elements in a process, method, article or apparatus that includes the element.
尽管已经示出和描述了本实用新型的实施例,对于本领域的普通技术人员而言,可以理解在不脱离本实用新型的原理和精神的情况下可以对这些实施例进行多种变化、修改、替换和变型,本实用新型的范围由所附权利要求及其等同物限定。Although the embodiments of the present invention have been shown and described, it will be understood by those skilled in the art that various changes and modifications can be made to these embodiments without departing from the principles and spirit of the present invention , alternatives and modifications, the scope of the present invention is defined by the appended claims and their equivalents.
Claims (6)
Priority Applications (1)
| Application Number | Priority Date | Filing Date | Title |
|---|---|---|---|
| CN201921871077.0U CN211421008U (en) | 2019-11-01 | 2019-11-01 | A water spray device for an electric cleaning vehicle |
Applications Claiming Priority (1)
| Application Number | Priority Date | Filing Date | Title |
|---|---|---|---|
| CN201921871077.0U CN211421008U (en) | 2019-11-01 | 2019-11-01 | A water spray device for an electric cleaning vehicle |
Publications (1)
| Publication Number | Publication Date |
|---|---|
| CN211421008U true CN211421008U (en) | 2020-09-04 |
Family
ID=72285526
Family Applications (1)
| Application Number | Title | Priority Date | Filing Date |
|---|---|---|---|
| CN201921871077.0U Expired - Fee Related CN211421008U (en) | 2019-11-01 | 2019-11-01 | A water spray device for an electric cleaning vehicle |
Country Status (1)
| Country | Link |
|---|---|
| CN (1) | CN211421008U (en) |
Cited By (2)
| Publication number | Priority date | Publication date | Assignee | Title |
|---|---|---|---|---|
| CN112695688A (en) * | 2020-12-28 | 2021-04-23 | 博信达建设集团有限公司 | Road surface cleaning equipment for municipal construction |
| CN112854102A (en) * | 2021-03-15 | 2021-05-28 | 崔小青 | Cleaning device for municipal road |
-
2019
- 2019-11-01 CN CN201921871077.0U patent/CN211421008U/en not_active Expired - Fee Related
Cited By (3)
| Publication number | Priority date | Publication date | Assignee | Title |
|---|---|---|---|---|
| CN112695688A (en) * | 2020-12-28 | 2021-04-23 | 博信达建设集团有限公司 | Road surface cleaning equipment for municipal construction |
| CN112695688B (en) * | 2020-12-28 | 2022-08-16 | 博信达建设集团有限公司 | Road surface cleaning equipment for municipal construction |
| CN112854102A (en) * | 2021-03-15 | 2021-05-28 | 崔小青 | Cleaning device for municipal road |
Similar Documents
| Publication | Publication Date | Title |
|---|---|---|
| CN203253577U (en) | Device for coating antirust agent on outer surface of cold rolled tube on line | |
| CN211421008U (en) | A water spray device for an electric cleaning vehicle | |
| CN108927389B (en) | Pipe cleaning robot | |
| CN212017205U (en) | Dust device is used in building engineering construction | |
| CN209303384U (en) | A kind of nozzle arrangements of pipeline climbing robot | |
| CN106078462B (en) | Polished and cleaned equipment inside a kind of air conditioner condensation copper pipe | |
| CN104320053A (en) | Section lifting type supporting device for solar receiving panel | |
| CN217043643U (en) | A tooth gap cleaning device for gear processing | |
| CN210711813U (en) | An environmentally friendly electroplating tank that is easy to clean | |
| CN209866856U (en) | A cavity cleaning car with multiple roller brushes | |
| CN219914438U (en) | Wheel type distance measuring device | |
| CN217342740U (en) | Photovoltaic solar panel cleaning and maintaining device | |
| CN216397522U (en) | An ecological agricultural soil remediation device | |
| CN219880833U (en) | Pipeline cleaning equipment for pipeline detection | |
| CN213900592U (en) | Bionic wing device of novel mechanical computer | |
| CN220590420U (en) | A plastic spraying device for the production of distribution boxes | |
| CN219159853U (en) | A pipeline maintenance device | |
| CN204813685U (en) | Electronic glass ware of wiping | |
| CN223234141U (en) | A anticorrosive spraying equipment for pre-buried steel pipe construction | |
| CN219490816U (en) | Sprinkler for municipal works | |
| CN221857752U (en) | Automatic crawling mapping device for underground pipeline | |
| CN216474734U (en) | Ash handling equipment is used to guardrail for municipal works | |
| CN222412542U (en) | Municipal administration highway maintenance is with preventing chapping spray set | |
| CN206721786U (en) | A kind of engineering road cleaning plant | |
| CN204168213U (en) | The bracing or strutting arrangement of merogenesis elevation type solar panel |
Legal Events
| Date | Code | Title | Description |
|---|---|---|---|
| GR01 | Patent grant | ||
| GR01 | Patent grant | ||
| CF01 | Termination of patent right due to non-payment of annual fee | ||
| CF01 | Termination of patent right due to non-payment of annual fee |
Granted publication date: 20200904 |
