CN211344563U - A fixing device for myopia measurement - Google Patents
A fixing device for myopia measurement Download PDFInfo
- Publication number
- CN211344563U CN211344563U CN201922361507.0U CN201922361507U CN211344563U CN 211344563 U CN211344563 U CN 211344563U CN 201922361507 U CN201922361507 U CN 201922361507U CN 211344563 U CN211344563 U CN 211344563U
- Authority
- CN
- China
- Prior art keywords
- myopia
- fixing device
- mounting
- detachably connected
- plate
- Prior art date
- Legal status (The legal status is an assumption and is not a legal conclusion. Google has not performed a legal analysis and makes no representation as to the accuracy of the status listed.)
- Expired - Fee Related
Links
- 230000004379 myopia Effects 0.000 title claims abstract description 72
- 208000001491 myopia Diseases 0.000 title claims abstract description 72
- 238000005259 measurement Methods 0.000 title claims description 15
- 230000000149 penetrating effect Effects 0.000 claims 1
- 238000001514 detection method Methods 0.000 abstract description 18
- 238000009434 installation Methods 0.000 abstract description 14
- 239000004579 marble Substances 0.000 description 7
- 230000000694 effects Effects 0.000 description 6
- 238000007689 inspection Methods 0.000 description 6
- 238000005457 optimization Methods 0.000 description 6
- 238000000034 method Methods 0.000 description 4
- 201000009310 astigmatism Diseases 0.000 description 2
- 230000004438 eyesight Effects 0.000 description 2
- 230000009286 beneficial effect Effects 0.000 description 1
- 210000004087 cornea Anatomy 0.000 description 1
- 238000010586 diagram Methods 0.000 description 1
- 239000011521 glass Substances 0.000 description 1
- 238000012986 modification Methods 0.000 description 1
- 230000004048 modification Effects 0.000 description 1
- 238000003825 pressing Methods 0.000 description 1
- 238000012876 topography Methods 0.000 description 1
- 230000004304 visual acuity Effects 0.000 description 1
Images
Landscapes
- A Measuring Device Byusing Mechanical Method (AREA)
Abstract
本实用新型公开了一种近视测量用固定装置,属于固定装置技术领域,包括底板,两个所述下安装块的上端面均固定连接有套筒,两个所述套筒的外侧壁均开设有三个调节孔,两个所述套筒的内侧壁均滑动连接有内筒,两个所述内筒的外侧壁均安装有与调节孔相匹配的调节弹珠,所述安装板的前端面安装有近视测试表,所述近视测试表的前端面可拆卸连接有四个均匀分布的连接件,所述安装板与近视测试表通过四个连接件可拆卸连接,从而达到固定近视检测表的效果,避免了需要对近视检测表粘贴到墙面造成的墙面损坏问题和不断调整位置造成的时间损失,并且方便根据检测人群的身高调节近视检测表的高度。
The utility model discloses a fixing device for measuring myopia, which belongs to the technical field of fixing devices. There are three adjustment holes, the inner side walls of the two sleeves are slidably connected with inner cylinders, the outer side walls of the two inner cylinders are installed with adjustment marbles matching the adjustment holes, and the front end surface of the installation plate is A myopia test table is installed, the front end of the myopia test table is detachably connected with four evenly distributed connectors, and the mounting plate and the myopia test table are detachably connected through the four connectors, so as to achieve a fixed myopia test table. It avoids the problem of wall damage caused by the need to paste the myopia detection table to the wall and the time loss caused by continuous adjustment of the position, and it is convenient to adjust the height of the myopia detection table according to the height of the detection population.
Description
技术领域technical field
本实用新型涉及固定装置技术领域,特别涉及一种近视测量用固定装置。The utility model relates to the technical field of fixing devices, in particular to a fixing device for measuring myopia.
背景技术Background technique
视力检查:主要检查近视度数、是否存在散光以及散光的度数、配戴眼镜后的视力为多少,角膜检查:主要为角膜的厚度测量、角膜地形图分析等。Vision examination: mainly to check the degree of myopia, the presence of astigmatism and the degree of astigmatism, the visual acuity after wearing glasses, corneal examination: mainly to measure the thickness of the cornea, corneal topography analysis, etc.
现有近视测量用固定装置,需要对近视检测表粘贴到墙面,进而造成的墙面损坏问题和不断调整位置造成的时间损失,并且不方便根据检测人群的身高调节近视检测表的高度。The existing fixing device for myopia measurement needs to stick the myopia detection table to the wall, which will cause damage to the wall and time loss caused by continuous adjustment of the position, and it is inconvenient to adjust the height of the myopia detection table according to the height of the test population.
实用新型内容Utility model content
本实用新型提供一种近视测量用固定装置,旨在解决现有的近视测量用固定装置需要对近视检测表粘贴到墙面,进而造成的墙面损坏问题和不断调整位置造成的时间损失,并且不方便根据检测人群的身高调节近视检测表的高度的问题。The utility model provides a fixing device for myopia measurement, which aims to solve the problem of wall damage caused by the existing fixing device for myopia measurement that needs to be pasted to the wall surface, and then caused by the wall damage and the time loss caused by continuous adjustment of the position, and It is inconvenient to adjust the height of the myopia detection table according to the height of the detection crowd.
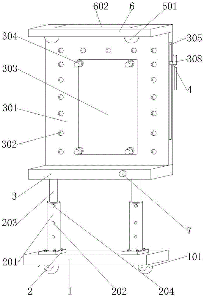
本实用新型是这样实现的,一种近视测量用固定装置,包括底板,所述底板的下端面可拆卸连接有两个万向轮,所述底板的上端面可拆卸连接有两个下安装块,两个所述下安装块的上端面均固定连接有套筒,两个所述套筒的外侧壁均开设有三个调节孔,两个所述套筒的内侧壁均滑动连接有内筒,两个所述内筒的外侧壁均安装有与调节孔相匹配的调节弹珠,两个所述内筒的上端面均固定连接有上安装块,两个所述上安装块的上端面可拆卸连接有连接板,所述连接板的上端面固定连接有安装板,所述安装板的前端面安装有近视测试表,所述近视测试表的前端面可拆卸连接有四个均匀分布的连接件,所述安装板与近视测试表通过四个连接件可拆卸连接。The utility model is realized in this way, a fixing device for myopia measurement, comprising a base plate, the lower end surface of the base plate is detachably connected with two universal wheels, and the upper end surface of the base plate is detachably connected with two lower mounting blocks , the upper end surfaces of the two lower mounting blocks are fixedly connected with sleeves, the outer side walls of the two sleeves are each provided with three adjustment holes, and the inner side walls of the two sleeves are slidably connected with an inner cylinder, The outer side walls of the two inner cylinders are installed with adjustment marbles that match the adjustment holes, the upper end surfaces of the two inner cylinders are fixedly connected with upper installation blocks, and the upper end surfaces of the two upper installation blocks can be installed. A connecting plate is detachably connected, the upper end surface of the connecting plate is fixedly connected with an installation plate, the front end surface of the installation plate is installed with a myopia test table, and the front end surface of the myopia test table is detachably connected with four evenly distributed connections The mounting plate is detachably connected with the myopia test table through four connecting pieces.
为了对近视检测表提供光源,作为本实用新型的一种近视测量用固定装置优选的,所述安装板的上端面固定连接有顶板,所述顶板的下端面可拆卸连接有两个安装座,两个所述安装座的下端面均安装有照明灯。In order to provide a light source for the myopia detection table, it is preferable as a fixing device for myopia measurement of the present invention, the upper end surface of the mounting plate is fixedly connected with a top plate, and the lower end surface of the top plate is detachably connected with two mounting seats, Lighting lamps are installed on the lower end surfaces of the two mounting bases.
为了方便对指示杆进行存放,避免指示杆的丢失造成工作效率降低的问题,作为本实用新型的一种近视测量用固定装置优选的,所述安装板的右侧设置有挂钩,所述挂钩的外侧壁可拆卸连接有指示杆。In order to facilitate the storage of the indicator rod and avoid the problem of reduced work efficiency caused by the loss of the indicator rod, as a fixing device for myopia measurement of the present invention, a hook is provided on the right side of the mounting plate, and the hook The outer side wall is detachably connected with an indicator rod.
为了方便对两个照明灯提供电源,作为本实用新型的一种近视测量用固定装置优选的,所述顶板的上端面开设有凹槽,所述凹槽的内部嵌入设置有两个蓄电池,两个所述蓄电池与两个照明灯之间均为电性连接,所述凹槽的上端面可拆卸连接有盖板。In order to facilitate the supply of power to the two illuminating lamps, as a fixing device for measuring myopia of the present invention, preferably, a groove is formed on the upper end surface of the top plate, and two batteries are embedded in the groove, and the two batteries are embedded in the groove. Each of the batteries and the two lamps are electrically connected, and a cover plate is detachably connected to the upper end surface of the groove.
为了方便调节挂钩高度,对工作人员拿取指示杆提供方便,作为本实用新型的一种近视测量用固定装置优选的,所述安装板的右侧开设有滑槽,所述滑槽的内部滑动连接有滑块,所述滑块的右侧可拆卸连接有连接杆,所述连接杆的右侧与挂钩的左侧固定连接。In order to easily adjust the height of the hook and provide convenience for the staff to take the indicator rod, as a fixing device for myopia measurement of the present invention, it is preferable that the right side of the mounting plate is provided with a chute, and the interior of the chute slides A sliding block is connected, the right side of the sliding block is detachably connected with a connecting rod, and the right side of the connecting rod is fixedly connected with the left side of the hook.
为了方便安装不同规格的近视测试表到安装板的前端,作为本实用新型的一种近视测量用固定装置优选的,所述安装板的前端面贯穿开设有多个与连接件相匹配的安装孔。In order to facilitate the installation of myopia test tables of different specifications to the front end of the installation plate, as a fixing device for myopia measurement of the present invention, it is preferable that the front end surface of the installation plate is provided with a plurality of installation holes that match the connectors. .
为了方便控制两个照明灯的开启和关闭,作为本实用新型的一种近视测量用固定装置优选的,所述连接板的前端面安装有开关,所述开关与两个照明灯之间均为电性连接。In order to conveniently control the opening and closing of the two lamps, as a fixing device for measuring myopia of the present invention, a switch is installed on the front end of the connecting plate, and a switch is installed between the switch and the two lamps. Electrical connection.
与现有技术相比,本实用新型的有益效果是:Compared with the prior art, the beneficial effects of the present utility model are:
1.当需要对近视人群进行近视检查时,首先将近视检测表通过连接件安装到安装板的前端,接着推动该固定装置,推动过程中,万向轮带动固定装置朝着推动的方向前进,移动到相应的位置后,根据近视测试人群的身高调节安装板的高度,调节时,按压调节弹珠,使调节弹珠调节到相对应的调节孔内,进而带动安装板调节到相应的高度,接着开始对近视检测人群进行检测,从而达到固定近视检测表的效果,避免了需要对近视检测表粘贴到墙面造成的墙面损坏和不断调整位置造成时间损失的问题,并且方便根据检测人群的身高调节近视检测表的高度。1. When it is necessary to perform myopia inspection on myopic people, first install the myopia detection table to the front end of the mounting plate through the connector, and then push the fixing device. During the pushing process, the universal wheel drives the fixing device to move forward in the pushing direction. After moving to the corresponding position, adjust the height of the mounting plate according to the height of the myopia test people. When adjusting, press the adjusting marble to adjust the adjusting marble to the corresponding adjustment hole, and then drive the mounting plate to adjust to the corresponding height. Then start the detection of the myopia detection group, so as to achieve the effect of fixing the myopia detection table, avoid the wall damage caused by the need to paste the myopia detection table to the wall and the time loss caused by the continuous adjustment of the position, and it is convenient to detect according to the population. Height Adjust the height of the myopia detection table.
2.当光线较弱的环境中使用该固定装置做近视检查时,开启两个照明灯,照明灯对安装板前端安装的近视检测表提供光源,从而达到了对近视检测表提供光源的效果。2. When using the fixture for myopia inspection in a weak light environment, turn on two lighting lamps, and the lighting lamps provide a light source for the myopia detection table installed at the front end of the mounting plate, so as to achieve the effect of providing a light source for the myopia detection table.
附图说明Description of drawings
图1为本实用新型一种近视测量用固定装置结构图;1 is a structural diagram of a fixture for measuring myopia of the present utility model;
图2为本实用新型一种近视测量用固定装置剖视图;2 is a cross-sectional view of a fixing device for measuring myopia of the present invention;
图3为本实用新型A处剖视图。Figure 3 is a sectional view of the utility model A.
图中:1、底板;101、万向轮;2、下安装块;201、套筒;202、调节孔;203、内筒;204、调节弹珠;205、上安装块;3、连接板;301、安装板;302、安装孔;303、近视测试表;304、连接件;305、滑槽;306、滑块;307、连接杆;308、挂钩;4、指示杆;5、安装座;501、照明灯;6、顶板;601、凹槽;602、盖板;603、蓄电池;7、开关。In the figure: 1. Bottom plate; 101. Universal wheel; 2. Lower installation block; 201, Sleeve; 202, Adjustment hole; 203, Inner cylinder; 204, Adjustment marble; 205, Upper installation block; ;301, mounting plate; 302, mounting hole; 303, myopia test table; 304, connecting piece; 305, chute; 306, slider; 307, connecting rod; 308, hook; 4, indicator rod; 5, mounting seat ; 501, lighting; 6, top plate; 601, groove; 602, cover plate; 603, battery; 7, switch.
具体实施方式Detailed ways
为了使本实用新型的目的、技术方案及优点更加清楚明白,以下结合附图及实施例,对本实用新型进行进一步详细说明。应当理解,此处所描述的具体实施例仅仅用以解释本实用新型,并不用于限定本实用新型。In order to make the purpose, technical solutions and advantages of the present utility model more clearly understood, the present utility model will be further described in detail below with reference to the accompanying drawings and embodiments. It should be understood that the specific embodiments described herein are only used to explain the present invention, and are not intended to limit the present invention.
在本实用新型的描述中,需要理解的是,术语“长度”、“宽度”、“上”、“下”、“前”、“后”、“左”、“右”、“竖直”、“水平”、“顶”、“底”“内”、“外”等指示的方位或位置关系为基于附图所示的方位或位置关系,仅是为了便于描述本实用新型和简化描述,而不是指示或暗示所指的装置或元件必须具有特定的方位、以特定的方位构造和操作,因此不能理解为对本实用新型的限制。此外,在本实用新型的描述中,“多个”的含义是两个或两个以上,除非另有明确具体的限定。In the description of the present invention, it should be understood that the terms "length", "width", "upper", "lower", "front", "rear", "left", "right", "vertical" , "horizontal", "top", "bottom", "inside", "outside" and other indicated orientations or positional relationships are based on the orientations or positional relationships shown in the accompanying drawings, only for the convenience of describing the present utility model and simplifying the description, Rather than indicating or implying that the indicated device or element must have a particular orientation, be constructed and operate in a particular orientation, it should not be construed as a limitation of the present invention. In addition, in the description of the present invention, "plurality" means two or more, unless otherwise expressly and specifically defined.
请参阅图1-3,本实用新型提供一种技术方案:一种近视测量用固定装置,包括底板1,底板1的下端面可拆卸连接有两个万向轮101,底板1的上端面可拆卸连接有两个下安装块2,两个下安装块2的上端面均固定连接有套筒201,两个套筒201的外侧壁均开设有三个调节孔202,两个套筒201的内侧壁均滑动连接有内筒203,两个内筒203的外侧壁均安装有与调节孔202相匹配的调节弹珠204,两个内筒203的上端面均固定连接有上安装块205,两个上安装块205的上端面可拆卸连接有连接板3,连接板3的上端面固定连接有安装板301,安装板301的前端面安装有近视测试表303,近视测试表303的前端面可拆卸连接有四个均匀分布的连接件304,安装板301与近视测试表303通过四个连接件304可拆卸连接。1-3, the present utility model provides a technical solution: a fixing device for measuring myopia, comprising a base plate 1, the lower end surface of the base plate 1 is detachably connected with two
在本实施例中:当需要对近视人群进行近视检查时,首先将近视测试表303通过连接件304安装到安装板301的前端,接着推动该固定装置,推动过程中,万向轮101带动固定装置朝着推动的方向前进,移动到相应的位置后,根据近视测试人群的身高调节安装板301的高度,调节时,按压调节弹珠204,使调节弹珠204调节到相对应的调节孔202内,进而带动安装板301调节到相应的高度,接着开始对近视检测人群进行检测,从而达到固定近视测试表303的效果,避免了需要对近视测试表303粘贴到墙面造成的墙面损坏和不断调整位置造成时间损失的问题,并且方便根据检测人群的身高调节近视测试表303的高度。In this embodiment: when it is necessary to perform myopia inspection on myopic people, firstly, the myopia test table 303 is installed on the front end of the
作为本实用新型的一种技术优化方案,安装板301的上端面固定连接有顶板6,顶板6的下端面可拆卸连接有两个安装座5,两个安装座5的下端面均安装有照明灯501。As a technical optimization scheme of the present invention, the upper end surface of the
在本实施例中:当光线较弱的环境中使用该固定装置做近视检查时,开启两个照明灯501,照明灯501对安装板301前端安装的近视测试表303提供光源,从而达到了对近视测试表303提供光源的效果。In this embodiment: when the fixture is used for myopia inspection in a weak light environment, the two
作为本实用新型的一种技术优化方案,安装板301的右侧设置有挂钩308,挂钩308的外侧壁可拆卸连接有指示杆4。As a technical optimization solution of the present invention, a
在本实施例中:通过安装板301的右侧设置的挂钩308,当使用完指示杆4后,将指示杆4挂放到挂钩308的外侧壁,进而方便对指示杆4进行存放,避免指示杆4的丢失造成工作效率降低的问题。In this embodiment, through the
作为本实用新型的一种技术优化方案,顶板6的上端面开设有凹槽601,凹槽601的内部嵌入设置有两个蓄电池603,两个蓄电池603与两个照明灯501之间均为电性连接,凹槽601的上端面可拆卸连接有盖板602。As a technical optimization scheme of the present invention, a
在本实施例中:打开盖板602,在凹槽601的内部安装两个蓄电池603,进而两个蓄电池603对两个照明灯501提供电源,从而达到了方便对两个照明灯501提供电源的效果。In this embodiment, the
作为本实用新型的一种技术优化方案,安装板301的右侧开设有滑槽305,滑槽305的内部滑动连接有滑块306,滑块306的右侧可拆卸连接有连接杆307,连接杆307的右侧与挂钩308的左侧固定连接。As a technical optimization solution of the present invention, the right side of the
在本实施例中:根据工作人员的需要,拉动挂钩308,使挂钩308移动到相应的高度,拉动时,连接挂钩308的滑块306位于滑槽305的内部上下移动,从而达到了方便调节挂钩308高度的效果,对工作人员拿取指示杆4提供了方便。In this embodiment: according to the needs of the staff, the
作为本实用新型的一种技术优化方案,安装板301的前端面贯穿开设有多个与连接件304相匹配的安装孔302。As a technical optimization solution of the present invention, the front end surface of the
在本实施例中:根据近视测试表303的规格,安装时,通过安装板301的前端面贯穿开设的安装孔302,进而方便安装不同规格的近视测试表303。In this embodiment, according to the specifications of the myopia test table 303 , during installation, the
作为本实用新型的一种技术优化方案,连接板3的前端面安装有开关7,开关7与两个照明灯501之间均为电性连接。As a technical optimization solution of the present invention, a
在本实施例中:通过连接板3的前端面安装的开关7,进而通过按压开关7方便控制两个照明灯501的开启和关闭。In this embodiment, the
工作原理:当需要对近视人群进行近视检查时,首先将近视测试表303通过连接件304安装到安装板301的前端,接着推动该固定装置,推动过程中,万向轮101带动固定装置朝着推动的方向前进,移动到相应的位置后,根据近视测试人群的身高调节安装板301的高度,调节时,按压调节弹珠204,使调节弹珠204调节到相对应的调节孔202内,进而带动安装板301调节到相应的高度,接着开始对近视检测人群进行检测,当光线较弱的环境中使用该固定装置做近视检查时,按压开关7开启两个照明灯501,照明灯501对安装板301前端安装的近视测试表303提供光源,当使用完指示杆4后,将指示杆4挂放到挂钩308的外侧壁。Working principle: When it is necessary to perform myopia inspection on myopic people, firstly, the myopia test table 303 is installed to the front end of the mounting
以上仅为本实用新型的较佳实施例而已,并不用以限制本实用新型,凡在本实用新型的精神和原则之内所作的任何修改、等同替换和改进等,均应包含在本实用新型的保护范围之内。The above are only preferred embodiments of the present utility model, and are not intended to limit the present utility model. Any modifications, equivalent replacements and improvements made within the spirit and principles of the present utility model shall be included in the present utility model. within the scope of protection.
Claims (7)
Priority Applications (1)
| Application Number | Priority Date | Filing Date | Title |
|---|---|---|---|
| CN201922361507.0U CN211344563U (en) | 2019-12-24 | 2019-12-24 | A fixing device for myopia measurement |
Applications Claiming Priority (1)
| Application Number | Priority Date | Filing Date | Title |
|---|---|---|---|
| CN201922361507.0U CN211344563U (en) | 2019-12-24 | 2019-12-24 | A fixing device for myopia measurement |
Publications (1)
| Publication Number | Publication Date |
|---|---|
| CN211344563U true CN211344563U (en) | 2020-08-25 |
Family
ID=72103364
Family Applications (1)
| Application Number | Title | Priority Date | Filing Date |
|---|---|---|---|
| CN201922361507.0U Expired - Fee Related CN211344563U (en) | 2019-12-24 | 2019-12-24 | A fixing device for myopia measurement |
Country Status (1)
| Country | Link |
|---|---|
| CN (1) | CN211344563U (en) |
-
2019
- 2019-12-24 CN CN201922361507.0U patent/CN211344563U/en not_active Expired - Fee Related
Similar Documents
| Publication | Publication Date | Title |
|---|---|---|
| CN203524640U (en) | Eyesight automatic detection instrument for ophthalmology | |
| CN211344563U (en) | A fixing device for myopia measurement | |
| CN108427019B (en) | Fixtures for circuit board fault detection | |
| CN208833138U (en) | A kind of precision testing device of commercial vehicle bell housing casting | |
| CN207281009U (en) | High-Voltage Electrical Appliances ultrasound examination auxiliary tool | |
| CN204177928U (en) | The pick-up unit of temperature switch | |
| CN215561724U (en) | Highway engineering road surface thickness check out test set | |
| CN207492753U (en) | A kind of adaptability ophthalmology equipment for examining vision | |
| CN206258622U (en) | A microscope with an illumination source | |
| CN212015561U (en) | Novel medical multi-functional visual detection lamp house | |
| CN209673969U (en) | A kind of LED power intelligent detecting instrument | |
| CN109341772B (en) | A transformer box inspection tool | |
| CN206659217U (en) | One kind production seamless garments positioner | |
| CN209373046U (en) | A kind of detection device of flexible electric circuit board | |
| CN221506038U (en) | Hand-held type humiture inspection instrument | |
| CN107290432A (en) | High-Voltage Electrical Appliances ultrasound examination aid | |
| CN206237366U (en) | A kind of IV testers with underground lamp cell measuring clamp | |
| CN221305925U (en) | Handheld optical time domain reflectometer based on 5G technology | |
| CN214467978U (en) | But gynaecology's inspection lamp that multi-angle was adjusted | |
| CN211996632U (en) | A kit with adjustable use space | |
| CN221124988U (en) | Periscope for pipeline detection | |
| CN217835401U (en) | Automatic discernment rifle anchor clamps that charge | |
| CN204758924U (en) | Dept. of radiology sees piece device | |
| CN219395908U (en) | Animal temperature measuring device | |
| CN202253476U (en) | Hanging night lighting device for measuring tower feet |
Legal Events
| Date | Code | Title | Description |
|---|---|---|---|
| GR01 | Patent grant | ||
| GR01 | Patent grant | ||
| CF01 | Termination of patent right due to non-payment of annual fee | ||
| CF01 | Termination of patent right due to non-payment of annual fee |
Granted publication date: 20200825 |
