CN211325584U - Multifunctional operation film - Google Patents
Multifunctional operation film Download PDFInfo
- Publication number
- CN211325584U CN211325584U CN201922302599.5U CN201922302599U CN211325584U CN 211325584 U CN211325584 U CN 211325584U CN 201922302599 U CN201922302599 U CN 201922302599U CN 211325584 U CN211325584 U CN 211325584U
- Authority
- CN
- China
- Prior art keywords
- surgical
- multifunctional surgical
- surgical film
- collection bag
- memory foam
- Prior art date
- Legal status (The legal status is an assumption and is not a legal conclusion. Google has not performed a legal analysis and makes no representation as to the accuracy of the status listed.)
- Active
Links
- 239000007788 liquid Substances 0.000 claims abstract description 28
- XLYOFNOQVPJJNP-UHFFFAOYSA-N water Substances O XLYOFNOQVPJJNP-UHFFFAOYSA-N 0.000 claims abstract description 23
- 230000000903 blocking effect Effects 0.000 claims abstract description 7
- 229920000079 Memory foam Polymers 0.000 claims description 17
- 239000008210 memory foam Substances 0.000 claims description 17
- 239000004744 fabric Substances 0.000 claims description 9
- 238000007789 sealing Methods 0.000 claims description 7
- 229920003023 plastic Polymers 0.000 claims description 5
- 239000004033 plastic Substances 0.000 claims description 5
- 239000004698 Polyethylene Substances 0.000 claims description 3
- 239000000463 material Substances 0.000 claims description 3
- 239000004745 nonwoven fabric Substances 0.000 claims description 3
- -1 polyethylene Polymers 0.000 claims description 3
- 229920000573 polyethylene Polymers 0.000 claims description 3
- 238000001356 surgical procedure Methods 0.000 abstract description 7
- 230000007812 deficiency Effects 0.000 abstract description 4
- 239000002699 waste material Substances 0.000 abstract description 4
- 230000006870 function Effects 0.000 abstract description 3
- 230000004888 barrier function Effects 0.000 description 9
- 239000012530 fluid Substances 0.000 description 7
- 239000000853 adhesive Substances 0.000 description 5
- 230000001070 adhesive effect Effects 0.000 description 5
- 238000010586 diagram Methods 0.000 description 5
- XEEYBQQBJWHFJM-UHFFFAOYSA-N Iron Chemical compound [Fe] XEEYBQQBJWHFJM-UHFFFAOYSA-N 0.000 description 4
- 239000008280 blood Substances 0.000 description 4
- 210000004369 blood Anatomy 0.000 description 4
- 230000000694 effects Effects 0.000 description 4
- 230000002262 irrigation Effects 0.000 description 4
- 238000003973 irrigation Methods 0.000 description 4
- 238000000034 method Methods 0.000 description 3
- 230000009286 beneficial effect Effects 0.000 description 2
- 238000011109 contamination Methods 0.000 description 2
- 229910052742 iron Inorganic materials 0.000 description 2
- 239000007787 solid Substances 0.000 description 2
- 208000003618 Intervertebral Disc Displacement Diseases 0.000 description 1
- 206010050296 Intervertebral disc protrusion Diseases 0.000 description 1
- 208000002847 Surgical Wound Diseases 0.000 description 1
- 238000004140 cleaning Methods 0.000 description 1
- 201000010099 disease Diseases 0.000 description 1
- 208000037265 diseases, disorders, signs and symptoms Diseases 0.000 description 1
- 238000011010 flushing procedure Methods 0.000 description 1
- 208000015181 infectious disease Diseases 0.000 description 1
- 239000012528 membrane Substances 0.000 description 1
- 238000002324 minimally invasive surgery Methods 0.000 description 1
- 238000012986 modification Methods 0.000 description 1
- 230000004048 modification Effects 0.000 description 1
- 229940074731 ophthalmologic surgical aids Drugs 0.000 description 1
- 208000024891 symptom Diseases 0.000 description 1
Images
Landscapes
- Orthopedics, Nursing, And Contraception (AREA)
Abstract
本实用新型公开了一种多功能手术贴膜,包括布单主体,在所述的布单主体上设置有手术贴膜区,在所述的布单主体周边设置有器械收集袋;在所述的手术贴膜区上方设置有隔水坝,在所述的隔水坝下方设置有集液袋。本实用新型具有集液、隔水、收集标本和收纳器械的作用;同时,还可将废液直接与吸引器桶相连通,废液吸入吸引器桶,有效提高了术者和护士工作效率;能够提高手术护理质量并能保证椎间孔镜及间盘镜手术顺利完成。本实用新型有效地克服了现有手术贴膜的不足,整体设计合理巧妙,实用性强。
The utility model discloses a multifunctional surgical sticker, comprising a sheet body, a surgical sticker area is arranged on the sheet body, and an instrument collection bag is arranged around the sheet body; A water blocking dam is arranged above the film sticking area, and a liquid collecting bag is arranged below the water blocking dam. The utility model has the functions of collecting liquid, isolating water, collecting specimens and storing equipment; at the same time, the waste liquid can be directly communicated with the suction barrel, and the waste liquid is sucked into the suction barrel, which effectively improves the working efficiency of operators and nurses; It can improve the quality of surgical care and ensure the smooth completion of foraminal and intervertebral disc surgery. The utility model effectively overcomes the deficiencies of the existing surgical stickers, has a reasonable and ingenious overall design, and has strong practicability.
Description
技术领域technical field
本实用新型属于医疗手术辅助用品技术领域,具体地涉及一种多功能手术贴膜。The utility model belongs to the technical field of medical and surgical aids, in particular to a multifunctional surgical sticker.
背景技术Background technique
腰椎间盘突出是一种常见的外科疾病,椎间孔镜及间盘镜作为一种微创手术,可以有效地缓解患者症状,并且不会对患者造成大的损伤,在短时间内即可痊愈。在手术时,为保证术野清晰,需使用大量灌洗液持续冲洗。而沿镜头及套筒流出的液体及血水会浸湿术野的无菌布单。病人俯卧位在潮湿的手术台上,感觉非常不舒服,并且大量液体的涌出,容易污染术野造成手术感染的风险。Lumbar intervertebral disc herniation is a common surgical disease. As a minimally invasive surgery, intervertebral foramen and intervertebral discoscopy can effectively relieve the symptoms of patients without causing major damage to patients, and can be cured in a short time. . During surgery, in order to ensure a clear surgical field, a large amount of lavage fluid should be used for continuous irrigation. The fluid and blood flowing along the lens and sleeve will soak the sterile drape of the surgical field. The patient's prone position on the wet operating table is very uncomfortable, and a large amount of fluid pours out, which is easy to contaminate the surgical field and cause the risk of surgical infection.
据相关文献报道,目前国内进行此类手术时,多采用产科或脑科膜作为手术贴膜进行使用。在使用这类贴膜进行手术与使用过程中,存在着以下几种问题:(1)、手术刀口的贴膜处为平面设计,无法集水,术中血水会向四周散去,浸湿术者手术衣及无菌布单;(2)、集液袋开口固型铁丝较软,无法很好保证集液袋始终开口,术者和助手身体帖服上去,开口马上关闭无法达到理想集液效果;(3)、贴膜无收集髓核标本作用,术中使用大量冲洗液会将标本冲走丢失;(4)、此类手术使用的器械较为精细、纤长,常规贴膜无器械收集袋,护士传递和术者使用器械不方便;(5)、手术过程中,需将贴膜集液袋尾端放于污物桶内收集血水,污物桶放在手术床一侧术者脚下,妨碍术者的操作,另外术间护士清理水桶和潮湿地面也特别不方便;(6)、常规手术贴膜四周无纺布面积较小,甚至是没有,间盘镜手术过程中会使用大量冲洗液,很容易弄湿贴膜下的手术布单,造成污染。According to relevant literature reports, at present, when performing such operations in China, obstetric or meningeal membranes are mostly used as surgical masks. In the process of using this type of film for surgery and use, there are the following problems: (1) The film on the surgical incision is designed to be flat and cannot collect water. (2) The solid iron wire for the opening of the collection bag is soft, and it cannot ensure that the collection bag is always open. The surgeon and assistants put it on the body, and the opening is immediately closed, so the ideal collection effect cannot be achieved; (3) The film has no function of collecting nucleus pulposus specimens, and the specimens will be washed away and lost by using a large amount of irrigation fluid during the operation; (4) The instruments used in this type of operation are relatively fine and slender. It is inconvenient for the operator to use the instruments; (5) During the operation, the end of the film collection bag needs to be placed in the dirt bucket to collect blood water. , In addition, it is particularly inconvenient for nurses to clean the buckets and wet floors in the surgery; (6) The non-woven area around the conventional surgical film is small, or even not available, and a large amount of irrigating fluid will be used during the disc surgery process, which is easy to get wet The surgical drape under the film will cause pollution.
发明内容SUMMARY OF THE INVENTION
本实用新型就是针对上述问题,弥补现有技术的不足,提供一种适用于间盘镜和椎间孔镜等手术的多功能手术贴膜;本实用新型有效地克服了现有手术贴膜的不足,整体设计合理巧妙,实用性强。The utility model is aimed at the above-mentioned problems, makes up for the deficiencies of the prior art, and provides a multifunctional surgical film suitable for operations such as disc mirror and foraminal mirror; the utility model effectively overcomes the deficiencies of the existing surgical film, The overall design is reasonable and ingenious, with strong practicability.
为实现上述目的,本实用新型采用如下技术方案。To achieve the above purpose, the present invention adopts the following technical solutions.
本实用新型一种多功能手术贴膜,其特征在于:包括布单主体,在所述的布单主体上设置有手术贴膜区,在所述的布单主体周边设置有器械收集袋;在所述的手术贴膜区上方设置有隔水坝,在所述的隔水坝下方设置有集液袋。The utility model is a multifunctional surgical film, which is characterized in that: it comprises a main body of a cloth sheet, a surgical film area is arranged on the main body of the cloth sheet, and an instrument collection bag is arranged around the main body of the cloth sheet; A water blocking dam is arranged above the surgical film area of the device, and a liquid collecting bag is arranged below the water blocking dam.
作为本实用新型的一种优选方案,所述的手术贴膜区采用的是高弹力透明防水贴膜。As a preferred solution of the present invention, a high-elasticity transparent waterproof film is used in the surgical film area.
作为本实用新型的另一种优选方案,所述的布单主体采用的是透气防水无纺布。As another preferred solution of the present invention, the main body of the cloth sheet adopts a breathable waterproof non-woven fabric.
作为本实用新型的另一种优选方案,所述的器械收集袋设置有至少两个。As another preferred solution of the present invention, there are at least two device collection bags.
作为本实用新型的另一种优选方案,所述的器械收集袋内底部设置有海绵条,海绵条通过无痕双面胶条粘接在器械收集袋内底部。As another preferred solution of the present invention, the inner bottom of the instrument collection bag is provided with a sponge strip, and the sponge strip is bonded to the inner bottom of the instrument collection bag by a non-marking double-sided adhesive strip.
作为本实用新型的另一种优选方案,所述的隔水坝由四块高强度记忆海绵块组成,四块高强度记忆海绵块围成方形,四块高强度记忆海绵块的底面通过无痕双面胶条粘接在手术贴膜区上,四块高强度记忆海绵块的上表面也均设置有无痕双面胶条。As another preferred solution of the present utility model, the water barrier is composed of four high-strength memory foam blocks, the four high-strength memory foam blocks form a square, and the bottom surfaces of the four high-strength memory foam blocks pass through the traceless double The surface adhesive strip is glued to the surgical film area, and the upper surfaces of the four high-strength memory foam blocks are also provided with non-marking double-sided adhesive strips.
作为本实用新型的另一种优选方案,所述的四块高强度记忆海绵块中的三块高度一致,最后一块海绵高度小于其余三块高度,集液袋固定设置于高度低的海绵块下方。As another preferred solution of the present invention, three of the four high-strength memory foam blocks have the same height, the height of the last sponge is less than the height of the other three, and the liquid collection bag is fixedly arranged under the low-height sponge block .
作为本实用新型的另一种优选方案,所述的集液袋采用透明聚乙烯材料制成,在集液袋的上方开口边缘设置有开口塑型铁丝,在集液袋的底部设置有吸引器桶连接头。As another preferred solution of the present invention, the liquid collection bag is made of transparent polyethylene material, an open plastic wire is arranged on the upper opening edge of the liquid collection bag, and an aspirator is arranged at the bottom of the liquid collection bag barrel connector.
作为本实用新型的另一种优选方案,在所述的集液袋底部的吸引器桶连接头内还设置有标本采集盒,所述的标本采集盒的盒底部设置有多个通孔。As another preferred solution of the present invention, a specimen collection box is also provided in the suction barrel connector at the bottom of the collection bag, and the bottom of the specimen collection box is provided with a plurality of through holes.
作为本实用新型的另一种优选方案,所述的吸引器桶连接头上设置有封口帽,封口帽通过软连接带连接在吸引器桶连接头上。As another preferred solution of the present invention, a sealing cap is provided on the connecting head of the suction device barrel, and the sealing cap is connected to the connecting head of the suction device barrel through a soft connecting belt.
本实用新型有益效果。The utility model has beneficial effects.
本实用新型所提供的一种多功能手术贴膜,具有集液、隔水、收集标本和收纳器械的作用;同时,还可将废液直接与吸引器桶相连通,废液吸入吸引器桶,有效提高了术者和护士工作效率;能够提高手术护理质量并能保证椎间孔镜及间盘镜手术顺利完成。本实用新型有效地克服了现有手术贴膜的不足,整体设计合理巧妙,实用性强。The multifunctional surgical film provided by the utility model has the functions of collecting liquid, isolating water, collecting specimens and storing instruments; at the same time, the waste liquid can be directly communicated with the suction barrel, and the waste liquid is sucked into the suction barrel. It can effectively improve the work efficiency of operators and nurses; it can improve the quality of surgical care and ensure the smooth completion of foraminal and discoscopy operations. The utility model effectively overcomes the deficiencies of the existing surgical stickers, has a reasonable and ingenious overall design, and has strong practicability.
附图说明Description of drawings
为了使本实用新型所解决的技术问题、技术方案及有益效果更加清楚明白,以下结合附图及具体实施方式,对本实用新型进行进一步详细说明。应当理解,此处所描述的具体实施方式仅仅用以解释本实用新型,并不用于限定本实用新型。In order to make the technical problems, technical solutions and beneficial effects solved by the present utility model clearer, the present utility model will be further described in detail below with reference to the accompanying drawings and specific embodiments. It should be understood that the specific embodiments described herein are only used to explain the present invention, and are not used to limit the present invention.
图1是本实用新型一种多功能手术贴膜的平面结构示意图。FIG. 1 is a schematic plan view of a multifunctional surgical film of the present invention.
图2是本实用新型一种多功能手术贴膜的立体结构示意图。FIG. 2 is a schematic three-dimensional structure diagram of a multifunctional surgical film of the present invention.
图3是本实用新型一种多功能手术贴膜的剖视结构示意图。3 is a schematic cross-sectional structural diagram of a multifunctional surgical film of the present invention.
图4是本实用新型一种多功能手术贴膜的集液袋的结构示意图。4 is a schematic structural diagram of a liquid collection bag for a multifunctional surgical film of the present invention.
图5是本实用新型一种多功能手术贴膜的器械收集袋的结构示意图。FIG. 5 is a schematic structural diagram of an instrument collection bag with a multifunctional surgical film of the present invention.
图6是本实用新型一种多功能手术贴膜的标本采集盒的结构示意图。6 is a schematic structural diagram of a specimen collection box of a multifunctional surgical film of the present invention.
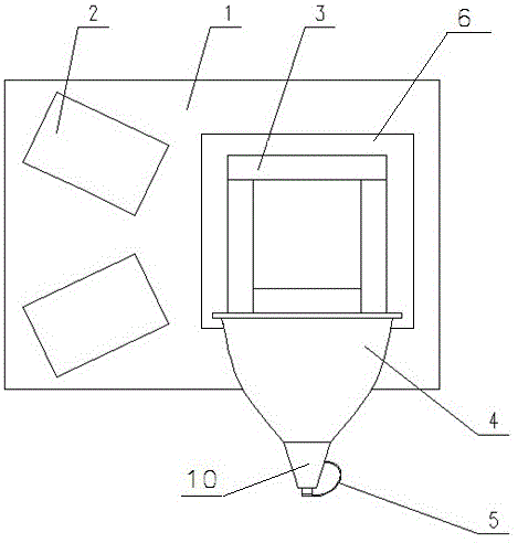
图中标记:1为布单主体、2为器械收集袋、3为隔水坝、4为集液袋、5为封口帽、6为手术贴膜区、7为标本采集盒、8为开口塑型铁丝、9为通孔、10为吸引器桶连接头。Labels in the figure: 1 is the main body of the cloth sheet, 2 is the instrument collection bag, 3 is the dam, 4 is the liquid collection bag, 5 is the sealing cap, 6 is the surgical film area, 7 is the specimen collection box, and 8 is the opening plastic wire , 9 are through holes, and 10 are suction barrel connectors.
具体实施方式Detailed ways
结合附图1至6所示,本实用新型一种多功能手术贴膜,其特征在于:包括布单主体1,在所述的布单主体1上设置有手术贴膜区6,在所述的布单主体1周边设置有器械收集袋2;在所述的手术贴膜区6上方设置有隔水坝3,在所述的隔水坝3下方设置有集液袋4。1 to 6, the utility model is a multifunctional surgical sticker, which is characterized in that it comprises a
所述的手术贴膜区6采用的是高弹力透明防水贴膜,在可以保证有效贴附患者皮肤的同时,也可将隔水坝3黏贴在其上。所述的手术贴膜区6的面积大于隔水坝3的面积。The
所述的布单主体1采用的是透气防水无纺布,所述布单主体1的设置可以有效地避免术中冲洗液污染手术布单。The
所述的器械收集袋2设置有至少两个,所述的器械收集袋2起到了收纳器械的作用,便于术中术者取用器械;所述的器械收集袋2内底部设置有海绵条,海绵条通过无痕双面胶条粘接在器械收集袋2内底部,所设置的海绵条能够保证取用器械时不会损坏器械前端。The
所述的隔水坝3由四块高强度记忆海绵块组成,四块高强度记忆海绵块围成方形,四块高强度记忆海绵块的底面通过无痕双面胶条粘接在手术贴膜区6上,四块高强度记忆海绵块的上表面也均设置有无痕双面胶条,便于将隔水坝3粘贴于患者皮肤上;所述的隔水坝3由高强度记忆海绵块组成,这样能保证极好的可塑性和舒适性;所述的隔水坝3能够使术中冲洗液与血水聚集在坝中,不会像四周散开而污染术者手术衣和手术大单;所述的隔水坝3起到了隔水的作用。The
所述的四块高强度记忆海绵块中的三块高度一致,最后一块海绵高度小于其余三块高度,集液袋4固定设置于高度低的海绵块下方;在具体使用时,低的海绵块朝向术者对侧,即使坝内水量过多溢出,也会直接流进集液袋4内。Three of the four high-strength memory foam blocks have the same height, the height of the last sponge is less than the height of the other three, and the
所述的集液袋4采用透明聚乙烯材料制成,在集液袋4的上方开口边缘设置有开口塑型铁丝8,所述的开口塑型铁丝8采用固型强度极高的铁丝,可保证集液袋4被手术助手身体轻压时也不会使开口闭合;在集液袋4的底部设置有吸引器桶连接头10,在所述的集液袋4底部的吸引器桶连接头10内还设置有标本采集盒7,所述的标本采集盒7的盒底部设置有多个通孔9,所述的标本采集盒7能够保证冲洗液顺利流出的同时,不会使标本丢失;所述的标本采集盒7起到了收集标本的作用。所述的吸引器桶连接头10上设置有封口帽5,封口帽5通过软连接带连接在吸引器桶连接头10上;所述的吸引器桶连接头10可以直接连接吸引器桶将收集的术中冲洗液排出,方便实用,避免了以往在术者脚下放水桶的情况;起到了有效集液的效果。The
具体地,本实用新型的多功能手术贴膜更加安全、更加舒适;贴膜防水、隔水效果良好,避免了液体污染患者的情况发生;为患者的手术安全保驾护航。有效地避免了术中冲洗液和血水污染手术布单与手术衣;同时,还避免了术中标本的丢失。使用更加简便,提高了手术配合的效率;集液袋4内液体直接被吸引器桶吸走,不必再为术后清理水桶和地面而烦恼。Specifically, the multifunctional surgical sticking film of the present invention is safer and more comfortable; the sticking film has good waterproof and water-proof effects, avoids the occurrence of liquid contamination of the patient, and escorts the patient's surgical safety. It effectively avoids the contamination of surgical drapes and surgical gowns with intraoperative irrigation fluid and blood water; meanwhile, it also avoids the loss of intraoperative specimens. It is easier to use and improves the efficiency of surgical cooperation; the liquid in the
可以理解的是,以上关于本实用新型的具体描述,仅用于说明本实用新型而并非受限于本实用新型实施例所描述的技术方案,本领域的普通技术人员应当理解,仍然可以对本实用新型进行修改或等同替换,以达到相同的技术效果;只要满足使用需要,都在本实用新型的保护范围之内。It can be understood that the above specific description about the present utility model is only used to illustrate the present utility model and is not limited to the technical solutions described in the embodiments of the present utility model. Modifications or equivalent replacements are made to the new model to achieve the same technical effect; as long as the needs of use are met, they are all within the protection scope of the present invention.
Claims (10)
Priority Applications (1)
| Application Number | Priority Date | Filing Date | Title |
|---|---|---|---|
| CN201922302599.5U CN211325584U (en) | 2019-12-20 | 2019-12-20 | Multifunctional operation film |
Applications Claiming Priority (1)
| Application Number | Priority Date | Filing Date | Title |
|---|---|---|---|
| CN201922302599.5U CN211325584U (en) | 2019-12-20 | 2019-12-20 | Multifunctional operation film |
Publications (1)
| Publication Number | Publication Date |
|---|---|
| CN211325584U true CN211325584U (en) | 2020-08-25 |
Family
ID=72106491
Family Applications (1)
| Application Number | Title | Priority Date | Filing Date |
|---|---|---|---|
| CN201922302599.5U Active CN211325584U (en) | 2019-12-20 | 2019-12-20 | Multifunctional operation film |
Country Status (1)
| Country | Link |
|---|---|
| CN (1) | CN211325584U (en) |
Cited By (1)
| Publication number | Priority date | Publication date | Assignee | Title |
|---|---|---|---|---|
| CN120605110A (en) * | 2025-08-04 | 2025-09-09 | 温州医科大学附属第二医院(温州医科大学附属育英儿童医院) | A surgical film assembly with a surgical extravasation fluid backflow mechanism |
-
2019
- 2019-12-20 CN CN201922302599.5U patent/CN211325584U/en active Active
Cited By (1)
| Publication number | Priority date | Publication date | Assignee | Title |
|---|---|---|---|---|
| CN120605110A (en) * | 2025-08-04 | 2025-09-09 | 温州医科大学附属第二医院(温州医科大学附属育英儿童医院) | A surgical film assembly with a surgical extravasation fluid backflow mechanism |
Similar Documents
| Publication | Publication Date | Title |
|---|---|---|
| CN211325584U (en) | Multifunctional operation film | |
| CN206007358U (en) | A kind of novel ophthalmic surgical hole towel | |
| CN205866850U (en) | Take waste liquid to collect operation pad pasting of bag | |
| CN211156236U (en) | A special surgical hole towel for craniotomy | |
| CN214857425U (en) | Operation drape capable of measuring liquid and collecting specimen | |
| CN202446280U (en) | Cesarean section adhesive membrane | |
| CN210354927U (en) | Antibacterial detachable filtering suction bag | |
| CN211750798U (en) | A kind of collection bag for knee arthroscopy surgery | |
| CN217772510U (en) | Shoulder arthroscopy operation drape | |
| CN214857584U (en) | Disposable aseptic negative pressure of urological department bag that catchments | |
| CN219126704U (en) | Medical disposable shoulder joint operation bag | |
| CN209529337U (en) | Surgical operation towel and operation packet for beach chair position arthroscopy of shoulder | |
| CN221730895U (en) | A multifunctional sterile cover for vaginal surgical instrument cart | |
| CN219331876U (en) | A kind of shoulder arthroscopy surgical patch | |
| CN219048607U (en) | A disposable hysteroscopic operation specimen collection device | |
| CN221963735U (en) | Disposable portable sterile delivery towel | |
| CN215079620U (en) | Intervertebral foramen mirror operation district pad pasting | |
| CN221490591U (en) | A sewage collection and treatment device for arthroscopic surgery | |
| CN213283337U (en) | Disposable sterile dressing | |
| CN201431522Y (en) | Pasting surgical towel for urologic percutaneous nephroscope surgery | |
| CN215273296U (en) | Multi-field operation film liquid collecting bag | |
| CN221808055U (en) | Disposable multifunctional surgical incision isolation hole towel | |
| CN213466203U (en) | Water collecting device for surgical operation | |
| CN215425108U (en) | Collecting bag for endoscopic instruments on operating table | |
| CN203953840U (en) | Shoulder joint videoendoscopic surgery waterproof is protected list |
Legal Events
| Date | Code | Title | Description |
|---|---|---|---|
| GR01 | Patent grant | ||
| GR01 | Patent grant |
