CN211324936U - Special patient head elevation angle positioning instrument for ophthalmology department - Google Patents
Special patient head elevation angle positioning instrument for ophthalmology department Download PDFInfo
- Publication number
- CN211324936U CN211324936U CN201922366729.1U CN201922366729U CN211324936U CN 211324936 U CN211324936 U CN 211324936U CN 201922366729 U CN201922366729 U CN 201922366729U CN 211324936 U CN211324936 U CN 211324936U
- Authority
- CN
- China
- Prior art keywords
- fixedly connected
- patient
- shaped
- plate
- bearing
- Prior art date
- Legal status (The legal status is an assumption and is not a legal conclusion. Google has not performed a legal analysis and makes no representation as to the accuracy of the status listed.)
- Expired - Fee Related
Links
- 230000003287 optical effect Effects 0.000 claims abstract description 12
- 238000000034 method Methods 0.000 abstract description 15
- 210000003128 head Anatomy 0.000 description 26
- 238000007689 inspection Methods 0.000 description 5
- 210000001508 eye Anatomy 0.000 description 4
- 230000009286 beneficial effect Effects 0.000 description 3
- 238000010586 diagram Methods 0.000 description 2
- 201000010099 disease Diseases 0.000 description 2
- 208000037265 diseases, disorders, signs and symptoms Diseases 0.000 description 2
- 208000002177 Cataract Diseases 0.000 description 1
- 208000010412 Glaucoma Diseases 0.000 description 1
- 206010061323 Optic neuropathy Diseases 0.000 description 1
- 208000017442 Retinal disease Diseases 0.000 description 1
- 230000005540 biological transmission Effects 0.000 description 1
- 210000005252 bulbus oculi Anatomy 0.000 description 1
- 230000007812 deficiency Effects 0.000 description 1
- 208000030533 eye disease Diseases 0.000 description 1
- 230000004048 modification Effects 0.000 description 1
- 238000012986 modification Methods 0.000 description 1
- 208000020911 optic nerve disease Diseases 0.000 description 1
- 230000000007 visual effect Effects 0.000 description 1
- 208000026726 vitreous disease Diseases 0.000 description 1
Images
Landscapes
- Accommodation For Nursing Or Treatment Tables (AREA)
Abstract
本实用新型公开了一种眼科专用患者头部仰角定位仪,涉及医疗器械技术领域,其包括U型板,所述U型板的上表面卡接有轴承一,所述轴承一内套接有螺杆一的底端光轴。该眼科专用患者头部仰角定位仪,通过螺杆一在转动过程中带动螺纹筒的升降,继而可以根据患者的坐姿和身高进行调整支撑座、两个弧形托、软垫二和两个软垫一的高度,并且通过两个螺母相互靠近或远离,继而可以根据患者头部的大小进行调整两个弧形托杆和两个软垫一之间的距离,增加两个软垫一与患者下颌的贴合度,能够有效的对患者头部进行夹持定位,便于医护人员和使用,使该仰角定位仪能够根据不同患者的身高及头部大小进行调节,满足医护人员的使用需求。
The utility model discloses an ophthalmology-specific patient head elevation angle locator, which relates to the technical field of medical equipment. The utility model comprises a U-shaped plate. The optical axis of the bottom end of screw one. This ophthalmology-specific patient head elevation locator uses the screw 1 to drive the threaded barrel to rise and fall during the rotation process, and then can adjust the support seat, two curved brackets, soft pads and two soft pads according to the patient's sitting posture and height The height of the first one, and the two nuts are close to or away from each other, and then the distance between the two arc-shaped support rods and the two soft pads can be adjusted according to the size of the patient's head, and the two soft pads can be added to the patient's lower jaw. It can effectively clamp and position the patient's head, which is convenient for medical staff and use, so that the elevation locator can be adjusted according to the height and head size of different patients to meet the needs of medical staff.
Description
技术领域technical field
本实用新型涉及医疗器械技术领域,具体为一种眼科专用患者头部仰角定位仪。The utility model relates to the technical field of medical devices, in particular to an ophthalmology-specific patient head elevation angle locator.
背景技术Background technique
眼科的全称是“眼病专科”,是研究发生在视觉系统,包括眼球及与其相关联的组织有关疾病的学科,眼科一般研究玻璃体、视网膜疾病,眼视光学,青光眼和视神经病变,白内障等多种眼科疾病,在眼科对患者进行检查时,需要使用仰角定位仪将患者头部会上仰一定角度,以便于医护人员对患者眼部的检查。The full name of ophthalmology is "eye disease specialty", which is a discipline that studies diseases that occur in the visual system, including the eyeball and its associated tissues. Ophthalmology generally studies vitreous and retinal diseases, optometry, glaucoma and optic neuropathy, cataract and other For ophthalmic diseases, when examining patients in the ophthalmology department, it is necessary to use an elevation locator to raise the patient's head to a certain angle, so as to facilitate the medical staff to examine the patient's eyes.
在眼科医生坐诊过程中会遇到很多患者,由于患者的身高及头部大小不同,进而使现有的仰角定位仪在使用过程中不具有普遍适用性,不能根据不同患者的身高及头部大小调节,不能对患者头部进行有效的夹持定位,患者头部容易发生晃动、倾斜等,继而影响医护人员给患者眼部的检查,增加医护人员的操作难度,也大大增加了安全隐患,不能满足医护人员的使用要求。Ophthalmologists will encounter many patients in the process of sitting for consultation. Due to the different heights and head sizes of patients, the existing elevation locator is not universally applicable during use, and cannot be used according to the height and head size of different patients. Adjustment, can not effectively clamp and position the patient's head, the patient's head is prone to shaking, tilting, etc., which in turn affects the medical staff's inspection of the patient's eyes, increases the difficulty of the medical staff's operation, and greatly increases the safety hazard. Meet the requirements of medical staff.
因此,对现有仰角定位仪存在的不足做出相应的改进。Therefore, corresponding improvements are made to the shortcomings of the existing elevation locator.
实用新型内容Utility model content
(一)解决的技术问题(1) Technical problems solved
针对现有技术的不足,本实用新型提供了一种眼科专用患者头部仰角定位仪,解决了现有的仰角定位仪在使用过程中不具有普遍适用性,不能根据不同患者的身高及头部大小调节,不能对患者头部进行有效的夹持定位的问题。Aiming at the deficiencies of the prior art, the utility model provides an ophthalmology-specific patient head elevation angle locator, which solves the problem that the existing elevation angle locator does not have universal applicability during use, and cannot be used according to the height and head of different patients. The size adjustment cannot effectively clamp and position the patient's head.
(二)技术方案(2) Technical solutions
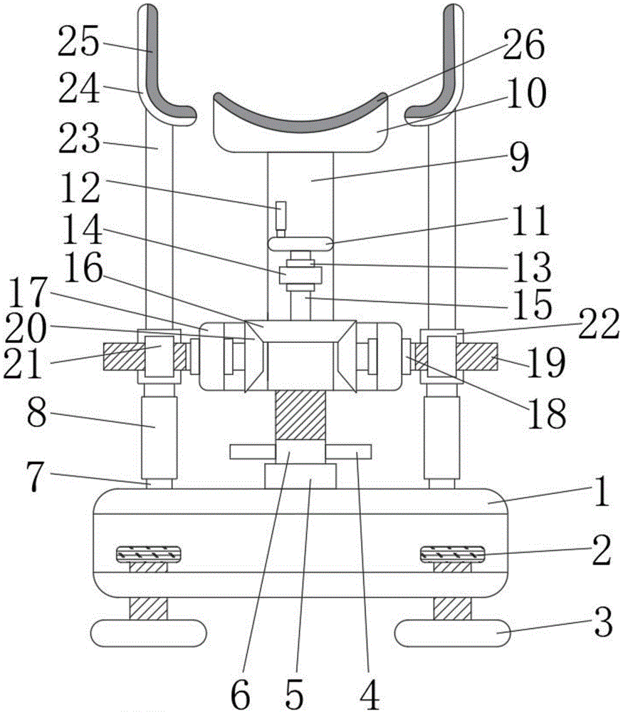
为达到以上目的,本实用新型采取的技术方案是:一种眼科专用患者头部仰角定位仪,包括U型板,所述U型板的上表面卡接有轴承一,所述轴承一内套接有螺杆一的底端光轴,所述螺杆一底端光轴的左右两侧均固定连接有旋转杆,所述螺杆一上螺纹连接有螺纹筒,所述螺纹筒的顶部固定连接有支撑座,所述支撑座开设的弧形槽内固定连接有软垫二,所述螺纹筒的前侧固定连接有固定板,所述固定板上卡接有轴承二,所述轴承二内套接有转轴,所述转轴的底端套接有锥齿轮一,所述锥齿轮一的左右两侧均啮合有锥齿轮二,所述锥齿轮二内套接有螺杆二的光轴,所述螺杆二的光轴上套接有轴承三,所述轴承三卡接在L型连接板上,所述L型连接板与螺纹筒固定连接,所述螺杆二上螺纹连接有螺母,所述螺母的后侧固定连接有支撑板,所述支撑板的下表面固定连接有伸缩杆,所述伸缩杆的固定端固定连接有滑块,所述滑块滑动连接在U型板上侧壁开设的滑槽内,所述支撑板上表面偏后的位置上固定连接有支撑杆,所述支撑杆的顶端固定连接有弧形托杆,所述弧形托杆上固定连接有软垫一。In order to achieve the above purpose, the technical solution adopted by the present utility model is: a special ophthalmology patient head elevation angle locator, comprising a U-shaped plate, the upper surface of the U-shaped plate is clamped with a bearing, and the bearing is an inner sleeve. The bottom end optical axis of the first screw rod is connected, the left and right sides of the bottom end optical axis of the screw rod one are fixedly connected with a rotating rod, the screw rod one is threadedly connected with a threaded barrel, and the top of the threaded barrel is fixedly connected with a support A
优选的,所述U型板下侧壁开设的两个螺纹孔内均螺纹连接有旋转螺杆,所述旋转螺杆的顶端固定连接有摩擦垫。Preferably, a rotating screw is threaded in the two threaded holes opened on the lower side wall of the U-shaped plate, and a friction pad is fixedly connected to the top of the rotating screw.
优选的,所述转轴的顶端固定连接有旋转盘,所述旋转盘的上表面边缘处固定连接有旋转把手。Preferably, a rotating disk is fixedly connected to the top of the rotating shaft, and a rotating handle is fixedly connected to the edge of the upper surface of the rotating disk.
优选的,所述支撑座和弧形托杆具有一定的向上坡度。Preferably, the support base and the arc support rod have a certain upward slope.
(三)有益效果(3) Beneficial effects
本实用新型的有益效果在于:The beneficial effects of the present utility model are:
1、该眼科专用患者头部仰角定位仪,通过转动旋转杆带动螺杆一的旋转,螺杆一在转动过程中带动螺纹筒的升降,继而可以根据患者的坐姿和身高进行调整支撑座、两个弧形托、软垫二和两个软垫一的高度,并且通过转动旋转把手带动旋转盘、转轴和锥齿轮一的转动,锥齿轮一在转动过程中啮合传动两个锥齿轮二,两个锥齿轮二在转动过程中带动两个螺杆二的转动,两个螺杆二在转动过程中通过两个支撑板、两个伸缩杆、两个滑槽和两个滑块的配合,使两个螺母相互靠近或远离,继而可以根据患者头部的大小进行调整两个弧形托杆和两个软垫一之间的距离,增加两个软垫一与患者下颌的贴合度,能够有效的对患者头部进行夹持定位,便于医护人员和使用,使该仰角定位仪能够根据不同患者的身高及头部大小进行调节,满足医护人员的使用需求。1. This ophthalmology-specific patient head elevation locator drives the rotation of
2、该眼科专用患者头部仰角定位仪,通过支撑座能够有效的患者下巴进行托举支撑,通过两个弧形托杆能够有效的对患者下颌进行托举支撑,通过设置两个软垫一和软垫二,一方面在对患者头部进行夹持定位时能够减小支撑座和两个弧形托杆与患者头部的摩擦,另一方面两个软垫一和软垫二柔软舒适,给患者在检查过程中带来舒适感,减小患者在检查过程中不舒适的感觉。2. This ophthalmology-specific patient head elevation positioner can effectively lift and support the patient's chin through the support seat, and can effectively support the patient's lower jaw through two arc-shaped support rods. And
3、该眼科专用患者头部仰角定位仪,通过设置U型板,可以将U型板夹持在桌板上,并通过正向转动两个旋转螺杆,使两个摩擦垫上升,当两个摩擦垫与桌板搭接时,从而完成对U型板的固定,便于医护人员使用,并且摩擦垫的设置,一方面增加旋转螺杆与桌板的接触面积,另一方面增加了旋转螺杆与桌板之间的摩擦系数,从而提高了仰角定位仪在使用过程中的稳定性。3. This ophthalmology-specific patient head elevation locator can clamp the U-shaped plate on the table by setting the U-shaped plate, and rotate the two rotating screws in the positive direction to make the two friction pads rise. When the friction pad is overlapped with the table board, the U-shaped plate is fixed, which is convenient for medical staff to use, and the setting of the friction pad increases the contact area between the rotary screw and the table board on the one hand, and increases the contact area between the rotary screw and the table board on the other hand. The friction coefficient between the plates improves the stability of the elevation locator during use.
附图说明Description of drawings
图1为本实用新型正视结构示意图;Fig. 1 is the front view structure schematic diagram of the present utility model;
图2为本实用新型后视结构示意图;Fig. 2 is the rear view structure schematic diagram of the utility model;
图3为本实用新型L型连接板、锥齿轮二及螺母俯视结构示意图。3 is a schematic top view of the L-shaped connecting plate, the second bevel gear and the nut of the present invention.
图中:1 U型板、2摩擦垫、3旋转螺杆、4旋转杆、5轴承一、6螺杆一、7滑块、8伸缩杆、9螺纹筒、10支撑座、11旋转盘、12旋转把手、13轴承二、14固定板、15转轴、16锥齿轮一、17 L型连接板、18轴承三、19螺杆二、20锥齿轮二、21螺母、22支撑板、23支撑杆、24弧形托杆、25软垫一、26软垫二。In the picture: 1 U-shaped plate, 2 friction pad, 3 rotating screw, 4 rotating rod, 5 bearing one, 6 screw one, 7 sliding block, 8 telescopic rod, 9 threaded barrel, 10 supporting seat, 11 rotating disk, 12 rotating Handle, 13 bearing two, 14 fixing plate, 15 rotating shaft, 16 bevel gear one, 17 L-shaped connecting plate, 18 bearing three, 19 screw two, 20 bevel gear two, 21 nut, 22 supporting plate, 23 supporting rod, 24 arc Shaped support rod, 25 cushion one, 26 cushion two.
具体实施方式Detailed ways
下面将结合本实用新型实施例中的附图,对本实用新型实施例中的技术方案进行清楚、完整地描述,显然,所描述的实施例仅仅是本实用新型一部分实施例,而不是全部的实施例。基于本实用新型中的实施例,本领域普通技术人员在没有做出创造性劳动前提下所获得的所有其他实施例,都属于本实用新型保护的范围。The technical solutions in the embodiments of the present utility model will be clearly and completely described below with reference to the accompanying drawings in the embodiments of the present utility model. Obviously, the described embodiments are only a part of the embodiments of the present utility model, rather than all the implementations. example. Based on the embodiments of the present invention, all other embodiments obtained by those of ordinary skill in the art without creative work fall within the protection scope of the present invention.
如图1-3所示,本实用新型提供一种技术方案:一种眼科专用患者头部仰角定位仪,包括U型板1,U型板1的上表面卡接有轴承一5,轴承一5内套接有螺杆一6的底端光轴,通过设置轴承一5在对螺杆一6起到支撑固定的同时,使螺杆一6在转动过程中具有稳定性,螺杆一6底端光轴的左右两侧均固定连接有旋转杆4,通过设置旋转杆4,便于医护人员通过转动旋转杆4带动螺杆一6的转动,螺杆一6上螺纹连接有螺纹筒9,通过设置螺杆一6和螺纹筒9,螺杆一6在转动过程中带动螺纹筒9的升降,继而可以根据患者的坐姿和身高进行调整支撑座10、两个弧形托24、软垫二26和两个软垫一25的高度,螺纹筒9的顶部固定连接有支撑座10,通过支撑座10能够有效的患者下巴进行托举支撑,支撑座10开设的弧形槽内固定连接有软垫二26,螺纹筒9的前侧固定连接有固定板14,固定板14上卡接有轴承二13,通过设置固定板14和轴承二13,对转轴15起到支撑固定的同时,使转轴15在转动过程中保持稳定性,轴承二13内套接有转轴15,转轴15的底端套接有锥齿轮一16,锥齿轮一16的左右两侧均啮合有锥齿轮二20,通过锥齿轮一16啮合传动两个锥齿轮二20,进而实现力的传递,使两个螺杆二19能够实现转动,两个螺杆二19在转动过程中通过两个支撑板22、两个伸缩杆8、两个滑槽和两个滑块7的配合,使两个螺母21相互靠近或远离,继而可以根据患者头部的大小进行调整两个弧形托杆24和两个软垫一25之间的距离,增加两个软垫一25与患者下颌的贴合度,能够有效的对患者头部进行夹持定位,便于医护人员和使用,使该仰角定位仪能够根据不同患者的身高及头部大小进行调节,满足医护人员的使用需求,锥齿轮二20内套接有螺杆二19的光轴,螺杆二19的光轴上套接有轴承三18,轴承三18卡接在L型连接板17上,L型连接板17与螺纹筒9固定连接,螺杆二19上螺纹连接有螺母21,螺母21的后侧固定连接有支撑板22,支撑板22的下表面固定连接有伸缩杆8,伸缩杆8的固定端固定连接有滑块7,滑块7滑动连接在U型板1上侧壁开设的滑槽内,通过设置两个伸缩杆8、两个滑槽和两个滑块7,不仅对螺纹筒9起到限制作用,还对两个螺母21起到限制作用,使螺杆一6在转动过程中,螺纹筒9能够实现升降,在螺杆二19转动过程中螺母21能够实现左右移动,支撑板22上表面偏后的位置上固定连接有支撑杆23,支撑杆23的顶端固定连接有弧形托杆24,通过两个弧形托杆24能够有效的对患者下颌进行托举支撑,弧形托杆24上固定连接有软垫一25,通过设置两个软垫一25和软垫二26,一方面在对患者头部进行夹持定位时,能够减小支撑座10和两个弧形托杆24与患者头部的摩擦,另一方面两个软垫一25和软垫二26柔软舒适,给患者在检查过程中带来舒适感,减小患者在检查过程中不舒适的感觉。As shown in Figures 1-3, the present utility model provides a technical solution: a special ophthalmology patient head elevation locator, comprising a
U型板1下侧壁开设的两个螺纹孔内均螺纹连接有旋转螺杆3,通过设置U型板1,可以将U型板1夹持在桌板上,并通过正向转动两个旋转螺杆3,使两个摩擦垫2上升,当两个摩擦垫2与桌板搭接时,从而完成对U型板1的固定,便于医护人员使用,旋转螺杆3的顶端固定连接有摩擦垫2,通过设置摩擦垫,一方面增加旋转螺杆3与桌板的接触面积,另一方面增加了旋转螺杆3与桌板之间的摩擦系数,从而提高了仰角定位仪在使用过程中的稳定性,转轴15的顶端固定连接有旋转盘11,旋转盘11的上表面边缘处固定连接有旋转把手12,支撑座10和弧形托杆24具有一定的向上坡度。The two threaded holes opened on the lower side wall of the
本实用新型的操作步骤为:The operation steps of the present utility model are:
S1、当需要使用时,首先将U型板1夹持在桌板上,并通过正向转动两个旋转螺杆3,使两个摩擦垫2上升,当两个摩擦垫2与桌板搭接时,从而完成对U型板1的固定;S1. When it needs to be used, firstly clamp the
S2、当需要对患者眼部进行检查时,患者坐在座椅上,然后通过转动旋转杆4带动螺杆一6的转动,螺杆一6在转动过程中带动螺纹筒9的升降,继而可以根据患者的坐姿和身高进行调整支撑座10、两个弧形托24、软垫二26和两个软垫一25的高度,接着患者将下巴放置在软垫二26上,通过支撑座10和软垫二26对患者的下巴进行支撑;S2. When the patient's eyes need to be checked, the patient sits on the seat, and then drives the rotation of the
S3、然后通过转动旋转把手12带动旋转盘11、转轴15和锥齿轮一16的转动,锥齿轮一16啮合传动两个锥齿轮二20,进而使两个螺杆二19能够实现转动,两个螺杆二19在转动过程中通过两个支撑板22、两个伸缩杆8、两个滑槽和两个滑块7的配合,使两个螺母21相互靠近或远离,继而可以根据患者头部的大小进行调整两个弧形托杆24和两个软垫一25之间的距离,增加两个软垫一25与患者下颌的贴合度,能够有效的对患者头部进行夹持定位,便于医护人员对患者进行眼部检查。S3. Then, by rotating the
以上所述的具体实施方式,对本实用新型的目的、技术方案和有益效果进行了进一步详细说明,所应理解的是,以上所述仅为本实用新型的具体实施方式而已,并不用于限制本实用新型,凡在本实用新型的精神和原则之内,所做的任何修改、等同替换、改进等,均应包含在本实用新型的保护范围之内。The specific embodiments described above further describe the purpose, technical solutions and beneficial effects of the present invention in detail. It should be understood that the above are only specific embodiments of the present invention and are not intended to limit the present invention In the utility model, any modification, equivalent replacement, improvement, etc. made within the spirit and principle of the present utility model shall be included within the protection scope of the present utility model.
Claims (4)
Priority Applications (1)
| Application Number | Priority Date | Filing Date | Title |
|---|---|---|---|
| CN201922366729.1U CN211324936U (en) | 2019-12-25 | 2019-12-25 | Special patient head elevation angle positioning instrument for ophthalmology department |
Applications Claiming Priority (1)
| Application Number | Priority Date | Filing Date | Title |
|---|---|---|---|
| CN201922366729.1U CN211324936U (en) | 2019-12-25 | 2019-12-25 | Special patient head elevation angle positioning instrument for ophthalmology department |
Publications (1)
| Publication Number | Publication Date |
|---|---|
| CN211324936U true CN211324936U (en) | 2020-08-25 |
Family
ID=72131661
Family Applications (1)
| Application Number | Title | Priority Date | Filing Date |
|---|---|---|---|
| CN201922366729.1U Expired - Fee Related CN211324936U (en) | 2019-12-25 | 2019-12-25 | Special patient head elevation angle positioning instrument for ophthalmology department |
Country Status (1)
| Country | Link |
|---|---|
| CN (1) | CN211324936U (en) |
Cited By (5)
| Publication number | Priority date | Publication date | Assignee | Title |
|---|---|---|---|---|
| CN111904374A (en) * | 2020-09-09 | 2020-11-10 | 浙江爱视博医疗科技有限公司 | Improved generation corneal topography analysis appearance |
| CN112274199A (en) * | 2020-12-25 | 2021-01-29 | 广州维帝医疗技术有限公司 | Deformable nasal cavity operation expanding device |
| CN112515866A (en) * | 2020-12-01 | 2021-03-19 | 娄底市娄星区雅豪科达科技有限责任公司 | Sitting posture keeping device for myopia rehabilitation |
| CN114307108A (en) * | 2021-12-28 | 2022-04-12 | 英泰诺维慧健医疗科技(重庆)有限公司 | Swimming stroke active core training system |
| CN115281599A (en) * | 2022-07-06 | 2022-11-04 | 安徽理工大学环境友好材料与职业健康研究院(芜湖) | Fixing device of multi-functional ophthalmology inspection instrument |
-
2019
- 2019-12-25 CN CN201922366729.1U patent/CN211324936U/en not_active Expired - Fee Related
Cited By (5)
| Publication number | Priority date | Publication date | Assignee | Title |
|---|---|---|---|---|
| CN111904374A (en) * | 2020-09-09 | 2020-11-10 | 浙江爱视博医疗科技有限公司 | Improved generation corneal topography analysis appearance |
| CN112515866A (en) * | 2020-12-01 | 2021-03-19 | 娄底市娄星区雅豪科达科技有限责任公司 | Sitting posture keeping device for myopia rehabilitation |
| CN112274199A (en) * | 2020-12-25 | 2021-01-29 | 广州维帝医疗技术有限公司 | Deformable nasal cavity operation expanding device |
| CN114307108A (en) * | 2021-12-28 | 2022-04-12 | 英泰诺维慧健医疗科技(重庆)有限公司 | Swimming stroke active core training system |
| CN115281599A (en) * | 2022-07-06 | 2022-11-04 | 安徽理工大学环境友好材料与职业健康研究院(芜湖) | Fixing device of multi-functional ophthalmology inspection instrument |
Similar Documents
| Publication | Publication Date | Title |
|---|---|---|
| CN211324936U (en) | Special patient head elevation angle positioning instrument for ophthalmology department | |
| CN112891114B (en) | Otolaryngology surgery is with nursing auxiliary device that has regulation safeguard function | |
| CN112402032A (en) | Head fixing device for ophthalmic therapy | |
| CN212307810U (en) | Be used for ophthalmology eye ground inspection equipment | |
| CN211534369U (en) | Slit-lamp workbench patient supporting and fixing device | |
| CN221830547U (en) | Fixed mandibular support of ophthalmology inspection head | |
| CN213940696U (en) | Ophthalmology slit lamp detector with detect locating support | |
| CN213046826U (en) | Auxiliary device for ophthalmologic examination | |
| CN216318714U (en) | Adjustable ophthalmic surgery head position fixer | |
| CN211432839U (en) | Bracket structure based on ophthalmology inspection | |
| CN213821352U (en) | Ophthalmology examination nursing platform | |
| CN214909939U (en) | A head bracket for ophthalmic examination | |
| CN213787322U (en) | Ophthalmic inspection device | |
| CN210991469U (en) | An ophthalmic surgery armrest | |
| CN220801392U (en) | Ophthalmic treatment chair | |
| CN220403979U (en) | Blocking device for optometry of ophthalmologists | |
| CN211985389U (en) | Examination table for ophthalmologic treatment | |
| CN211797523U (en) | Operation table for ophthalmic treatment | |
| CN218943768U (en) | An easily adjustable support frame for eye care | |
| CN211155725U (en) | An ophthalmic multi-purpose ophthalmic examination device | |
| CN221636546U (en) | Ophthalmic treatment chair | |
| CN209059855U (en) | An easily adjustable examination table for ophthalmology | |
| CN209984191U (en) | A portable ophthalmic observer | |
| CN217938575U (en) | Retina prostration device that resets after eye ground disease operation | |
| CN113712498A (en) | Traditional chinese medical science ophthalmology inspection desk |
Legal Events
| Date | Code | Title | Description |
|---|---|---|---|
| GR01 | Patent grant | ||
| GR01 | Patent grant | ||
| CF01 | Termination of patent right due to non-payment of annual fee |
Granted publication date: 20200825 |
|
| CF01 | Termination of patent right due to non-payment of annual fee |
