CN211320214U - Multifunctional soft pack module cell stacking pressing welding mechanism - Google Patents
Multifunctional soft pack module cell stacking pressing welding mechanism Download PDFInfo
- Publication number
- CN211320214U CN211320214U CN201922197181.2U CN201922197181U CN211320214U CN 211320214 U CN211320214 U CN 211320214U CN 201922197181 U CN201922197181 U CN 201922197181U CN 211320214 U CN211320214 U CN 211320214U
- Authority
- CN
- China
- Prior art keywords
- unipolar
- servo
- manual
- base
- pressing plate
- Prior art date
- Legal status (The legal status is an assumption and is not a legal conclusion. Google has not performed a legal analysis and makes no representation as to the accuracy of the status listed.)
- Expired - Fee Related
Links
Images
Classifications
-
- Y—GENERAL TAGGING OF NEW TECHNOLOGICAL DEVELOPMENTS; GENERAL TAGGING OF CROSS-SECTIONAL TECHNOLOGIES SPANNING OVER SEVERAL SECTIONS OF THE IPC; TECHNICAL SUBJECTS COVERED BY FORMER USPC CROSS-REFERENCE ART COLLECTIONS [XRACs] AND DIGESTS
- Y02—TECHNOLOGIES OR APPLICATIONS FOR MITIGATION OR ADAPTATION AGAINST CLIMATE CHANGE
- Y02E—REDUCTION OF GREENHOUSE GAS [GHG] EMISSIONS, RELATED TO ENERGY GENERATION, TRANSMISSION OR DISTRIBUTION
- Y02E60/00—Enabling technologies; Technologies with a potential or indirect contribution to GHG emissions mitigation
- Y02E60/10—Energy storage using batteries
-
- Y—GENERAL TAGGING OF NEW TECHNOLOGICAL DEVELOPMENTS; GENERAL TAGGING OF CROSS-SECTIONAL TECHNOLOGIES SPANNING OVER SEVERAL SECTIONS OF THE IPC; TECHNICAL SUBJECTS COVERED BY FORMER USPC CROSS-REFERENCE ART COLLECTIONS [XRACs] AND DIGESTS
- Y02—TECHNOLOGIES OR APPLICATIONS FOR MITIGATION OR ADAPTATION AGAINST CLIMATE CHANGE
- Y02P—CLIMATE CHANGE MITIGATION TECHNOLOGIES IN THE PRODUCTION OR PROCESSING OF GOODS
- Y02P70/00—Climate change mitigation technologies in the production process for final industrial or consumer products
- Y02P70/50—Manufacturing or production processes characterised by the final manufactured product
Landscapes
- Connection Of Batteries Or Terminals (AREA)
Abstract
本实用新型涉及一种多功能软包模组电芯堆叠压紧焊接机构,包括底座、限位支架、手动单轴、第一伺服单轴、第二伺服单轴、焊接铜嘴压板和压板,限位支架固定在底座上,手动单轴竖直安装在底座上,压板后端安装在手动单轴上并能够通过手动单轴驱动升降,压板的前部为压紧部且压紧部位于限位支架的正上方,底座上位于限位支架的两侧分别沿竖向安装第一伺服单轴,第二伺服单轴沿水平方向安装在第一伺服单轴上并能够通过第一伺服单轴驱动升降,焊接铜嘴压板可水平滑移地安装在第二伺服单轴上且与限位支架的侧面相对应。本实用新型集软包模组电芯的堆叠、压紧和极耳焊接于一体,柔性高,兼容性强,有利于提高设备利用效率和降低设备成本。
The utility model relates to a multifunctional soft pack module cell stacking and pressing welding mechanism, which comprises a base, a limit bracket, a manual single axis, a first servo single axis, a second servo single axis, a welding copper nozzle pressing plate and a pressing plate, The limit bracket is fixed on the base, the manual single shaft is vertically installed on the base, the rear end of the pressure plate is installed on the manual single shaft and can be driven up and down by the manual single shaft. Just above the position bracket, on the base on both sides of the limit bracket, the first servo single axis is installed vertically, and the second servo single axis is installed on the first servo single axis in the horizontal direction and can pass through the first servo single axis. Driven up and down, the welding copper nozzle pressing plate can be horizontally slidably installed on the second servo single shaft and corresponds to the side of the limit bracket. The utility model integrates the stacking, pressing and tab welding of the electric cores of the soft pack module, has high flexibility and strong compatibility, and is beneficial to improving the utilization efficiency of the equipment and reducing the cost of the equipment.
Description
技术领域technical field
本实用新型属于电芯模组加工的技术领域,特别是涉及一种多功能软包模组电芯堆叠压紧焊接机构。The utility model belongs to the technical field of battery core module processing, in particular to a multifunctional soft pack module battery core stacking pressing and welding mechanism.
背景技术Background technique
软包模组电芯在进行组装时需要经过堆叠、压紧、极耳焊接等工序,对于上述工序现有技术采用流水线作业,流水线上多个工位分步对软包模组电芯进行堆叠、压紧和极耳焊接操作。流水线作业主要适用于大批量电芯模组的生产加工,兼容性相对较差,设备利用效率相对较低。The soft pack module cells need to go through stacking, pressing, tab welding and other processes when assembling. For the above processes, the prior art adopts assembly line operation, and multiple stations on the assembly line stack the soft pack module cells step by step. , compression and tab welding operations. The assembly line operation is mainly suitable for the production and processing of large-scale battery modules, and the compatibility is relatively poor, and the equipment utilization efficiency is relatively low.
实用新型内容Utility model content
本实用新型所要解决的技术问题是提供一种多功能软包模组电芯堆叠压紧焊接机构,集软包模组电芯的堆叠、压紧和极耳焊接于一体,兼容性强,有利于提高设备利用效率和降低设备成本。The technical problem to be solved by the utility model is to provide a multifunctional soft-pack module cell stacking and pressing welding mechanism, which integrates the stacking, pressing and tab welding of the soft-pack module cell, and has strong compatibility and has Conducive to improving equipment utilization efficiency and reducing equipment costs.
本实用新型解决其技术问题所采用的技术方案是提供一种多功能软包模组电芯堆叠压紧焊接机构,包括底座、限位支架、手动单轴、第一伺服单轴、第二伺服单轴、焊接铜嘴压板和压板,所述限位支架固定在底座上,所述手动单轴竖直安装在底座上,所述压板后端安装在手动单轴上并能够通过手动单轴驱动升降,所述压板的前部为压紧部且所述压紧部位于限位支架的正上方,所述底座上位于限位支架的两侧分别沿竖向安装第一伺服单轴,所述第二伺服单轴沿水平方向安装在第一伺服单轴上并能够通过第一伺服单轴驱动升降,所述焊接铜嘴压板可水平滑移地安装在第二伺服单轴上且与限位支架的侧面相对应。The technical solution adopted by the utility model to solve the technical problem is to provide a multifunctional soft-pack module cell stacking pressing welding mechanism, which includes a base, a limit bracket, a manual single axis, a first servo single axis, and a second servo single axis. Single shaft, welded copper nozzle pressure plate and pressure plate, the limit bracket is fixed on the base, the manual single shaft is vertically installed on the base, the rear end of the pressure plate is installed on the manual single shaft and can be driven by the manual single shaft Lifting, the front part of the pressing plate is a pressing part and the pressing part is located directly above the limit bracket, and the base is installed on both sides of the limit bracket along the vertical direction to install the first servo uniaxial, the said The second servo single axis is installed on the first servo single axis in the horizontal direction and can be driven up and down by the first servo single axis. The sides of the bracket correspond.
所述限位支架包括四根限位板,所述四根限位板矩阵式分布地固定在底座上。The limit bracket includes four limit plates, and the four limit plates are distributed and fixed on the base in a matrix.
所述手动单轴包括安装基座、丝杆、滑轨和手动转盘,所述安装基座固定在底座上,所述丝杆可转动地安装在安装基座上且顶部与手动转盘连接,所述滑轨安装在丝杆的两侧,所述压板通过带螺纹孔的连接块与丝杆连接、并通过滑块与滑轨连接。The manual single shaft includes an installation base, a screw rod, a slide rail and a manual turntable, the installation base is fixed on the base, the screw rod is rotatably installed on the installation base and the top is connected with the manual turntable, so the The sliding rails are installed on both sides of the screw rod, and the pressing plate is connected with the screw rod through a connecting block with threaded holes, and is connected with the sliding rail through a sliding block.
使用时电芯下压板放置在限位支架中,软包模组电芯堆叠在电芯下压板上,所述软包模组电芯的顶板放置电芯上压板。When in use, the cell lower pressure plate is placed in the limit bracket, the soft package module cells are stacked on the cell lower pressure plate, and the top plate of the soft package module cell is placed on the cell upper pressure plate.
所述压板整体呈平底U型,所述压板的后端板与安装在手动单轴上、两侧板的底部水平能够与电芯上压板接触配合进行压紧。The pressing plate is in the shape of a flat-bottomed U as a whole, and the rear end plate of the pressing plate is installed on a manual uniaxial, and the bottoms of the two side plates are horizontally capable of contacting and cooperating with the upper pressing plate of the cell for pressing.
所述电芯下压板和电芯上压板之间设有保压工装。A pressure maintaining tool is arranged between the lower pressure plate of the battery cell and the upper pressure plate of the battery core.
有益效果beneficial effect
本实用新型在电芯模组的组装加工过程中集软包模组电芯的堆叠、压紧和极耳焊接于一体,适用于小批量电芯模组的组装加工,能够兼容多种配置的软包模组电芯,柔性高,兼容性强,有利于提高设备利用效率和降低设备成本。The utility model integrates the stacking, pressing and tab welding of the battery cores of the soft package module in the assembling and processing process of the battery core module, is suitable for the assembling and processing of the battery core modules in small batches, and can be compatible with various configurations of batteries. Soft-packed module cells have high flexibility and strong compatibility, which is conducive to improving equipment utilization efficiency and reducing equipment costs.
附图说明Description of drawings
图1为本实用新型的结构示意图。Figure 1 is a schematic structural diagram of the utility model.
具体实施方式Detailed ways
下面结合具体实施例,进一步阐述本实用新型。应理解,这些实施例仅用于说明本实用新型而不用于限制本实用新型的范围。此外应理解,在阅读了本实用新型讲授的内容之后,本领域技术人员可以对本实用新型作各种改动或修改,这些等价形式同样落于本申请所附权利要求书所限定的范围。The present utility model will be further described below in conjunction with specific embodiments. It should be understood that these embodiments are only used to illustrate the present invention and not to limit the scope of the present invention. In addition, it should be understood that after reading the content taught by the present invention, those skilled in the art can make various changes or modifications to the present invention, and these equivalent forms also fall within the scope defined by the appended claims of the present application.
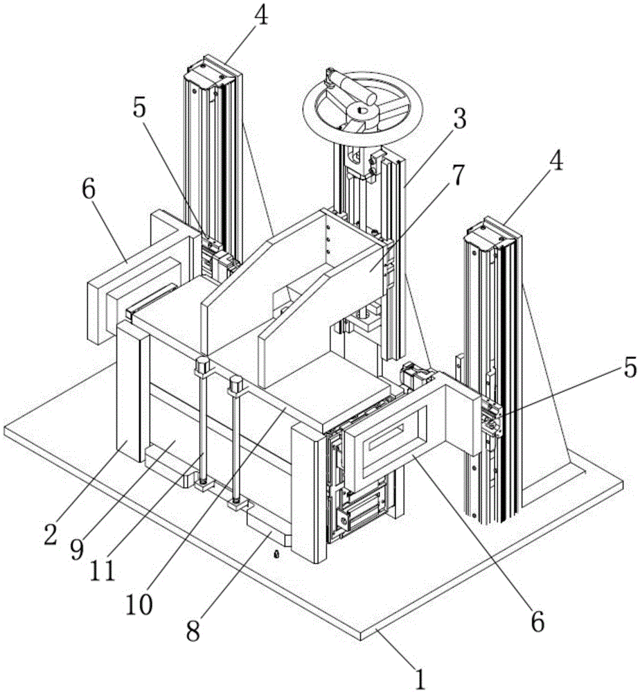
如图1所示的一种多功能软包模组电芯堆叠压紧焊接机构,包括底座1、限位支架2、手动单轴3、第一伺服单轴4、第二伺服单轴5、焊接铜嘴压板6和压板7。As shown in Figure 1, a multi-functional soft pack module cell stacking pressing welding mechanism includes a base 1, a limit bracket 2, a manual
限位支架2包括四根限位板,四根限位板矩阵式分布地固定在底座1上。手动单轴3竖直安装在底座1上,且位于限位支架2的后侧。手动单轴3包括安装基座、丝杆、滑轨和手动转盘。安装基座竖向固定在底座1上,丝杆沿竖向可转动地安装在安装基座上,丝杆的顶部与手动转盘连接,滑轨沿竖向安装在丝杆的两侧,压板7通过带螺纹孔的连接块与丝杆连接,并通过滑块与滑轨连接。The limit bracket 2 includes four limit plates, and the four limit plates are fixed on the base 1 in a matrix distribution. The manual
压板7后端安装在手动单轴3上,并能够通过手动单轴3驱动升降。压板7整体呈平底U型,压板7的后端板与安装在手动单轴3上,两侧板的前部为压紧部,压紧部位于限位支架2的正上方,压紧部的底部水平。The rear end of the
底座1上位于限位支架2的两侧分别沿竖向安装第一伺服单轴4,第二伺服单轴5沿水平方向安装在第一伺服单轴4上,并能够通过第一伺服单轴4驱动升降。焊接铜嘴压板6安装在第二伺服单轴5上,并能够通过第二伺服单轴6驱动沿水平方向滑移,焊接铜嘴压板6与限位支架2的侧面相对应。The base 1 is located on both sides of the limit bracket 2 to install the first servo
该多功能软包模组电芯堆叠压紧焊接机构的工作原理为:电芯下压板8放置在底座1上且位于限位支架2中,人工将软包模组电芯9放置到限位支架2中的电芯下压板8上进行堆叠;放置需要数量的软包模组电芯9后,在软包模组电芯9上放置电芯上压板10;人工转动手动单轴3的手动转盘使压板7下降,压板7与电芯上压板10接触配合进行压紧;挤压电芯堆叠总成至规定尺寸后,人工安装软包模组电芯9的极耳支架;通过第一伺服单轴4和第二伺服单轴5带动焊接铜嘴压板6运动并压紧一软包模组电芯9的极耳,机器人携带激光焊接头通过焊接铜嘴压板6进行焊接,将软包模组电芯9的极耳焊接到极耳支架上;依次焊接各软包模组电芯9的极耳后,机器人复位,人工使用保压工装11将电芯下压板8和电芯上压板10连接对电芯堆叠总成进行保压;手动单轴3复位,取出带保压工装11的电芯堆叠总成进入下一道工序。The working principle of the multi-functional pouch module cell stacking pressing welding mechanism is as follows: the cell lower
Claims (6)
Priority Applications (1)
| Application Number | Priority Date | Filing Date | Title |
|---|---|---|---|
| CN201922197181.2U CN211320214U (en) | 2019-12-10 | 2019-12-10 | Multifunctional soft pack module cell stacking pressing welding mechanism |
Applications Claiming Priority (1)
| Application Number | Priority Date | Filing Date | Title |
|---|---|---|---|
| CN201922197181.2U CN211320214U (en) | 2019-12-10 | 2019-12-10 | Multifunctional soft pack module cell stacking pressing welding mechanism |
Publications (1)
| Publication Number | Publication Date |
|---|---|
| CN211320214U true CN211320214U (en) | 2020-08-21 |
Family
ID=72055696
Family Applications (1)
| Application Number | Title | Priority Date | Filing Date |
|---|---|---|---|
| CN201922197181.2U Expired - Fee Related CN211320214U (en) | 2019-12-10 | 2019-12-10 | Multifunctional soft pack module cell stacking pressing welding mechanism |
Country Status (1)
| Country | Link |
|---|---|
| CN (1) | CN211320214U (en) |
Cited By (1)
| Publication number | Priority date | Publication date | Assignee | Title |
|---|---|---|---|---|
| CN110957497A (en) * | 2019-12-10 | 2020-04-03 | 上海君屹工业自动化股份有限公司 | Multifunctional soft pack module cell stacking pressing welding mechanism |
-
2019
- 2019-12-10 CN CN201922197181.2U patent/CN211320214U/en not_active Expired - Fee Related
Cited By (1)
| Publication number | Priority date | Publication date | Assignee | Title |
|---|---|---|---|---|
| CN110957497A (en) * | 2019-12-10 | 2020-04-03 | 上海君屹工业自动化股份有限公司 | Multifunctional soft pack module cell stacking pressing welding mechanism |
Similar Documents
| Publication | Publication Date | Title |
|---|---|---|
| CN209492737U (en) | Lithium battery laminator | |
| CN200998746Y (en) | An automatic bending machine for battery tabs | |
| CN110957497A (en) | Multifunctional soft pack module cell stacking pressing welding mechanism | |
| CN109573158A (en) | Lithium battery laminator | |
| CN201316884Y (en) | Clamping device used in ultrasonic bonder during welding process of power battery | |
| CN214418014U (en) | Soft packet of lithium battery tab reverse welding set | |
| CN211320214U (en) | Multifunctional soft pack module cell stacking pressing welding mechanism | |
| CN211088385U (en) | Pole plate lug aligning device for welding lead storage battery pole group | |
| CN211438660U (en) | Rotary Soft Package Module Tab Welding Fixture | |
| CN210182517U (en) | Battery overturning and distance-changing mechanism for soft package lithium battery production line | |
| CN217035715U (en) | Battery cell flattening and material scraping equipment | |
| CN218396682U (en) | Frock clamp is used in welding of lithium cell multilayer foil utmost point ear | |
| CN219009287U (en) | Novel power battery stacks up equipment | |
| CN203245554U (en) | Energy storage power station module battery assembly jig | |
| CN207548039U (en) | Automatic turning device | |
| CN206194901U (en) | A lithium battery assembly casing machine device | |
| CN212625622U (en) | Bag sealer closing device is used in photovoltaic module production | |
| CN223079164U (en) | Battery module stacking mechanism | |
| CN221658339U (en) | Battery cell welding equipment | |
| CN218664298U (en) | Power battery blowing positioning device | |
| CN221821208U (en) | Battery cell unit longitudinal stacking and transport device | |
| CN223280137U (en) | A defective battery cell transfer mechanism | |
| CN223552570U (en) | Lamination device | |
| CN220797022U (en) | Shaping tool for pole lugs of polymer soft-package battery | |
| CN113161620A (en) | Battery cover cap assembling machine |
Legal Events
| Date | Code | Title | Description |
|---|---|---|---|
| GR01 | Patent grant | ||
| GR01 | Patent grant | ||
| CF01 | Termination of patent right due to non-payment of annual fee |
Granted publication date: 20200821 |
|
| CF01 | Termination of patent right due to non-payment of annual fee |
