CN211310488U - A villa elevator buffer device - Google Patents
A villa elevator buffer device Download PDFInfo
- Publication number
- CN211310488U CN211310488U CN201922139155.4U CN201922139155U CN211310488U CN 211310488 U CN211310488 U CN 211310488U CN 201922139155 U CN201922139155 U CN 201922139155U CN 211310488 U CN211310488 U CN 211310488U
- Authority
- CN
- China
- Prior art keywords
- buffer
- fixed
- rod
- plate
- sliding rod
- Prior art date
- Legal status (The legal status is an assumption and is not a legal conclusion. Google has not performed a legal analysis and makes no representation as to the accuracy of the status listed.)
- Expired - Fee Related
Links
- 238000009434 installation Methods 0.000 claims abstract description 14
- 230000003014 reinforcing effect Effects 0.000 claims description 9
- 230000003139 buffering effect Effects 0.000 abstract description 12
- 230000005484 gravity Effects 0.000 description 2
- 239000000126 substance Substances 0.000 description 2
- 230000009286 beneficial effect Effects 0.000 description 1
- 230000007812 deficiency Effects 0.000 description 1
- 238000010586 diagram Methods 0.000 description 1
- 239000000463 material Substances 0.000 description 1
- 238000000034 method Methods 0.000 description 1
- 238000012986 modification Methods 0.000 description 1
- 230000004048 modification Effects 0.000 description 1
- 230000035939 shock Effects 0.000 description 1
Images
Landscapes
- Vibration Dampers (AREA)
Abstract
本实用新型公开了一种别墅电梯缓冲装置,包括底板,底板的上侧面固定有固定框,固定框的外壁上固定有若干绕底板中心线圆周均匀分布的固定杆,固定杆的内设有与固定框的内壁连通的滑槽,滑槽内插接有滑杆,滑杆与滑槽插接的一端与滑槽的底面之间设有第一缓冲弹簧,滑杆的另一端铰接有缓冲杆,底板的上方设有第一缓冲板,每根缓冲杆远离滑杆的一端均与第一缓冲板铰接,底板的上侧面还固定有固定柱,固定柱的上侧面设有安装槽,安装槽内插接有支撑杆,支撑杆与安装槽的底面之间设有第二缓冲弹簧,支撑杆延伸出缓冲板的一端固定有第二缓冲板。本实用新型能够通过第一缓冲板和第二缓冲板的配合对电梯轿厢掉落使起到很好的缓冲作用。
The utility model discloses a buffer device for a villa elevator, which comprises a bottom plate, a fixed frame is fixed on the upper side of the bottom plate, a plurality of fixed rods uniformly distributed around the circumference of the center line of the bottom plate are fixed on the outer wall of the fixed frame, and the inner wall of the fixed rod is provided with A chute connected to the inner wall of the fixed frame, a sliding rod is inserted into the chute, a first buffer spring is provided between one end of the sliding rod and the bottom surface of the chute and the other end of the sliding rod is hinged with a buffer rod There is a first buffer plate above the bottom plate, the end of each buffer rod away from the sliding rod is hinged with the first buffer plate, the upper side of the bottom plate is also fixed with a fixed column, the upper side of the fixed column is provided with a mounting groove, the mounting groove A support rod is inserted inside, a second buffer spring is arranged between the support rod and the bottom surface of the installation groove, and the end of the support rod extending out of the buffer plate is fixed with a second buffer plate. The utility model can play a good buffering effect on the falling of the elevator car through the cooperation of the first buffer plate and the second buffer plate.
Description
技术领域technical field
本实用新型属于电梯领域,更具体的说涉及一种别墅电梯缓冲装置。The utility model belongs to the field of elevators, and more particularly relates to a buffer device for a villa elevator.
背景技术Background technique
电梯是指服务于建筑物内若干特定的楼层,其轿厢运行在至少两列垂直于水平面或与铅垂线倾斜角小于15°的刚性轨道运动的永久运输设备,服务于规定楼层的固定式升降设备。Elevator refers to a permanent transportation device that serves several specific floors in a building, and its car runs on at least two rows of rigid rails perpendicular to the horizontal plane or with an inclination angle of less than 15° to the plumb line. Lifting equipment.
在一些极端情况下,轿厢本体可能会发生急速下落的险情,待轿厢本体急速下落到井道底部时,由于轿厢底端缺少能够实现缓冲效果的减震机构,位于轿厢内的人员会由于巨大的冲击力会而受到不同程度的伤害,产生的下坠力不能得到及时的分散,严重时会导致死亡。In some extreme cases, the car body may be in danger of falling rapidly. When the car body rapidly falls to the bottom of the hoistway, due to the lack of a shock absorbing mechanism at the bottom of the car that can achieve a buffering effect, the personnel in the car will Due to the huge impact force, it will be injured to varying degrees, and the resulting falling force cannot be dispersed in time, which may lead to death in severe cases.
实用新型内容Utility model content
针对现有技术的不足,本实用新型提供了一种能够对轿厢掉落时起到缓冲作用的别墅电梯缓冲装置。Aiming at the deficiencies of the prior art, the utility model provides a buffer device for a villa elevator that can buffer when the car is dropped.
为实现上述目的,本实用新型提供了如下技术方案:一种别墅电梯缓冲装置,包括底板,所述底板的上侧面固定有固定框,所述固定框的外壁上固定有若干绕底板中心线圆周均匀分布的固定杆,所述固定杆的内设有与固定框的内壁连通的滑槽,所述滑槽内插接有滑杆,所述滑杆与滑槽插接的一端与滑槽的底面之间设有第一缓冲弹簧,所述滑杆的另一端铰接有缓冲杆,所述底板的上方设有第一缓冲板,每根所述缓冲杆远离滑杆的一端均与第一缓冲板铰接。In order to achieve the above purpose, the utility model provides the following technical solutions: a buffer device for a villa elevator, comprising a bottom plate, a fixed frame is fixed on the upper side of the bottom plate, and a plurality of circumferences around the center line of the bottom plate are fixed on the outer wall of the fixed frame. The fixed rods are evenly distributed. The fixed rod is provided with a chute that communicates with the inner wall of the fixed frame. A first buffer spring is arranged between the bottom surfaces, the other end of the sliding rod is hinged with a buffer rod, a first buffer plate is arranged above the bottom plate, and one end of each of the buffer rods away from the sliding rod is connected to the first buffer rod. Plate hinged.
通过采用上述技术方案,当轿厢掉落到第一缓冲板上给予第一缓冲板压力,第一缓冲板受到压力向下移动,通过缓冲杆带动滑杆向滑槽内移动,第一缓冲弹簧受到滑杆的作用力压缩,从而能够达到缓冲的作用;由于第一缓冲弹簧设置在滑槽内,从而避免外界的物质掉落到第一缓冲弹簧内部而导致第一缓冲弹簧的失效。By adopting the above technical solution, when the car falls on the first buffer plate and gives pressure to the first buffer plate, the first buffer plate moves downward under the pressure, and the buffer rod drives the sliding rod to move into the chute, and the first buffer spring It is compressed by the force of the sliding rod, so as to achieve the function of buffering; because the first buffer spring is arranged in the chute, it can avoid the failure of the first buffer spring caused by the fall of external substances into the inside of the first buffer spring.
进一步地,所述底板的上侧面还固定有固定柱,所述固定柱的上侧面设有开口向上的安装槽,所述安装槽内插接有支撑杆,所述支撑杆延伸进安装槽的一端与安装槽的底面之间设有第二缓冲弹簧,所述支撑杆远离第二缓冲弹簧的一端延伸出缓冲板。Further, the upper side of the bottom plate is also fixed with a fixing column, the upper side of the fixing column is provided with an installation slot with an upward opening, and a support rod is inserted into the installation slot, and the support rod extends into the installation groove. A second buffer spring is arranged between one end and the bottom surface of the installation groove, and one end of the support rod away from the second buffer spring extends out of the buffer plate.
通过采用上述技术方案,当轿厢掉落时先接触到支撑杆,支撑杆受力向下移动挤压第二缓冲弹簧,先缓冲掉一部分轿厢的压力,轿厢继续向下移动接触到第一缓冲板,轿厢带动第一缓冲板向下移动,此时第一缓冲弹簧和第二缓冲弹簧共同对轿厢起到缓冲作用,缓冲的效果较好。By adopting the above technical solution, when the car falls, it first contacts the support rod, and the support rod moves downward to squeeze the second buffer spring, first buffering a part of the pressure of the car, and the car continues to move downward to contact the first buffer spring. A buffer plate is provided, and the car drives the first buffer plate to move downward. At this time, the first buffer spring and the second buffer spring jointly play a buffering effect on the car, and the buffering effect is good.
进一步地,所述支撑杆延伸出缓冲板的一端固定有第二缓冲板。Further, a second buffer plate is fixed at one end of the support rod extending out of the buffer plate.
通过采用上述技术方案,第二缓冲板能够增加支撑杆与轿厢的接触面积,使轿厢掉落时更加的平稳。By adopting the above technical solution, the second buffer plate can increase the contact area between the support rod and the car, so that the car is more stable when it falls.
进一步地,所述固定柱和底板之间设有若干加强筋,所述加强筋绕固定柱的轴线圆周均匀分布。Further, a plurality of reinforcing ribs are arranged between the fixed column and the bottom plate, and the reinforcing ribs are evenly distributed around the axis and circumference of the fixed column.
通过采用上述技术方案,加强筋能够增加固定柱与底板之间的连接强度。By adopting the above technical solution, the reinforcing rib can increase the connection strength between the fixed column and the bottom plate.
进一步地,所述滑杆的上侧面设有沿滑杆长度延伸的定位槽,所述定位槽的底面设有若干沿定位槽长度方向依次排列的定位台阶,所述定位台阶的高度自固定框中心向固定框外侧方向依次增加,所述固定杆上穿设有一端延伸进定位槽的定位杆。Further, the upper side of the sliding rod is provided with a positioning groove extending along the length of the sliding rod, the bottom surface of the positioning groove is provided with a number of positioning steps arranged in sequence along the length of the positioning groove, and the height of the positioning steps is determined from the fixing frame. The center increases in sequence toward the outside of the fixing frame, and the fixing rod is provided with a positioning rod with one end extending into the positioning groove.
通过采用上述技术方案,当第一缓冲板受压向下移动时带动滑杆向滑槽内移动,此时定位杆由于受到重力原因其下端移动到高度较低的定位台阶上,当轿厢掉落到最低点时,此时定位杆的下端移动到高度最低的定位台阶上,接着滑杆受到第一缓冲弹簧的回弹力往滑槽外移动,最低的定位台阶能够限制滑杆向外移动的距离,从而避免轿厢因为第一缓冲弹簧的回弹力将轿厢向上弹起而造成轿厢内的人员不适。By adopting the above technical solution, when the first buffer plate is pressed to move downward, the sliding rod is driven to move into the chute. At this time, the lower end of the positioning rod moves to the positioning step with a lower height due to gravity. When it falls to the lowest point, the lower end of the positioning rod moves to the positioning step with the lowest height, and then the sliding rod is moved out of the chute by the rebound force of the first buffer spring, and the lowest positioning step can restrict the sliding rod from moving outward. distance, so as to prevent the car from bouncing upwards due to the rebound force of the first buffer spring and causing discomfort to the personnel in the car.
进一步地,所述第一缓冲板的上方设有第一弹性层。Further, a first elastic layer is provided above the first buffer plate.
进一步地,所述固定柱的上端设有第二弹性层。Further, the upper end of the fixing column is provided with a second elastic layer.
综上所述,本实用新型的有益效果:1、当轿厢掉落时先接触到第二缓冲板,第二缓冲板受力向下移动,通过支撑杆挤压第二缓冲弹簧,第二缓冲弹簧先起到缓冲作用,轿厢继续向下移动直到第二缓冲板接触到第一缓冲板,轿厢带动第二缓冲板和第一缓冲板向下移动,第二缓冲板通过缓冲杆带动滑杆向滑槽内移动,第一缓冲弹簧受到滑杆的作用力压缩,此时第一缓冲弹簧和第二缓冲弹簧共同对轿厢起到缓冲作用,缓冲的效果较好;2、第一缓冲弹簧设置在滑槽内,从而避免外界的物质掉落到第一缓冲弹簧内部而导致第一缓冲弹簧的失效。To sum up, the beneficial effects of the present utility model are as follows: 1. When the car falls, it first contacts the second buffer plate, the second buffer plate is forced to move downward, and the second buffer spring is squeezed by the support rod, and the second buffer plate is forced to move downward. The buffer spring plays a buffering role first, and the car continues to move downward until the second buffer plate contacts the first buffer plate. The car drives the second buffer plate and the first buffer plate to move downward, and the second buffer plate is driven by the buffer rod. The sliding rod moves into the chute, and the first buffer spring is compressed by the force of the sliding rod. At this time, the first buffer spring and the second buffer spring together play a buffering effect on the car, and the buffering effect is better; 2. The first buffer spring The buffer spring is arranged in the chute, so as to prevent external substances from falling into the inside of the first buffer spring and causing the failure of the first buffer spring.
附图说明Description of drawings
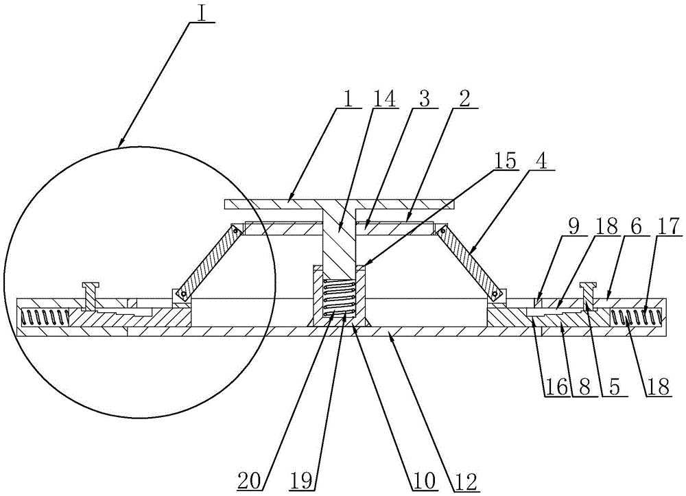
图1为本实用新型一种别墅电梯缓冲装置的立体结构示意图;Fig. 1 is the three-dimensional structure schematic diagram of a kind of villa elevator buffer device of the present utility model;
图2为图1的正视图;Fig. 2 is the front view of Fig. 1;
图3为图1中A-A处的截面图;Figure 3 is a cross-sectional view at A-A in Figure 1;
图4为图3中I处的局部放大图。FIG. 4 is a partial enlarged view of I in FIG. 3 .
附图标记:1、第二缓冲板;2、第一弹性层;3、第一缓冲板;4、缓冲杆;5、定位杆;6、固定杆;7、定位槽;8、滑杆;9、固定框;10、固定柱;11、加强筋;12、底板;14、支撑杆;15、第二弹性层;16、定位台阶;17、第一缓冲弹簧;18、滑槽;19、第二缓冲弹簧;20、安装槽。Reference numerals: 1, the second buffer plate; 2, the first elastic layer; 3, the first buffer plate; 4, the buffer rod; 5, the positioning rod; 6, the fixed rod; 7, the positioning groove; 8, the sliding rod; 9. Fixed frame; 10. Fixed column; 11. Reinforcing rib; 12. Bottom plate; 14. Support rod; 15. Second elastic layer; 16. Positioning step; 17. First buffer spring; 18. Chute; 19. The second buffer spring; 20, the installation groove.
具体实施方式Detailed ways
参照图1至图4对本实用新型一种别墅电梯缓冲装置的实施例做进一步说明。Referring to Fig. 1 to Fig. 4, the embodiments of a villa elevator buffer device of the present invention will be further described.
如图1和图4所示,一种别墅电梯缓冲装置,包括底板12,底板12的上侧面固定有固定框9,固定框9的外壁上固定有若干绕底板12中心线圆周均匀分布的固定杆6,固定杆6优选设置有四根,每根固定杆6的内设有与固定框9的内壁连通的滑槽18,滑槽18内插接有滑杆8,滑杆8与滑槽18插接的一端与滑槽18的底面之间设有第一缓冲弹簧17,滑杆8的另一端延伸进固定框9的内壁铰接有缓冲杆4,底板12的上方设有第一缓冲板3,每根缓冲杆4远离滑杆8的一端均与第一缓冲板3的外壁铰接。As shown in Figures 1 and 4, a villa elevator buffer device includes a
如图3所示,底板12的上侧面还固定有固定柱10,固定柱10的上侧面设有开口向上的安装槽20,安装槽20内插接有支撑杆14,支撑杆14延伸进安装槽20的一端与安装槽20的底面之间设有第二缓冲弹簧19,支撑杆14远离第二缓冲弹簧19的一端延伸出缓冲板,支撑杆14延伸出缓冲板的一端固定有第二缓冲板1,支撑杆14还能起到限制第一缓冲板3的作用。As shown in FIG. 3 , a
如图1所示,为了增加固定柱10和底板12之间的连接强度,固定柱10和底板12之间设有若干加强筋11,加强筋11的截面为三角形,加强筋11绕固定柱10的轴线圆周均匀分布。As shown in FIG. 1 , in order to increase the connection strength between the fixed
如图4所示,滑杆8的上侧面设有沿滑杆8长度延伸的定位槽7,定位槽7的底面设有若干沿定位槽7长度方向依次排列的定位台阶16,定位台阶16的高度自固定框9中心向固定框9外侧方向(图4中B方向)依次增加,固定杆6上穿设有一端延伸进定位槽7的定位杆5,固定杆6的下端与定位台阶16抵接,当第一缓冲板3受压向下移动时带动滑杆8向滑槽18内移动,此时定位杆5由于受到重力原因其下端移动到高度较低的定位台阶16上,当轿厢掉落到最低点时,此时定位杆5的下端移动到高度最低的定位台阶16上,接着滑杆8受到第一缓冲弹簧17的回弹力往滑槽18外移动,最低的定位台阶16能够限制滑杆8向外移动的距离,从而避免轿厢因为第一缓冲弹簧17的回弹力将轿厢向上弹起而造成轿厢内的人员不适。As shown in FIG. 4 , the upper side of the sliding
如图3所示,第一缓冲板3的上方设有第一弹性层2,第一弹性层2能在第二缓冲板1和第一缓冲板3接触时起到缓冲作用,固定柱10的上端设有第二弹性层15,第一弹性层2和第二弹性层15的材料均设置为橡胶。As shown in FIG. 3 , a first
工作原理:当轿厢掉落时先接触到第二缓冲板1,第二缓冲板1受力向下移动,通过支撑杆14挤压第二缓冲弹簧19,第二缓冲弹簧19先起到缓冲作用,轿厢继续向下移动直到第二缓冲板1接触到第一缓冲板3,轿厢带动第二缓冲板1和第一缓冲板3向下移动,第二缓冲板1通过缓冲杆4带动滑杆8向滑槽18内移动,第一缓冲弹簧17受到滑杆8的作用力压缩,此时第一缓冲弹簧17和第二缓冲弹簧19共同对轿厢起到缓冲作用,缓冲的效果较好。Working principle: when the car falls, it first contacts the
以上所述仅是本实用新型的优选实施方式,本实用新型的保护范围并不仅局限于上述实施例,凡属于本实用新型思路下的技术方案均属于本实用新型的保护范围。应当指出,对于本技术领域的普通技术人员来说,在不脱离本实用新型原理前提下的若干改进和润饰,这些改进和润饰也应视为本实用新型的保护范围。The above are only the preferred embodiments of the present invention, and the protection scope of the present invention is not limited to the above-mentioned embodiments, and all technical solutions that belong to the idea of the present invention belong to the protection scope of the present invention. It should be pointed out that for those skilled in the art, some improvements and modifications without departing from the principle of the present invention should also be regarded as the protection scope of the present invention.
Claims (7)
Priority Applications (1)
| Application Number | Priority Date | Filing Date | Title |
|---|---|---|---|
| CN201922139155.4U CN211310488U (en) | 2019-12-03 | 2019-12-03 | A villa elevator buffer device |
Applications Claiming Priority (1)
| Application Number | Priority Date | Filing Date | Title |
|---|---|---|---|
| CN201922139155.4U CN211310488U (en) | 2019-12-03 | 2019-12-03 | A villa elevator buffer device |
Publications (1)
| Publication Number | Publication Date |
|---|---|
| CN211310488U true CN211310488U (en) | 2020-08-21 |
Family
ID=72065607
Family Applications (1)
| Application Number | Title | Priority Date | Filing Date |
|---|---|---|---|
| CN201922139155.4U Expired - Fee Related CN211310488U (en) | 2019-12-03 | 2019-12-03 | A villa elevator buffer device |
Country Status (1)
| Country | Link |
|---|---|
| CN (1) | CN211310488U (en) |
Cited By (1)
| Publication number | Priority date | Publication date | Assignee | Title |
|---|---|---|---|---|
| CN116424981A (en) * | 2023-02-22 | 2023-07-14 | 浙江埃克森电梯有限公司 | A wire rope home elevator |
-
2019
- 2019-12-03 CN CN201922139155.4U patent/CN211310488U/en not_active Expired - Fee Related
Cited By (1)
| Publication number | Priority date | Publication date | Assignee | Title |
|---|---|---|---|---|
| CN116424981A (en) * | 2023-02-22 | 2023-07-14 | 浙江埃克森电梯有限公司 | A wire rope home elevator |
Similar Documents
| Publication | Publication Date | Title |
|---|---|---|
| CN210710221U (en) | A new type of elevator buffer | |
| CN211310488U (en) | A villa elevator buffer device | |
| CN210567043U (en) | Construction machinery supporting device | |
| CN207061569U (en) | Elevator buffer device | |
| CN206720518U (en) | A kind of used during elevator falling Double damping buffer unit | |
| CN214302978U (en) | Building engineering safety protection net | |
| CN216691992U (en) | Building site elevator is used in construction with shock-absorbing function | |
| CN208732546U (en) | A kind of aerial work platform bottom plate with shock-absorbing function | |
| CN218806658U (en) | Unmanned aerial vehicle prevents falling structure for aerial photogrammetry | |
| CN110464328A (en) | Calibration device for microcirculation blood flow velocimeter | |
| CN213536236U (en) | Stable form vibration dish bottom cylinder vibrating structure | |
| CN209554575U (en) | Elevator buffer device | |
| CN209740451U (en) | damping device for elevator | |
| CN211313325U (en) | Attached lifting scaffold with anti-falling function | |
| CN220449456U (en) | Elevator anti-falling device | |
| CN211691390U (en) | Safety devices for curtain wall installation in high-rise buildings | |
| CN217498343U (en) | Safety-guaranteed anti-falling mechanism for elevator maintenance | |
| CN216836690U (en) | Elevator car bottom structure | |
| CN220578655U (en) | Supporting device for elevator construction | |
| CN222042276U (en) | Pit supporting device | |
| CN220467237U (en) | An elevator internal anti-sudden fall protection device | |
| CN112551321B (en) | Buffer gear of construction elevator | |
| CN218293028U (en) | A kind of anti-wind and anti-seismic angle steel tower | |
| CN217972120U (en) | Cage for construction elevator with safety protection function | |
| CN114772411B (en) | A high-safety intelligent elevator |
Legal Events
| Date | Code | Title | Description |
|---|---|---|---|
| GR01 | Patent grant | ||
| GR01 | Patent grant | ||
| CF01 | Termination of patent right due to non-payment of annual fee | ||
| CF01 | Termination of patent right due to non-payment of annual fee |
Granted publication date: 20200821 |
