CN211297360U - An electrical automation safety cabinet - Google Patents
An electrical automation safety cabinet Download PDFInfo
- Publication number
- CN211297360U CN211297360U CN202020281135.0U CN202020281135U CN211297360U CN 211297360 U CN211297360 U CN 211297360U CN 202020281135 U CN202020281135 U CN 202020281135U CN 211297360 U CN211297360 U CN 211297360U
- Authority
- CN
- China
- Prior art keywords
- safety cabinet
- main body
- connecting rod
- electrical automation
- pressure plate
- Prior art date
- Legal status (The legal status is an assumption and is not a legal conclusion. Google has not performed a legal analysis and makes no representation as to the accuracy of the status listed.)
- Expired - Fee Related
Links
- 230000007246 mechanism Effects 0.000 claims abstract description 19
- 239000000428 dust Substances 0.000 claims description 7
- 238000009423 ventilation Methods 0.000 claims description 3
- 230000017525 heat dissipation Effects 0.000 description 6
- 238000001816 cooling Methods 0.000 description 4
- 230000000694 effects Effects 0.000 description 3
- 239000010960 cold rolled steel Substances 0.000 description 2
- 238000010586 diagram Methods 0.000 description 2
- 238000000034 method Methods 0.000 description 2
- 229910000831 Steel Inorganic materials 0.000 description 1
- 238000009825 accumulation Methods 0.000 description 1
- 230000009286 beneficial effect Effects 0.000 description 1
- 230000007547 defect Effects 0.000 description 1
- 230000007613 environmental effect Effects 0.000 description 1
- 238000004519 manufacturing process Methods 0.000 description 1
- 239000000463 material Substances 0.000 description 1
- 230000004048 modification Effects 0.000 description 1
- 238000012986 modification Methods 0.000 description 1
- 238000012544 monitoring process Methods 0.000 description 1
- 239000010959 steel Substances 0.000 description 1
Images
Landscapes
- Patch Boards (AREA)
Abstract
本实用新型公开了一种电气自动化安全柜,包括安全柜主体,还包括夹紧机构,安全柜主体侧壁设置有多个夹紧机构,且通过两侧的夹紧机构和元器件固定板连接,夹紧机构包括连接螺栓和T形连接杆及连接弹簧以及连接压板,连接螺栓和安全柜主体侧壁旋合连接,连接螺栓底部和连接压板外侧贴合,连接压板外侧对称连接有T形连接杆,且连接压板另一侧和元器件固定板贴合连接,安全柜主体开设有T形连接杆插设的收纳槽,T形连接杆通过连接弹簧和收纳槽连接;难以安装的元器件或者难以对元器件之间的连接走线时,将元器件固定板选择性的安全柜主体两侧壁的夹紧装置连接,以此增加电气自动化安全柜的通用性。
The utility model discloses an electrical automation safety cabinet, which comprises a safety cabinet main body and a clamping mechanism. The side wall of the safety cabinet main body is provided with a plurality of clamping mechanisms, which are connected with the component fixing plates through the clamping mechanisms on both sides. , The clamping mechanism includes connecting bolts, T-shaped connecting rods, connecting springs, and connecting pressure plates. The connecting bolts are screwed and connected to the side wall of the main body of the safety cabinet. The bottom of the connecting bolts are attached to the outside of the connecting pressure plate. The outside of the connecting pressure plate is symmetrically connected with a T-shaped connection. The other side of the connecting pressure plate is attached to the component fixing plate, and the main body of the safety cabinet is provided with a storage slot in which the T-shaped connecting rod is inserted, and the T-shaped connecting rod is connected with the storage slot through the connecting spring; When it is difficult to route the connection between components, connect the clamping devices on the two side walls of the safety cabinet body of the component fixing plate selectively, so as to increase the versatility of the electrical automation safety cabinet.
Description
技术领域technical field
本实用新型涉及电气安全柜技术领域,尤其涉及一种电气自动化安全柜。The utility model relates to the technical field of electrical safety cabinets, in particular to an electrical automation safety cabinet.
背景技术Background technique
电气安全柜,顾名思义,是用来保护元器件正常工作的柜子,一般为长方体结构,电气安全柜一般由热轧钢板或冷轧钢板制成,相比较而言,冷轧钢板相对热轧钢板更材质柔软,更适合电气柜的制作,电气柜用途广泛,在日常生活中较为常见,主要用于机械行业,环保行业,电力系统,冶金工业、消防安全监控等领域。Electrical safety cabinets, as the name suggests, are cabinets used to protect components from working properly, generally in a cuboid structure. Electrical safety cabinets are generally made of hot-rolled steel or cold-rolled steel. In comparison, cold-rolled steel is more The material is soft and more suitable for the production of electrical cabinets. Electrical cabinets are widely used and common in daily life. They are mainly used in the machinery industry, environmental protection industry, power system, metallurgical industry, fire safety monitoring and other fields.
现有电气自动化安全柜由于结构的固定导致元器件固定板的固定,对一些元器件的固定和对元器件之间的连接走线时的限制较大,这样会导致电气自动化安全柜的通用性降低,现有电气自动化安全柜体散热效果不佳,由于元器件长时间工作产生的热量难以及时散发出去,内部热量集聚不仅容易造成内部零件损坏和降低了内部零件的使用寿命,还容易造成内部着火,安全性能不佳。Due to the fixed structure of the existing electrical automation safety cabinet, the component fixing plate is fixed, and there are great restrictions on the fixing of some components and the connection between components, which will lead to the versatility of the electrical automation safety cabinet. Reduced, the existing electrical automation safety cabinet has poor heat dissipation effect, because the heat generated by the components working for a long time is difficult to dissipate in time, and the accumulation of internal heat not only easily causes damage to internal parts and reduces the service life of internal parts, but also easily causes internal Fire, poor safety performance.
实用新型内容Utility model content
本实用新型的目的是为了解决现有技术中存在通用性较低和散热效果较差的缺陷,而提出的一种电气自动化安全柜。The purpose of the utility model is to solve the defects of low versatility and poor heat dissipation effect in the prior art, and proposes an electrical automation safety cabinet.
为了实现上述目的,本实用新型采用了如下技术方案:一种电气自动化安全柜,包括安全柜主体,还包括夹紧机构,所述安全柜主体两侧对称设置有多个挡雨板,所述安全柜主体外侧通过连接铰链和安全柜柜门转动连接,所述安全柜主体底部和动力驱动室固定连接,所述安全柜主体侧壁设置有多个夹紧机构,且通过两侧的夹紧机构和元器件固定板连接,所述夹紧机构包括连接螺栓和T形连接杆及连接弹簧以及连接压板,所述连接螺栓和安全柜主体侧壁旋合连接,所述连接螺栓底部和连接压板外侧贴合,所述连接压板外侧对称连接有T形连接杆,且连接压板另一侧和元器件固定板贴合连接,所述安全柜主体开设有T形连接杆插设的收纳槽,所述T形连接杆通过连接弹簧和收纳槽连接,所述安全柜主体外侧设置有防尘罩,所述安全柜主体内部转动连接有转动连接杆,所述转动连接杆的外侧和第一连接带轮连接,所述转动连接杆的端部和多片散热叶片连接,所述安全柜主体底部和动力驱动室连接,所述动力驱动室内部和驱动电机固定连接,所述动力驱动室输出轴端部和第二连接带轮连接,所述第二连接带轮通过连接皮带和第一连接带轮传动连接。In order to achieve the above purpose, the present utility model adopts the following technical solutions: an electrical automation safety cabinet, comprising a safety cabinet body and a clamping mechanism, and a plurality of rain shields are symmetrically arranged on both sides of the safety cabinet body. The outer side of the main body of the safety cabinet is rotatably connected to the door of the safety cabinet through a connecting hinge, the bottom of the main body of the safety cabinet is fixedly connected to the power drive room, and the side wall of the main body of the safety cabinet is provided with a plurality of clamping mechanisms, and the clamping mechanisms on both sides are provided. The mechanism is connected to the component fixing plate. The clamping mechanism includes a connecting bolt, a T-shaped connecting rod, a connecting spring and a connecting pressure plate. The connecting bolt is screwed and connected to the side wall of the main body of the safety cabinet. The bottom of the connecting bolt is connected to the connecting pressure plate. The outer side is attached, the outer side of the connecting pressure plate is symmetrically connected with a T-shaped connecting rod, and the other side of the connecting pressure plate is attached and connected with the component fixing plate. The T-shaped connecting rod is connected to the receiving slot by a connecting spring, the outer side of the safety cabinet body is provided with a dust cover, the inside of the safety cabinet body is rotatably connected with a rotating connecting rod, and the outer side of the rotating connecting rod is connected to the first connecting belt. wheel connection, the end of the rotating connecting rod is connected with a plurality of heat dissipation blades, the bottom of the safety cabinet body is connected with the power drive chamber, the interior of the power drive chamber is fixedly connected with the drive motor, and the output shaft end of the power drive chamber The second connecting pulley is connected with the first connecting pulley through the connecting belt.
进一步地,所述安全柜主体开设有和连接螺栓旋合的螺纹孔。Further, the main body of the safety cabinet is provided with threaded holes which are screwed with the connecting bolts.
进一步地,所述连接弹簧一端和收纳槽连接,另一端和T形连接杆连接。Further, one end of the connecting spring is connected with the receiving groove, and the other end is connected with the T-shaped connecting rod.
进一步地,所述安全柜主体和防尘罩连接的侧壁设置有透气通孔。Further, the side wall connecting the safety cabinet body and the dust cover is provided with ventilation through holes.
进一步地,所述动力驱动室顶部设置有供连接皮带贯穿的通孔。Further, the top of the power drive chamber is provided with a through hole for the connecting belt to pass through.
相比于现有技术,本实用新型的有益效果在于:Compared with the prior art, the beneficial effects of the present utility model are:
1、难以安装的元器件或者难以对元器件之间的连接走线时,将元器件固定板选择性的安全柜主体两侧壁的夹紧装置连接,再对元器件进行安装和元器件之间的连接走线,以此增加电气自动化安全柜的通用性,通过驱动电机驱动散热叶片的对元器件进行散热,以此降低电气自动化安全柜内部的热量,降低了使用风险。1. When it is difficult to install components or it is difficult to route the connection between components, connect the clamping devices on the two side walls of the safety cabinet body of the component fixing plate selectively, and then install the components and connect the components. To increase the versatility of the electrical automation safety cabinet, the components are dissipated by driving the motor to drive the cooling blades, thereby reducing the heat inside the electrical automation safety cabinet and reducing the risk of use.
附图说明Description of drawings
附图用来提供对本实用新型的进一步理解,并且构成说明书的一部分,与本实用新型的实施例一起用于解释本实用新型,并不构成对本实用新型的限制。The accompanying drawings are used to provide a further understanding of the present invention, and constitute a part of the specification, and are used to explain the present invention together with the embodiments of the present invention, and do not constitute a limitation to the present invention.
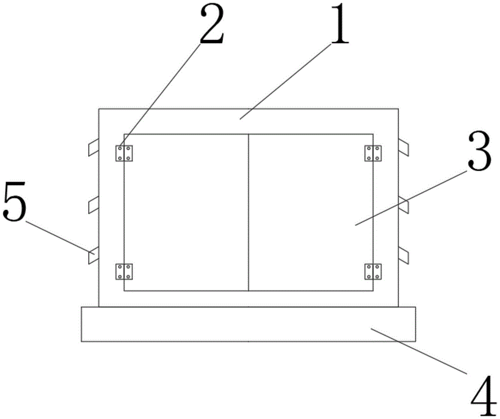
图1为本实用新型提出的一种电气自动化安全柜的整体结构示意图;Fig. 1 is the overall structure schematic diagram of a kind of electrical automation safety cabinet proposed by the utility model;
图2为本实用新型提出的一种电气自动化安全柜的正面剖视图;Fig. 2 is the front sectional view of a kind of electrical automation safety cabinet proposed by the utility model;
图3为本实用新型提出的一种电气自动化安全柜的侧面剖视图;Fig. 3 is the side sectional view of a kind of electrical automation safety cabinet proposed by the utility model;
图4为本实用新型提出的一种电气自动化安全柜的元器件固定板和连接压板的连接示意图。4 is a schematic diagram of the connection between the component fixing plate and the connecting pressure plate of an electrical automation safety cabinet proposed by the utility model.
图中:1、安全柜主体;2、连接铰链;3、安全柜柜门;4、动力驱动室;5、挡雨板;6、元器件固定板;7、散热叶片;8、转动连接杆;9、第一连接带轮;10、连接皮带;11、驱动电机;12、第二连接带轮;13、防尘罩;14、连接螺栓;15、T形连接杆;16、连接弹簧;17、连接压板。In the figure: 1. Main body of safety cabinet; 2. Connecting hinge; 3. Safety cabinet door; 4. Power drive room; 5. Weather shield; 6. Component fixing plate; 7. Heat dissipation blade; 9. The first connecting pulley; 10. The connecting belt; 11. The drive motor; 12. The second connecting pulley; 13. The dust cover; 14. The connecting bolt; 15. The T-shaped connecting rod; 16. The connecting spring; 17. Connect the pressure plate.
具体实施方式Detailed ways
下面将结合本实用新型实施例中的附图,对本实用新型实施例中的技术方案进行清楚、完整地描述,显然,所描述的实施例仅仅是本实用新型一部分实施例,而不是全部的实施例。The technical solutions in the embodiments of the present utility model will be clearly and completely described below with reference to the accompanying drawings in the embodiments of the present utility model. Obviously, the described embodiments are only a part of the embodiments of the present utility model, rather than all the implementations. example.
在本实用新型的描述中,需要理解的是,术语“上”、“下”、“前”、“后”、“左”、“右”、“顶”、“底”、“内”、“外”等指示的方位或位置关系为基于附图所示的方位或位置关系,仅是为了便于描述本实用新型和简化描述,而不是指示或暗示所指的装置或元件必须具有特定的方位、以特定的方位构造和操作,因此不能理解为对本实用新型的限制。In the description of the present invention, it should be understood that the terms "upper", "lower", "front", "rear", "left", "right", "top", "bottom", "inside", The orientation or positional relationship indicated by "outside" is based on the orientation or positional relationship shown in the accompanying drawings, which is only for the convenience of describing the present invention and simplifying the description, rather than indicating or implying that the indicated device or element must have a specific orientation , are constructed and operated in a specific orientation, and therefore should not be construed as a limitation of the present invention.
请参阅图1-图4,本实用新型提供一种技术方案:一种电气自动化安全柜,包括安全柜主体1,还包括夹紧机构,安全柜主体1两侧通过螺钉对称连接有多个挡雨板5,安全柜主体1外侧通过连接铰链2和安全柜柜门3转动连接,安全柜主体1底部和动力驱动室4焊接,安全柜主体1侧壁设置有多个夹紧机构,且通过两侧的夹紧机构和元器件固定板6连接,夹紧机构包括连接螺栓14和T形连接杆15及连接弹簧16以及连接压板17,连接螺栓14和安全柜主体1侧壁旋合连接,连接螺栓14底部和连接压板17外侧贴合,连接压板17外侧对称焊接有T形连接杆15,且连接压板17另一侧和元器件固定板6贴合连接,安全柜主体1开设有T形连接杆15插设的收纳槽,T形连接杆15通过连接弹簧16和收纳槽连接,安全柜主体1外侧通过螺钉连接有防尘罩13,安全柜主体1内部转动连接有转动连接杆8,转动连接杆8的外侧和第一连接带轮9过盈配合,转动连接杆8的端部和多片散热叶片7焊接,动力驱动室4内部通过螺栓和驱动电机11固定连接,动力驱动室4输出轴端部和第二连接带轮12过盈配合,第二连接带轮12通过连接皮带10和第一连接带轮9传动连接。Please refer to FIG. 1-FIG. 4, the present utility model provides a technical solution: an electrical automation safety cabinet, including a
进一步地,安全柜主体1开设有和连接螺栓14旋合的螺纹孔。Further, the
进一步地,连接弹簧16一端和收纳槽焊接,另一端和T形连接杆15焊接。Further, one end of the connecting
进一步地,安全柜主体1和防尘罩13连接的侧壁设置有透气通孔。Further, the side wall connecting the
进一步地,动力驱动室4顶部设置有供连接皮带10贯穿的通孔。Further, the top of the
进一步地,驱动电机11型号可选用YS7124。Further, the model of the
本实用新型的工作原理及使用流程:此种电气自动化安全柜需要安装使用时,先将安全柜柜门3转动打开,再将元器件固定板6两端通过夹紧机构固定在安全柜主体1的内壁,这里,根据需要选择性的将元器件固定板6进行固定,此处,夹紧机构工作方式为,旋紧连接螺栓14,连接螺栓14的端部将贴合连接压板17,使得连接压板17往靠近元器件固定板6端部移动,直至紧密贴合元器件固定板6,实现对元器件固定板6的固定,连接压板17移动时同时带动T形连接杆15移动,此时,连接弹簧16处于压缩状态,将元器件固定板6固定好后,再将元器件进行安装固定和对元器件之间的连接走线,打开驱动电机11,带动驱动电机11输出轴端部的第二连接带轮12转动,第二连接带轮12再通过连接皮带10将动力传至第一连接带轮9,第一连接带轮9带动转动连接杆8和散热叶片7转动,散热叶片7产生的风力对工作时的元器件进行散热,且安全柜主体1侧面的散热孔也将提升散热效果。The working principle and use process of the utility model: when this kind of electrical automation safety cabinet needs to be installed and used, the
以上所述,仅为本实用新型较佳的具体实施方式,但本实用新型的保护范围并不局限于此,任何熟悉本技术领域的技术人员在本实用新型揭露的技术范围内,根据本实用新型的技术方案及其实用新型构思加以等同替换或改变,都应涵盖在本实用新型的保护范围之内。The above description is only a preferred embodiment of the present invention, but the protection scope of the present invention is not limited to this. Equivalent replacement or modification of the new technical solution and its utility model concept shall be included within the protection scope of the present utility model.
Claims (5)
Priority Applications (1)
| Application Number | Priority Date | Filing Date | Title |
|---|---|---|---|
| CN202020281135.0U CN211297360U (en) | 2020-03-09 | 2020-03-09 | An electrical automation safety cabinet |
Applications Claiming Priority (1)
| Application Number | Priority Date | Filing Date | Title |
|---|---|---|---|
| CN202020281135.0U CN211297360U (en) | 2020-03-09 | 2020-03-09 | An electrical automation safety cabinet |
Publications (1)
| Publication Number | Publication Date |
|---|---|
| CN211297360U true CN211297360U (en) | 2020-08-18 |
Family
ID=72016140
Family Applications (1)
| Application Number | Title | Priority Date | Filing Date |
|---|---|---|---|
| CN202020281135.0U Expired - Fee Related CN211297360U (en) | 2020-03-09 | 2020-03-09 | An electrical automation safety cabinet |
Country Status (1)
| Country | Link |
|---|---|
| CN (1) | CN211297360U (en) |
-
2020
- 2020-03-09 CN CN202020281135.0U patent/CN211297360U/en not_active Expired - Fee Related
Similar Documents
| Publication | Publication Date | Title |
|---|---|---|
| CN110783824A (en) | Moisture-proof electrical cabinet | |
| CN210042566U (en) | Electric power encryption communication equipment protection device convenient to dismantle | |
| CN211297360U (en) | An electrical automation safety cabinet | |
| CN216560721U (en) | Multifunctional electricity stealing prevention metering box | |
| CN218070610U (en) | Control cabinet for power grid power control system | |
| CN223206687U (en) | Multilayer protection mechanism of mining flameproof high-voltage vacuum power distribution device | |
| WO2021087939A1 (en) | Drive controller mounting structure | |
| CN213028761U (en) | Intelligent high frequency switching power supply of computer | |
| CN217283861U (en) | Electrical cabinet capable of effectively reducing energy consumption | |
| CN220325394U (en) | An explosion-proof linear motor | |
| CN219078794U (en) | Car safety intelligent monitoring mechanism for lifter | |
| CN214044408U (en) | Automatic protection device of electric power system | |
| CN222052866U (en) | Photovoltaic inverter installation box | |
| CN220689417U (en) | Air source heat pump with heat radiation structure | |
| CN215762313U (en) | A high-pressure fan with an air volume variable frequency control system | |
| CN220709276U (en) | Electricity consumption monitoring box | |
| CN217848662U (en) | Damp-proof heat dissipation protection type distribution equipment | |
| CN220173540U (en) | Electrical cabinet with dustproof function | |
| CN220326054U (en) | Electrical cabinet | |
| CN216959058U (en) | High-strength electrical cabinet instrument shell | |
| CN221447897U (en) | High-voltage power transmission box | |
| CN213818564U (en) | Automatic start-stop control device with protection structure for gas-steam combined cycle unit | |
| CN221006570U (en) | Protection device for vibration swing degree monitor of water motor unit | |
| CN222531539U (en) | A frequency converter protection device | |
| CN220586618U (en) | Surge pulse protection device |
Legal Events
| Date | Code | Title | Description |
|---|---|---|---|
| GR01 | Patent grant | ||
| GR01 | Patent grant | ||
| CF01 | Termination of patent right due to non-payment of annual fee | ||
| CF01 | Termination of patent right due to non-payment of annual fee |
Granted publication date: 20200818 |
