CN211275649U - A disinfection and cleaning device for acupuncture silver needles - Google Patents
A disinfection and cleaning device for acupuncture silver needles Download PDFInfo
- Publication number
- CN211275649U CN211275649U CN201921993471.1U CN201921993471U CN211275649U CN 211275649 U CN211275649 U CN 211275649U CN 201921993471 U CN201921993471 U CN 201921993471U CN 211275649 U CN211275649 U CN 211275649U
- Authority
- CN
- China
- Prior art keywords
- cleaning box
- cleaning
- rotating rod
- disinfection
- silver
- Prior art date
- Legal status (The legal status is an assumption and is not a legal conclusion. Google has not performed a legal analysis and makes no representation as to the accuracy of the status listed.)
- Expired - Fee Related
Links
- 238000004140 cleaning Methods 0.000 title claims abstract description 79
- BQCADISMDOOEFD-UHFFFAOYSA-N Silver Chemical compound [Ag] BQCADISMDOOEFD-UHFFFAOYSA-N 0.000 title claims abstract description 60
- 238000004659 sterilization and disinfection Methods 0.000 title claims abstract description 17
- 238000001467 acupuncture Methods 0.000 title claims abstract description 15
- 229910052709 silver Inorganic materials 0.000 claims abstract description 42
- 239000004332 silver Substances 0.000 claims abstract description 42
- XLYOFNOQVPJJNP-UHFFFAOYSA-N water Substances O XLYOFNOQVPJJNP-UHFFFAOYSA-N 0.000 claims abstract description 30
- 230000005540 biological transmission Effects 0.000 claims abstract description 29
- 239000007921 spray Substances 0.000 claims abstract description 18
- 230000001680 brushing effect Effects 0.000 claims abstract description 5
- 239000007788 liquid Substances 0.000 description 5
- 201000010099 disease Diseases 0.000 description 4
- 208000037265 diseases, disorders, signs and symptoms Diseases 0.000 description 4
- 238000000034 method Methods 0.000 description 4
- 230000000694 effects Effects 0.000 description 3
- 238000003745 diagnosis Methods 0.000 description 2
- 238000010586 diagram Methods 0.000 description 2
- 230000009286 beneficial effect Effects 0.000 description 1
- 239000008280 blood Substances 0.000 description 1
- 210000004369 blood Anatomy 0.000 description 1
- 230000007812 deficiency Effects 0.000 description 1
- 230000006806 disease prevention Effects 0.000 description 1
- 239000003814 drug Substances 0.000 description 1
- 238000005516 engineering process Methods 0.000 description 1
- 238000004880 explosion Methods 0.000 description 1
- 238000011017 operating method Methods 0.000 description 1
- 210000000056 organ Anatomy 0.000 description 1
- 230000001954 sterilising effect Effects 0.000 description 1
- 230000009885 systemic effect Effects 0.000 description 1
- 210000001835 viscera Anatomy 0.000 description 1
Images
Landscapes
- Brushes (AREA)
Abstract
本实用新型公开了一种针灸银针用消毒清洗装置,包括清洗箱,清洗箱内固定安装有支撑块,支撑块的上表面开设有凹槽,且凹槽的内侧表面均开设有卡槽,卡槽内装配有可以移动取出的银针存放装置,清洗箱的装配有可以转动的摩刷装置,且清洗箱的内腔上表面装配有喷淋水管,且喷淋水管连接有进水管,使用时,将银针存放装置取出,然后将银针放入锥形槽内,将银针存放装置通过卡块卡接在卡槽内,在进水管内注入消毒清洗液,消毒清洗液从喷淋水管中喷出,对银针进行消毒润湿,最后启动驱动电机,驱动电机带动第一转动杆转动,在传动轮和传动带的作用下会带动第二传动杆转动,第一传动杆和第二传动杆带动细毛刷转动,从而对银针进行刷洗。
The utility model discloses a disinfection and cleaning device for acupuncture silver needles, which comprises a cleaning box, a support block is fixedly installed in the cleaning box, a groove is formed on the upper surface of the support block, and the inner surface of the groove is provided with a clamping groove. The card slot is equipped with a silver needle storage device that can be moved out, the cleaning box is equipped with a rotatable brush device, and the upper surface of the inner cavity of the cleaning box is equipped with a spray water pipe, and the spray water pipe is connected with a water inlet pipe. The silver needle storage device is taken out, then the silver needle is put into the conical groove, the silver needle storage device is clamped in the card groove through the card block, and the disinfection and cleaning solution is injected into the water inlet pipe, and the disinfection and cleaning solution is sprayed from the spray. It is sprayed from the water pipe to disinfect and moisten the silver needle. Finally, the driving motor is started, and the driving motor drives the first rotating rod to rotate. Under the action of the transmission wheel and the transmission belt, it will drive the second transmission rod to rotate. The transmission rod drives the fine-bristle brush to rotate, thereby brushing the silver needle.
Description
技术领域technical field
本实用新型涉及针灸银针清洗技术领域,具体为一种针灸银针用消毒清洗装置。The utility model relates to the technical field of acupuncture silver needle cleaning, in particular to a disinfection and cleaning device for acupuncture silver needles.
背景技术Background technique
针灸是一种中国特有的治疗疾病的手段。它是一种“内病外治”的医术,是通过经络、腧穴的传导作用,以及应用一定的操作法,来治疗全身疾病的。在临床上按中医的诊疗方法诊断出病因,找出关键,辨别性质,明确病变属于哪一经脉,哪一脏腑,辨明它是属于表里、寒热、虚实中那一类型,做出诊断,然后进行相应的配穴处方进行治疗,以通经脉,调气血,使阴阳归于相对平衡,脏腑功能趋于调和,从而达到防疾病的目的,针灸在使用过后需要对其进行消毒清洗,方便下次使用,以往的银针清洗装置清洗效果较差,无法做到全面清洁刷洗,且不方便将银针防止到清洗腔内。Acupuncture is a unique Chinese method of treating diseases. It is a medical technique of "external treatment of internal diseases". It is used to treat systemic diseases through the conduction of meridians and acupoints and the application of certain operating methods. Clinically, according to the diagnosis and treatment methods of traditional Chinese medicine, the cause is diagnosed, the key is identified, the nature is identified, which meridian and which viscera the disease belongs to, and whether it belongs to the type of external and internal, cold and heat, deficiency and excess, make a diagnosis, and then Carry out the corresponding acupoint prescription for treatment, in order to open the meridians, regulate qi and blood, make yin and yang return to relative balance, and the functions of the zang-fu organs tend to be in harmony, so as to achieve the purpose of disease prevention. After acupuncture is used, it needs to be disinfected and cleaned to facilitate the next time However, the previous silver needle cleaning device has poor cleaning effect, cannot achieve comprehensive cleaning and brushing, and is inconvenient to prevent the silver needle from entering the cleaning cavity.
实用新型内容Utility model content
本实用新型的目的在于提供一种针灸银针用消毒清洗装置,以解决上述背景技术中提出的问题。The purpose of this utility model is to provide a disinfection and cleaning device for silver needles of acupuncture and moxibustion, so as to solve the problems raised in the above-mentioned background technology.
为实现上述目的,本实用新型提供如下技术方案:一种针灸银针用消毒清洗装置,包括清洗箱,所述清洗箱的下表面装配有支撑柱,所述清洗箱的上表面开设有开口,所述清洗箱的下表面装配有出水管,清洗箱内固定安装有支撑块,所述支撑块的上表面开设有凹槽,且凹槽的内侧表面均开设有卡槽,所述卡槽内装配有可以移动取出的银针存放装置,所述清洗箱的装配有可以转动的摩刷装置,且清洗箱的内腔上表面装配有喷淋水管,所述喷淋水管位于银针存放装置的上方,且喷淋水管贯穿清洗箱的左表面连接有进水管。In order to achieve the above purpose, the present utility model provides the following technical solutions: a disinfection and cleaning device for acupuncture silver needles, comprising a cleaning box, the lower surface of the cleaning box is equipped with a support column, and the upper surface of the cleaning box is provided with an opening, The lower surface of the cleaning box is equipped with a water outlet pipe, and a support block is fixedly installed in the cleaning box. The upper surface of the support block is provided with a groove, and the inner surface of the groove is provided with a clamping groove. It is equipped with a silver needle storage device that can be moved out, the cleaning box is equipped with a rotatable brush device, and the upper surface of the inner cavity of the cleaning box is equipped with a spray water pipe, and the spray water pipe is located in the silver needle storage device. Above, and the spray water pipe runs through the left surface of the cleaning box and is connected with a water inlet pipe.
优选的,所述银针存放装置包括固定块,所述固定块的上表面开设有锥形槽,所述锥形槽内装配有银针,所述固定块的下表面装配有卡块,所述卡块卡接装配在卡槽内。Preferably, the silver needle storage device includes a fixing block, the upper surface of the fixing block is provided with a conical groove, the silver needle is assembled in the conical groove, and the lower surface of the fixing block is equipped with a clamping block, so The card block is snap-fitted in the card slot.
优选的,所述摩刷装置包括第一转动杆和第二转动杆,所述第一转动杆和第二转动杆均通过嵌入装配在清洗箱内侧表面的轴承装配在清洗箱的内,且第一转动杆和第二第二转动杆的外表均装配有细毛刷,所述细毛刷与银针贴合。Preferably, the brushing device includes a first rotating rod and a second rotating rod, both of the first rotating rod and the second rotating rod are assembled in the cleaning box through a bearing embedded in the inner surface of the cleaning box, and the first rotating rod and the second rotating rod The outer surfaces of the first rotating rod and the second rotating rod are equipped with fine-bristle brushes, and the thin-bristle brushes are attached to the silver needles.
优选的,所述第一转动杆的右表面装配有驱动电机,所述驱动电机通过支撑板装配在清洗箱的右表面,所述第一转动杆和第二转动杆的外表面均固定装配有传动轮,两个所述传动轮之间装配有传动带。Preferably, a drive motor is mounted on the right surface of the first rotating rod, the driving motor is mounted on the right surface of the cleaning box through a support plate, and the outer surfaces of the first rotating rod and the second rotating rod are fixedly equipped with A transmission wheel, and a transmission belt is assembled between the two transmission wheels.
优选的,所述清洗箱的开口处转动安装有盖板,所述盖板的外侧表面和开口的内侧表面贴合,且盖板的上表面固定安装有把手。Preferably, a cover plate is rotatably installed at the opening of the cleaning box, the outer surface of the cover plate is attached to the inner surface of the opening, and a handle is fixedly installed on the upper surface of the cover plate.
优选的,所述支撑块与清洗箱的内腔下表面之间的距离至少为厘米。Preferably, the distance between the support block and the lower surface of the inner cavity of the cleaning box is at least centimeters.
与现有技术相比,本实用新型的有益效果是:本实用新型设置有摩刷装置和支撑块,通过将摩刷装置中的第一传送杆和第二转动杆分别装配在支撑块的前后两侧,可以对银针进行彻底的刷洗,使清洗效果更佳,本实用新型设置有银针存放装置,通过在支撑块的凹槽内侧表面开设卡槽,利用银针存放装置中的卡块卡接至卡槽内,方便将银针存放到银针存放装置内,在清洗过后,也便于将银针从清洗箱内取出,使操作更加便捷。Compared with the prior art, the beneficial effect of the present utility model is: the utility model is provided with a rubbing brush device and a support block, and the first transmission rod and the second rotating rod in the rubbing brush device are respectively assembled on the front and rear of the supporting block. On both sides, the silver needles can be thoroughly brushed, so that the cleaning effect is better. The utility model is provided with a silver needle storage device. The card is connected to the card slot, which is convenient to store the silver needle in the silver needle storage device, and after cleaning, it is also convenient to take out the silver needle from the cleaning box, which makes the operation more convenient.
附图说明Description of drawings
图1为本实用新型结构示意图。Figure 1 is a schematic structural diagram of the utility model.
图2为本实用新型爆炸结构示意图。Figure 2 is a schematic diagram of the explosion structure of the present utility model.
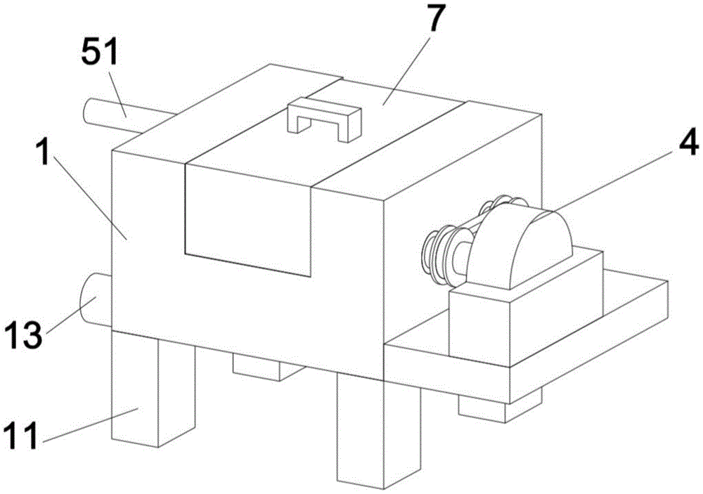
图中:1、清洗箱,11、支撑柱,12、开口,13、出水管,2、支撑块, 21、凹槽,22、卡槽,3、银针存放装置,31、固定块,32、锥形槽,33、银针,34、卡块,4、摩刷装置,41、第一转动杆,42、第二转动杆,43、轴承, 44、细毛刷,45、驱动电机,46、支撑板,5、喷淋水管,51、进水管,6、传动轮,61、传动带,7、盖板,71、把手。In the figure: 1. Cleaning box, 11, support column, 12, opening, 13, water outlet pipe, 2, support block, 21, groove, 22, card slot, 3, silver needle storage device, 31, fixing block, 32 , Conical groove, 33, Silver needle, 34, Block, 4, Brush device, 41, First rotating rod, 42, Second rotating rod, 43, Bearing, 44, Fine brush, 45, Drive motor, 46 , Support plate, 5, spray water pipe, 51, water inlet pipe, 6, transmission wheel, 61, transmission belt, 7, cover plate, 71, handle.
具体实施方式Detailed ways
下面将结合本实用新型实施例中的附图,对本实用新型实施例中的技术方案进行清楚、完整地描述,显然,所描述的实施例仅仅是本实用新型一部分实施例,而不是全部的实施例。基于本实用新型中的实施例,本领域普通技术人员在没有做出创造性劳动前提下所获得的所有其他实施例,都属于本实用新型保护的范围。The technical solutions in the embodiments of the present utility model will be clearly and completely described below with reference to the accompanying drawings in the embodiments of the present utility model. Obviously, the described embodiments are only a part of the embodiments of the present utility model, rather than all the implementations. example. Based on the embodiments of the present invention, all other embodiments obtained by those of ordinary skill in the art without creative work fall within the protection scope of the present invention.
请参阅图1-图2,本实用新型提供一种技术方案:一种针灸银针用消毒清洗装置,包括清洗箱1,清洗箱1的下表面装配有支撑柱11,清洗箱1的上表面开设有开口12,清洗箱1的下表面装配有出水管13,清洗箱1内固定安装有支撑块2,支撑块2的上表面开设有凹槽21,且凹槽21的内侧表面均开设有卡槽22,卡槽22内装配有可以移动取出的银针存放装置3,清洗箱1 的装配有可以转动的摩刷装置4,且清洗箱1的内腔上表面装配有喷淋水管5,喷淋管5的喷头均冲向银针所在方向,喷淋水管5位于银针存放装置3的上方,且喷淋水管5贯穿清洗箱1的左表面连接有进水管51,使用时,手提把手71将盖板7打开,将银针存放装置3向上提起取出,然后将需要清洗的银针33放入锥形槽32内,然后目视支撑块2中卡槽22的位置,将银针存放装置3通过卡块34卡接在卡槽22内,然后用盖板7将开口12处封闭,在进水管51内注入消毒清洗液,此时消毒清洗液会从喷淋水管5中喷出,对银针33 进行消毒润湿,最后启动驱动电机45,驱动电机45带动第一转动杆41转动,第一转动杆41在传动轮6和传动带61的作用下会带动第二传动杆42转动,同时第一传动杆41和第二传动杆42会带动外表面的细毛刷44转动,从而对银针33进行消毒清洗。Please refer to FIG. 1 to FIG. 2 , the present utility model provides a technical solution: a disinfection and cleaning device for acupuncture silver needles, comprising a
具体而言,银针存放装置3包括固定块31,固定块31的上表面开设有锥形槽32,锥形槽32内装配有银针33,固定块31的下表面装配有卡块34,卡块34卡接装配在卡槽22内,银针存放装置3通过卡块卡接装配在卡槽22内,在使用时,可以将银针存放装置3从清洗箱1内取出,方便将银针33插接在锥形槽32内,在清洗过后,也便于将银针33从清洗箱1内取出。Specifically, the silver needle storage device 3 includes a fixing block 31, the upper surface of the fixing block 31 is provided with a
具体而言,摩刷装置4包括第一转动杆41和第二转动杆42,第一转动杆 41和第二转动杆42均通过嵌入装配在清洗箱1内侧表面的轴承43装配在清洗箱1的内,且第一转动杆41和第二第二转动杆42的外表均装配有细毛刷 44,细毛刷44与银针33贴合,第一转动杆41和第二转动杆42分别装配在支撑块2的前后两侧,通过利用前后两侧的细毛刷44对银针33进行彻底的刷洗,使清洗效果更佳。Specifically, the
具体而言,第一转动杆41的右表面装配有驱动电机45,驱动电机45通过支撑板46装配在清洗箱1的右表面,第一转动杆41和第二转动杆42的外表面均固定装配有传动轮6,两个传动轮6之间装配有传动带61,通过驱动电机45带动第一转动杆41转动,第一转动杆41在传动轮6和传动带61的作用下会带动第二传动杆42转动,同时第一传动杆41和第二传动杆42会带动外表面的细毛刷44转动,从而对银针33进行消毒清洗,机械化清洗,节约人力,提高清洗效率。Specifically, a drive motor 45 is mounted on the right surface of the first rotating
具体而言,清洗箱1的开口12处转动安装有盖板7,盖板7的外侧表面和开口12的内侧表面贴合,且盖板7的上表面固定安装有把手71,通过装配盖板7,可以防止清洗时水流溅射到清洗箱1外部,影响周围的环境。Specifically, the
具体而言,支撑块2与清洗箱1的内腔下表面之间的距离至少为5厘米,防止清洗过后的液体被支撑块2所阻挡,防止两侧清洗后的液体不能及时从出水管13中流出。Specifically, the distance between the
工作原理:使用时,手提把手71将盖板7打开,将银针存放装置3向上提起取出,然后将需要清洗的银针33放入锥形槽32内,然后目视支撑块2 中卡槽22的位置,将银针存放装置3通过卡块34卡接在卡槽22内,然后用盖板7将开口12处封闭,在进水管51内注入消毒清洗液,此时消毒清洗液会从喷淋水管5中喷出,对银针33进行消毒润湿,最后启动驱动电机45,驱动电机45带动第一转动杆41转动,第一转动杆41在传动轮6和传动带61 的作用下会带动第二传动杆42转动,同时第一传动杆41和第二传动杆42会带动外表面的细毛刷44转动,从而对银针33进行消毒清洗,两侧清洗过后的液体,最后滴落到清洗箱1的内腔下表面,最终从出水管13流出。Working principle: when in use, the
对于本领域技术人员而言,显然本实用新型不限于上述示范性实施例的细节,而且在不背离本实用新型的精神或基本特征的情况下,能够以其他的具体形式实现本实用新型。因此,无论从哪一点来看,均应将实施例看作是示范性的,而且是非限制性的,本实用新型的范围由所附权利要求而不是上述说明限定,因此旨在将落在权利要求的等同要件的含义和范围内的所有变化囊括在本实用新型内。不应将权利要求中的任何附图标记视为限制所涉及的权利要求。It will be apparent to those skilled in the art that the present invention is not limited to the details of the above-described exemplary embodiments, and that the present invention may be implemented in other specific forms without departing from the spirit or essential characteristics of the present invention. Therefore, the embodiments are to be considered in all respects as exemplary and not restrictive, and the scope of the present invention is defined by the appended claims rather than the foregoing description, and it is therefore intended that the All changes within the meaning and range of the required equivalents are embraced within the present invention. Any reference signs in the claims shall not be construed as limiting the involved claim.
此外,应当理解,虽然本说明书按照实施方式加以描述,但并非每个实施方式仅包含一个独立的技术方案,说明书的这种叙述方式仅仅是为清楚起见,本领域技术人员应当将说明书作为一个整体,各实施例中的技术方案也可以经适当组合,形成本领域技术人员可以理解的其他实施方式。In addition, it should be understood that although this specification is described in terms of embodiments, not each embodiment only includes an independent technical solution, and this description in the specification is only for the sake of clarity, and those skilled in the art should take the specification as a whole , the technical solutions in each embodiment can also be appropriately combined to form other implementations that can be understood by those skilled in the art.
Claims (6)
Priority Applications (1)
| Application Number | Priority Date | Filing Date | Title |
|---|---|---|---|
| CN201921993471.1U CN211275649U (en) | 2019-11-19 | 2019-11-19 | A disinfection and cleaning device for acupuncture silver needles |
Applications Claiming Priority (1)
| Application Number | Priority Date | Filing Date | Title |
|---|---|---|---|
| CN201921993471.1U CN211275649U (en) | 2019-11-19 | 2019-11-19 | A disinfection and cleaning device for acupuncture silver needles |
Publications (1)
| Publication Number | Publication Date |
|---|---|
| CN211275649U true CN211275649U (en) | 2020-08-18 |
Family
ID=72033807
Family Applications (1)
| Application Number | Title | Priority Date | Filing Date |
|---|---|---|---|
| CN201921993471.1U Expired - Fee Related CN211275649U (en) | 2019-11-19 | 2019-11-19 | A disinfection and cleaning device for acupuncture silver needles |
Country Status (1)
| Country | Link |
|---|---|
| CN (1) | CN211275649U (en) |
Cited By (1)
| Publication number | Priority date | Publication date | Assignee | Title |
|---|---|---|---|---|
| CN119175236A (en) * | 2024-11-22 | 2024-12-24 | 沧州医学高等专科学校 | Auxiliary cleaning and sterilizing device for acupuncture |
-
2019
- 2019-11-19 CN CN201921993471.1U patent/CN211275649U/en not_active Expired - Fee Related
Cited By (1)
| Publication number | Priority date | Publication date | Assignee | Title |
|---|---|---|---|---|
| CN119175236A (en) * | 2024-11-22 | 2024-12-24 | 沧州医学高等专科学校 | Auxiliary cleaning and sterilizing device for acupuncture |
Similar Documents
| Publication | Publication Date | Title |
|---|---|---|
| CN206838623U (en) | A kind of medicine equipment circulation cleaning device | |
| CN107350242A (en) | A kind of cupping jar chlorination equipment | |
| CN108480303A (en) | A kind of cleaning device for medical instrument | |
| CN211275649U (en) | A disinfection and cleaning device for acupuncture silver needles | |
| CN211561092U (en) | Auxiliary device for acupuncture treatment of rehabilitation department | |
| CN206838621U (en) | A kind of Novel medical flusher | |
| CN221672756U (en) | Disinfection rack | |
| CN210933445U (en) | Internal medicine headache treatment device combining traditional Chinese medicine and western medicine | |
| CN107597755B (en) | A kind of cupping cleaning device | |
| CN217659495U (en) | Cleaning assembly and cleaning equipment | |
| CN215426298U (en) | Acupuncture and moxibustion disinfection device for TCM internal medicine that can be scrubbed | |
| CN206700383U (en) | A kind of gynecological nursing washer | |
| CN208770449U (en) | A kind of acupuncture chlorination equipment | |
| CN214128916U (en) | A medicated bath device for veterinary animal skin treatment | |
| CN114272105A (en) | Absorption-promoting nano water-spraying polisher | |
| CN217286113U (en) | A device for recovering used instruments in an operating room | |
| CN220877517U (en) | Foot antibacterial and disinfecting device | |
| CN221814964U (en) | Atomizer | |
| CN220901324U (en) | Medical disinfection tank convenient for cleaning inside | |
| CN221206506U (en) | A superficial skin debridement device | |
| CN213075948U (en) | A silver needle storage and storage device based on acupuncture and moxibustion rehabilitation | |
| CN221790296U (en) | Novel oral cavity is washing for medical instrument device | |
| CN215839478U (en) | Utensil strorage device for clinical anesthesia | |
| CN215536445U (en) | Novel treatment equipment for traditional Chinese medicine internal medicine | |
| CN112890980B (en) | Winding cleaning mechanism and coronary heart disease interventional therapy guide wire traction device |
Legal Events
| Date | Code | Title | Description |
|---|---|---|---|
| GR01 | Patent grant | ||
| GR01 | Patent grant | ||
| CF01 | Termination of patent right due to non-payment of annual fee |
Granted publication date: 20200818 |
|
| CF01 | Termination of patent right due to non-payment of annual fee |
