CN211242708U - An efficient and intelligent clothes drying rack - Google Patents
An efficient and intelligent clothes drying rack Download PDFInfo
- Publication number
- CN211242708U CN211242708U CN201921948827.XU CN201921948827U CN211242708U CN 211242708 U CN211242708 U CN 211242708U CN 201921948827 U CN201921948827 U CN 201921948827U CN 211242708 U CN211242708 U CN 211242708U
- Authority
- CN
- China
- Prior art keywords
- wardrobe
- rod
- groups
- metal
- rectangular
- Prior art date
- Legal status (The legal status is an assumption and is not a legal conclusion. Google has not performed a legal analysis and makes no representation as to the accuracy of the status listed.)
- Expired - Fee Related
Links
- 238000001035 drying Methods 0.000 title abstract description 20
- 239000002184 metal Substances 0.000 claims abstract description 29
- 230000000694 effects Effects 0.000 claims abstract description 4
- 239000007787 solid Substances 0.000 claims description 6
- 238000010586 diagram Methods 0.000 description 4
- 238000012986 modification Methods 0.000 description 3
- 230000004048 modification Effects 0.000 description 3
- 230000009286 beneficial effect Effects 0.000 description 2
- 238000005406 washing Methods 0.000 description 2
- 230000003203 everyday effect Effects 0.000 description 1
- 238000000034 method Methods 0.000 description 1
- XLYOFNOQVPJJNP-UHFFFAOYSA-N water Substances O XLYOFNOQVPJJNP-UHFFFAOYSA-N 0.000 description 1
Images
Landscapes
- Holders For Apparel And Elements Relating To Apparel (AREA)
Abstract
本实用新型涉及电动晾衣架领域,且公开了一种高效智能晾衣架,包括存衣柜,存衣柜为金属长方体空心柜,存衣柜的前端设置有柜门,柜门共有两组,两组柜门通过铰链分别与存衣柜的左右侧内壁活动连接,两组柜门的前端均固定连接有拉手,存衣柜的顶部固定连接有滑板,滑板为斜向下的长方形板,滑板共有两组,两组滑板的中间设置有活动门,存衣柜的四角垂直向上固定连接有支持架,支持架为长方形金属结构,支持架的上方固定安装有矩形框架,矩形架为长方形空心金属架,矩形框架的内部中心处固定连接有横杆;本实用新型中,通过对晾衣架的改进,使得晾衣架的肩膀处能够通过智能控制向下旋转,从而达到了在特定的时间自动收衣的效果。
The utility model relates to the field of electric clothes drying racks, and discloses an efficient and intelligent clothes drying rack, comprising a storage wardrobe, the storage wardrobe is a metal cuboid hollow cabinet, the front end of the storage wardrobe is provided with a cabinet door, the cabinet doors are divided into two groups, and the two groups of cabinet doors The hinges are respectively connected with the left and right inner walls of the storage cabinet. The front ends of the two sets of cabinet doors are fixedly connected with handles, and the top of the storage cabinet is fixedly connected with a sliding plate. There is a movable door in the middle of the skateboard, and the four corners of the storage closet are vertically connected with a support frame. The support frame is a rectangular metal structure. A rectangular frame is fixed above the support frame. The rectangular frame is a rectangular hollow metal frame. The inner center of the rectangular frame A cross bar is fixedly connected at the place; in the utility model, through the improvement of the clothes drying rack, the shoulder of the clothes drying rack can be rotated downward through intelligent control, thereby achieving the effect of automatically collecting clothes at a specific time.
Description
技术领域technical field
本实用新型涉及电动晾衣架领域,尤其涉及一种高效智能晾衣架。The utility model relates to the field of electric clothes drying racks, in particular to an efficient and intelligent clothes drying rack.
背景技术Background technique
晾衣架,作为人们每天使用的家居用品,如今已经成为许多家庭的生活必需品。“晾衣架”是中国一大特色产品,该行业形成至今已有十多年时间,从开创至今技术不断改进和变革。目前市场上已有的传统晾衣架在使用时,需要在太阳落山之前人工的将衣服收入室内,使用者有时会忘记收衣,使得晾晒在外界的衣物被露水打湿。为此,我们提出一种高效智能晾衣架。Clothes rack, as a household item that people use every day, has now become a necessities of life for many families. "Clothing rack" is a major characteristic product in China. The industry has been formed for more than ten years, and the technology has been continuously improved and changed since its inception. When the traditional clothes drying racks currently on the market are in use, the clothes need to be manually collected indoors before the sun sets, and users sometimes forget to put the clothes away, so that the clothes drying outside are wetted by dew. To this end, we propose an efficient and intelligent clothes drying rack.
实用新型内容Utility model content
本实用新型主要是解决上述现有技术所存在的技术问题,提供一种高效智能晾衣架。The utility model mainly solves the technical problems existing in the above-mentioned prior art, and provides an efficient and intelligent clothes drying rack.
为了实现上述目的,本实用新型采用了如下技术方案,一种高效智能晾衣架,包括存衣柜,所述存衣柜为金属长方体空心柜,所述存衣柜的前端设置有柜门,两组所述柜门的前端均固定安装有拉手;In order to achieve the above purpose, the utility model adopts the following technical solutions, an efficient and intelligent clothes drying rack, including a storage wardrobe, the storage wardrobe is a metal rectangular hollow cabinet, and the front end of the storage wardrobe is provided with a cabinet door. The front end of the cabinet door is fixedly installed with a handle;
所述存衣柜的顶部设置有滑板,所述滑板内部空心的矩形板,所述滑板共有两组,两组所述滑板的底部均固定安装有衣柜活动轴,所述滑板靠近存衣柜内部中心的一侧均设置有活动门,所述活动门由两组电滑动板构成,所述滑板的下表面设置有凹形槽,所述滑板的下方设置有电动伸缩杆,所述电动伸缩杆的顶端为T形结构,所述电动伸缩杆的顶端活动嵌套在凹形槽的内部;The top of the storage closet is provided with a sliding plate, the inner hollow rectangular plate of the sliding plate, there are two groups of the sliding plates, the bottom of the two groups of the sliding plates are fixedly installed with a wardrobe movable shaft, and the sliding plate is close to the inner center of the storage closet. One side is provided with a movable door, the movable door is composed of two sets of electric sliding plates, the lower surface of the sliding plate is provided with a concave groove, the lower part of the sliding plate is provided with an electric telescopic rod, the top of the electric telescopic rod It is a T-shaped structure, and the top of the electric telescopic rod is movably nested inside the concave groove;
所述存衣柜的四角垂直向上固定连接有支持架,所述支持架为长方形金属结构,所述支持架的上方固定安装有矩形框架,所述矩形框架为长方形空心金属架,所述矩形框架的内部中心处固定连接有横杆,所述横杆为金属空心长方体结构,所述横杆的表面固定安装有电磁转化器;The four corners of the storage closet are vertically connected with a support frame, the support frame is a rectangular metal structure, and a rectangular frame is fixedly installed above the support frame, and the rectangular frame is a rectangular hollow metal frame. A crossbar is fixedly connected at the inner center, the crossbar is a metal hollow cuboid structure, and an electromagnetic converter is fixedly installed on the surface of the crossbar;
所述横杆的下方设置有衣架,所述横杆的下表面固定安装有圆环,所述圆环为金属空心圆环,所述圆环的空心处设置有挂钩,所述挂钩为半圆形金属结构,所述挂钩的左下方固定连接有连接杆,所述连接杆的内部活动套接有移动杆,所述移动杆为圆柱体金属实心杆,所述移动杆的底部设置有转轴,所述移动杆的底部开设有圆孔,所述转轴活动套接在移动杆底部开设的圆孔内部,所述连接杆的固定连接有承重架,两组所述承重架的底部远离衣架内部中心的一侧都设置有衣架肩,所述衣架肩与承重架接触处均开设有孔,空内也都活动套接有转轴,两组所述衣架肩的底部设置有底架,两组所述底架均水平设置,两组所述底架的均与移动杆活动连接,两组所述底架与移动杆的底部接触处开设有孔,孔内活动套接有转轴。A coat hanger is arranged below the horizontal bar, a ring is fixedly installed on the lower surface of the horizontal bar, the ring is a metal hollow ring, and a hook is arranged at the hollow of the ring, and the hook is a semi-circle The bottom left of the hook is fixedly connected with a connecting rod, the inner part of the connecting rod is movably sleeved with a moving rod, the moving rod is a cylindrical metal solid rod, and the bottom of the moving rod is provided with a rotating shaft, The bottom of the moving rod is provided with a circular hole, the rotating shaft is movably sleeved inside the circular hole provided at the bottom of the moving rod, the connecting rod is fixedly connected with a load-bearing rack, and the bottoms of the two groups of the load-bearing racks are far away from the inner center of the hanger One side is provided with a hanger shoulder, the contact point between the hanger shoulder and the load-bearing frame is provided with a hole, and the hollow is also movably sleeved with a rotating shaft, the bottom of the two sets of hanger shoulders is provided with a bottom frame, The bottom frames are arranged horizontally, the two sets of the bottom frames are movably connected with the moving rods, and the bottoms of the two sets of the bottom frames and the moving rods are provided with holes, and a rotating shaft is movably sleeved in the holes.
优选地,所述柜门共有两组,两组所述柜门通过铰链分别与存衣柜的左右侧内壁活动连接。Preferably, there are two groups of the cabinet doors, and the two groups of the cabinet doors are respectively movably connected to the left and right inner walls of the storage cabinet through hinges.
优选地,所述衣柜活动轴为圆柱形实心金属管,所述存衣柜的前后侧内壁的左右端均横向固定安装有轴承,所述滑板底部设置的衣柜活动轴的两端外壁面均与轴承的内圆固定连接。Preferably, the wardrobe movable shaft is a cylindrical solid metal tube, the left and right ends of the front and rear inner walls of the storage cabinet are laterally fixedly installed with bearings, and the outer walls of the wardrobe movable shaft provided at the bottom of the slide plate are both connected with the bearings. The inner circle is fixedly connected.
优选地,所述电磁转化器共有四组,所述电磁转化器等距的设置在横杆的表面。Preferably, there are four groups of the electromagnetic converters, and the electromagnetic converters are arranged on the surface of the crossbar at equal distances.
优选地,所述横杆的上表面开设有圆孔,该圆孔贯穿横杆的内部。Preferably, the upper surface of the cross bar is provided with a circular hole, and the circular hole penetrates the interior of the cross bar.
优选地,所述电磁转化器的下方设置有伸缩杆,所述伸缩杆的底部固定安装有磁铁制成的圆板。Preferably, a telescopic rod is arranged below the electromagnetic converter, and a circular plate made of a magnet is fixedly mounted on the bottom of the telescopic rod.
优选地,所述连接杆为金属空心圆管,所述承重架共有两组,两组所述承重架均向远离衣架内部中心处的下方倾斜。Preferably, the connecting rod is a metal hollow circular tube, there are two groups of the load-bearing racks, and the two groups of the load-bearing racks are inclined downward away from the inner center of the clothes hanger.
优选地,所述移动杆设置在伸缩杆的正下方,所述移动杆贯穿连接杆的内部延伸至连接杆的下方。Preferably, the moving rod is disposed just below the telescopic rod, and the moving rod penetrates through the interior of the connecting rod and extends to the lower part of the connecting rod.
有益效果beneficial effect
本实用新型提供了一种高效智能晾衣架。具备以下有益效果:The utility model provides an efficient and intelligent clothes drying rack. Has the following beneficial effects:
(1)、该电动晾衣架,在使用时,将从洗衣机中洗好的衣物挂在衣架上,在通过衣架顶部设置的挂钩将衣物挂到设置有圆环的横杆的下方,此时移动杆正好处于所开设的圆孔的下方,圆孔的内部设置有磁铁制成的圆盘,移动杆的上表面正好抵在圆盘的下表面,待到达用户设置的时间时,电磁转化器控制伸缩杆向上移动,由于磁铁对移动杆的吸引作用,故移动杆也会向上移动,当移动杆向上移动时,移动杆底部设置的衣架肩和底架在转轴的作用下会向下旋转,挂在衣架上的衣服向下落入存衣柜内部,从而避免了衣物被外界露水打湿,达到了自动收衣的效果。(1) The electric clothes drying rack, when in use, hangs the clothes washed from the washing machine on the clothes rack, and hangs the clothes under the horizontal bar provided with the circular ring through the hook provided on the top of the clothes rack, and moves at this time. The rod is just below the opened circular hole, a disc made of magnets is arranged inside the circular hole, and the upper surface of the moving rod just touches the lower surface of the disc. When the time set by the user is reached, the electromagnetic converter controls The telescopic rod moves upward, and the moving rod also moves upward due to the attraction of the magnet to the moving rod. When the moving rod moves upward, the hanger shoulder and the bottom frame set at the bottom of the moving rod will rotate downward under the action of the rotating shaft. The clothes on the hangers fall down into the inside of the storage closet, thereby preventing the clothes from being wetted by external dew, and achieving the effect of automatic clothes collection.
(2)、该电动晾衣架,在进行衣物的晾晒之前,电动伸缩杆在控制器的作用下向上延长到一定高度,然后两组活动门从滑板内部的镂空部分斜向存衣柜内部中心的方向延伸,待俩组活动门接触后,延伸停止,在启动自动收衣功能之前,活动门启动自动收缩到滑板内部的镂空部分,随后电动伸缩杆在控制器的作用下向下移动带动滑板以衣柜活动轴为轴心向下旋转,待移动到与存衣柜前后侧内壁的夹角为四十五度时,停止旋转,待控制器检测到晾衣架上已无衣物时,重复晒衣之前的操作,如此设计使得存衣柜内部为密闭结构,既不会被晾衣时滴落的水滴打湿,也不会被外界的露水污染。(2) For the electric clothes drying rack, before the clothes are dried, the electric telescopic rod is extended up to a certain height under the action of the controller, and then two sets of movable doors are inclined from the hollow part inside the sliding plate to the direction of the inner center of the storage cabinet. Extend, after the two sets of movable doors are in contact, the extension stops. Before the automatic clothes collection function is activated, the movable door starts to automatically shrink to the hollow part inside the skateboard, and then the electric telescopic rod moves down under the action of the controller to drive the skateboard to close the wardrobe. The movable shaft rotates downward. When the angle between the front and rear inner walls of the storage closet is 45 degrees, the rotation is stopped. When the controller detects that there is no clothes on the drying rack, repeat the previous operation. , This design makes the inside of the storage cabinet a closed structure, which will neither be wetted by the water droplets that drip when drying clothes, nor will it be polluted by the dew from the outside.
附图说明Description of drawings
图1为本实用新型空间结构示意图;Fig. 1 is the spatial structure schematic diagram of the utility model;
图2为本实用新型衣架平面结构示意图;Fig. 2 is the plane structure schematic diagram of the clothes hanger of the present utility model;
图3为本实用新型滑板升起时立体结构示意图;3 is a schematic diagram of the three-dimensional structure of the utility model when the slide plate is lifted;
图4为本实用新型存衣柜平面结构示意图。FIG. 4 is a schematic diagram of the plane structure of the storage wardrobe of the present invention.
图例说明:illustration:
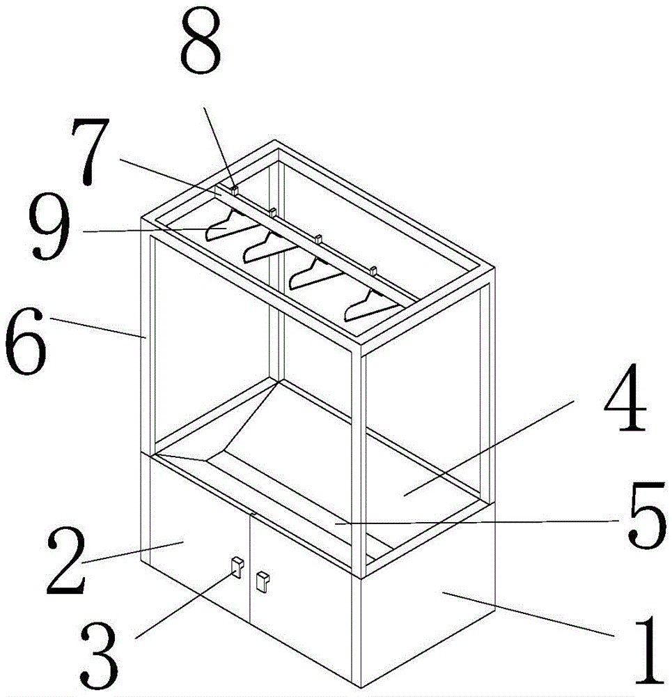
1存衣柜、2柜门、3拉手、4滑板、5活动门、51电动伸缩杆、52衣柜活动轴、6支持架、7横杆、8电磁转化器、9衣架、10伸缩杆、11圆环、12 挂钩、13连接杆、14移动杆、15转轴、16承重架、17衣架肩、18底架。1 storage wardrobe, 2 cabinet doors, 3 handles, 4 sliding plates, 5 movable doors, 51 electric telescopic rods, 52 wardrobe movable shafts, 6 support racks, 7 horizontal rods, 8 electromagnetic converters, 9 hangers, 10 telescopic rods, 11 circles Rings, 12 hooks, 13 connecting rods, 14 moving rods, 15 rotating shafts, 16 load-bearing racks, 17 hanger shoulders, 18 bottom racks.
具体实施方式Detailed ways
下面通过实施例,并结合附图,对本实用新型的技术方案作进一步具体的说明。The technical solutions of the present utility model will be further described in detail below through embodiments and in conjunction with the accompanying drawings.
实施例:一种高效智能晾衣架,如图1-图4所示,包括存衣柜1,所述存衣柜1为金属长方体空心柜子,所述存衣柜1的前端设置有柜门2,所述柜门2共有两组,两组所述柜门2通过铰链分别与存衣柜1的左右侧内壁活动连接,两组所述柜门2的前端均固定安装有拉手3。Example: an efficient and intelligent clothes drying rack, as shown in Figures 1 to 4, includes a
所述存衣柜1的顶部设置有滑板4,所述滑板4内部空心的矩形板,所述滑板4共有两组,两组所述滑板4的底部均固定安装有衣柜活动轴52,所述衣柜活动轴52为圆柱形实心金属管,所述存衣柜1的前后侧内壁的左右端均横向固定安装有轴承,所述滑板4底部设置的衣柜活动轴52的两端外壁面均与轴承的内圆固定连接,所述滑板4靠近存衣柜1内部中心的一侧均设置有活动门5,所述活动门5由两组电滑动板构成,该电滑动板可在控制器的作用下自由伸缩到滑板4内部的镂空部分,该电滑动板为已有结构,在此不做赘述,所述滑板4的下表面设置有凹形槽,所述滑板4的下方设置有电动伸缩杆51,所述电动伸缩杆51的顶端为T形结构,所述电动伸缩杆51的顶端活动嵌套在凹形槽的内部。The top of the
所述存衣柜1的四角垂直向上固定连接有支持架6,所述支持架6为长方形金属结构,所述支持架6的上方固定安装有矩形框架,所述矩形框架为长方形空心金属架,所述矩形框架的内部中心处固定连接有横杆7,所述横杆7为金属空心长方体结构,所述横杆7的表面固定安装有电磁转化器8,所述电磁转化器8共有四组,所述电磁转化器8等距的设置在横杆7的表面。The four corners of the
所述横杆7的下方设置有衣架9,所述横杆7的上表面开设有圆孔,该圆孔贯穿横杆7的内部,所述电磁转化器8的下方设置有伸缩杆10,所述伸缩杆10的底部固定安装有圆盘状的电磁铁,所述电磁转换器8工作时可使电磁铁带有磁性,所述横杆7的下表面固定安装有圆环11,所述圆环11为金属空心圆环。所述圆环11的空心处设置有挂钩12,所述挂钩12为半圆形金属结构,所述挂钩12的左下方固定连接有连接杆13,所述连接杆13为金属空心圆管,所述连接杆13的内部活动套接有移动杆14,所述移动杆14为圆柱体金属实心杆,所述移动杆14设置在伸缩杆10的正下方,所述移动杆14贯穿连接杆13的内部延伸至连接杆13的下方,所述移动杆14的底部设置有转轴 15,所述移动杆14的底部开设有圆孔,所述转轴15活动套接在移动杆14底部开设的圆孔内部,所述连接杆13的固定连接有承重架16,所述承重架16 共有两组,两组所述承重架16均向远离衣架9内部中心处的下方倾斜,两组所述承重架16的底部远离衣架9内部中心的一侧都设置有衣架肩17,所述衣架肩17与承重架16接触处均开设有孔,孔内也都活动套接有一组转轴15,两组所述衣架肩17的底部设置有底架18,两组所述底架18均水平设置,两组所述底架18的均与移动杆14活动连接,两组所述底架18与移动杆14的底部接触处开设有孔,且位于移动杆14底部的转轴15贯穿两组18接触处开设的孔,在进行衣物的晾晒之前,电动伸缩杆51在控制器的作用下向上延长到一定高度,然后两组活动门5从滑板4内部的镂空部分斜向存衣柜1内部中心的方向延伸,待俩组活动门5接触后,延伸停止,在启动自动收衣功能之前,活动门5启动自动收缩到滑板4内部的镂空部分。A
本实用新型的工作原理:The working principle of the present utility model:
在使用时,将从洗衣机中洗好甩干的衣物挂在衣架9上,在通过衣架9 顶部设置的挂钩12将衣物挂到设置有圆环11的横杆7的下方,此时移动杆 14正好处于所开设的圆孔的下方,圆孔的内部设置电磁铁制成的圆盘,移动杆14的上表面正好抵在圆盘的下表面,待到达用户设置的时间时,电磁转换器8工作使电磁铁带有磁性,控制器控制伸缩杆10向上移动,由于电磁铁对移动杆14的吸引作用,故移动杆14也会向上移动,当移动杆14向上移动时,移动杆14底部设置的衣架肩17和底架18在转轴15的作用下会向下旋转。When in use, the clothes washed and dried from the washing machine are hung on the
在进行衣物的晾晒之前,电动伸缩杆51在控制器的作用下向上延长到一定高度,然后两组活动门5从滑板4内部的镂空部分斜向存衣柜1内部中心的方向延伸,待俩组活动门5接触后,延伸停止,在启动自动收衣功能之前,活动门5启动自动收缩到滑板4内部的镂空部分,随后电动伸缩杆51在控制器的作用下向下移动带动滑板4以衣柜活动轴52为轴心向下旋转,待移动到与存衣柜1前后侧内壁的夹角为四十五度时,停止旋转,待控制器检测到晾衣架上已无衣物时,重复晒衣之前的操作。Before drying the clothes, the electric
最后,应当指出,以上实施例仅是本实用新型较有代表性的例子。显然,本实用新型不限于上述实施例,还可以有许多变形。凡是依据本实用新型的技术实质对以上实施例所作的任何简单修改、等同变化与修饰,均应认为属于本实用新型的保护范围。Finally, it should be pointed out that the above embodiments are only representative examples of the present invention. Obviously, the present invention is not limited to the above-mentioned embodiments, and many modifications are possible. Any simple modifications, equivalent changes and modifications made to the above embodiments according to the technical essence of the present invention shall be considered to belong to the protection scope of the present invention.
Claims (8)
Priority Applications (1)
| Application Number | Priority Date | Filing Date | Title |
|---|---|---|---|
| CN201921948827.XU CN211242708U (en) | 2019-11-12 | 2019-11-12 | An efficient and intelligent clothes drying rack |
Applications Claiming Priority (1)
| Application Number | Priority Date | Filing Date | Title |
|---|---|---|---|
| CN201921948827.XU CN211242708U (en) | 2019-11-12 | 2019-11-12 | An efficient and intelligent clothes drying rack |
Publications (1)
| Publication Number | Publication Date |
|---|---|
| CN211242708U true CN211242708U (en) | 2020-08-14 |
Family
ID=71962963
Family Applications (1)
| Application Number | Title | Priority Date | Filing Date |
|---|---|---|---|
| CN201921948827.XU Expired - Fee Related CN211242708U (en) | 2019-11-12 | 2019-11-12 | An efficient and intelligent clothes drying rack |
Country Status (1)
| Country | Link |
|---|---|
| CN (1) | CN211242708U (en) |
Cited By (1)
| Publication number | Priority date | Publication date | Assignee | Title |
|---|---|---|---|---|
| CN112070970A (en) * | 2020-08-14 | 2020-12-11 | 温州允晨商贸有限公司 | Automatic packing sales counter of jacket for clothing shoes and hats |
-
2019
- 2019-11-12 CN CN201921948827.XU patent/CN211242708U/en not_active Expired - Fee Related
Cited By (1)
| Publication number | Priority date | Publication date | Assignee | Title |
|---|---|---|---|---|
| CN112070970A (en) * | 2020-08-14 | 2020-12-11 | 温州允晨商贸有限公司 | Automatic packing sales counter of jacket for clothing shoes and hats |
Similar Documents
| Publication | Publication Date | Title |
|---|---|---|
| KR101345524B1 (en) | Rotary hanger for laundry | |
| CN211242708U (en) | An efficient and intelligent clothes drying rack | |
| CN111053374A (en) | Electric clothes airing equipment | |
| CN201738154U (en) | Wardrobe with drying function | |
| CN113439947B (en) | A kind of smart wardrobe and using method thereof | |
| CN201952654U (en) | Rotary type clothes hanger | |
| CN204336249U (en) | Whole wardrobe send clothing assembly | |
| CN216237780U (en) | A folding clothes rack | |
| CN205803937U (en) | A kind of position of replacing automatically clothing hanger hack | |
| CN206607422U (en) | Monomer dries hanging stick and dries support | |
| CN109907516B (en) | Intelligent household wardrobe | |
| CN212185719U (en) | Intelligent wardrobe with drying effect | |
| CN209508660U (en) | A kind of clothes hanger facilitating sunning | |
| CN210657648U (en) | Intelligent clothes hanger | |
| CN203855837U (en) | X-shaped push-pull type clothes hanger with telescopic arms | |
| CN202390685U (en) | Outdoor telescopic clotheshorse | |
| CN209292728U (en) | A multi-purpose and easy-to-detachable floor-standing clothes rack | |
| CN216494168U (en) | Iron sheet wardrobe convenient to remove | |
| CN106835643A (en) | An electric heating dehumidification hanger | |
| CN219991983U (en) | An automatic lifting clothes drying rack | |
| CN113331588B (en) | Clothes hanging lifting mechanism of household wardrobe | |
| CN113463350A (en) | Support for drying shoes or plush toys by clothes dryer | |
| CN218773558U (en) | Rotary lifting type clothes wardrobe | |
| CN206457643U (en) | A kind of packaged type drying frame | |
| CN214142955U (en) | Extensible intelligent clothes hanger |
Legal Events
| Date | Code | Title | Description |
|---|---|---|---|
| GR01 | Patent grant | ||
| GR01 | Patent grant | ||
| CF01 | Termination of patent right due to non-payment of annual fee | ||
| CF01 | Termination of patent right due to non-payment of annual fee |
Granted publication date: 20200814 |
